JP2010038675A - パウチ詰め流動性食品の温度測定方法および温度測定治具 - Google Patents

パウチ詰め流動性食品の温度測定方法および温度測定治具 Download PDF

Info

Publication number
JP2010038675A
JP2010038675A JP2008200444A JP2008200444A JP2010038675A JP 2010038675 A JP2010038675 A JP 2010038675A JP 2008200444 A JP2008200444 A JP 2008200444A JP 2008200444 A JP2008200444 A JP 2008200444A JP 2010038675 A JP2010038675 A JP 2010038675A
Authority
JP
Japan
Prior art keywords
pouch
probe
temperature
sensor holder
sensor
Prior art date
Legal status (The legal status is an assumption and is not a legal conclusion. Google has not performed a legal analysis and makes no representation as to the accuracy of the status listed.)
Granted
Application number
JP2008200444A
Other languages
English (en)
Other versions
JP5136269B2 (ja
Inventor
Soji Araki
宗司 荒木
Yasushi Hatano
靖 波多野
Kiyotaka Shinozaki
清隆 篠崎
Current Assignee (The listed assignees may be inaccurate. Google has not performed a legal analysis and makes no representation or warranty as to the accuracy of the list.)
Toyo Seikan Group Holdings Ltd
Original Assignee
Toyo Seikan Kaisha Ltd
Priority date (The priority date is an assumption and is not a legal conclusion. Google has not performed a legal analysis and makes no representation as to the accuracy of the date listed.)
Filing date
Publication date
Application filed by Toyo Seikan Kaisha Ltd filed Critical Toyo Seikan Kaisha Ltd
Priority to JP2008200444A priority Critical patent/JP5136269B2/ja
Publication of JP2010038675A publication Critical patent/JP2010038675A/ja
Application granted granted Critical
Publication of JP5136269B2 publication Critical patent/JP5136269B2/ja
Expired - Fee Related legal-status Critical Current
Anticipated expiration legal-status Critical

Links

Images

Landscapes

  • Food Preservation Except Freezing, Refrigeration, And Drying (AREA)
  • Measuring Temperature Or Quantity Of Heat (AREA)

Abstract

【課題】摺動によるパウチの波打ちを拘束することなく、またパウチの厚みが変わるごとに高さの異なる複数の治具を用意する必要がなく、さらにセンサーの測定点がずれることがなく正確な温度測定をすることができるパウチ詰め流動性食品の温度測定方法および温度測定治具を提供する。
【解決手段】温度センサー(4)を先端に備えるプローブ(5)をパウチの外側において保持するパッキンググランド(6)と、パッキンググランドをパウチの一端部に固定する雄ねじ部(7)、雌ねじ(9)を備えるセンサー保持部材(2)と、棒状部材からなり、長手方向と直交する方向にプローブ(5)が挿通されるプローブ挿通孔(11)が形成されたセンサーホルダー(3)と、センサーホルダー(3)をパウチの下側のパウチ壁のみに固定する雄ねじ部13、ワッシャー(15)、雌ねじ(16)を備える温度測定治具。
【選択図】図1

Description

本発明は、飲料等の液状食品やカレー等の粘調な流動食品あるいは経腸栄養剤等の流動性食品を可撓性パウチに充填・密封して摺動式殺菌または揺動式殺菌を行う場合の温度測定に適した温度測定方法およびこの測定法に用いる温度測定治具に関する。
一般に容器詰め食品を殺菌する場合、殺菌時間は容器内の最も温度が上がらない箇所である最冷点(コールドスポット)と呼ばれる箇所の殺菌値(F値)が必要値に達するまでの時間によって決定される。
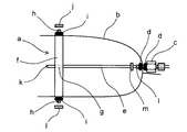
パウチ詰め流動性食品の殺菌方法の一つとして摺動式殺菌機を使用する方法が用いられている。この殺菌方法による殺菌時間を測定するため、従来は、図8または図9の部分断面図に示されるような温度測定治具が使用されていた。
図8に示される従来の温度測定治具aは、サンプルパウチbの一端部に孔をあけ、パウチbの壁の内側と外側からパウチ壁をパッキンググランドcの雄ねじ部lに嵌められたOリングd、dで挟むようにしてパッキンググランドcを嵌め込み、パッキンググランドcに取り付けられ先端にセンサーkを備えるプローブeをパウチb内部に配置した後雌ねじmを雄ねじ部lに螺合させることによりパッキンググランドcをパウチbに固定する。一方丸棒状でパウチbの厚みに略相当する長さを有し、中央部に一つのプローブ挿通孔gが形成されたセンサーホルダーfを摺動棚上に載置されたパウチbの内部において上下方向に立てた状態で配置し、センサーホルダーfの両端部に設けられた雄ねじ部h、hをパウチbの上下の壁にそれぞれあけた穴に嵌め込み、Oリングiを介して雌ねじj、jを雄ねじ部h、hに螺合させることによりセンサーホルダーfをパウチbに固定した後、プローブeをプローブ挿通孔gに通し固定する。こうしてセンサーkを温度測定中動かないように保持してパウチb内の内容物の温度を測定することができる。
このような温度測定治具は特許文献1の第2図および特許文献2の図3および図4に開示されている。
また、図9に示される従来の温度測定治具nは、図8の治具と同様にパウチbの一端部に固定されこのパッキンググランドcに取り付けられ先端にセンサーkが設けられたプローブeが先端部を拘束されることなくパウチb内部の中央部に向けて延長するように配置されており、プローブeは摺動棚上に固定されたブロックoにより固定されている。なお、図9において図8と同一構成要素は同一符号で示し説明を省略する。
製品を積載した殺菌棚を前後または左右に往復運動させるパウチ食品の摺動式殺菌(特開2008−17726号公報参照)においては、摺動によりパウチ内の流動性食品が移動してパウチが波打つ現象が生じ、このパウチの波打ちによって流動性食品内容物が攪拌されて殺菌が均一に行われるものであるが、上記図8に示す従来の温度測定治具を使用する場合は、パウチが上下方向両面において治具により拘束されるため、摺動によるパウチの波打ちが拘束され、波打ちによる内容物の攪拌効果が減殺されてしまうという問題が生じる。製品を積載した殺菌棚を周方向に揺動運動させる揺動型スプレー式レトルト殺菌方法及び装置(特開平9−215732号公報参照)においても同様の問題を生じる。
またセンサーホルダーには中央部にプローブ挿通孔が一つ設けられているのみであるので、一つの治具で測定できるのはパウチ内の1点のみであり、一つのパウチ内で複数点の温度測定が必要な場合は、一つのパウチに複数の治具を取り付けなければならず、この場合はパウチの波打ちを一層拘束してしまい、正確な温度測定が困難になる恐れが生じる。したがって、複数点の温度測定のために複数のサンプルパウチを準備しそれぞれのサンプルパウチに一つずつ温度測定治具を取り付けなければならず、面倒であった。
さらに、センサーホルダーの中央部にプローブ挿通孔が一つしか形成されていないので、治具のサイズ(高さ)とパウチの厚みを合わせなければならず、パウチの厚みが変わるごとに高さの異なる多くの治具を揃える必要がある。
一方図9に示す従来の温度測定治具を使用する場合は、図8の治具のようにセンサーホルダーを使用しないので、摺動によるパウチの波打ちを治具によって拘束することはないが、反面センサーをセンサーホルダーで支持しないので、プローブ自身が自重や度重なる使用等によりわずかでも曲がっていると、測定点がずれ、正確な温度測定ができない、という問題がある。
特公昭63−39225号公報 特開平9−289871号公報
本発明は、上記従来の温度測定治具の問題点にかんがみなされたものであって、摺動式殺菌において摺動によるパウチの波打ちを拘束することなく、特にパウチ内の複数点の温度測定を行う場合に一つのパウチに複数の治具を取り付けても摺動による波打ちを拘束することがなく、またパウチの厚みが変わるごとに高さの異なる複数の治具を用意する必要がなく、さらにセンサーの測定点がずれることがなく正確な温度測定をすることができるパウチ詰め流動性食品の温度測定方法および温度測定治具を提供しようとするものである。
上記課題を解決する本発明の第1の構成は、温度センサーを備えるプローブを、該プローブが固定されるプローブ固定部が形成されたセンサーホルダーの該プローブ固定部に固定し、該温度センサーをパウチ内の温度測定位置に配置した状態で該センサーホルダーを温度測定状態に配置されたパウチの下側のパウチ壁のみに固定することにより殺菌中のパウチ内の流動性食品の温度を測定することを特徴とするパウチ詰め流動性食品の温度測定方法である。
本発明の第2の構成は、パウチ内の温度測定位置に配置される温度センサーを備えるプローブと、該プローブが挿通又は嵌合されるプローブ挿通孔又はプローブ嵌合用切り欠きが形成されたセンサーホルダーと、該センサーホルダーを温度測定状態に配置されたパウチの下側のパウチ壁のみに固定するセンサーホルダー固定手段を備えることを特徴とするパウチ詰め流動性食品の温度測定治具である。
本発明の第3の構成は、第2の構成において、該プローブを温度測定状態に配置されたパウチの水平方向一端部に固定するプローブ固定手段をさらに備え、該センサーホルダーは棒状部材からなり、該センサーホルダーの長手方向と直交する方向に該プローブ挿通孔又はプローブ嵌合用切り欠きが形成されており、該センサーホルダーは温度測定状態において該プローブ挿通孔又はプローブ嵌合用切り欠きがほぼ水平方向に延長するように配置されることを特徴とするものである。
本発明の第4の構成は、第3の構成において、少なくとも2つの該プローブ挿通孔又はプローブ嵌合用切り欠きが該センサーホルダーの長手方向に形成されていることを特徴とするものである。
本発明の第5の構成は、第3または第4の構成において、該センサーホルダーが該センサーホルダーの高さを調節する手段を備えていることを特徴とするものである。
本発明の第6の構成は、第3〜第5の構成のいずれかにおいて、該プローブは該プローブ挿通孔又はプローブ嵌合用切り欠きに固定される先端部分以外の部分が可撓性を有することを特徴とするものである。
本発明の第7の構成は、第2の構成において、該センサーホルダーは板状またはブロック状部材からなり、該センサーホルダーは、温度測定状態において該プローブ挿通孔又はプローブ嵌合用切り欠きがほぼ鉛直方向に延長するように配置されることを特徴とするものである。
本発明のパウチ詰め流動性食品の温度測定治具によれば、センサーホルダーはパウチの下側のパウチ壁のみに固定され、従来の治具のようにパウチの上下両側で固定されないので、パウチの上側は自由に動くことができ、摺動殺菌中に殺菌棚の摺動、すなわち前後又は左右の往復運動に伴うパウチの波打ちを拘束することがない。したがって、パウチ内の複数点の温度測定が必要な場合に一つのパウチに複数の治具を取り付けても摺動による波打ちを拘束することがなく、複数点において完全な温度測定を行うことができる。また、センサーはセンサーホルダーのプローブ挿通孔又はプローブ嵌合用切り欠きに挿通又は嵌合され、センサーホルダーによって支持されているので、センサーの測定点がずれることがなく、正確な測定が可能である。
また本発明のパウチ詰め流動性食品の温度測定方法によれば、このような治具を使用して殺菌中のパウチ内の流動性食品の温度を測定することにより、多くの治具を使用することなく上記の効果を奏することができ、パウチ詰め流動性食品の温度測定を正確にかつ簡単に行うことができる。
また本発明の第4の構成によれば、少なくとも2つのプローブ挿通孔又はプローブ嵌合用切り欠きがセンサーホルダーの長手方向に形成されているので、一つのパウチ内で上下方向に複数点の温度測定が必要な場合でも複数のプローブ挿通孔又はプローブ嵌合用切り欠きにそれぞれプローブを挿通又は嵌合することにより複数点の温度測定を行うことができる。また、パウチの厚みが変わっても複数のプローブ挿通孔又はプローブ嵌合用切り欠きのいずれかを選択して使用することにより対応することができるので、従来のようにパウチの厚みが変わるごとに高さの異なる多くの治具を揃える必要がなくなる。
本発明の第5の構成によれば、センサーホルダーがセンサーホルダーの高さを調節する手段を備えているので、センサーホルダーの高さを調節することによりプローブ挿通孔の高さを調節することができ、それによってセンサーによる温度測定位置を微調整することができ、正確な温度測定を実現することができる。
本発明の第6の構成によれば、プローブはプローブ挿通孔又はプローブ嵌合用切り欠きに挿通又は嵌合される先端部分以外の部分が可撓性を有するので、摺動によりパウチに波打ちが生じる際にプローブがパウチの波打ちに追随して動くことができ、内容物の攪拌を阻害することがない。
本発明の第7の構成においても、摺動によるパウチの波打ちを拘束することなく、温度測定位置の温度を同時に測定することができる。また、この構成においては実施形態のようにプローブをパウチの水平方向一端部に固定するプローブ固定手段を省略することができるので、部品点数が節約でき、治具の構成を簡素化することができるとともに治具の設置スペースを節約することができる。また、各プローブ5鉛直方向に起立した状態で配置されているので、図9の従来例のようにプローブが自重などで曲がることもなく、プローブ固定手段で支持しなくても、正確な測定位置に保持することができる。
以下添付図面を参照して本発明の実施形態について説明する。
本発明の温度測定方法および温度測定治具は、可撓性材料からなるパウチ、限定されるわけではないが、特に内容量1〜5kgの大型パウチに流動性食品を密封して摺動式殺菌を行う場合の内容物の温度測定に好適である。
パウチとしては可撓性の材料であれば特に限定はないが、通常大型パウチとして使用されるPET層、ナイロン層、アルミ箔層、ポリプロピレン層からなる4層構造のパウチが適用される。また、パウチ形態としては、平パウチやスタンディングパウチ、異形パウチ、更にスパウト付きパウチなどに適用できる。
流動性食品としては、飲料等の低・中・高粘度の液状食品、カレー、ポタージュスープ等の肉や野菜等の具材を含む粘調な流動物、おかゆ等の粒子状固形物を含む粘調な流動物等を含む。
本発明において、第1の構成として、温度センサーを備えるプローブを、該プローブが固定されるプローブ固定部が形成されたセンサーホルダーの該プローブ固定部に固定し、該温度センサーをパウチ内の温度測定位置に配置した状態で該センサーホルダーを温度測定状態に配置されたパウチの下側のパウチ壁のみに固定することにより殺菌中のパウチ内の流動性食品の温度を測定することを特徴とするパウチ詰め流動性食品の温度測定方法としてある。ここで、センサーホルダーのプローブ固定部における固定手段としては、挿通孔による固定、切り欠きよる嵌合、結束、ネジ止めなど、公知の固定手段が適宜適用できる。以下の本発明の実施形態例では、挿通孔を適用した場合について説明する。
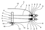
本発明の1実施形態にかかる温度測定治具を図1の部分断面図に示す。
図1に示される本発明の温度測定治具1は、センサー保持部材2とセンサーホルダー3の2つの部材を備える。
センサー保持部材2はパウチ10内の温度測定位置に配置される温度センサー4を先端に備えるプローブ5をパウチ10の外側において保持するパッキンググランド6を備えている。図示の例においては、2つのセンサー保持部材2が取り付けられている。
センサー保持部材2をパウチ10に取り付けるには、温度測定位置(摺動位置)に配置されたパウチ10の水平方向一端部に孔をあけ、パウチ10の壁の内側と外側からパウチ壁をパッキンググランド6の雄ねじ部7に嵌められたOリング8、8で挟むようにしてパッキンググランド6を嵌め込み、先端に温度センサー4を備えるプローブ5をパウチ10内部に配置した後雌ねじ9を雄ねじ部7に螺合させることによりパッキンググランド6をパウチ10に固定する。図1の実施形態において、パッキンググランド6、雄ねじ部7、Oリング8、8、雄ねじ部9はプローブ固定手段を構成する。
一方センサーホルダー3は、図2の分解斜視図に示すように、丸棒状の部材からなり、パウチ10の厚みよりも小さい長さを有し、長手方向に2つのプローブ挿通孔11が所定の間隔で形成されている。センサーホルダー3を摺動棚上に載置されたパウチ10の内部において上下方向に立てた状態で配置し、各プローブ5を対応するプローブ挿通孔11に通した後センサーホルダー3の下端部に設けられた雄ねじ部13をパウチ10の下側の壁にあけた穴に通し、Oリング14および比較的に大径の安定用ワッシャー15を介して雌ねじ16を雄ねじ部13に螺合させ締め付けることによりセンサーホルダー3を温度測定位置(摺動位置)に配置されたパウチ下側の壁のみに固定する。こうしてセンサー4を温度測定中動かないように保持してパウチ10内の内容物の温度を測定することができる。なお、安定用ワッシャー15はセンサーホルダー3をパウチ10内で直立位置に安定的に支持するため比較的大径のものを使用しているが、パウチ10が充分に剛性を有する材質のもので、センサーホルダー3がOリング14と雌ねじ16による固定のみで充分に直立を維持することができる場合は安定用ワッシャー15は省略してもよい。
図3は本発明の他の実施形態におけるセンサーホルダー部分を示す部分断面図で、図1の実施形態と同一構成要素は同一符号で示し、説明を省略する。この実施形態においてセンサー保持部材は図1の実施形態と同一の構成のものである。
図3のセンサーホルダー3はその固定手段が図1のものと異なり、センサーホルダー3が上下2つの部材からなり、雄ねじ部17と固定用雌ねじ18によって固定されている。この固定用雌ねじ18を緩め、雄ねじ部17を回転することによりセンサーホルダー3の高さが調節されるに伴ってプローブ挿通孔11の高さが微調整される。なお、高さの調節方法としては、任意の方式を取ることができ、例えば図示しないが、パウチに固定された状態において該センサーホルダーの高さをねじ等で調節する手段を備えることもできる。
この温度測定治具を用いてパウチ詰め流動性食品の温度を測定するには、流動性食品をパウチに充填する前に温度測定治具1のセンサーホルダー保持部材2をパウチの底部に取り付けるとともにセンサーホルダー3を摺動時にパウチの下部となる側のパウチ壁に取り付け、プローブ5をセンサーホルダー3のプローブ挿通孔11に通してセンサー4を所定の温度測定位置に配置することにより温度測定治具の取り付けを完了する。次いでパウチの充填口から流動性食品をパウチに充填しパウチを密封した後パウチを摺動殺菌機の摺動棚に載置し摺動殺菌を行い、所定の時間経過後のセンサー4による測定温度を計測し記録することにより温度測定を行う。
上記各実施形態において、センサー4が先端部に設けられたプローブ5はプローブ挿通孔11に挿入される先端部分以外の部分を可撓性を有する部材で形成することができる。こうすることにより、摺動によりパウチに波打ちが生じる際にプローブがパウチの波打ちに追随して動くことができ、内容物の攪拌を阻害することがない。
本発明の温度測定治具は摺動式殺菌における殺菌温度の測定に適用して好適なものであるが、揺動式殺菌における殺菌温度の測定にも使用することができる。
上記実施形態においてはプローブ挿通孔は2つ形成されているが、必要に応じ3つ以上設けてもよい。また、プローブ挿通孔のかわりにセンサーホルダーの外壁の一部を切り欠いてプローブ嵌合用切り欠きを形成し、この切り欠きにプローブを嵌合させることにより保持してもよい。
またセンサー保持部材およびセンサーホルダーの固定手段は図示のものに限らず、センサー保持部材およびセンサーホルダーをパウチ壁に固定できる手段であれば特に限定はない。
図6は本発明の温度測定治具の他の実施形態を示す。図6の実施形態において図1の実施形態と同一構成要素は同一符号で示し、その説明を省略する。
図6の実施形態においては、図1の実施形態のように1本のセンサーホルダー3に上下2つのプローブ挿通孔が形成されるかわりに、パウチ10内で水平方向に2本の丸棒状センサーホルダーを間隔をおいて上下方向に立てた状態で配置してパウチの下側のパウチ壁に固定し、これらセンサーホルダー3、3の相互に同一の高さに形成された各1個のプローブ挿通孔に1本のプローブ5を挿通し、温度測定位置[1]、[2].[3]に相当するプローブ上の位置に3個のセンサー4、4、4を設けている。これによって、図1の実施形態と同様に、摺動によるパウチの波打ちを拘束することなく、複数個所の温度測定を同時に行うことができる。図6では、3個のセンサーを設けているが、2個ないし4個以上のセンサーを設けることができる。
図7は本発明の温度測定治具のさらに他の実施形態を示すものである。図7の実施形態において図1の実施形態と同一構成要素は同一符号で示し、その説明を省略する。
この実施形態においては、パウチ10内において水平方向に3個のセンサーホルダー3’、3’、3’配置されている。各センサーホルダー3’は円板状部材からなり、円板の中央部において円板の軸方向にプローブ挿通孔が形成され、センサーホルダー3’は温度測定状態においてプローブ挿通孔がほぼ鉛直方向に延長するように配置されている。またこの実施形態においては、センサーホルダー固定手段は、図1の実施形態においてプローブをパウチの水平方向一端部に固定するプローブ固定手段を構成するパッキンググランド6、雄ねじ部7、Oリング8、8、雄ねじ部9によって構成されるものである。そしてこの実施形態においては、パウチが置かれる摺動棚がパンチングメタル等の多数の挿通孔を有する多孔板により形成してあり、センサーホルダー固定手段のOリング8、8によってパウチの下側の壁を挟み込むとともにパッキンググランド6が摺動棚を構成する多孔板の孔の一つに挿通するようにして各センサーホルダー3’を固定する。この実施形態においても、摺動によるパウチの波打ちを拘束することなく、温度測定位置[1]、[2]、[3]の温度を同時に測定することができる。また、この実施形態においては各プローブの挿入量を調整することにより、垂直方向にセンサー位置を任意に変えることができるとともに、図1、図6の実施形態のようにプローブをパウチの水平方向一端部に固定するプローブ固定手段を省略することができるので、部品点数が節約でき、治具の構成を簡素化することができるとともに治具の設置スペースを節約することができる。また、各プローブ5は鉛直方向に起立した状態で配置されているので、図9の従来例のようにプローブが自重で曲がることもなく、プローブ固定手段で支持しなくても、正確な測定位置に保持することができる。なお、センサーホルダー3’の形状は円板に限らず、直方体状のブロックなど他の形状に形成してもよい。
摺動式レトルトの温度測定において、パウチの上下両側を固定する従来の治具による温度測定方法と、パウチの上面を拘束しない図1に示す実施形態の治具による温度測定方法の比較を行った。
試験は温度測定に使用する冶具および方法のみ異なり、殺菌条件、内容物、充填量、ヘッドスペース量、摺動条件などは下記のとおり一定とした。
殺菌方式:摺動式熱水シャワーレトルト方式
摺動方式:クランク方式
摺動速度(回数):60回/分
ストローク:75mm
加速度:0.18G
摺動パターン:連続摺動
摺動方向:水平
パウチ積載方向:パウチ長手方向を摺動方向と同一方向とした
殺菌条件:121℃−0.23MPa
殺菌価:内容物の最冷点がF=10に達した時点で冷却工程に歩進
昇温時間設定(初期温度→殺菌温度):12分
冷却時間設定(殺菌温度→35℃):12分
終了温度:30℃
内容物:カレー(市販業務用カレー大型パウチ詰めをリパック、粘度40℃−3230mPa・s、60℃−2300mPa・s、80℃−1800mPa・s)
(粘度はB型粘度計を用いて50rpmの条件で測定した。)
内容量:2kg
ヘッドスペース量:0mL
ラミネート構成:PET/ナイロン/アルミ箔/ポリプロピレン4層構成
パウチサイズ:240mm×350mm×65mm(横×縦×折込み幅)
温度センサー:ELLAB社製E−Val用センサー
実施例1
パウチにカレーを2kg充填、ヘッドスペースを0mLに調整し、先に示した殺菌条件にてレトルト殺菌し、図4に示す容器内の最冷点となる可能性のある5箇所([1]〜[5])について内容物の温度測定を本発明による方法で測定した。測定のため、図1に示した治具を3組用い、第一組の治具では点[1]の温度を測定し、第2組の治具では点[2]、[4]の温度を測定し、第3組の治具では点[3]、[5]の温度を測定した。
比較例1
実施例1と同様の条件にてレトルト殺菌を行い、図4に示す容器内の最冷点となる可能性のある3箇所([1]〜[3])について、内容物の温度測定を従来の方法で測定した。測定のため、図8に示した治具を3組用い、第1組の治具では点[1]の温度を測定し、第2組の治具では点[2]の温度を測定し、第3組の治具では点[3]の温度を測定した。
実施例1および比較例1の測定結果を図5に示す。図5において、一点鎖線はレトルト殺菌機の釜内温度、時間0分から開始する実線は実施例1の5箇所の測定温度、時間0分から開始する破線は比較例1の3箇所の測定温度をそれぞれ示す。また時間25分頃から開始する実線は実施例1のF値を示し、時間25分頃から開始する破線は比較例1のF値を示す。
実施例1および比較例1においては、すべての測定点におけるF値がF=10に達した時点で冷却を開始している。
図5によると、実施例1では、品温の上昇が早く、測定冶具が付いている状態でもパウチの上面を拘束しないことで、摺動式レトルトの特性である波打ちを拘束せずに、十分な攪拌効果が得られていた。そのため、110℃以上の領域では測定した各箇所の温度が収束し、最終F値のバラつきも少なくなった。
一方、比較例1では、品温の上昇が実施例1に比べて遅く、このことは、パウチの上下両側を拘束したことにより容器の波打ちを妨げ、攪拌効果が弱まったためと考えられる。
また、比較例1では、内容物がF値を稼ぎ始める110℃以上の領域においても測定した各箇所の温度が収束せず、各箇所の最終F値がバラついてしまう不安定な温度測定となった。
実際の製品ではパウチ上面は拘束されてなく、十分に内容物が攪拌されるため、実施例1と同様の品温上昇となっていると考えられることから、実施例1は本来の製品の温度履歴を測定できていることになる。これに対して、比較例1では製品の温度履歴を正確に評価できていないことを意味し、この方法では適正に摺動式レトルトの最冷点のF値を把握することが難しい。
本発明による方法で温度測定を行えば、温度測定のみで最冷点のF値を評価することが可能で、なおかつその測定に必要なサンプルパウチの数は僅かで良い。
本発明の1実施形態を模式的に示す部分断面図である。 同実施形態のセンサーホルダーの分解斜視図である。 本発明の他の実施形態を模式的に示す部分断面図である。 実施例1及び比較例1の温度測定に使用したサンプルパウチの温度測定点を示す図である。 実施例1および比較例1の温度測定結果を示すグラフである。 本発明の他の実施形態を模式的に示す部分断面図である。 本発明の他の実施形態を模式的に示す部分断面図である。 従来の温度測定治具の1例を示す部分断面図である。 従来の温度測定治具の他の例を示す部分断面図である。
符号の説明
1 温度測定治具
2 センサー保持部材
3 センサーホルダー
4 温度センサー
5 プローブ
6 パッキンググランド
10 パウチ
11 プローブ挿通孔

Claims (7)

  1. 温度センサーを備えるプローブを、該プローブが固定されるプローブ固定部が形成されたセンサーホルダーの該プローブ固定部に固定し、該温度センサーをパウチ内の温度測定位置に配置した状態で該センサーホルダーを温度測定状態に配置されたパウチの下側のパウチ壁のみに固定することにより殺菌中のパウチ内の流動性食品の温度を測定することを特徴とするパウチ詰め流動性食品の温度測定方法。
  2. パウチ内の温度測定位置に配置される温度センサーを備えるプローブと、該プローブが挿通又は嵌合されるプローブ挿通孔又はプローブ嵌合用切り欠きが形成されたセンサーホルダーと、該センサーホルダーを温度測定状態に配置されたパウチの下側のパウチ壁のみに固定するセンサーホルダー固定手段を備えることを特徴とするパウチ詰め流動性食品の温度測定治具。
  3. 該プローブを温度測定状態に配置されたパウチの水平方向一端部に固定するプローブ固定手段をさらに備え、該センサーホルダーは棒状部材からなり、該センサーホルダーの長手方向と直交する方向に該プローブ挿通孔又はプローブ嵌合用切り欠きが形成されており、該センサーホルダーは温度測定状態において該プローブ挿通孔又はプローブ嵌合用切り欠きがほぼ水平方向に延長するように配置されることを特徴とする請求項2記載の温度測定治具。
  4. 少なくとも2つの該プローブ挿通孔又はプローブ嵌合用切り欠きが該センサーホルダーの長手方向に形成されていることを特徴とする請求項3記載の温度測定治具。
  5. 該センサーホルダーが該センサーホルダーの高さを調節する手段を備えていることを特徴とする請求項3または4記載の温度測定治具。
  6. 該プローブは該プローブ挿通孔又はプローブ嵌合用切り欠きに固定される先端部分以外の部分が可撓性を有することを特徴とする請求項3〜5のいずれかに記載の温度測定治具。
  7. 該センサーホルダーは板状またはブロック状部材からなり、該センサーホルダーは、温度測定状態において該プローブ挿通孔又はプローブ嵌合用切り欠きがほぼ鉛直方向に延長するように配置されることを特徴とする請求項2記載の温度測定治具。
JP2008200444A 2008-08-04 2008-08-04 パウチ詰め流動性食品の温度測定方法および温度測定治具 Expired - Fee Related JP5136269B2 (ja)

Priority Applications (1)

Application Number Priority Date Filing Date Title
JP2008200444A JP5136269B2 (ja) 2008-08-04 2008-08-04 パウチ詰め流動性食品の温度測定方法および温度測定治具

Applications Claiming Priority (1)

Application Number Priority Date Filing Date Title
JP2008200444A JP5136269B2 (ja) 2008-08-04 2008-08-04 パウチ詰め流動性食品の温度測定方法および温度測定治具

Publications (2)

Publication Number Publication Date
JP2010038675A true JP2010038675A (ja) 2010-02-18
JP5136269B2 JP5136269B2 (ja) 2013-02-06

Family

ID=42011387

Family Applications (1)

Application Number Title Priority Date Filing Date
JP2008200444A Expired - Fee Related JP5136269B2 (ja) 2008-08-04 2008-08-04 パウチ詰め流動性食品の温度測定方法および温度測定治具

Country Status (1)

Country Link
JP (1) JP5136269B2 (ja)

Cited By (2)

* Cited by examiner, † Cited by third party
Publication number Priority date Publication date Assignee Title
CN110754012A (zh) * 2017-10-26 2020-02-04 株式会社Lg化学 用于测量袋型电池的压力变化的组件及使用该组件测量袋型电池的压力变化的方法
JP2022072048A (ja) * 2020-10-29 2022-05-17 株式会社Kokusai Electric 温度センサ、ヒータユニット、基板処理装置及び半導体装置の製造方法

Citations (5)

* Cited by examiner, † Cited by third party
Publication number Priority date Publication date Assignee Title
JPS5723194U (ja) * 1980-07-16 1982-02-05
JPS636329U (ja) * 1986-06-25 1988-01-16
JPS6339225B2 (ja) * 1981-06-23 1988-08-04 Toyo Seikan Kaisha Ltd
JPH09215733A (ja) * 1996-02-15 1997-08-19 Hisaka Works Ltd 回転型スプレー式レトルト殺菌方法及び装置
JP3134729U (ja) * 2007-06-11 2007-08-23 カゴメ株式会社 センサ取付用冶具

Patent Citations (5)

* Cited by examiner, † Cited by third party
Publication number Priority date Publication date Assignee Title
JPS5723194U (ja) * 1980-07-16 1982-02-05
JPS6339225B2 (ja) * 1981-06-23 1988-08-04 Toyo Seikan Kaisha Ltd
JPS636329U (ja) * 1986-06-25 1988-01-16
JPH09215733A (ja) * 1996-02-15 1997-08-19 Hisaka Works Ltd 回転型スプレー式レトルト殺菌方法及び装置
JP3134729U (ja) * 2007-06-11 2007-08-23 カゴメ株式会社 センサ取付用冶具

Cited By (5)

* Cited by examiner, † Cited by third party
Publication number Priority date Publication date Assignee Title
CN110754012A (zh) * 2017-10-26 2020-02-04 株式会社Lg化学 用于测量袋型电池的压力变化的组件及使用该组件测量袋型电池的压力变化的方法
JP2020524787A (ja) * 2017-10-26 2020-08-20 エルジー・ケム・リミテッド ポーチ型電池の圧力変化の測定のための部品及びそれを用いたポーチ型電池の圧力変化の測定方法
US11489228B2 (en) * 2017-10-26 2022-11-01 Lg Energy Solution, Ltd. Component for measuring pressure change in pouch-type battery, and method for measuring pressure change in pouch-type battery by using same
JP2022072048A (ja) * 2020-10-29 2022-05-17 株式会社Kokusai Electric 温度センサ、ヒータユニット、基板処理装置及び半導体装置の製造方法
JP7236420B2 (ja) 2020-10-29 2023-03-09 株式会社Kokusai Electric 温度センサ、ヒータユニット、基板処理装置及び半導体装置の製造方法

Also Published As

Publication number Publication date
JP5136269B2 (ja) 2013-02-06

Similar Documents

Publication Publication Date Title
JP5521548B2 (ja) パウチ詰め流動性食品の殺菌方法
CN102424346B (zh) 用于灌装容器的灌装装置
US20080203048A1 (en) Adjustable container
JP5136269B2 (ja) パウチ詰め流動性食品の温度測定方法および温度測定治具
BRPI0809012A2 (pt) Processo de esterilização ou de pasteurização de um líquido a tratar contido em recipientes hermeticamente fechados e dispositivo para a execução do mesmo
WO2006112765A3 (en) A method in hot filling of foods in a packaging container, as well as an apparatus therefor
DE502007002271D1 (de) Vorrichtung zum einfrieren, transportieren und auftauen von fluiden
US12172882B2 (en) Canning funnel with headspace gauge
Fryer et al. Heat transfer to foods: Ensuring safety and creating microstructure
AU2007341655A1 (en) Decoupled pressurised retort
JP5434924B2 (ja) パウチ詰め流動性食品の殺菌方法
CN103003154B (zh) 用于灌装物品的设备和方法
CN204177756U (zh) 液体乳制品热稳定性的检测设备
JP4733467B2 (ja) レトルト容器入り食品の製造方法
US20180051932A1 (en) Sterile Apparatus for Rapid Cooling of Hot Water
HU223800B1 (hu) Szerkezet gázos atmoszféra létrehozására és fenntartására
JP4844156B2 (ja) 加熱処理方法および該加熱処理に用いるトレー
RU2312568C2 (ru) Аппарат для расфасовки и пароконтактного нагрева консервов в банках
Dunno et al. Effect of headspace volume of retort pouches on simulated transport hazards
JP2011036180A (ja) パウチ詰め流動性食品の殺菌方法およびその装置
WO2015044512A1 (en) Ultrasonic defoaming apparatus for a packaging machine and a packaging machine
Stowe et al. Effects of packaging geometry on heat penetration time in retortable semi-rigid plastic trays
CN103930353A (zh) 用于细长物品的容器
Kelder et al. 3 Aseptic Processing of Liquid Foods Containing Solid Particulates
NL1028676C2 (nl) De uitvinding betreft het voorverpakken van voedingswaren in een knijpverpakking, zoals een tube, met een spits toelopend spuitmondje zodat er, nadat de inhoud vloeibaarder is gemaakt via verwarming, mee gegarneerd kan worden.

Legal Events

Date Code Title Description
A621 Written request for application examination

Free format text: JAPANESE INTERMEDIATE CODE: A621

Effective date: 20110722

A977 Report on retrieval

Free format text: JAPANESE INTERMEDIATE CODE: A971007

Effective date: 20121003

TRDD Decision of grant or rejection written
A01 Written decision to grant a patent or to grant a registration (utility model)

Free format text: JAPANESE INTERMEDIATE CODE: A01

Effective date: 20121016

A01 Written decision to grant a patent or to grant a registration (utility model)

Free format text: JAPANESE INTERMEDIATE CODE: A01

A61 First payment of annual fees (during grant procedure)

Free format text: JAPANESE INTERMEDIATE CODE: A61

Effective date: 20121029

R150 Certificate of patent or registration of utility model

Free format text: JAPANESE INTERMEDIATE CODE: R150

FPAY Renewal fee payment (event date is renewal date of database)

Free format text: PAYMENT UNTIL: 20151122

Year of fee payment: 3

S533 Written request for registration of change of name

Free format text: JAPANESE INTERMEDIATE CODE: R313533

FPAY Renewal fee payment (event date is renewal date of database)

Free format text: PAYMENT UNTIL: 20151122

Year of fee payment: 3

R350 Written notification of registration of transfer

Free format text: JAPANESE INTERMEDIATE CODE: R350

S111 Request for change of ownership or part of ownership

Free format text: JAPANESE INTERMEDIATE CODE: R313111

R350 Written notification of registration of transfer

Free format text: JAPANESE INTERMEDIATE CODE: R350

LAPS Cancellation because of no payment of annual fees