JP2010038431A - 鍵構造及びこれを備えた冷蔵庫 - Google Patents

鍵構造及びこれを備えた冷蔵庫 Download PDF

Info

Publication number
JP2010038431A
JP2010038431A JP2008201036A JP2008201036A JP2010038431A JP 2010038431 A JP2010038431 A JP 2010038431A JP 2008201036 A JP2008201036 A JP 2008201036A JP 2008201036 A JP2008201036 A JP 2008201036A JP 2010038431 A JP2010038431 A JP 2010038431A
Authority
JP
Japan
Prior art keywords
lock pin
door
lock
key structure
refrigerator
Prior art date
Legal status (The legal status is an assumption and is not a legal conclusion. Google has not performed a legal analysis and makes no representation as to the accuracy of the status listed.)
Granted
Application number
JP2008201036A
Other languages
English (en)
Other versions
JP5133811B2 (ja
Inventor
Minoru Urakubo
稔 浦久保
Current Assignee (The listed assignees may be inaccurate. Google has not performed a legal analysis and makes no representation or warranty as to the accuracy of the list.)
Sharp Corp
Original Assignee
Sharp Corp
Priority date (The priority date is an assumption and is not a legal conclusion. Google has not performed a legal analysis and makes no representation as to the accuracy of the date listed.)
Filing date
Publication date
Application filed by Sharp Corp filed Critical Sharp Corp
Priority to JP2008201036A priority Critical patent/JP5133811B2/ja
Publication of JP2010038431A publication Critical patent/JP2010038431A/ja
Application granted granted Critical
Publication of JP5133811B2 publication Critical patent/JP5133811B2/ja
Active legal-status Critical Current
Anticipated expiration legal-status Critical

Links

Images

Landscapes

  • Refrigerator Housings (AREA)

Abstract

【課題】小型化を図りつつ、冷蔵庫の上下に間隔をあけて並設した冷蔵室扉及び冷凍室扉を施錠することのできる鍵構造の提供。
【解決手段】冷蔵室扉5と冷凍室扉6との間に保持金具11を設ける。保持金具11の一側板11aと他側板11bとを間隔をあけて設ける。一側板11a及び他側板11bに、係合孔21及び挿通孔22をその中心軸線を合わせて形成する。冷蔵室扉5に第1ロックピン9を移動自在に設ける。一側板11aと他側板11bとの間に第2ロックピン12をスライド自在に保持する。第1ロックピン9を上動させて保持金具11の係合孔21に係合させることにより、冷蔵室扉5を施錠する。第1ロックピン9で第2ロックピン12を上動させて、挿通孔22から突出させることにより、冷凍室扉6に係合させて施錠する。
【選択図】図4

Description

本発明は、並設された二つの扉を連動して施解錠するための鍵構造及びこれを備えた冷蔵庫に関するものである。
一般に、冷蔵室及び冷凍室を有する冷蔵庫は、その両室がそれぞれ別の扉で開閉されるようになっており、特許文献1には、冷蔵庫の二つの扉を一度の施錠操作で施錠する鍵構造が開示されている。図9に特許文献1の冷蔵庫に設けられた鍵構造を示す。
鍵構造101は、上部扉102と下部扉103との間に配されたロック金具104と、上部扉102に形成された係合凹部105と、下部扉103に設けられたロックピン106とを備え、そのロックピン106を上動させて、ロック金具104を貫通させると共に係合凹所105に係止することにより、冷蔵庫の二つの扉を一度の施錠操作で施錠するようになっている。
特開平6−281320号公報(段落番号0011、図4)
ところで、上部扉と下部扉との間の仕切壁に冷蔵庫のコントロールボックスを配置するなど、両扉の間隔を広く設定することがある。このような場合、特許文献1に示すように、下部扉のロックピンを上部扉に係止するような鍵構造では、ロックピンを長くすると共にその移動量を大きくする必要があり、その分、鍵構造が大型化して、操作が重くなるなどの操作性の低下や、動作不良、さらには量産性の低下などを生じるおそれがある。
本発明は、小型化を図りつつ、間隔をあけて並設された二つの扉を一度の施錠操作で施錠することのできる鍵構造及びこれを備えた冷蔵庫の提供を目的とする。
上記目的を達成するため、本発明に係る鍵構造は、仕切壁を挟んでその両側に並設された第1扉及び第2扉を連動して施解錠するための鍵構造であって、両扉間の仕切壁の前面に取り付けられた止め部材と、該止め部材に係合して第1扉を施錠するよう第1扉に移動自在に設けられた第1ロックピンと、第2扉の周縁端面に凹設された係合凹部に係合して第2扉を施錠するよう、前記両扉間に移動自在に設けられた第2ロックピンとを備え、第1ロックピンが前記止め部材に係合して施錠する際に、第2ロックピンを押動して第2扉の係合凹部に係合させるよう設定されたことを特徴とする。
上記構成によれば、施錠時に第1ロックピンを移動させて止め部材に係合させることにより、第1扉を施錠することができる。このとき、第1ロックピンの止め部材への係合時に、第1ロックピンが第2ロックピンを押動し、第2ロックピンを第2扉の係合凹部に係合させて第2扉を施錠する。そのため、一度の施錠操作で第1扉および第2扉を施錠することができる。
具体的には、第1ロックピンの係合側先端の移動軌跡と、第2ロックピンの基端側の移動軌跡とが重なるように設定するのが好適である。この場合、第1ロックピンが止め部材に係合する際、第1ロックピンが第2ロックピンを押動して第2扉の係合凹部に係合させるので、従来のように、第1ロックピンを第2扉に至るまで移動させる必要がなく、第1扉と第2扉との間隔が広い場合であっても、第1ロックピンをわずかに移動させるだけで両扉を施錠することができる。そのため、第1ロックピン及び第2ロックピンの移動量を小さくすると共に、第1ロックピン及び第2ロックピンの合計長さを短くすることができ、鍵構造の小型化を図ることができる。
第1ロックピンおよび第2ロックピンの移動軌跡は、直線状あるいは曲線状のいずれであってもよく、例えば、直線状同士の組み合わせ、また、曲線状同士の組み合わせ、さらには、直線状と曲線状の組み合わせのいずれをも採用可能である。
直線状同士の組み合わせとしては、第1ロックピン及び第2ロックピンは、第1扉及び第2扉の閉状態で、両扉の板面方向で直線状に移動可能で、かつ、両ロックピンの中心軸線が一致するように配列された組み合わせを例示することができる。
この場合、両ロックピンの移動軌跡が直線状であるため、簡単な構造の鍵構造となる。また、冷蔵庫の扉に適用した場合、第1ロックピンの移動軌跡が直線状であるため、曲線状の移動軌跡に比べて、断熱壁内に形成する移動空間量を小さくすることができる。
また、両扉を仕切る仕切壁の前面に取り付けられる止め部材には、第1扉の閉状態で、第1ロックピンを挿抜させる係合孔が貫通形成され、該止め部材の第2扉側に第2ロックピンを移動自在に保持する保持部材が設けられ、前記保持部材の第2扉との対向面に第2ロックピンを第2扉側に出没させる挿通孔が形成され、第1扉及び第2扉の閉状態で第1ロックピン及び第2ロックピンの軸線が合うよう、前記係合孔と挿通孔とが、その中心軸線を合わせて形成された鍵構造を採用することができる。
上記構成によると、第1扉及び第2扉の閉状態で第1ロックピン及び第2ロックピンの軸線が合うよう、止め部材の係合孔と保持部材の挿通孔とが、その中心軸線を合わせて形成されているので、第1ロックピンを中心軸線に沿って移動させるだけで、第2ロックピンをスムーズに押動して第2ロックピンを第2扉の係合凹部に係合することができる。
ここで、保持部材は、第1扉側に配置され第1ロックピンの侵入を許容する貫通孔を有する一側板と、第2扉側に配置され挿通孔を有する他側板とを備え、両板間に第2ロックピンを収納保持することができる。
上記構成によると、一側板と他側板との間で第2ロックピンを確実に収納保持することができる。
この場合、保持部材を止め部材とは別個に設けてもよいが、保持部材の一側板が止め部材と兼用され、一側板の貫通孔が止め部材の係合孔とされた鍵構造を採用することができる。
上記構成によると、構成部材点数を少なくすることができ、コンパクトな鍵構造を提供することができる。
さらに、一側板と他側板とは、一枚の板材を折り曲げ形成して構成することができる。これにより、保持部材を簡単に製作することができる。
また、一側板と他側板との中間位置に第2ロックピンを移動自在に案内する案内孔付きの中間板が介在された構成とすることもできる。中間板の存在により、第2ロックピンを確実に案内することができる。
この場合、一側板、他側板および中間板は、一枚の板材を折り曲げ形成して構成することができる。保持部材を簡単に製作することができる。
また、第2ロックピンの基端部に、保持部材の一側板に当接して第2ロックピンの係合孔側への移動を規制するストッパを形成することができる。このストッパにより、第2ロックピンが止め部材の係合孔から抜き出るのを防止することができる。
また、第1扉および第2の扉の配列は、上下左右いずれの方向であってもよい。第1扉の上方に第2扉を配置した構成を採用した場合、第2ロックピンは、施錠時の第1ロックピンによる押し上げ動作で上向きに移動し、解錠時の第1ロックピンの下降動作により、自重によって下向きに移動するよう、保持部材に保持される。
この構成によると、解錠時には第1ロックピンを解錠方向に操作するだけで、第2ロックピンは自重により解錠位置に戻ることができ、一度の解錠操作で両扉を解錠することができる。
この場合、第2ロックピンを解錠側に付勢する付勢手段を設けることができる。これにより、第2ロックピンを確実に解錠位置に戻すことができる。
第1ロックピンを移動操作する手段としては、種々の方式を採用することができる。例えば、回転式錠前の場合、施解錠操作により回転軸周りに回転可能な回転レバーを備え、該回転レバーの回転動作に連総して第1ロックピンが直線移動するように構成することができる。この場合、回転レバーは、施錠時にその回転中心が第1ロックピンの軸線の延長線上からずれて位置するよう設定することができる。
上記構成によると、回転レバーを施錠時にその回転中心と第1ロックピンの軸線の延長線上に配置すれば、第1ロックピン又は第2ロックピンが解錠操作で各種部材に引っ掛かった場合、解錠しようとしても第1ロックピンの軸線方向の移動が規制されるが、施錠時に回転レバーの回転中心が第1ロックピンの軸線の延長線上からずれて位置するよう設定されているので、第1ロックピンを軸線方向に強制的に移動させることができ、解錠操作をスムーズに行うことができる。
また、係合凹部の前面壁は前側に広がる前斜面とされ、第2ロックピンは、その施錠状態で、前記係合凹部の底部と第2ロックピンの上端との間に空間が生じるように設定され、前記第2扉の周縁と前記保持部材との間に形成される隙間は、第2ロックピンを操作する治具を、前方から係合凹部の前傾斜面に沿って挿入可能な寸法に設定された構成とすることもできる。
上記構成によると、第1ロックピンや第2ロックピンが各種部材に引っ掛かり、解錠できない場合でも、第2扉の周縁と保持部材との隙間から係合凹部の前傾斜面に沿って治具を挿入し、その先端を係合凹部の底部と第2ロックピンとの隙間に侵入させるだけで、第2ロックピンを強制的に押し下げて解錠することができる。この場合、第1ロックピンが解錠しない場合に特に有効である。
さらに、止め部材に、第1扉側から第2ロックピンを移動操作するための操作窓穴が形成されたことを特徴とする。
上記構成によると、第1ロックピンが解錠された場合でも第2ロックピンが解錠動作しないときがある。このとき、上述ように、保持部材と第2扉の隙間から治具を挿入して解錠することもできるが、止め部材に形成された操作窓穴から手指を挿入し、第2ロックピンを強制的に解錠方向に移動させることができる。この場合、第1ロックピンはすでに解錠位置にあるので、第1扉を開放して止め部材の操作窓穴から第2ロックピンを操作することになる。
このような鍵構造は種々の機器に適用することができるが、仕切壁を挟んで第1貯蔵室および第2貯蔵室が設けられ、第1貯蔵室を開閉する第1扉と、第2貯蔵室を開閉する第2扉とを連動して施解錠する鍵構造を備えた冷蔵庫に適用するのが好ましい。
このような冷蔵庫に適用すれば、結露が発生しやすい仕切壁に設けた鍵構造であっても、ロックピンをスムーズに動作させることができ、万一、ロックピンの動作が不完全であっても、これを是正することができる。
さらに、上記の鍵構造を備えた冷蔵庫は、第1貯蔵室および第2貯蔵室の施錠状態又は開錠状態を電子的に検知する検知部を備え、該検知部に、第2ロックピンの上下動によって作動するスイッチが設けられた構成とすることもできる。
上記構成によると、第2ロックピンの上下動によって貯蔵室の施錠状態又は開錠状態を検知し、その電子情報に基づいて、例えば、施錠時に節電モードや盗難防止用のセキュリティーモードに設定するなどの電子制御が可能になる。
以上のとおり、本発明によると、第1ロックピンの移動軌跡の係合側先端部と、第2ロックピンの移動軌跡の一部とが重なるように設定され、第1ロックピンが止め部材に係合する際、第1ロックピンが第2ロックピンを押動して第2扉の係合凹部に係合させるので、従来のように、第1ロックピンを第2扉に至るまで移動させる必要がなく、第1扉と第2扉との間隔が広い場合であっても、第1ロックピンをわずかに移動させるだけで両扉を施錠することができる。そのため、第1ロックピン及び第2ロックピンの移動量を小さくすると共に、第1ロックピン及び第2ロックピンの合計長さを短くすることができ、鍵構造の小型化を図ることができる。
以下、本発明を実施するための最良の形態を図面を用いて説明する。図1は本発明に係る鍵構造を備えた冷蔵庫の正面図、図2は鍵構造の正面図(解錠状態)、図3は鍵構造の正面図(施錠状態)、図4は鍵構造の側面図(解錠状態)、図5は鍵構造の側面図(施錠状態)である。
図6は保持金具を示す図で、(a)は平面図、(b)は正面図、(c)は底面図、(d)はA−A断面図である。図7は一枚の板材から保持金具を折り曲げ形成して組み立てる手順を示す図である。
冷蔵庫1は、断熱仕切壁2で仕切られた下貯蔵室及び上貯蔵室と、これら上下の貯蔵室を開閉する第1扉と第2扉とを備えている。下貯蔵室は冷蔵室3であり、上貯蔵室は冷凍室4となっている。第1扉は、下側の冷蔵室3の前面開口を開閉する冷蔵室扉5である。第2扉は、上側の冷凍室4の前面開口を開閉する冷凍室扉6である。
両貯蔵室を仕切る仕切壁2の前面には、この冷蔵庫1の温度制御などを行うための操作部7と、冷蔵室扉5及び冷凍室扉6を施錠する鍵構造8の保持金具11とを備えている。
操作部7は、冷蔵室扉5と冷凍室扉6との間の断熱仕切壁2の前方に配置され、後側の保持金具11に取り付けられる。
鍵構造8は、冷蔵庫1の前面側中央部で冷蔵室扉5の上部から冷凍室扉6の下部に至る部位に設けられる。そして、鍵構造8は、上下に離れて並設された冷蔵室扉5及び冷凍室扉6を一の操作で施錠又は解錠することができる構造になっている。
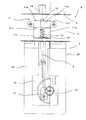
具体的な鍵構造8は、冷蔵室扉5に上下方向に移動自在に設けられた第1ロックピン9と、第1ロックピン9を移動操作する回転式錠前10と、冷蔵室扉5と冷凍室扉6との間の仕切壁2の前面に配置された保持金具11と、冷凍室扉6の下面に凹設された係合凹部14に係合して冷凍室扉6を施錠するよう、移動自在に設けられた第2ロックピン12とを備え、図5に示すように、第1ロックピン9が保持金具11に係合して施錠する際に、第2ロックピン12を押動して冷凍室扉6の係合凹部14に係合させるために、第1ロックピン9の係合側先端の移動軌跡S1と、第2ロックピン12の基端側の移動軌跡S2とが重なるように設定されている。
保持金具11は、冷蔵室扉5の閉状態で、第1ロックピン9を挿抜させる係合孔21が貫通形成される止め部材と、止め部材の第2扉側に第2ロックピン12を移動自在に保持する保持部材とを備えている。
本実施形態では、保持金具11は、止め部材および保持部材が一体的に折り曲げ形成されてなる。すなわち、保持金具11は、一枚の金属板からなる金属製のブランクを略「の」字形に折り曲げることにより、内側から外側に向けて、中間板11c、前側の前板11e、上側の他側板11b、後側の後板11d、下側の一側板11aが配列されてなる。
下側の一側板11aと上側の他側板11bとの間には第2ロックピン12が収容保持される。後板11dは、その左右両側に突出する取付片11fが断熱仕切壁2の前面にビス留めされる。
下側の一側板11aに、冷蔵室扉5の閉状態で第1ロックピン9を下側から挿抜させる係合孔21が形成される。この一側板11aは、第1ロックピン9を係合する係合孔21を有する止め部材として機能し、かつ、第2ロックピン12を収容保持する保持部材としても機能する。そのため、係合孔21は、冷蔵室扉側に配置され第1ロックピン9の侵入を許容する貫通孔としても機能する。
上側の他側板11bは、冷凍室扉との対向しており、第2ロックピン12を冷凍室扉側に出没させる挿通孔22が形成されている。
中間板11cは、一側板11aと他側板11bとの中間位置に配置され、第2ロックピンを移動自在に案内する案内孔23が形成されている。前記一側板11a、中間板11c、他側板11b、前板11e及び後板11dは、保持部材として機能する。
前記係合孔21、案内孔23および挿通孔22は、その前後左右の位置が重なるよう、中心軸線が一致するように形成されている。そして、冷蔵室扉5及び冷凍室扉6の閉状態で、前記各孔21,22,23の中心軸線と第1ロックピン9及び第2ロックピン12の軸線が一致するように設定されている。
第2ロックピン12は、軸状の部材であって、一側板11aと他側板11bとの間隔よりもわずかに長く形成される。第2ロックピン12の下端には円板状のストッパ24が形成されている。ストッパ24の径は、係合孔21の径よりも大径に形成され、第2ロックピン12が係合孔21よりも下方に移動するのを規制している。
ストッパ24と中間板11cとの間には、第2ロックピン12を解錠方向に付勢する付勢手段としてのスプリング13が介在される。スプリング13は、コイルスプリングであって、第2ロックピン12に外嵌されている。スプリング13は、第1ロックピン9を下動させて解錠する際、その付勢力と第2ロックピン12の自重によって第2ロックピン12が下動するよう作用する。
また、一側板11aには、下側から手指を挿入可能な操作窓穴25が形成されている。第1ロックピン9を下動させて解錠するときに、第2ロックピン12が保持金具11に引っ掛かって解錠しない場合、操作窓穴25に手指を入れて第2ロックピン12を引き下げることができる。このとき、第1ロックピン9が下動して冷蔵室扉5の施錠を解除しているので、冷蔵室扉5を開けることができ、操作窓穴25を外部に露出することができ、第2ロックピン12の解錠操作を容易に行うことができるようになっている。
ここで、第2ロックピン12を保持金具11に取り付けるには、まず、第2ロックピン12にスプリング13をセットして、下側の一側板11aを開いた状態で保持金具11の案内孔23及び挿通孔22に第2ロックピン12を挿入し、冶具等を用いて一側板11aを90度折り曲げる。その際、一側板11aと中間板11cとの間隔(L)の精度が不十分になりやすいので、操作部7から位置決め用の係合突起26が後方に突出され、この係合突起26に一側板11aの前端を係合させて、間隔Lを確保するようにしている。なお、一側板11aを保持金具11から分離し、単独で仕切壁に溶接やビス留めすることもできる。この場合、保持金具11は2部品に分けることになる。
第1ロックピン9は、軸部材から構成され、その軸線を上下方向に向けて配置され、回転式錠前10で上下方向に移動操作することにより、冷蔵室扉5の上面の出没穴15から出没するようになっている。この第1ロックピン9は、上端部が出没穴15にスライド自在に保持されると共に、下端部が回転式錠前10に接続されている。
回転式錠前10は、冷蔵室扉5の表面パネル16の前面に鍵穴を露出させつつ、表面パネル16の後側に突出するよう設けられ、その回転軸から軸直角方向に突出する回転レバー17の先端に第1ロックピン9が回転自在に連結されている。この回転式錠前10の鍵穴に鍵を差し込んで回転軸を回転させることにより、回転レバー17が回転方向に移動して、第1ロックピン9を上下方向に移動させることができる。
また、図2に示すように、回転レバーの回転中心が第1ロックピン9の軸線から左右方向でずれた位置に配置されており、また、回転レバー17の先端部が施錠時に回転中心から左右方向で左方向にずれて位置するよう設定されている。これにより、仮に、解錠する際、第1ロックピン9及び第2ロックピン12が引っ掛かったとしても、第2ロックピン12の上端側にドライバー等の工具を挿入して第1ロックピン9及び第2ロックピン12を強制的に下動させれば、第1ロックピン9が軸線方向に移動できるので、解錠することができる。
また、第1ロックピン9及び回転式錠前10は、図4に示すように、表面パネル16と、発泡スチロールなどの断熱材からなる鍵カバー18とで囲まれた空間19に収容され、その鍵カバー18が冷蔵室扉5の断熱発泡ウレタン層20の一部に代えて設けられている。また、鍵カバー18を構成する断熱材の厚み(t)は例えば20mm以上に設定され、鍵構造8の周囲の断熱性能を高めて結露を防止している。
一方、冷凍室扉6の下面に形成された係合凹部14は、冷凍室扉6の閉状態で、その後面垂直壁14aに第2ロックピン12が接触するよう、前後方向の位置が設定され、施錠時に、冷凍室扉6が開くのを阻止している。この係合凹部14を構成する周壁の内側から冷凍室扉6の背面までの最短距離(D)は、例えば40mm以上に設定され、その間に断熱材が充填され、十分な断熱性能を保持して、係合凹部14における結露を防止している。
係合凹部14の後面垂直壁14aの下端部には、下方ほど後側に広がる後傾斜面27が形成され、冷凍室扉6の閉止位置に多少のずれが生じたとしても、この後傾斜面27で第2ロックピン12を係合凹部14に案内することができる。また、後傾斜面27で案内することによって第2ロックピン12が係合凹部14の後面に隙間なく接触し、冷凍室扉6が冷凍室4の前面開口の周縁に押し付けられて、冷気のシール性能を向上させる。
係合凹部14の底部は、施錠時に第2ロックピン12の上端との間に空間28ができる高さに設定される。また、係合凹部14の前面には、下方ほど前側に広がる前傾斜面29が形成されている。前傾斜面29は、第2ロックピン12の上端と操作部7の前面上端とを結ぶラインと平行に形成され、前傾斜面29に沿って空間28に工具を挿入可能なよう、第2ロックピン12の上端と前傾斜面29との隙間(a)が例えば8mm以上に設定される。
操作部7には、保持金具11に係合されるパネルから構成され、その裏面には、冷蔵室2及び冷凍室3の施錠状態又は解錠状態を電子的に検知する検知部30が設けられている。この検知部30は、電子基板31から後方に突出するプッシュロッド式のスイッチ32を備えており、第2ロックピン12が上下動してストッパ24がスイッチ32を押圧又は解除することによって作動し、冷蔵庫1の施錠状態又は解錠状態を電子的に検知するようになっている。
次に、上記鍵構造により冷蔵室扉及び冷凍室扉を施錠及び解錠する様子を説明する。まず、回転式錠前10の鍵穴に鍵を差し込んで図1〜図3における右回りに回転させることにより、回転レバー17を回転方向に移動させて、第1ロックピン9を上向きに移動させる。これにより、第1ロックピン9が係合孔21(図5に記載)に挿入され、保持金具11に係合して冷蔵室扉5が施錠される。
このとき、第1ロックピン9の係合側先端の移動軌跡S1は、図5に示すように、冷蔵室扉5の上端出没孔15の位置から第2ロックピン12の施錠状態におけるストッパ24位置までである。一方、第2ロックピン12の基端側の移動軌跡S2は、ストッパ24の解錠状態における一側板11aとの当接位置から施錠状態におけるストッパ24位置までである。両者の軌跡S1とS2とが重なるように設定されているので、第1ロックピン9の施錠時には、第2ロックピン12のストッパ24を上向きに押動して、第2ロックピン12が冷凍室扉6の係合凹部14に係合し、これにより、冷凍室扉6が施錠される。このように、一度の施錠操作で冷蔵室扉5および冷凍室扉6を施錠することができる。
また、回転式錠前10の鍵穴に鍵を差し込んで図1〜図3における左回りに回転させると、回転レバー17が左回りに回転移動し、第1ロックピン9を下向きに移動させる。これにより、第1ロックピン9と保持金具11との係合が解除されて冷蔵室扉5が解錠される。このとき、第2ロックピン12は、第1ロックピン9からの拘束を解除されるので、自重により、またスプリング13の付勢力により、下向きに押し戻されて係合凹部14から外れ、冷凍室扉6が解錠される。
この第2ロックピン12の動作は、検知部30により検知されて、施錠状態及び解錠状態が電子的に認識される。したがって、冷蔵室扉5及び冷凍室扉6がロックされた施錠状態では、節電モードあるいは盗難防止のセキュリティーモードに設定するなどの電子制御を行うことができる。
また、断熱仕切壁2の前面に保持金具11を取り付けて冷蔵室扉5及び冷凍室扉6の間に配置し、この保持金具11に、冷蔵室扉5に設けた第1ロックピン9を係合させると共に、止め部材11が保持する第2ロックピン12を第1ロックピン9で上動させて冷凍室扉6の係合凹部14に係合させるので、冷蔵室扉5及び冷凍室扉6が間隔をあけて設けられていても、これらを一度の操作で施解錠することができる。
また、第1ロックピン9及び第2ロックピン12の二つのロックピンを用いるため、第1ロックピン9の移動量を小さくすることができ、その分、第1ロックピン9を上下動させる回転式錠前10の回動レバー17を短くすることができる。これにより、冷蔵室扉5のうちの回転式錠前10を設けるスペースを小さくすることができ、ウレタン層20の減少を抑えて、断熱性能の悪化や、断熱発泡ウレタン層20と表面パネル16との剥離による冷蔵室扉5の表面の変形を防ぐことができる。
冷蔵室扉5に設ける第1ロックピン9及び回転式錠前10は、従来の鍵構造と同じ構造を採用することができ、新規投資の最小化や、標準化による他機種への展開を可能とすることができる。また、鍵構造8を冷蔵庫1の中央に配置することができるので、冷蔵室扉5及び冷凍室扉6を左右どちらから開く場合でも施錠及び解錠することができる。
なお、本発明は上記実施形態に限定されるものではなく、本発明の範囲内で多くの修正・変更を加えることができるのは勿論である。例えば、上記実施形態では、第1扉と第2扉とを上下に配置した構成を例示したが、両扉は左右に並設された構成であってもよい。また、第1ロックピンおよび第2ロックピンの移動軌跡は、直線状あるいは曲線状のいずれであってもよい。上記実施形態では、第1ロックピンを係合する止め部材と、第2ロックピンを移動自在に保持する保持部材とが一体的に形成された保持金具を例示したが、これに限らず、図8に示すように、保持部材33と止め部材34とを別々に形成してもよい。
本発明に係る鍵構造を備えた冷蔵庫の正面図 鍵構造の正面図(解錠状態) 鍵構造の正面図(施錠状態) 鍵構造の側面図(解錠状態) 鍵構造の側面図(施錠状態) 保持金具を示す図で、(a)は平面図、(b)は正面図、(c)は底面図、(d)はA−A断面図 保持金具を組み立てる手順を示す図 保持金具の別の形態の正面図 従来の鍵構造の正面図
符号の説明
1 冷蔵庫
2 断熱仕切
3 冷蔵室
4 冷凍室
5 冷蔵室扉
6 冷凍室扉
7 操作部
8 鍵構造
9 第1ロックピン
10 回転式錠前
11 保持金具
11a 一側板
11b 他側板
11c 中間板
12 第2ロックピン
13 スプリング
14 係合凹部
16 表面パネル
17 回転レバー
18 鍵カバー
21 係合孔
22 挿通孔
23 案内孔
27 後傾斜面
29 前傾斜面
30 検知部
32 スイッチ

Claims (6)

  1. 仕切壁を挟んでその両側に並設された第1扉及び第2扉を連動して施解錠するための鍵構造であって、両扉間の仕切壁の前面に取り付けられた止め部材と、該止め部材に係合して第1扉を施錠するよう第1扉に移動自在に設けられた第1ロックピンと、第2扉の周縁端面に凹設された係合凹部に係合して第2扉を施錠するよう、前記両扉間に移動自在に設けられた第2ロックピンとを備え、第1ロックピンが前記止め部材に係合して施錠する際に、第2ロックピンを押動して第2扉の係合凹部に係合させるよう設定されたことを特徴とする鍵構造。
  2. 前記止め部材に、第1扉の閉状態で、第1ロックピンを挿抜させる係合孔が貫通形成され、該止め部材の第2扉側に第2ロックピンを移動自在に保持する保持部材が設けられ、前記保持部材の第2扉との対向面に第2ロックピンを第2扉側に出没させる挿通孔が形成され、第1扉及び第2扉の閉状態で第1ロックピン及び第2ロックピンの軸線が合うよう、前記係合孔と挿通孔とが、その中心軸線を合わせて形成されたことを特徴とする請求項1に記載の鍵構造。
  3. 第1扉に第1ロックピンを移動操作する回転式錠前が設けられ、該回転式錠前は、施解錠操作により回転軸周りに回転可能な回転レバーを備え、該回転レバーの先端が第1ロックピンに回転自在に連結され、前記回転レバーは、施錠時にその回転中心が第1ロックピンの軸線の延長線上からずれて位置するよう設定されたことを特徴とする請求項1又は2に記載の鍵構造。
  4. 前記止め部材に、第1扉側から第2ロックピンを移動操作するための操作窓穴が形成されたことを特徴とする請求項1〜3のいずれかに記載の鍵構造。
  5. 仕切壁を挟んで第1貯蔵室および第2貯蔵室が設けられ、第1貯蔵室を開閉する第1扉と、第2貯蔵室を開閉する第2扉とを連動して施解錠する請求項1〜4のいずれかに記載の鍵構造を備えたことを特徴とする冷蔵庫。
  6. 第1貯蔵室および第2貯蔵室の施錠状態又は開錠状態を電子的に検知する検知部を備え、該検知部に、第2ロックピンの上下動によって作動するスイッチが設けられたことを特徴とする請求項5に記載の冷蔵庫。
JP2008201036A 2008-08-04 2008-08-04 鍵構造及びこれを備えた冷蔵庫 Active JP5133811B2 (ja)

Priority Applications (1)

Application Number Priority Date Filing Date Title
JP2008201036A JP5133811B2 (ja) 2008-08-04 2008-08-04 鍵構造及びこれを備えた冷蔵庫

Applications Claiming Priority (1)

Application Number Priority Date Filing Date Title
JP2008201036A JP5133811B2 (ja) 2008-08-04 2008-08-04 鍵構造及びこれを備えた冷蔵庫

Publications (2)

Publication Number Publication Date
JP2010038431A true JP2010038431A (ja) 2010-02-18
JP5133811B2 JP5133811B2 (ja) 2013-01-30

Family

ID=42011184

Family Applications (1)

Application Number Title Priority Date Filing Date
JP2008201036A Active JP5133811B2 (ja) 2008-08-04 2008-08-04 鍵構造及びこれを備えた冷蔵庫

Country Status (1)

Country Link
JP (1) JP5133811B2 (ja)

Cited By (2)

* Cited by examiner, † Cited by third party
Publication number Priority date Publication date Assignee Title
CN107490234A (zh) * 2017-07-27 2017-12-19 合肥美的电冰箱有限公司 冰箱、冰箱门锁及其密封结构
EP3303954B1 (en) * 2015-06-04 2020-02-26 Arçelik Anonim Sirketi A refrigerator with increased insulation efficiency

Citations (6)

* Cited by examiner, † Cited by third party
Publication number Priority date Publication date Assignee Title
JPS53153555U (ja) * 1977-05-11 1978-12-02
JPS60176084U (ja) * 1984-04-27 1985-11-21 株式会社東芝 冷蔵庫の断熱扉
JPS60191884U (ja) * 1984-05-29 1985-12-19 松下冷機株式会社 扉の施錠装置
JPH04327780A (ja) * 1991-04-26 1992-11-17 Sharp Corp 両開き扉のかぎ機構
JPH06281320A (ja) * 1993-03-31 1994-10-07 Sanyo Electric Co Ltd 冷蔵庫
JP2004245536A (ja) * 2003-02-17 2004-09-02 Sanyo Electric Co Ltd 貯蔵庫

Patent Citations (6)

* Cited by examiner, † Cited by third party
Publication number Priority date Publication date Assignee Title
JPS53153555U (ja) * 1977-05-11 1978-12-02
JPS60176084U (ja) * 1984-04-27 1985-11-21 株式会社東芝 冷蔵庫の断熱扉
JPS60191884U (ja) * 1984-05-29 1985-12-19 松下冷機株式会社 扉の施錠装置
JPH04327780A (ja) * 1991-04-26 1992-11-17 Sharp Corp 両開き扉のかぎ機構
JPH06281320A (ja) * 1993-03-31 1994-10-07 Sanyo Electric Co Ltd 冷蔵庫
JP2004245536A (ja) * 2003-02-17 2004-09-02 Sanyo Electric Co Ltd 貯蔵庫

Cited By (2)

* Cited by examiner, † Cited by third party
Publication number Priority date Publication date Assignee Title
EP3303954B1 (en) * 2015-06-04 2020-02-26 Arçelik Anonim Sirketi A refrigerator with increased insulation efficiency
CN107490234A (zh) * 2017-07-27 2017-12-19 合肥美的电冰箱有限公司 冰箱、冰箱门锁及其密封结构

Also Published As

Publication number Publication date
JP5133811B2 (ja) 2013-01-30

Similar Documents

Publication Publication Date Title
KR102592341B1 (ko) 냉장고
JP4654277B2 (ja) 冷蔵庫
JP2003138801A (ja) 押しボタン施錠装置
JP5133811B2 (ja) 鍵構造及びこれを備えた冷蔵庫
CN112983130B (zh) 门组件及冰箱
KR102227959B1 (ko) 냉장고
JP4623620B2 (ja) 鎌錠
JP2007107381A (ja) 引き戸
JP2007139267A (ja) ドアロック装置
JP2005113546A (ja) 引戸用鎌錠
JPH0860924A (ja) 解錠位置拘束型ラッチ装置
JP4769787B2 (ja) 引戸錠装置
JP4467471B2 (ja) 収納具
JP4978967B2 (ja) ロック装置
JP7438066B2 (ja) 冷蔵庫
JP6737682B2 (ja) 冷却貯蔵庫の扉
KR20030062214A (ko) 로크장치 및 그것을 사용한 차량용 수납장치
JPS6311585Y2 (ja)
JP2007024460A (ja) 扉開閉機構及び冷蔵庫
JP7787803B2 (ja) ロッカー装置
JP3980369B2 (ja) フラップ扉付キャビネットにおける扉のラッチ装置
JP2008138487A (ja) 引き違い戸用錠
JP2002327565A (ja) 鍵付きロッカー
CN106066109A (zh) 冰箱
JP4470676B2 (ja) 家具

Legal Events

Date Code Title Description
A621 Written request for application examination

Free format text: JAPANESE INTERMEDIATE CODE: A621

Effective date: 20100826

A977 Report on retrieval

Free format text: JAPANESE INTERMEDIATE CODE: A971007

Effective date: 20120125

A131 Notification of reasons for refusal

Free format text: JAPANESE INTERMEDIATE CODE: A131

Effective date: 20120214

A521 Written amendment

Free format text: JAPANESE INTERMEDIATE CODE: A523

Effective date: 20120413

TRDD Decision of grant or rejection written
A01 Written decision to grant a patent or to grant a registration (utility model)

Free format text: JAPANESE INTERMEDIATE CODE: A01

Effective date: 20121016

A01 Written decision to grant a patent or to grant a registration (utility model)

Free format text: JAPANESE INTERMEDIATE CODE: A01

A61 First payment of annual fees (during grant procedure)

Free format text: JAPANESE INTERMEDIATE CODE: A61

Effective date: 20121108

FPAY Renewal fee payment (event date is renewal date of database)

Free format text: PAYMENT UNTIL: 20151116

Year of fee payment: 3

R150 Certificate of patent or registration of utility model

Free format text: JAPANESE INTERMEDIATE CODE: R150

Ref document number: 5133811

Country of ref document: JP

Free format text: JAPANESE INTERMEDIATE CODE: R150