JP2010038261A - 管継手 - Google Patents

管継手 Download PDF

Info

Publication number
JP2010038261A
JP2010038261A JP2008202361A JP2008202361A JP2010038261A JP 2010038261 A JP2010038261 A JP 2010038261A JP 2008202361 A JP2008202361 A JP 2008202361A JP 2008202361 A JP2008202361 A JP 2008202361A JP 2010038261 A JP2010038261 A JP 2010038261A
Authority
JP
Japan
Prior art keywords
tube
diameter
end wall
nut member
joint body
Prior art date
Legal status (The legal status is an assumption and is not a legal conclusion. Google has not performed a legal analysis and makes no representation as to the accuracy of the status listed.)
Granted
Application number
JP2008202361A
Other languages
English (en)
Other versions
JP4625856B2 (ja
Inventor
Kazukiyo Tejima
一清 手嶋
Akihiro Masuda
昭宏 増田
Takehiro Nakamura
岳寛 中村
Masateru Yamada
真照 山田
Takayuki Kishimoto
貴之 岸本
Toshiyuki Fukumoto
敏行 福元
Makoto Imanishi
良 今西
Current Assignee (The listed assignees may be inaccurate. Google has not performed a legal analysis and makes no representation or warranty as to the accuracy of the list.)
Nippon Pillar Packing Co Ltd
Original Assignee
Nippon Pillar Packing Co Ltd
Priority date (The priority date is an assumption and is not a legal conclusion. Google has not performed a legal analysis and makes no representation as to the accuracy of the date listed.)
Filing date
Publication date
Application filed by Nippon Pillar Packing Co Ltd filed Critical Nippon Pillar Packing Co Ltd
Priority to JP2008202361A priority Critical patent/JP4625856B2/ja
Publication of JP2010038261A publication Critical patent/JP2010038261A/ja
Application granted granted Critical
Publication of JP4625856B2 publication Critical patent/JP4625856B2/ja
Expired - Fee Related legal-status Critical Current
Anticipated expiration legal-status Critical

Links

Images

Landscapes

  • Joints With Pressure Members (AREA)

Abstract

【課題】継手本体とナット部材との2点で成る経済的なものとしながら、高い耐引き抜き性と良好なシール性との両立を図ることが可能となる管継手を提供する。
【解決手段】管継手20は、第1雄ねじ部32を設けた継手本体30と、第1雄ねじ部に接続すべきチューブ10に外嵌され、第1雄ねじ部に螺合されるナット部材50を有し、第1雄ねじ部がチューブの接続端部が拡径した状態で外嵌するインナ筒部36を設け、インナ筒部が先端部内外面に第1,第2テーパー部37,38を設け、ナット部材がねじ孔の奥側にチューブ挿入孔53を設けた端壁52を設け、端壁が溝部54を設け、それにより端壁に付けられる内外二つの段差部のうち、内側の段差部で第3テーパー部55を形成し、外側の段差部でエッジ部56を形成し、端壁52とインナ筒部36の間で、チューブの非拡径部11より拡径部15にかかる段差部14を折り返した状態で挟持する。
【選択図】図3

Description

本発明は、流体移送路としての合成樹脂製のチューブ同士、又は該チューブとポンプ,バルブ,フィルタ等の流体機器を接続する合成樹脂製の管継手に関し、特に、半導体や液晶表示パネル製造,医療・医薬品製造,食品加工、化学工業の各種技術分野で取り扱われる高純度液や超純水,薬液等の配管にも使用可能な合成樹脂製の管継手に関するものである。
この種の管継手としては、特許文献1において開示されるチューブ継手が知られている。即ち、合成樹脂製のチューブ1を合成樹脂製の継手本体4のインナ筒部5に強制的に押し込むか、又は特許文献1の図2に示されるように、予めチューブ端部2を拡径させてからインナ筒部に嵌め込むかする。それから、予めチューブに外嵌されている合成樹脂製の袋ナット6を継手本体に螺合させることにより、チューブの拡径付け根部分2aを袋ナットのエッジ部6aでインナ筒部の尖端5Aに強く押圧し、チューブとインナ筒部との間をシールする構造である。
上述の構造と同様なものとしては、特許文献2の図8,図9において開示されたものや、特許文献3の図6において開示された管継手が知られている。これらのように、チューブの先端を拡径(フレア)させて継手本体に嵌めてナット止めする継手構造は、特許文献2の図5や特許文献3の図4等において開示される構造、即ち、専用部品のインナーリングに拡径外嵌されているチューブ端を継手本体の筒状受口に内嵌させてナット止めする3部品構造の管継手に比べて、継手本体とナット部材という少ない部品点数(2点)で経済的に管継手を構成しながらも良好なシール機能が得られる利点がある。
ところが、上述のように2点部品で成る従来の管継手では、チューブ端を拡径させて強固に嵌合させ、かつ、拡径根元部分をナット部材で締め付けているが、その締め付けはシール機能を出すためのものであるためか、チューブを継手本体から引き抜こうとする力には比較的弱いという傾向があった。特に、100℃以上の高温流体を扱うべく管継手がフッ素樹脂等の大きな膨張係数を有する合成樹脂で形成されている場合には、その問題がより顕著化されてしまう。
そこで、特許文献4にて開示されるように、チューブ拡径部とナット部材との間にC字状の割リングをチューブ拡径部の周溝に嵌る状態で介装させる構造の耐引き抜き手段を設けることにより、シール機能だけでなくチューブの引き抜きに対しても強い管継手を得ることが知られている。しかしながら、その特許文献4で開示される管継手では、部品点数が2部品から1部品(割リング)増えて3部品となることから、元々有していた経済性の良さが損われてしまうという新たな問題が生じる。従って、継手本体とナット部材との2点で成る管継手を、その新たな問題を招くことなく引き抜きに対しても強いものとするにはさらなる改善の余地が残されているものであった。
実登3041899号公報 特開平7−27274号公報 特開2002−357294号公報 実登2587449号公報
本発明の目的は、上記実情に鑑みて、継手本体とナット部材との2点で成る経済的なものとしながら、高い耐引き抜き性と良好なシール性との両立を図ることが可能となる管継手を提供する点にある。
請求項1に係る発明は、管継手において、少なくとも一つの端部に筒状のチューブ接続端部32を設けた筒状の継手本体30と、該継手本体30のチューブ接続端部32に接続すべき合成樹脂製のチューブ10に外嵌され、前記チューブ接続端部32に螺合されるナット部材50を有し、前記継手本体30と前記ナット部材50それぞれが合成樹脂で形成され、前記チューブ接続端部32が該チューブ接続端部32よりさらに軸方向に突出して前記チューブ10の接続端部が拡径した状態で外嵌するインナ筒部36を設け、該インナ筒部36が該インナ筒部36の先端部内外面にテーパー部37,38を設け、前記ナット部材50が該ナット部材50のねじ孔の奥側にねじ軸に垂直な端壁52を設けるとともに、該端壁52に前記チューブ10を端壁52側からねじ孔内に挿入するチューブ挿入孔53を設け、前記端壁52が前記インナ筒部36の内径より大径の内径と前記インナ筒部36の外径より小径の外径を有して該端壁52を部分的に後退させる環状の溝部54を設け、該溝部54により前記端壁52に付けられる内外二つの段差部のうち、内側の段差部で該段差部を前記溝部54の奥側に向かって漸次縮径するテーパー部55を形成するとともに、外側の段差部でエッジ部56を形成したことを特徴とするものである。
請求項2に係る発明は、請求項1に記載の管継手において、前記継手本体30と前記ナット部材50それぞれがフッ素樹脂で形成されている構成を付加したものである。
請求項1に係る発明によれば、ナット部材50の螺進によって該ナット部材50の端壁52に設けた溝部54で付けられた2つの段差部が、チューブ10の非拡径部より拡径部にかかる該チューブ10の段差部14を継手本体30のチューブ接続端部32に設けたインナ筒部36の先端部に押し付け、端壁52の内側の段差部で形成したテーパー部55とインナ筒部36の先端部内周に設けたテーパー部37の間でチューブ10の段差部14を該チューブ10の抜き方向に折り返し、端壁52の内側の段差部で形成したテーパー部55がチューブ10の折り返し部14aに該チューブ10の挿入方向で係合するから、高いチューブ引き抜き強度を効果的に確保することができ、また、端壁54の外側の段差部で形成したエッジ部56とインナ筒部36の先端部外周に設けたテーパー部38の間でチューブ10の段差部14を折り返し部14aを経て折り戻し、端壁52の外側の段差部で形成したエッジ部56がチューブ10の折り戻し部14bをインナ筒部36の先端部外周に設けたテーパー部38に強く押し付けるから、そこでチューブ引き抜き強度をさらに高めながら、流体のシールに必要な面圧を効果的に発生し、流体の漏れを確実に防止することができる。その結果、継手本体30とナット部材50との2点で成る経済的なものとしながら、高い耐引き抜き性と良好なシール性との両立を図ることが可能となる管継手20,21を提供することができる。
請求項2に係る発明によれば、継手本体30とナット部材50それぞれが耐薬品性及び耐熱性に優れた特性を有するフッ素樹脂で形成されているから、流体が薬液であるとか化学液体であっても、或いは高温流体であっても継手構造部分が変形して漏れやすくなることがなく、高い耐引き抜き性と良好なシール性が維持できるようになる。尚、フッ素樹脂は高温にも安定で、撥水性に優れ、摩擦係数が小さく、耐薬品性も極めて高く、電気絶縁性も高い点で好ましい。
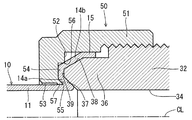
以下、本発明の実施の形態を図面に基づいて詳述する。図1は本発明の一実施の形態に係る管継手の断面図、図2は図1の要部拡大片側断面図、図3は図2の要部拡大図である。
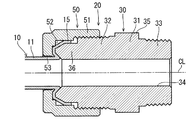
図1〜図3において、本実施形態の管継手20は、断面円形の流体移送路としての合成樹脂製のチューブ10をポンプ,バルブ,フィルタ等の流体機器に連通接続するもので、合成樹脂製の継手本体30と、同じく合成樹脂製のナット部材50の2部品で構成されている。
継手本体30とナット部材50の合成樹脂材料は、基本的にはチューブ10と同じ合成樹脂材料が用いられる。例えばPTEF(ポリテトラフルオロエチレン)、PFA(テトラフルオロエチレン・パーフルオロアルキルビニルエーテル共重合体)、ETFE(テトラフルオロエチレン・エチレン共重合体)、PVDF(ポリビニリデンフルオライド)等のフッ素樹脂、その他、PP(ポリプロピレン)、PEEK(ポリエーテルエーテルケトン)が用いられる。
図4はチューブの接続端部における初期状態の半断面図であり、管継手20を用いてチューブ10を接続対象としての流体機器に接続するに当たり、チューブ10の接続端部には、図4に示すように、予め、チューブ10の非拡径部11に連なる垂直段差部12及び該垂直段差部12に連なるテーパー段差部13を有する段差部14を経て、拡径した状態で継手本体50の後述するインナ筒部36に外嵌する直筒状の拡径部15を設けている。
拡径部15は、チューブ10の接続端部を、例えばチューブ拡径器を用いて常温下或いは加熱しながら段階的に拡径変形させることで設けることができる。
継手本体30は、図1の紙面左右方向に一直線状に延びる水平な軸線(中心線)CLを有する直管部31と、該直管部31の左右端部より左右逆向きに該直管部31と同軸上で突出する2つの筒状の接続端部、つまり筒状のチューブ接続端部としての筒状の第1雄ネジ部32及び筒状の機器接続端部としての筒状の第2雄ねじ部33とを一体に形成し、第1雄ねじ部32側から直管部31を経て第2雄ねじ部33側に一直線状に貫通する流体移送路34を形成している。
継手本体30が形成する流体移送路34は、チューブ10が形成する流体移送路と略同じ直径を有する断面円形のものである。
直管部31は、第1雄ネジ部32及び第2雄ねじ部33の基部となる該直管部31の左右端部の外面よりそれぞれ別々に径方向外側に張り出す把持部35を設けている。該把持部35は、直管部31と同芯に形成されるとともに、その外面は6角等の多角形に形成されており、レンチ等の工具をかけることができる。
本実施形態では、第1雄ネジ部32及び第2雄ねじ部33の基部となる直管部31の左右端部が接近しているため、第1雄ネジ部32の基部と第2雄ねじ部33の基部にそれぞれ別々に設けられる把持部35は一つに繋がっている。
第1雄ネジ部32は、該第1雄ねじ部32の先端部より該第1雄ねじ部32と同軸上でさらに軸方向に突出し、該第1雄ねじ部32の内径と同じ内径、該第1雄ねじ部32の外径より小径な外径を有し、チューブ10の拡径部15が外嵌する円筒状のインナ筒部36を設けている。
該インナ筒部36には、該インナ筒部36の先端部内面側の角部を略45度の角度で斜めに落とすような第1テーパー部37を設けるとともに、該インナ筒部36の先端部外面側の角部を略30度の角度で斜めに落とすような第2テーパー部38を設けている。
本実施形態では、第1テーパー部37と第2テーパー部38の間に、インナ筒部36における軸線CLに垂直な平面内にある先端面を残したものである平坦部39を設けているが、平坦部39を設けることなく第1テーパー部37と第2テーパー部38を直接繋いでもよい。この場合、第1テーパー部37と第2テーパー部38の交点は角張らせてもよいし、多少の丸みを付けてもよい。要するに、インナ筒部36の先端部の片側断面形状を第1テーパー部37と第2テーパー部38で先細りの台形状や三角形状にしている。
第2雄ねじ部33は、チューブ10の接続対象としての流体機器のチューブ接続口に設けられた相手方の雌ねじ部に螺合可能なものである。第2雄ねじ部33と相手方の雌ねじ部のねじは、シール性を発揮するテーパーねじである。
なお、第1テーパー部37は、継手本体30が形成する流体移送路34における第1雄ネジ部32側の開口縁、つまりインナ筒部36の先端面と内周面との角部を面取りし、チューブ10が形成する流体移送路と継手本体30が形成する流体移送路34との継ぎ目で液溜まりが発生するのを防止する機能を有する。
ナット部材50は、ねじ孔の一方が閉鎖された袋ナットにおけるねじ孔の奥側からチューブ10を挿入できるようにしたユニオンナットで成り、第1雄ネジ部32に螺合可能なナット部51と、該ナット部51のねじ孔の一方を閉鎖するよう該ナット部51の一端部(図1の左端部)から径方向内側に直角に延出され、ナット部51を第1雄ねじ部32に螺合したとき、ナット部材50のねじ軸、つまり軸線CLに垂直な平面内にあり、インナ筒部36の先端の平坦面39と軸方向で対向する端壁52と、該端壁52の中心部を開口する内外面貫通の円形なチューブ挿入孔53とを同軸上に一体に形成している。
ナット部材50が形成するチューブ挿入孔53は、そこを挿通するチューブ10との間に僅かなクリアランスを設ける孔径を有しており、該クリアランスによりチューブ10がナット部材50と連れ回りするのを防止している。
軸線CLに垂直な平面内にあり、ねじ孔の奥壁を形成する端壁52は、該端壁52を部分的に後退させる、該端壁と同芯な円環状の溝部54を設けている。該溝部54は、チューブ10の管壁の厚みと略同等かそれ以上の溝深を有するとともに、インナ筒部36の主内径(継手本体20が形成する流体移送路34の直径)より大径、かつ、端壁52の主内径(チューブ挿入孔53の直径≒チューブ10の非拡径部11の外径)より所定寸法だけ大径、かつ、平坦部39の内径より小径の内径、及び、インナ筒部36の主外径(第2テーパー部38以降のインナ筒部36の外径)より小径、かつ、平坦部39の外径より大径の外径を有しており、インナ筒部36の第1テーパー部37に対向する領域内と第2テーパー部38に対向する領域内それぞれに一つずつ段差を付けるものである。
そして、溝部54により端壁52に付けられた同芯な内外二つの段差部のうち、内側の段差部で該段差部を溝部54の奥側に向かって漸次縮径する第3テーパー部55を形成するとともに、外側の段差部で鋭角のエッジ部56を形成している。
また、第3テーパー部55とチューブ挿入孔53の間に、端壁52より突出しないくさび状の片側断面形状を有する円形の押し輪部57を形成している。第3テーパー部55は第1テーパー部37と平行に形成することが好ましい。
以上の構成において、チューブ10の接続端部を継手本体30に接続するには、チューブ10の接続端部を拡径加工する前に、該チューブ10の接続端部をナット部材50のチューブ挿入孔53に端壁52の外側より挿入し、ナット部材50をチューブ10に外嵌してからチューブ10の接続端部を拡径加工して非拡径部11より段差部14を経て拡径された拡径部15を設ける。そして、チューブ10の接続端部における最先端にある直筒状の拡径部15を継手本体30の第1雄ねじ部32に設けたインナ筒部36に外嵌した状態で、予めチューブ10に外嵌してあるナット部材50のナット部51を継手本体30の第1雄ねじ部32に螺合することにより完了する。
即ち、ナット部材50のナット部51を継手本体30の第1雄ねじ部32に螺合することにより、チューブ10の非拡径部11より拡径部15にかかる該チューブ10の段差部14がインナ筒部36とナット部材50の端壁52との間に配置される。この状態で、ナット部材50を回しながらナット部51を継手本体30の第1雄ねじ部32の外面で軸線CLに沿って基部側に漸次螺進させると、端壁52がインナ筒部36に漸次接近し、端壁52の押し輪部57の尖端がチューブ10の非拡径部11より段差部14の垂直段差部12にかかる屈曲部に突き合い接触し、段差部14を押し、遂には垂直段差部12をインナ筒部36に平坦面39で突き合い接触させる。
この状態で、ナット部材50をさらに回してナット部51を継手本体30の第1雄ねじ部32の外面で軸線CLに沿って基部側に螺進させると、チューブ10の非拡径部11より段差部14の垂直段差部12にかかる屈曲部が押し輪部57の尖端でさらに押され、インナ筒部36の先端部内周に設けた第1テーパー部37の内側に押し込まれる。該押し輪部57の直ぐ外周の端壁52はそこに設けた溝部54で後退しているため、チューブ10の垂直段差部12は第1テーパー部37に沿って折り返された状態で、該第1テーパー部37と、端壁52に設けた溝部54で付けられた2つの段差部のうち、内側の段差部で形成した第3テーパー部55との間で強く挟持されるとともに、チューブ10の非拡径部11より折り返し部(折り返し前は段差部14の基部側である垂直段差部12)14aにかかる屈曲部に該チューブ10の挿入方向で係合するから、高いチューブ引き抜き強度を効果的に確保することができ、高いチューブ引き抜き強度でチューブ10の接続端部が継手本体30に接続される。
また、端壁52に設けた溝部54で付けられた2つの段差部のうち、外側の段差部で形成したエッジ部56は、チューブ10の段差部14における垂直段差部12の外側部或いはそれに連なるテーパー段差部13をインナ筒部36の先端部外周に設けた第2テーパー部38に押し付ける。これにより、チューブ10の段差部14は折り返し部14aを経てインナ筒部36の第2テーパー部38に沿って折り戻され、エッジ部56でチューブ10の折り戻し部(折り戻し前は段差部14の先端側である垂直段差部12の外側部或いはテーパー段差部13)14bを第2テーパー部38に強く押し付けるから、そこでチューブ引き抜き強度をさらに高めながら、流体のシールに必要な面圧を効果的に発生し、流体の漏れを確実に防止した状態でチューブ10の接続端部が継手本体30に接続される。
以上、本実施の形態は、本発明に係る管継手の好適な一実施の形態をチューブ10を流体機器のチューブ接続口にストレートに接続する管継手20で説明したが、本発明はそれに限定されることなく、その要旨を逸脱しない範囲内で種々変形実施することができる。例えばチューブ10同士を接続するエルボ,チーズ,クロス等の管継手に実施することができ、この場合は、図1の把持部35より左側のチューブ接続構造がエルボ,チーズ,クロス等の継手本体の管部の端部に設けられる。
また、管継手20を用いてチューブ10を接続対象に接続するにあたり、チューブ10の接続端部に、予め、非拡径部11より垂直段差部12とテーパー段差部13を経て拡径された拡径部15を設けたが、チューブ10の管壁の厚みによっては、例えば非拡径部11よりテーパー段差部13のみを経て拡径された拡径部15を設けるだけでも、図1〜図3に示す状態でチューブ10の接続端部を継手本体30の第1雄ネジ部32に接続することができる。従って、チューブの接続端部における初期形状は、チューブ10の材質や管壁の厚み及び施工性を考慮して適宜設定されるものであり、接続後のチューブ10の接続端部形状(折り返し部14a及び折り戻し部14bと拡径部15)と同じ形状を与える必要はない。
また、本実施の形態では、シール用のエッジ部56を一つしか設けていないが、図5に示すように、複数設けることもできる。
図5は本発明の他の実施の形態に係る管継手の要部拡大断面図である。図5に示す管継手21は、ナット部材50の端壁52に設けた溝部54で付けられた2つの段差部のうち、外側の段差部で形成したエッジ部56の周囲に、該エッジ部56と同様にチューブ10の折り戻し部14bを第2テーパー部38に強く押し付ける、該エッジ部56と同芯な他のエッジ部56aを設けた点が、図1に示した管継手20と異なるだけであり、その他の構造は同じである。本実施形態では、チューブ10の折り戻し部14bを鋸刃状の多段エッジ(多重エッジ)で第2テーパー部38に強く押し付けるから、チューブ10の耐引き抜き性能及びシール性能は図1に示した管継手20に比べさらに高くなる。
本発明の一実施の形態に係る管継手の断面図である。 図1の要部拡大片側断面図である。 図2の要部拡大図である。 チューブの接続端部における初期状態の半断面図である。 本発明の他の実施の形態に係る管継手の要部拡大断面図である。
符号の説明
10 チューブ
14 段差部
14a 折り返し部
14b 折り戻し部
15 拡径部
20 管継手
30 継手本体
32 第1雄ネジ部(チューブ接続端部)
36 インナ筒部
37 第1テーパー部
38 第2テーパー部
50 ナット部材
51 ナット部
52 端壁
54 溝部
55 第3テーパー部
56 エッジ部
56a エッジ部
57 押し輪部

Claims (2)

  1. 少なくとも一つの端部に筒状のチューブ接続端部を設けた筒状の継手本体と、該継手本体のチューブ接続端部に接続すべき合成樹脂製のチューブに外嵌され、前記チューブ接続端部に螺合されるナット部材を有し、前記継手本体と前記ナット部材それぞれが合成樹脂で形成され、前記チューブ接続端部が該チューブ接続端部よりさらに軸方向に突出して前記チューブの接続端部が拡径した状態で外嵌するインナ筒部を設け、該インナ筒部が該インナ筒部の先端部内外面にテーパー部を設け、前記ナット部材が該ナット部材のねじ孔の奥側にねじ軸に垂直な端壁を設けるとともに、該端壁に前記チューブを端壁側からねじ孔内に挿入するチューブ挿入孔を設け、前記端壁が前記インナ筒部の内径より大径の内径と前記インナ筒部の外径より小径の外径を有して該端壁を部分的に後退させる環状の溝部を設け、該溝部により前記端壁に付けられる内外二つの段差部のうち、内側の段差部で該段差部を前記溝部の奥側に向かって漸次縮径するテーパー部を形成するとともに、外側の段差部でエッジ部を形成したことを特徴とする管継手。
  2. 前記継手本体と前記ナット部材それぞれがフッ素樹脂で形成されている請求項1に記載の管継手。
JP2008202361A 2008-08-05 2008-08-05 管継手 Expired - Fee Related JP4625856B2 (ja)

Priority Applications (1)

Application Number Priority Date Filing Date Title
JP2008202361A JP4625856B2 (ja) 2008-08-05 2008-08-05 管継手

Applications Claiming Priority (1)

Application Number Priority Date Filing Date Title
JP2008202361A JP4625856B2 (ja) 2008-08-05 2008-08-05 管継手

Publications (2)

Publication Number Publication Date
JP2010038261A true JP2010038261A (ja) 2010-02-18
JP4625856B2 JP4625856B2 (ja) 2011-02-02

Family

ID=42011028

Family Applications (1)

Application Number Title Priority Date Filing Date
JP2008202361A Expired - Fee Related JP4625856B2 (ja) 2008-08-05 2008-08-05 管継手

Country Status (1)

Country Link
JP (1) JP4625856B2 (ja)

Citations (1)

* Cited by examiner, † Cited by third party
Publication number Priority date Publication date Assignee Title
JPH10299964A (ja) * 1997-04-23 1998-11-13 Furoueru:Kk チューブ材の継手

Patent Citations (1)

* Cited by examiner, † Cited by third party
Publication number Priority date Publication date Assignee Title
JPH10299964A (ja) * 1997-04-23 1998-11-13 Furoueru:Kk チューブ材の継手

Also Published As

Publication number Publication date
JP4625856B2 (ja) 2011-02-02

Similar Documents

Publication Publication Date Title
TWI616609B (zh) 管連接裝置
JP5873833B2 (ja) 管接続装置
US9109728B2 (en) Resinous pipe joint
EP3001086B1 (en) Pipe connecting device
WO2014181589A1 (ja) インナーリング
CN102112793A (zh) 树脂管接头
JP4751920B2 (ja) 樹脂管継手
JP4625855B2 (ja) 管継手
JP4625856B2 (ja) 管継手
JP5055222B2 (ja) 樹脂管継手
JP4963688B2 (ja) 樹脂管継手
JP2010038259A (ja) 管継手
JP2010038270A (ja) 樹脂管継手
JP2010038268A (ja) 樹脂管継手
JP4963689B2 (ja) 樹脂管継手
JP5171467B2 (ja) 樹脂管継手
JP2010038260A (ja) 管継手
JP5142878B2 (ja) 樹脂管継手
JP6040294B2 (ja) 管接続装置
JP5210756B2 (ja) 樹脂管継手
JP5112216B2 (ja) 樹脂管継手
JP2010223291A (ja) 樹脂管継手
JP4982447B2 (ja) 樹脂管継手
JP2010038269A (ja) 樹脂管継手
JP5690553B2 (ja) 樹脂管継手の組付構造及び樹脂管継手の組付方法

Legal Events

Date Code Title Description
A621 Written request for application examination

Free format text: JAPANESE INTERMEDIATE CODE: A621

Effective date: 20100226

TRDD Decision of grant or rejection written
A01 Written decision to grant a patent or to grant a registration (utility model)

Free format text: JAPANESE INTERMEDIATE CODE: A01

Effective date: 20101102

A977 Report on retrieval

Free format text: JAPANESE INTERMEDIATE CODE: A971007

Effective date: 20101029

A01 Written decision to grant a patent or to grant a registration (utility model)

Free format text: JAPANESE INTERMEDIATE CODE: A01

A61 First payment of annual fees (during grant procedure)

Free format text: JAPANESE INTERMEDIATE CODE: A61

Effective date: 20101108

R150 Certificate of patent or registration of utility model

Free format text: JAPANESE INTERMEDIATE CODE: R150

FPAY Renewal fee payment (event date is renewal date of database)

Free format text: PAYMENT UNTIL: 20131112

Year of fee payment: 3

LAPS Cancellation because of no payment of annual fees