JP2010037759A - 緩衝戸当たり - Google Patents

緩衝戸当たり Download PDF

Info

Publication number
JP2010037759A
JP2010037759A JP2008199650A JP2008199650A JP2010037759A JP 2010037759 A JP2010037759 A JP 2010037759A JP 2008199650 A JP2008199650 A JP 2008199650A JP 2008199650 A JP2008199650 A JP 2008199650A JP 2010037759 A JP2010037759 A JP 2010037759A
Authority
JP
Japan
Prior art keywords
door
door stop
unit
body case
main body
Prior art date
Legal status (The legal status is an assumption and is not a legal conclusion. Google has not performed a legal analysis and makes no representation as to the accuracy of the status listed.)
Granted
Application number
JP2008199650A
Other languages
English (en)
Other versions
JP2010037759A5 (ja
JP5133809B2 (ja
Inventor
Ryuji Murakami
龍司 村上
Current Assignee (The listed assignees may be inaccurate. Google has not performed a legal analysis and makes no representation or warranty as to the accuracy of the list.)
Miwa Lock KK
Miwa Lock Co Ltd
Original Assignee
Miwa Lock KK
Miwa Lock Co Ltd
Priority date (The priority date is an assumption and is not a legal conclusion. Google has not performed a legal analysis and makes no representation as to the accuracy of the date listed.)
Filing date
Publication date
Application filed by Miwa Lock KK, Miwa Lock Co Ltd filed Critical Miwa Lock KK
Priority to JP2008199650A priority Critical patent/JP5133809B2/ja
Publication of JP2010037759A publication Critical patent/JP2010037759A/ja
Publication of JP2010037759A5 publication Critical patent/JP2010037759A5/ja
Application granted granted Critical
Publication of JP5133809B2 publication Critical patent/JP5133809B2/ja
Expired - Fee Related legal-status Critical Current
Anticipated expiration legal-status Critical

Links

Images

Classifications

    • EFIXED CONSTRUCTIONS
    • E05LOCKS; KEYS; WINDOW OR DOOR FITTINGS; SAFES
    • E05FDEVICES FOR MOVING WINGS INTO OPEN OR CLOSED POSITION; CHECKS FOR WINGS; WING FITTINGS NOT OTHERWISE PROVIDED FOR, CONCERNED WITH THE FUNCTIONING OF THE WING
    • E05F5/00Braking devices, e.g. checks; Stops; Buffers
    • E05F5/02Braking devices, e.g. checks; Stops; Buffers specially for preventing the slamming of swinging wings during final closing movement, e.g. jamb stops
    • EFIXED CONSTRUCTIONS
    • E05LOCKS; KEYS; WINDOW OR DOOR FITTINGS; SAFES
    • E05YINDEXING SCHEME ASSOCIATED WITH SUBCLASSES E05D AND E05F, RELATING TO CONSTRUCTION ELEMENTS, ELECTRIC CONTROL, POWER SUPPLY, POWER SIGNAL OR TRANSMISSION, USER INTERFACES, MOUNTING OR COUPLING, DETAILS, ACCESSORIES, AUXILIARY OPERATIONS NOT OTHERWISE PROVIDED FOR, APPLICATION THEREOF
    • E05Y2201/00Constructional elements; Accessories therefor
    • E05Y2201/20Brakes; Disengaging means; Holders; Stops; Valves; Accessories therefor
    • E05Y2201/21Brakes
    • E05Y2201/212Buffers

Landscapes

  • Wing Frames And Configurations (AREA)

Abstract

【課題】薄厚且つコンパクトな機構で、ガラス扉閉扉時の衝撃を緩和できる緩衝戸当たりを得る。
【解決手段】両開きガラス扉11の一方の扉11aに取り付けられ、閉扉時に当たる他方の扉11bからの衝撃力を緩和する緩衝戸当たり100であって、一方の扉11aの内面に設けられるストライクユニット100Bと、ストライクユニット100Bとによって一方の扉11aを挟んで外面に設けられる戸当たりユニットとを備える。戸当たりユニットには、外面に取り付けられる本体ケースと、本体ケースに設けられ他方の扉11bと当たるとともにその衝撃力により所定量後退可能となった戸当たり板と、戸当たり板と斜面同士を当接して後退方向と直交方向に移動される可動ブロックと、可動ブロックの移動方向において可動ブロックと本体ケースの内壁面との間に挟入される弾性体とを設けた。
【選択図】 図1

Description

本発明は、両開きガラス扉の一方の扉に取り付けられ、閉扉時に当たる他方の扉からの衝撃力を緩和する緩衝戸当たりに関する。
近年、ガラス素材の強度向上によって全面ガラス扉が多用されるようになってきている。全面ガラス扉は、例えばオフィスビルの玄関や店舗の入り口に設置される場合、施錠装置を設ける必要がある。従来、この種の全面ガラス扉に施錠装置を設けるには、吊元金具や、上框、下框、或いは中央部に付設した金属枠部に施錠装置を設けるのが一般的であった。
ところが、施錠装置を設けるために金属枠部分を付設するのでは、折角の全面ガラス扉の意匠性を低下させることがあり、好ましくはこれら金属枠部分が設けられない方が良い。
このような不具合を解消するものに、扉ガラス素材に直接穿設した取付穴を利用して、施錠装置のみを全面ガラス扉に取り付けた特許文献1のドア錠が提案されている。
このドア錠によれば、全面ガラス扉に施錠装置を設けるための金属枠部を付設せずに、全面ガラス扉の開閉端にドア錠のみを取り付けでき、全面ガラス扉の意匠性を損ねず、見栄えを向上させることができた。
特表2002−523660号公報
上記した従来のドア錠は、扉ガラス素材に直接穿設した取付穴を利用して取付けできることから、金属枠部分を付設する場合に比べ、全面ガラス扉の意匠性を低下させずに済む。ところで、両開き扉では、他方の扉から突出されるドア錠(以下、「面付錠」という)の錠ボルトを受け入れるストライクを、一方の扉に固定する必要がある。この場合、他方の扉を、一方の扉に設けた戸当たり板にて当てて、2枚の扉が召し合わされるが、特にガラス素材からなる扉では、閉扉時に当たる他方の扉からの衝撃力を緩和することが望ましい。また、戸当たりにおいても面付錠と同様、ガラス扉に直接取り付けでき、固定ボルト等を表出させないなど、見栄えの良好であることが望まれる。
本発明は上記状況に鑑みてなされたもので、厚みを小さく且つコンパクトな機構で、ガラス扉閉扉時の衝撃を緩和できる緩衝戸当たりを提供し、もって、見栄えを低下させずに、ガラス扉を閉扉衝撃から守ることを目的とする。
次に、上記の課題を解決するための手段を、実施の形態に対応する図面を参照して説明する。
本発明の請求項1記載の緩衝戸当たりは、両開きガラス扉11の一方の扉11aに取り付けられ、閉扉時に当たる他方の扉11bからの衝撃力を緩和する緩衝戸当たり100であって、
前記一方の扉11aの内面に設けられ前記他方の扉11bから突出される錠ボルト19を受け入れるストライクユニット100Bと、該ストライクユニット100Bとによって前記一方の扉11aを挟んで外面に設けられる戸当たりユニット100Aと、を備え、
前記戸当たりユニット100Aが、
前記外面に取り付けられる本体ケース59と、
該本体ケース59に設けられ前記他方の扉11bと当たるとともにその衝撃力により所定量後退可能となった戸当たり板121と、
該戸当たり板121と斜面121a,123a同士を当接して前記後退方向aと直交方向に移動される可動ブロック123と、
該可動ブロック123の移動方向において該可動ブロック123と前記本体ケース59の内壁面との間に挟入される弾性体125と、
を具備することを特徴とする。
この緩衝戸当たりでは、閉扉時、他方の扉11bが戸当たり板121に衝突すると、戸当たり板121が後退し、斜面121a,123a同士で当接する可動ブロック125が後退方向と直交方向に移動される。可動ブロック125は、移動方向で、本体ケース59の内壁面との間に配設された弾性体125を圧縮弾性変形させる。その結果、戸当たり板121に入力した衝撃力が、可動ブロック123を介して弾性体125にて吸収される。また、接触した斜面121a,123a同士を介して衝撃力が伝達されるので、衝撃力及びその反力が伝達過程で摩擦により熱に変換され、他方の扉11bに反力が戻されることにより生じる周期振動が効果的に減衰される。弾性体125が圧縮変形前の状態に復帰することで、可動ブロック123を戻し、戸当たり板121は後退前の位置に戻される。
請求項2記載の緩衝戸当たりは、請求項1記載の緩衝戸当たりであって、
前記戸当たり板121の前記斜面121a,121aが一対のハ字状に形成され、
前記可動ブロック123が、該ハ字状斜面121a,121aのそれぞれに接触する三角柱体状に形成されることを特徴とする。
この緩衝戸当たりでは、戸当たり板121の背面側上下縁が、後退方向aへ向かって相互に接近して狭まる略先細り形状となるハ字状斜面121a,121aにて形成され、一対の可動ブロック123,123がこのハ字状斜面121a,121aに接し、戸当たり板121を挟んで配設される。
請求項3記載の緩衝戸当たりは、請求項1又は2記載の緩衝戸当たりであって、
前記戸当たり板121の後退方向aにおいて該戸当たり板121と前記本体ケース59の内壁面との間に背部弾性体127が挟入されることを特徴とする。
この緩衝戸当たりでは、戸当たり板121の受けた衝撃力が、一対の可動ブロック123,123を介して弾性体125に伝達されるのに加え、背部弾性体127へも直接伝達され、戸当たり板121が背部弾性体127に当接しながら後退する。
請求項4記載の緩衝戸当たりは、請求項1,2,3のいずれか1つに記載の緩衝戸当たりであって、
召合を挟み双方の扉に対称位置で取付穴29a,29bが形成され、
前記戸当たりユニット100A及び前記ストライクユニット100Bが扉11を挟み前記取付穴29a,29bに通した固定ボルト35にて相互に固定され、
前記戸当たりユニット100Aが、外装ケース55を有し、
該外装ケース55が、前記ストライクユニット100Bに固定される前記本体ケース59及び補強ブロック57に固定手段にて固定され、
該固定手段が、前記外装ケース55の木口側面を貫通して前記補強ブロック57に螺合する木口ネジ111と、前記外装ケース55の木口反対側面に形成された係止孔113と、前記本体ケース59から突出して内側から該係止孔113に係止する係止突起115と、
からなることを特徴とする。
この緩衝戸当たりでは、戸当たりユニット100Aとストライクユニット100Bが取付穴29a,29bに通した固定ボルト35にて扉に直接挟持固定され、枠等の取付用部材が扉11に不要となる。戸当たりユニット100Aが外装ケース55に覆われ、閉扉状態では木口ネジ111も見えなくなる。開扉状態で、木口ネジ111が螺合解除されれば、戸当たりユニット100Aの外装ケース55が簡単に外れる。
本発明に係る請求項1記載の緩衝戸当たりによれば、戸当たりユニットの本体ケースに、他方の扉と当たるとともにその衝撃力により所定量後退可能となった戸当たり板と、戸当たり板と当接して後退方向と直交方向に移動される可動ブロックと、可動ブロックの移動方向において可動ブロックと本体ケースの内壁面との間に挟入される弾性体とを備えたので、閉扉方向の衝撃力を、扉面と平行な方向に変換し、薄厚且つコンパクトな機構で、ガラス扉閉扉時の衝撃を緩和することができる。この結果、見栄えを低下させることなく、閉扉衝撃からガラス扉を守ることができる。
請求項2記載の緩衝戸当たりによれば、戸当たり板の前記斜面が一対のハ字状に形成され、可動ブロックが、ハ字状斜面のそれぞれに接触する三角柱体状に形成されるので、一対の可動ブロックがハ字状斜面に接し、戸当たり板を挟んで配設され、戸当たり板を安定的に平行移動でき、且つ、受けた衝撃力を複数方向となる直交する2方向に均等に分散することができる。
請求項3記載の緩衝戸当たりによれば、戸当たり板の後退方向において戸当たり板と本体ケースの内壁面との間に背部弾性体が挟入されるので、戸当たり板の受けた衝撃力が、一対の可動ブロックを介して弾性体に伝達されるのに加え、背部弾性体へも直接伝達される。これにより、分散荷重を小さくし、各弾性体の耐久性を向上させることができる。また、戸当たり板が背部弾性体に当接しながら後退するので、戸当たり板をより安定的に平行移動させることができる。これにより、戸当たり板のスムースな後退・後退前位置への復元が可能となる。
請求項4記載の緩衝戸当たりによれば、戸当たりユニットの外装ケースが、本体ケースに固定手段にて固定され、固定手段が、補強ブロックに螺合する木口ネジと、外装ケースの係止孔と、本体ケースから突出して係止孔に係止する係止突起とからなるので、扉に枠を設けることなく、取付穴を利用してガラス扉に直接取り付けでき、意匠性を高めることができる。戸当たりユニットが外装ケースに覆われ、木口ネジのみが扉木口側に見え、この木口ネジも閉扉されることにより隠れるので、戸当たりユニットの扉室外側からの見栄えを良好にできる。また、開扉状態で木口ネジを外すのみで外装ケースが脱着できるので、外装ケース交換等のメンテナンスを容易にできる。
以下、本発明に係る緩衝戸当たりの好適な実施の形態を図面を参照して詳細に説明する。
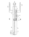
図1は本発明に係る緩衝戸当たりを備えたガラス扉の正面図、図2は図1のA−A矢視図である。
本実施の形態による戸当たりユニット100Aは、開閉体である例えば両開きの全面ガラス扉に好適に用いることができる。この他、戸当たりユニット100Aは、片開きの全面ガラス扉、両開き・片開きのスチール扉等にも好適に用いることができる。本実施の形態では、戸当たりユニット100Aが両開きの全面ガラス扉11(11a,11b)に設けられる例を説明する。なお、本実施の形態において、戸当たりユニット100Aとストライクユニット100Bは緩衝戸当たり100を、外装ユニット200Aと錠ケースユニット200Bは面付錠200を構成する。
建物開口の左右には壁13,13が設けられる。壁13,13に挟まれる出入口開口部には上記した一対の全面ガラス扉11a,11bがヒンジ15,15を介して開閉自在に支持されている。全面ガラス扉11a,11bは、例えば一方のガラス扉11aが不図示の規制手段にて開閉が規制され、他方のガラス扉11bが室内側(図2の下側)へ開放可能となっている。
全面ガラス扉11a,11bは、他方のガラス扉11bが一方のガラス扉11aへ施錠されれば、一対の全面ガラス扉11a,11bの双方は、開閉規制された施錠状態となる。すなわち、他方のガラス扉11bに設けられた面付錠200が、一方のガラス扉11aに設けられたストライクユニット100Bへ施錠する。
ストライクユニット100Bは、面付錠200から突出する錠ボルト19の先端を係止可能としている。つまり、一方のガラス扉11aが固定されている状態で、他方のガラス扉11bは、錠ボルト19が緩衝戸当たり100に係止することで、室内側への開放が規制される。
面付錠200は、図2に示す外装ユニット200Aと、錠ケースユニット200Bと、開閉操作部材であるレバーハンドル23A,23Bと、レバーハンドル23A,23Bに並設される施解錠操作部材(サムターン)25と、シリンダ錠(不図示)と、が外部に表出して設けられている。外装ユニット200Aと錠ケースユニット200Bは、横並び一対の取付穴(不図示)を利用して他方のガラス扉11bの開閉端を挟持して取り付けられる。すなわち、レバーハンドル23A,23Bは、軸31が取付穴に通される。シリンダ錠、サムターン25は、取付穴を介して不図示の錠機構に連結される。この他、取付穴には、外装ユニット200Aと錠ケースユニット200Bを連結する固定ボルトが通される。
図3は緩衝戸当たりの分離斜視図である。
緩衝戸当たり100は、上記のように、一方のガラス扉11aに固定され、他方のガラス扉11bから突出される面付錠200の錠ボルト19を受け入れる。この緩衝戸当たり100も、召合33(図1参照)を挟み双方の扉11a,11bに対称位置で形成されたガラス扉11a側の取付穴29a,29bを利用して固定される。緩衝戸当たり100は、ガラス扉11aを挟み取付穴29a,29bに通した固定ボルト35,35にて相互に固定される室外側の戸当たりユニット100Aと、室内側のストライクユニット100Bからなる。
戸当たりユニット100Aには位置決めピン41,43が突設され、位置決めピン41,43は取付穴29a,29bに通されストライクユニット100Bに嵌合される。これにより、戸当たりユニット100Aとストライクユニット100Bの相対位置が定められる。戸当たりユニット100Aには加締め固定された雌ネジ筒45が突設され、雌ネジ筒45は取付穴29aに通され、ストライクユニット100Bを貫通する固定ボルト35と螺合する。また、戸当たりユニット100Aには雌ネジ軸47,47が相対回転不能に装着され、雌ネジ軸47,47は取付穴29bに配置され、ストライクユニット100Bを貫通する固定ボルト35,35と螺合する。
戸当たりユニット100Aは、ガラス扉11bとの間にライナー51(図3参照)を挟んで取り付けられる。また、ストライクユニット100Bも、ガラス扉11bとの間にライナー53(図3参照)を挟んで取り付けられる。
なお、図3中、49,49はバネ支持ピンを示す。バネ支持ピン49,49は、本実施の形態とは左右勝手が逆の両開き扉11の場合、一方のガラス扉11aにレバーハンドル23A,23Bが設けられるときのバネ支持手段となる。したがって、本実施の形態では使用されない。
図4は戸当たりユニットの斜視図、図5は戸当たりユニットの分解斜視図である。
戸当たりユニット100Aは、外殻の外装ケース55(図2参照)を有する。外装ケース55は、補強ブロック57と一体固定される本体ケース59を覆う。補強ブロック57には戸当たり枠部材63が固定される。ストライクユニット100Bは、外殻の外装ケース67(図2参照)を有する。外装ケース67は、補強ブロック(不図示)と一体固定される本体ケース71(図3参照)を覆う。
戸当たりユニット100Aの補強ブロック57は、亜鉛ダイカスト製で、成型時のヒケ(凹状成形不良)防止の凹部61a,61b,61c,61dを有する。補強ブロック57の木口側には戸当たり枠部材63の固定される固定座87が形成される。戸当たりユニット100Aの外装ケース55は、固定手段にて固定される。固定手段は、外装ケース55の木口側面を貫通して補強ブロック57に螺合する木口ネジ111と、外装ケース55の木口反対側面に形成された係止孔113(図2参照)と、本体ケース59から突出して係止孔113に係止する係止突起115(図3参照)と、を有する。
戸当たりユニット100Aとストライクユニット100Bは、それぞれの本体ケース59,71に固定された補強ブロック57が、固定ボルト35,35にて相互に固定される。これにより、戸当たりユニット100A、ストライクユニット100Bが、金属等の高剛性の補強ブロック同士で扉に固定でき、取付強度を高め、信頼性、防犯性を向上できる。また、扉室内側となるストライクユニット側の補強ブロックから取付穴29aに通した固定ボルト35を扉室外側の戸当たりユニット100Aの補強ブロック57側に螺合することで、外装ケース55が外されても、扉室外側には固定ボルトや、螺合部が表出しないようにでき、防犯性を高めることができる。
緩衝戸当たり100は、一方の扉11aに取り付けられ、閉扉時に当たる他方の扉11bからの衝撃力を緩和する。衝撃力緩和の主要機構は、戸当たりユニット100Aに内蔵される。すなわち、戸当たりユニット100Aの本体ケース59には、図5に示すように、戸当たり板121と、可動ブロック123,123と、弾性体125,125とが設けられる。戸当たり板121は、戸当たり枠部材63内に収容され、他方の扉11bと当たるとともに、その衝撃力により矢印a方向(図9参照)所定量後退可能となっている。なお、戸当たり板121は、ゴム等の弾性部材にて形成することができる。可動ブロック123は樹脂材料、或いはゴム等の弾性部材にて形成することができる。また、本実施の形態では、戸当たり板121の後退方向において、戸当たり板121と本体ケース59の内壁面との間に背部弾性体127が挟入される。なお、弾性体125,125と背部弾性体127とは、多孔性弾性部材、ゴムスポンジなど緩衝性を有する素材で構成される。
本実施の形態では、補強ブロック57が本体ケース59によって覆われる。つまり、本体ケース59内に補強ブロック57が収容される。したがって、弾性体125,125、背部弾性体127は、補強ブロック57を介して本体ケース59の内壁面に当接する。弾性体125,125、背部弾性体127は、補強ブロック57を省略して本体ケース59の内壁面に直接当接しても勿論よい。但し、本実施の形態のように、高剛性の補強ブロック57内で可動ブロック123,123、弾性体125,125、背部弾性体127を隔離して収容すれば、衝撃力を他部材に影響を与えることなく吸収することができ、ユニット全体の耐久性を高めることができる。なお、図5中、151は補強ブロック57に加締め固定される固定柱、153はケース蓋(不図示)を固定するネジ、155は同じくケース蓋を固定するネジを示す。
図6は戸当たりユニットの平断面図、図7は戸当たりユニットの扉側から見た正面図、図8は図7のB−B矢視図である。
戸当たり板121の斜面121a,121aは、一対のハ字状に形成される。また、可動ブロック123,123は、ハ字状斜面121a,121aのそれぞれに接触する三角柱体状に形成されている。すなわち、図8に示すように、戸当たり板121の背面側上下縁が、後退方向へ向かって相互に接近して狭まる略先細り形状のハ字状斜面121a,121aにて形成され、一対の可動ブロック123,123がこのハ字状斜面121a,121aに接し、戸当たり板121を上下から挟んで配設される。
これにより、戸当たり板121を安定的に平行移動でき、且つ、受けた衝撃力を複数方向、すなわち直交する2方向に均等に分散することができるようになっている。なお、図示は省略するが、可動ブロック123は、さらに複数に分割して増設することができる。また、増設する可動ブロックの方向は、可動ブロック123の移動方向に直交する方向(図7の左右方向)としてもよい。
本実施の形態による戸当たりユニット100Aでは、戸当たり板121の受けた衝撃力が、一対の可動ブロック123,123を介して弾性体125,125に伝達されるのに加え、背部弾性体127へも直接伝達され、戸当たり板121が背部弾性体127に当接しながら後退する。つまり、戸当たり板121の受けた衝撃力が、背部弾性体127へも直接伝達される。これにより、分散荷重を小さくし、各弾性体の耐久性を向上させることができる。また、戸当たり板121が背部弾性体127に当接しながら後退するので、戸当たり板121をより安定的に平行移動させることができる。これにより、戸当たり板121のスムースな後退・後退前位置への復元が可能となっている。
なお、戸当たり板121がゴム等の弾性部材よりなる場合、戸当たり板121自身も圧縮方向に弾性変形して衝撃力を吸収する。この際、戸当たり板121は、圧縮方向(後退方向)と直交する方向へも拡大変形する。そのため、戸当たり枠部材63と戸当たり板121との間にはこの拡大変形を許容する間隙129,129(図7参照)が形成される。
次に、上記緩衝戸当たり100の組み付け手順を説明する。
戸当たりユニット100Aは、補強ブロック57、本体ケース59を予め組み付けておく。また、ストライクユニット100Bも、補強ブロック、本体ケース71を予め組み付けておく。
次いで、取付穴29a,29bに、通した本体ケース59の位置決めピン41,43を、ストライクユニット100Bの本体ケース71に一致させる。本体ケース71から挿通した固定ボルト35,35,35を、本体ケース59の雌ネジ筒45、雌ネジ軸47,47に螺合する。これにより、戸当たりユニット100Aとストライクユニット100Bは、ガラス扉11bに挟持固定される。
次いで、係止突起115に、外装ケース55の係止孔113を係合する。戸当たり枠部材63を、補強ブロック57の固定座87に組み付け、外装ケース55に通した木口ネジ111で固定する。これにより、戸当たりユニット100Aは、外装ケース55に覆われるとともに、戸当たり枠部材63の取付が完了する。
このように、戸当たりユニット100Aとストライクユニット100Bが取付穴29a,29bに通した固定ボルト35,35にて扉に直接挟持固定でき、枠等の取付用部材が扉に不要となる。戸当たりユニット100Aが外殻の外装ケース55に覆われ、閉扉状態では木口ネジ111も見えなくなる。面付錠200と、戸当たりユニット100A及びストライクユニット100Bが、左右逆扉に取付可能となる。開扉状態で、木口ネジ111が螺合解除されれば、戸当たりユニット100Aの外装ケース55が簡単に外れるようになっている。
次に、上記構成を有する戸当たりユニット100Aの作用を説明する。
図9は戸当たり部を拡大した平断面図である。
閉扉時、他方の扉11bの扉開閉端が戸当たり板121に衝突すると、戸当たり板121が矢印a方向に後退し、戸当たり板121の斜面121aに、斜面123aで当接する可動ブロック123が後退方向と直交方向である図8に示す上下方向に移動される。可動ブロック123,123は、移動方向で、本体ケース59、本実施の形態では補強ブロック57の内壁面との間に配設された弾性体125,125、背部弾性体127を圧縮弾性変形させる。その結果、戸当たり板121に入力した衝撃力が、可動ブロック123,123を介して弾性体125,125、背部弾性体127にて吸収される。
また、接触した斜面121a,123a同士を介して衝撃力が伝達されるので、衝撃力及びその反力が伝達過程で、摩擦により熱に変換される。これにより、他方の扉11bに反力が戻されることにより生じる周期振動(閉扉衝撃によるガタツキ)が効果的に減衰される。弾性体125,125、背部弾性体127が圧縮変形前の状態に復帰することで、可動ブロック123,123を戻し、戸当たり板121は後退前の位置に戻されることとなる。
したがって、上記戸当たりユニット100Aによれば、戸当たりユニット100Aの本体ケース59に、他方の扉11bと当たるとともにその衝撃力により所定量後退可能となった戸当たり板121と、戸当たり板121と当接して後退方向と直交方向に移動される可動ブロック123,123と、可動ブロック123,123の移動方向において可動ブロック123,123と本体ケース59の内壁面との間に挟入される弾性体125,125、背部弾性体127とを備えたので、閉扉方向の衝撃力を、扉面と平行な方向に変換し、厚みが小さくすなわち薄厚となり且つコンパクトな機構で、ガラス扉閉扉時の衝撃を緩和することができる。この結果、見栄えを低下させることなく、閉扉衝撃からガラス扉11を守ることができる。
本発明に係る緩衝戸当たりを備えたガラス扉の正面図である。 図1のA−A矢視図である。 緩衝戸当たりの分離斜視図である。 戸当たりユニットの斜視図である。 戸当たりユニットの分解斜視図である。 戸当たりユニットの平断面図 戸当たりユニットの扉側から見た正面図 図7のB−B矢視図である。 戸当たり部を拡大した平断面図である。
符号の説明
11…ガラス扉
11a…一方の扉
11b…他方の扉
19…錠ボルト
29a,29b…取付穴
33…召合
35…固定ボルト
55…外装ケース
57…補強ブロック
59…本体ケース
100…緩衝戸当たり
100A…戸当たりユニット
100B…ストライクユニット
111…固定手段(木口ネジ)
113…固定手段(係止孔)
115…固定手段(係止突起)
121…戸当たり板
121a,123a…斜面同士
123…可動ブロック
125…弾性体
127…背部弾性体
a…戸当たり板の後退方向

Claims (4)

  1. 両開きガラス扉の一方の扉に取り付けられ、閉扉時に当たる他方の扉からの衝撃力を緩和する緩衝戸当たりであって、
    前記一方の扉の内面に設けられ前記他方の扉から突出される錠ボルトを受け入れるストライクユニットと、該ストライクユニットとによって前記一方の扉を挟んで外面に設けられる戸当たりユニットと、を備え、
    前記戸当たりユニットが、
    前記外面に取り付けられる本体ケースと、
    該本体ケースに設けられ前記他方の扉と当たるとともにその衝撃力により所定量後退可能となった戸当たり板と、
    該戸当たり板と斜面同士を当接して前記後退方向と直交方向に移動される可動ブロックと、
    該可動ブロックの移動方向において該可動ブロックと前記本体ケースの内壁面との間に挟入される弾性体と、
    を具備することを特徴とする緩衝戸当たり。
  2. 請求項1記載の緩衝戸当たりであって、
    前記戸当たり板の前記斜面が一対のハ字状に形成され、
    前記可動ブロックが、該ハ字状斜面のそれぞれに接触する三角柱体状に形成されることを特徴とする緩衝戸当たり。
  3. 請求項1又は請求項2記載の緩衝戸当たりであって、
    前記戸当たり板の後退方向において該戸当たり板と前記本体ケースの内壁面との間に背部弾性体が挟入されることを特徴とする緩衝戸当たり。
  4. 請求項1,2,3のいずれか1つに記載の緩衝戸当たりであって、
    召合を挟み双方の扉に対称位置で取付穴が形成され、
    前記戸当たりユニット及び前記ストライクユニットが扉を挟み前記取付穴に通した固定ボルトにて相互に固定され、
    前記戸当たりユニットが、外装ケースを有し、
    該外装ケースが、前記ストライクユニットに固定される前記本体ケース及び補強ブロックに固定手段にて固定され、
    該固定手段が、前記外装ケースの木口側面を貫通して前記補強ブロックに螺合する木口ネジと、前記外装ケースの木口反対側面に形成された係止孔と、前記本体ケースから突出して内側から該係止孔に係止する係止突起と、
    からなることを特徴とする緩衝戸当たり。
JP2008199650A 2008-08-01 2008-08-01 緩衝戸当たり Expired - Fee Related JP5133809B2 (ja)

Priority Applications (1)

Application Number Priority Date Filing Date Title
JP2008199650A JP5133809B2 (ja) 2008-08-01 2008-08-01 緩衝戸当たり

Applications Claiming Priority (1)

Application Number Priority Date Filing Date Title
JP2008199650A JP5133809B2 (ja) 2008-08-01 2008-08-01 緩衝戸当たり

Publications (3)

Publication Number Publication Date
JP2010037759A true JP2010037759A (ja) 2010-02-18
JP2010037759A5 JP2010037759A5 (ja) 2011-09-15
JP5133809B2 JP5133809B2 (ja) 2013-01-30

Family

ID=42010591

Family Applications (1)

Application Number Title Priority Date Filing Date
JP2008199650A Expired - Fee Related JP5133809B2 (ja) 2008-08-01 2008-08-01 緩衝戸当たり

Country Status (1)

Country Link
JP (1) JP5133809B2 (ja)

Citations (4)

* Cited by examiner, † Cited by third party
Publication number Priority date Publication date Assignee Title
JPS6120769U (ja) * 1984-07-09 1986-02-06 日新電機株式会社 扉緩衝装置
JPH0659581U (ja) * 1993-02-01 1994-08-19 ナショナル住宅産業株式会社 建 具
JPH07269221A (ja) * 1994-04-01 1995-10-17 Daiwa House Ind Co Ltd 扉の戸当たり緩衝装置
JP2002523660A (ja) * 1998-08-26 2002-07-30 ドルマ ゲゼルシャフト ミット ベシュレンクテル ハフツング ウント コンパニー コマンディートゲゼルシャフト 定置のガラスサイドパネルを備えた全面ガラスドアのためのドア錠

Patent Citations (4)

* Cited by examiner, † Cited by third party
Publication number Priority date Publication date Assignee Title
JPS6120769U (ja) * 1984-07-09 1986-02-06 日新電機株式会社 扉緩衝装置
JPH0659581U (ja) * 1993-02-01 1994-08-19 ナショナル住宅産業株式会社 建 具
JPH07269221A (ja) * 1994-04-01 1995-10-17 Daiwa House Ind Co Ltd 扉の戸当たり緩衝装置
JP2002523660A (ja) * 1998-08-26 2002-07-30 ドルマ ゲゼルシャフト ミット ベシュレンクテル ハフツング ウント コンパニー コマンディートゲゼルシャフト 定置のガラスサイドパネルを備えた全面ガラスドアのためのドア錠

Also Published As

Publication number Publication date
JP5133809B2 (ja) 2013-01-30

Similar Documents

Publication Publication Date Title
KR101641021B1 (ko) 창호 잠금장치
US5836628A (en) Doorjamb reinforcing device
CA2647081C (en) Latchbolt for a door lock assembly
US5934024A (en) Jamb construction for entry doors
EP1867560A4 (en) HOOD STRUCTURE FOR CONSTRUCTION VEHICLE
US20170218659A1 (en) Privacy lock
US7226094B2 (en) Door latch extension
JP5133809B2 (ja) 緩衝戸当たり
KR100731336B1 (ko) 가구용 유체댐퍼의 고정브래킷 구조
JP2007092425A (ja) ドア体における指挟み防止構造
JP2010031554A (ja) 緩衝戸当たり
EA200700183A1 (ru) Замок с многоточечным запиранием
JP5313556B2 (ja) 面付錠のストライク構造
US20210270059A1 (en) Door Lock
JP5220681B2 (ja) 面付錠の取付構造
JP4936972B2 (ja) ストライク穴調整機構
JP2002021378A (ja) 扉錠用受金具
JP7726779B2 (ja) ドア体の錠装置における防振構造
JP2010024767A (ja) ストライク穴調整構造
JP5413553B2 (ja) 錠装置
KR200431436Y1 (ko) 유격 보상구조를 구비한 도어 잠금장치
JP4861064B2 (ja) ストライク構造
JP2008248598A (ja) 緩衝装置
KR200257674Y1 (ko) 냉장 및 냉동고의 도어록 핸들 조립구조
JP5364432B2 (ja) 面付錠の戸当たり構造

Legal Events

Date Code Title Description
A521 Written amendment

Free format text: JAPANESE INTERMEDIATE CODE: A523

Effective date: 20110801

A621 Written request for application examination

Free format text: JAPANESE INTERMEDIATE CODE: A621

Effective date: 20110801

A977 Report on retrieval

Free format text: JAPANESE INTERMEDIATE CODE: A971007

Effective date: 20120927

TRDD Decision of grant or rejection written
A01 Written decision to grant a patent or to grant a registration (utility model)

Free format text: JAPANESE INTERMEDIATE CODE: A01

Effective date: 20121009

A01 Written decision to grant a patent or to grant a registration (utility model)

Free format text: JAPANESE INTERMEDIATE CODE: A01

A61 First payment of annual fees (during grant procedure)

Free format text: JAPANESE INTERMEDIATE CODE: A61

Effective date: 20121108

FPAY Renewal fee payment (prs date is renewal date of database)

Free format text: PAYMENT UNTIL: 20151116

Year of fee payment: 3

R150 Certificate of patent (=grant) or registration of utility model

Free format text: JAPANESE INTERMEDIATE CODE: R150

LAPS Cancellation because of no payment of annual fees