JP2010034127A - 圧電型アクチュエータ、液体吐出ヘッド及び画像形成装置 - Google Patents

圧電型アクチュエータ、液体吐出ヘッド及び画像形成装置 Download PDF

Info

Publication number
JP2010034127A
JP2010034127A JP2008192092A JP2008192092A JP2010034127A JP 2010034127 A JP2010034127 A JP 2010034127A JP 2008192092 A JP2008192092 A JP 2008192092A JP 2008192092 A JP2008192092 A JP 2008192092A JP 2010034127 A JP2010034127 A JP 2010034127A
Authority
JP
Japan
Prior art keywords
piezoelectric element
fpc
laser
piezoelectric
column
Prior art date
Legal status (The legal status is an assumption and is not a legal conclusion. Google has not performed a legal analysis and makes no representation as to the accuracy of the status listed.)
Granted
Application number
JP2008192092A
Other languages
English (en)
Other versions
JP5327431B2 (ja
Inventor
Masaki Shimazoe
雅紀 島添
Current Assignee (The listed assignees may be inaccurate. Google has not performed a legal analysis and makes no representation or warranty as to the accuracy of the list.)
Ricoh Co Ltd
Original Assignee
Ricoh Co Ltd
Priority date (The priority date is an assumption and is not a legal conclusion. Google has not performed a legal analysis and makes no representation as to the accuracy of the date listed.)
Filing date
Publication date
Application filed by Ricoh Co Ltd filed Critical Ricoh Co Ltd
Priority to JP2008192092A priority Critical patent/JP5327431B2/ja
Publication of JP2010034127A publication Critical patent/JP2010034127A/ja
Application granted granted Critical
Publication of JP5327431B2 publication Critical patent/JP5327431B2/ja
Expired - Fee Related legal-status Critical Current
Anticipated expiration legal-status Critical

Links

Images

Landscapes

  • Particle Formation And Scattering Control In Inkjet Printers (AREA)

Abstract

【課題】複数の圧電素子部材に対して1枚のFPCを接合するとき、圧電素子部材間で段差による接合不良を低減する圧電型アクチュエータを提供する。
【解決手段】圧電型アクチュエータ1は、複数の圧電素子柱が形成された圧電素子部材2がベース3部材上に柱並び方向に沿って、所定の隙間10を置いて、複数並べて配置された2列の圧電素子部材列を有し、各圧電素子部材列の各圧電素子柱に1枚のフレキシブル配線基板であるFPC3が直接接続され、圧電素子柱に直接接続されるFPC3の先端部分(接続部分)には、複数の圧電素子部材2、2間(隙間10)に対応してくさび形状の切り込み5が形成されている。
【選択図】図1

Description

本発明は圧電型アクチュエータ、液体吐出ヘッド及び画像形成装置に関する。
プリンタ、ファクシミリ、複写装置、プロッタ、これらの複合機等の画像形成装置として、例えばインク液滴を吐出する記録ヘッドを用いた液体吐出記録方式の画像形成装置としてインクジェット記録装置などが知られている。この液体吐出記録方式の画像形成装置は、記録ヘッドからインク滴を、搬送される用紙(紙に限定するものではなく、OHPなどを含み、インク滴、その他の液体などが付着可能なものの意味であり、被記録媒体あるいは記録媒体、記録紙、記録用紙などとも称される。)に対して吐出して、画像形成(記録、印字、印写、印刷も同義語で使用する。)を行なうものであり、記録ヘッドが主走査方向に移動しながら液滴を吐出して画像を形成するシリアル型画像形成装置と、記録ヘッドが移動しない状態で液滴を吐出して画像を形成するライン型ヘッドを用いるライン型画像形成装置がある。
なお、本願において、「画像形成装置」は、紙、糸、繊維、布帛、皮革、金属、プラスチック、ガラス、木材、セラミックス等の媒体に液体を吐出して画像形成を行う装置を意味し、また、「画像形成」とは、文字や図形等の意味を持つ画像を媒体に対して付与することだけでなく、パターン等の意味を持たない画像を媒体に付与すること(単に液滴を媒体に着弾させること)をも意味する。また、「インク」とは、インクと称されるものに限らず、記録液、定着処理液、液体などと称されるものなど、画像形成を行うことができるすべての液体の総称として用い、例えば、DNA試料、レジスト、パターン材料なども含まれる。
液体吐出ヘッドとしては、インク滴を吐出する複数の並列されたノズルに個別に対応して配置された複数の液室の少なくとも一部の壁面を振動板で形成し、この振動板を圧電素子によって変形させて液室の容積を変化させてインク滴を吐出させる圧電型アクチュエータを用いた圧電型ヘッドが知られている。
また、圧電型ヘッドとして、ヘッドの長尺化に対応するため、複数の圧電素子柱が形成された圧電素子部材をベース部材上に柱並び方向に複数並べて配置した圧電型アクチュエータを備えるものがある。
このような圧電型ヘッドでは、例えば積層型圧電素子を用いて、内部電極を端面に引き出した外部電極(端面電極ともいう。)にFPC(フレキシブルプリントケーブル)などのフレキシブル配線基板の電極を接合し、各圧電素子に画像信号に応じた駆動信号を与えるようにしている。
従来、ヘッドのアクチュエータとFPCの接合構成に関して、静電型ヘッドにおいて、特許文献1にはFPCの接合加熱時の膨張により接合不良が発生するのを低減するために、FPCの電極間部位に欠除部またはスリットを設ける構成が開示されている。
特開2002−67337号公報
また、特許文献2にはインクカートリッジの数に対応するFPCを装着するとスペースが必要となり、また組立作業が煩雑になることから、FPCを複数の分岐部に分岐し、途中で折り曲げて、各分岐部の間隔を接点部材群の配置間隔に揃える構成が開示されている。
特開2006−116793号公報
なお、FPCなどの配線基板に設けられた電極(これを「第1電極」ともいう。)と圧電素子の外部電極(これを「第2電極」ともいう。)との電気的な接続を行う方法としては、例えば、第1電極と第2電極との間に金属を介在させ、両電極をガラス等のレーザー透過剛性部材で密着させて、レーザー光により金属を溶融させることで第1電極と第2電極とを金属で溶着して接合する方法、両電極をヒータ等の熱圧着によりこの金属を溶融させることで第1電極と第2電極とを金属で溶着して接合する方法が知られている。
上述したように複数の圧電素子柱が形成された圧電素子部材をベース部材上に柱並び方向に複数並べて配置して圧電型アクチュエータを構成する場合、ベース部材上で複数の圧電素子部材が柱並び方向と直交する方向にずれると、複数の圧電素子部材間で段差が生じる。
そのため、1枚のFPCの第2電極を複数の圧電素子部材の圧電素子柱の第1電極に直接接続する場合、圧電素子部材間の段差部分で接合不良が発生するという課題がある。この場合、複数枚のFPCを接合することも考えられるが、複数枚のFPCを用いると、圧電素子部材間でFPCが相互に干渉するおそれがあるという課題が生じる。
本発明は上記の課題に鑑みてなされたものであり、複数の圧電素子部材に1枚のフレキシブル配線基板を直接接続するときに複数の圧電素子部材間の段差による接合不良を低減することを目的とする。
上記の課題を解決するため、本発明に係る圧電型アクチュエータは、
複数の圧電素子柱が形成された圧電素子部材がベース部材上に柱並び方向に沿って複数並べて配置され、
前記圧電素子柱に1枚のフレキシブル配線基板が直接接続され、
前記前記圧電素子柱に直接接続される前記フレキシブル配線基板の先端部分には、前記複数の圧電素子部材間に対応して切り込みが形成されている
構成とした。
ここで、前記切込みの形状がくさび状又は矩形状である構成とできる。
本発明に係る液体吐出ヘッドは、本発明に係る圧電型アクチュエータを備えたものである。
本発明に係る画像形成装置は、本発明に係る液体吐出ヘッドを備えたものである。
本発明に係る圧電型アクチュエータによれば、複数の圧電素子柱が形成された圧電素子部材がベース部材上に柱並び方向に沿って複数並べて配置され、圧電素子柱に1枚のフレキシブル配線基板が直接接続され、圧電素子柱に直接接続されるフレキシブル配線基板の先端部分には、複数の圧電素子部材間に対応して切り込みが形成されている構成としたので、複数の圧電素子部材間の段差による接合不良を低減することができる。
本発明に係る液体吐出ヘッドによれば、本発明に係る圧電型アクチュエータを備えている構成としたので、信頼性を向上できる。
本発明に係る画像形成装置によれば、本発明に係る液体吐出ヘッドを備えている構成としたので、信頼性を向上できる。
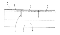
以下、本発明の実施形態について添付図面を参照して説明する。まず、本発明の圧電型アクチュエータの第1実施形態について図1ないし図5を参照して説明する。なお、図1は同アクチュエータの正面説明図、図2は同じく平面説明図、図3は同じく側面説明図、図4は同アクチュエータの圧電素子部材とFPCの接合の説明に供する斜視説明図、図5は同じく要部拡大正面説明図である。
この圧電型アクチュエータ1は、複数の圧電素子柱12が形成された圧電素子部材2がベース3部材上に柱並び方向に沿って、所定の隙間10を置いて、複数並べて配置された2列の圧電素子部材列を有し、各圧電素子部材列の各圧電素子柱12に1枚のフレキシブル配線基板であるFPC4が直接接続され、圧電素子柱12に直接接続されるFPC4の先端部分(接続部分)には、複数の圧電素子部材2、2間(ここでは、隙間10)に対応してくさび形状の切り込み(スリット)5が形成されている。
ここで、圧電素子部材2は、図3に示すように、圧電材料層21と内部電極22a、22bとを交互に積層したものであり、内部電極22a、22bをそれぞれ端面に引き出して、この側面に形成された端面電極(外部電極)23a、23bに接続し、端面電極(外部電極)23a、23bに電圧を印加することで積層方向の変位を生じる。この圧電素子部材2は、図4及び図5に示すように、ハーフカットダイシングによる溝加工を施して1つの圧電素子部材2に対して所要数の圧電素子柱11を形成したものである。なお、複数の圧電素子部材2は上述したように隙間10を置いて配置しているが、隙間10を設けないで配置することもできる。
そして、図4及び図5に示すように、圧電素子部材2の圧電素子柱11の外部電極(第2電極)23aには駆動信号を与えるために半田部材32でFPC4の接続電極(第1電極)31をレーザーなどで直接接合して接続し、このFPC4には圧電素子部材2の圧電素子柱11に対して選択的に駆動波形を印加するための駆動回路(ドライバIC)6が実装されている。なお、すべての圧電素子柱12の外部電極23bは電気的に共通に接続されてFPC4の共通配線に接続される。
ここで、図2に示すように、各列の圧電素子部材2間で柱並び方向(矢示A方向:圧電素子部材長手方向)と直交する方向(矢示B方向:圧電素子部材短手方向)で位置ずれが生じて、1枚のFPC4が直接接続される複数の圧電素子部材2間の接合面(外部電極23a外面)で段差が生じていても、切り込み5で段差が吸収されるので、確実に各圧電素子部材2の各圧電素子柱11とFPC4とを確実に接続することができ、電気的接続の信頼性が向上する。
なお、上記実施形態では、FPC4を用いているが、フレキシブル配線基板としては、薄膜状であり互いに並列された複数の電極が設けられているものであればよく、例えば、TAB(Tape Automated Bonding)を用いることもできる。
また、半田部材32は、各接続電極31(金属部材)およびFPC4本体の樹脂部材を透過可能なレーザー光の照射等により溶融する、つまり、接続電極31(金属部材)及びFPC4本体の樹脂部材に比較して低い融点を有する材料であり、かつ導電性を有する材料から構成されたものであればよく、鉛(Pb)を含有しないものであることが好ましい。例えば、半田部材32としてスズ(Sn)およびビスマス(Bi)を主成分とする半田を挙げることができる。鉛が含有されていないことから、環境保護の観点において効果的であるとともに、スズ(Sn)及びビスマス(Bi)が主成分の半田部材32は非鉛の部材の中では非常に低い融点を有していることから、FPC4及び圧電素子部材2にダメージを与えることなく第1電極と第2電極とを容易に溶着することができる。さらに、半田はあらかじめFPCまたは圧電素子に成膜されていなくてもよい。
このように、複数の圧電素子柱が形成された圧電素子部材がベース部材上に柱並び方向に沿って複数並べて配置され、圧電素子柱に1枚のフレキシブル配線基板が直接接続され、圧電素子柱に直接接続されるフレキシブル配線基板の先端部分には、複数の圧電素子部材間に対応して切り込みが形成されていることで、複数の圧電素子部材間の段差による接合不良を低減することができる。
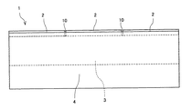
次に、本発明の圧電型アクチュエータの第2実施形態について図6を参照して説明する。なお、図6は同アクチュエータの正面説明図である。
ここでは、FPC4の先端部分(接続部分)には、複数の圧電素子部材2、2間に対応して矩形状の切り込み(スリット)5が形成されている。このように構成しても上記第1実施形態と同様の作用効果を得ることができる。
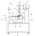
次に、上記圧電型アクチュエータの圧電素子部材とFPCの接続する配線部材接合装置の一例について図7を参照して説明する。なお、同図は同配線部材接合装置の構成を説明するための側方から見た模式的構成図である。
配線部材接合装置10は、FPC4に設けられた複数の並列する接続電極31(第1電極)と圧電素子部材2の複数の並列する第2電極(外部電極23a)とを電気的に接合するものである。なお、図7を正面視した高さ方向Z軸方向とし、これに直交する平面をX−Y平面とし、図7を正面視した幅方向(横方向)をY軸方向とする。
この配線部材接合装置310では、基台311に、第1部材保持機構312と、第2部材保持機構313と、レーザー照射機構314と、カメラ315と、風路形成機構316とが設けられており、図示を略す制御機構により統括的に駆動制御されている。
第1部材保持機構312は、基台311上に設けられた接合XY方向調整部317と、この接合XY方向調整部317上に取り付けられた接合Z軸方向調整部318と、この接合Z軸方向調整部318上に取り付けられた調整ステージ319とを有する。
接合XY方向調整部317は、図示を省略するが、X軸方向に延在するガイド軸に駆動自在に支承されたX軸駆動部と、Y軸方向に延在するガイド軸に駆動自在に支承されたY軸駆動部とにより構成され、X―Y平面に沿って移動自在とされている。この接合XY方向調整部317とともに移動可能とするように、接合XY方向調整部317に接合Z軸方向調整部318が取り付けられている。
接合Z軸方向調整部318は、図示を省略するが、接合XY方向調整部317に対してZ軸方向に沿って出入自在に構成されている。この接合Z軸方向調整部318とともに移動可能とするように、つまり、接合XY方向調整部317と接合Z軸方向調整部318とにより基台311上で所望の位置へと移動可能とするように、接合Z軸方向調整部318に調整ステージ319が取り付けられている。
調整ステージ319は、接合Z軸方向調整部318の上端位置でX−Y平面に沿って延在するように設けられた板状部材である。この調整ステージ319のX−Y平面に沿う上面が第1配線部材であるFPC4の載置面319aとなり、この載置面319から突出する複数の位置決めピン320(図では1つのみ図示する)が設けられているとともに、載置面319aに載置されたFPC4を吸着保持することが可能とされている。各位置決めピン320は、調整ステージ319の載置面319aに載置されるFPC4の載置位置を大略決めるものである。
上記した構成により、第1部材保持機構312は、調整ステージ319の載置面319a上で吸着保持したFPC4を、X−Y平面に沿って延在する状態で所望の位置に調整することができる。
このFPC4と接合される圧電素子部材2を固定保持するために第2部材保持機構213が設けられている。
第2部材保持機構313は、基台311上に設けられた固定台321に取り付けられた第2部材載置台322を有し、この第2部材載置台322上に、複数の圧電素子部材2を接合したベース部材3を固定する。第2部材保持機構313は、吸着保持したベース部材3の圧電素子部材2の接合個所の上方に、第1部材保持機構312により大略位置決めされた状態で吸着保持されたFPC4の接合個所が位置するように、第1部材保持機構312との相対的な位置関係が設定されている。
この接合個所にレーザー光を照射するためにレーザー照射機構314が設けられている。レーザー照射機構314は、取付アーム323を介して常に一定位置で固定されるように基台311に取り付けられており、レーザーXY方向調整部324と、レーザーZ軸方向調整部325と、レーザー照射部326とを有する。
レーザーXY方向調整部324は、図示を省略するがX軸方向に延在するガイド軸に駆動自在に支承されたX軸駆動部と、Y軸方向に延在するガイド軸に駆動自在に支承されたY軸駆動部とにより構成され、X−Y平面に沿って移動自在とされている。このレーザーXY方向調整部324とともに移動可能とするように、レーザーXY方向調整部324にレーザーZ軸方向調整部325が取り付けられている。
レーザーZ軸方向調整部325は、図示を省略するがレーザーXY方向調整部324に対してZ軸方向に沿って出入自在に構成されている。このレーザーZ軸方向調整部325とともに移動可能とするように、つまり、レーザーXY方向調整部324とレーザーZ軸方向調整部325とにより基台311上で所望の位置へと移動可能とするように、レーザーZ軸方向調整部325にレーザー照射部326が取り付けられている。
レーザー照射部326は、レーザー光Lを出射可能であり、半導体レーザーが採用されている。レーザー照射部326は、レーザーXY方向調整部324とレーザーZ軸方向調整部325とにより移動された位置に拘わらず、Z軸方向に沿ってレーザー光Lを出射可能にレーザーZ軸方向調整部325に取り付けられている。このレーザー照射部326と第2部材保持機構313により吸着保持されたベース部材3の圧電素子部材2との間に位置するように、カメラ315が設けられている。
カメラ315は、図示を省略するが、その光軸が、レーザー照射部326の移動に拘わらずレーザー照射部326から出射されるレーザー光Lの光軸上に位置するように(例えばレーザー照射部326と連動するようにレーザーZ軸方向調整部325に固定する)設けられている。このため、カメラ315は、レーザー照射部326によるレーザー光Lの照射を阻害することなく、レーザー光Lの照射領域の近傍を撮像することができる。
このカメラ315と第2部材保持機構313により吸着保持されたベース部材56の圧電素子部材2との間で、風路形成板327を保持するのが風路形成機構316である。
風路形成機構316は、風路XY方向調整部328と、風路形成板327とを有する。風路XY方向調整部328は、図示を省略するが、X軸方向に延在するガイド軸に駆動自在に支承されたX軸駆動部と、Y軸方向に延在するガイド軸に駆動自在に支承されたY軸駆動部とにより構成され、X−Y平面に沿って移動自在とされている。
風路XY方向調整部328とともに移動可能とするように、風路XY方向調整部328に風路形成板327が取り外し可能に固定保持されている。風路XY方向調整部328は、全体に板形状を呈する風路形成板327がX−Y平面に沿って延在し、かつレーザー照射部326から出射されるレーザー光Lおよびそれに一致するカメラ315の光軸が、風路形成板327に設けられたレーザー透過板部341および風路形成切欠部分343の内方を縦断するように、風路形成板327を固定保持している。
また、風路XY方向調整部328は、レーザーXY方向調整部324およびレーザーZ軸方向調整部325によりレーザー照射部326が移動されると、レーザー光Lおよびカメラ315の光軸に対する風路形成板327の位置関係を維持するようにレーザー照射部326の位置に連動する構成とされている。
これにより、レーザー照射部326から出射されたレーザー光Lは、移動されるレーザー照射部326の位置に拘わらず、風路形成板327を透過してFPC4とベース部材3の圧電素子部材2との接合個所を照射することができる。
なお、ここでは、レーザー照射部として半導体レーザーが採用されていたが、接合すべく照射する個所(上記した各実施例では半田部材32)への吸収率がよくフレキシブル配線基板の透過率がよいものであれば、例えば、連続的に出射されたYAG(イットリウム(Yittrium)・アルミニウム(Aluminium)・ガーネット(Garnet))レーザーであってもよい。
ただし、レーザー光として半導体レーザーを用いることで、安価でありかつ制御しやすいことから、接合作業を安価にかつ適切に行うことができる。また、半導体レーザーは、樹脂材料への透過率が高いことから、接合部材(フレキシブル配線基板、圧電素子部材)にダメージを与えることなく、各電極を接合することができる。
また、フレキシブル配線基板の共通電極及び個別電極の幅を同じにしておけば、圧電素子部材とフレキシブル配線基板の接合において、レーザーの照射出力や速度を変えることを行う必要がなく、接合時に与える熱量が小さくてよいので、FPCの伸長・収縮を小さく抑制でき接合不良の発生を低減でき、また、端部の共通電極においてFPCの損傷を与えることなく、さらに与える熱量が小さいことから加熱時間の短縮が図れ、生産効率がアップする。
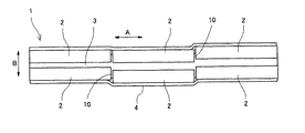
次に、本発明との比較例について図8及び図9を参照して説明する。なお、図8は同比較例のアクチュエータの正面説明図、図9は同じく平面説明図である。
本発明では上述したように複数の圧電素子部材間に対応するFPC(フレキシブル配線基板)に切り込み5を形成しているが、この比較例では、FPC4に切り込みを形成しないで段差が生じている複数の圧電素子部材2の圧電素子柱の外部電極23aにFPC4の接続電極31を接合接続している。
このように複数の圧電素子柱が形成された圧電素子部材を柱整列方向に複数配列した圧電素子部材のつなぎ目において段差が生じている場合、FPC4と圧電素子部材2の各電極31と23aとを接合するとき、半田部材32の加熱方法としては、ヒーター等を用いた接触加熱方法の場合には、圧電素子つなぎ目において接合不良が発生する可能性があり、レーザー等の非接触加熱方法を用いる方が適している。また、ガラス等の部材でFPC4と圧電素子部材2を密着させて接合させてもよいが、エアー圧によってFPC4と圧電素子部材2を密着させながらレーザーによって接合する方が好ましい。
このような接合を行う配線部材接合装置の一例について図10ないし図12を参照して説明する。なお、図10は同配線部材接合装置の構成を説明するための側方から見た模式的構成図、図11は同じく要部拡大説明図、図12は同じくエアー抑え機構の斜視説明図である。
この配線部材接合装置410では、レーザー照射機構345とエアー抑え機構370が一体化した構造となっている。エアー抑え機構370は、図11及び図12に示すように、一端370a側がテーパ状とされ、かつ他端370b側が円筒状とされた筒体で構成されている。このエアー抑え機構370は、一端370aが局所的な気体の吹き付けが可能な口径とされ、他端370b近傍に導入口370cが設けられている。この導入口370cには、圧縮空気形成手段363が接続されている。
エアー抑え機構370は、その中心軸線(一端370aの開口の中心も含む。)がレーザー照射部326から出射されるレーザー光Lと同軸となるように、他端370bがレーザー照射部326の下面(レーザー光Lの出射側の面)に気密的に取り付けられており、レーザー照射部326と協働して導入口370cから一端370aへ通じる局所押圧風路371を画成している。
この局所押圧風路371では、圧縮空気形成手段363から導入口370cを経て気体が導入されると、一端370aから気体を吹き出して、レーザー光Lと同軸上でZ軸方向下側(FPC4側)へ向けた気体の流れを形成することができる。このため、エアー抑え機構370は、その導入口370cに接続された圧縮空気形成手段363及びレーザー照射部326と協働して、流体押圧局所密接手段を構成している。
このレーザー照射機構345では、圧縮空気形成手段363から局所押圧風路371内へと気体を送り込みつつ、レーザー照射部326からレーザー光Lを出射すると、エアー抑え機構370の一端370aから吹き出された気体が、FPC4の上方からレーザー光Lの軸線と一致する位置で局所的にFPC4の上面に吹き当たり、FPC4におけるレーザー光Lにより照射される個所の周辺が圧電素子部材2へ向けて局所的に押圧される。
このことから、ここでいう局所的に吹き当たる気体の流れとは、少なくともレーザー照射部326から出射されるレーザー光Lの接合のための照射の際(半田部材32を溶融すべく照射する際)の照射領域(照射スポットの大きさ寸法)で第1電極31と第2電極23aとを密着させるべく、FPC4を圧電素子部材2へ向けて局所的に押圧することを可能とするものである。
この配線部材接合装置410では、先ず、図10に2点鎖線で示すように、カメラ355をFPC4の各接続電極31(圧電素子部材2の外部電極23a)の上方に位置させて、FPC4の接続電極31と圧電素子部材2の外部電極23aとが適切な状態で対向するように、カメラ355からの映像に基づいて第1部材保持機構312の調整ステージ319の位置調整を行う。
この位置調整の後、図10に実線で示すように、適切に対向された各接続電極31と各外部電極23aとを接合すべくレーザー光Lを照射できる位置に、レーザー照射部326を移動させる。この際のレーザー照射部326の位置調整は、例えば、レーザーXY方向調整部324とレーザーZ軸方向調整部325とによる機械的な設定で行ってもよく、図示は省略するが複数のカメラからの映像に基づいて行ってもよい。
このように、各位置を設定した後、圧縮空気形成手段363から局所押圧風路371内へと気体を送り込みつつ、レーザー照射部326からレーザー光Lを出射した状態で、その接合個所(半田部材32)のレーザー光Lの照射による走査(X軸方向に沿う照射位置の移動)を行う。これにより、各接続電極31と各外部電極23aとは、圧縮空気形成手段363から局所的に気体を吹き当てられて密接されている個所にレーザー光Lが照射され、この密接されつつ照射される個所が各接続電極31と各外部電極23aが並列されたX軸方向に移動されることとなるので、順次密接された状態でレーザー光Lにより接合されることとなる。
これにより、FPC4と圧電素子部材2とは、各接続電極31と各外部電極23aとが適切に対向しつつ安定した状態で、電気的に接合される。このとき、配線部材接合装置410では、吸引手段364が設けられていることから、エアー抑え機構370の一端370aから吹き出されてFPC4の上面に局所的に吹き当たる気体の流れをより円滑なものとすることができる。
このように、配線部材接合装置410では、FPC4の上面に局所的に吹き当たる気体の流れで接続電極31と外部電極23aとを密接させつつ接合する構成であることから、FPC4及び圧電素子部材2の意図せぬ熱変形を防止しつつヒュームによる汚れを防止した状態で、各接続電極31と各外部電極23aとを安定した適切な状態で接合することができる。
特に、FPC4のうちレーザー照射機構345からのレーザー光Lの照射領域の周辺のみを局所的に押圧して、接続電極31と外部電極23aと接合することから、少ない風量で確実に各接続電極31と各外部電極23aとを接合することができる。また、接合個所の近傍のみを密接させることから、FPC4と圧電素子部材2との間に存在する気体を、当該FPC4と圧電素子部材2との間における密接個所の周辺に効率良く逃がすことができるので、より確実に密接させることができる。さらに、レーザー光Lの軸線上で当該レーザー光Lと等しい方向から局所的な気体を吹き当てることから、この局所的な気体をレーザー光Lの照射領域に確実に吹き当てることができる。特に、例えば、接合対象の変更に伴ってレーザー照射部426とレーザー光Lの照準位置との間隔が変化した場合であっても、流体押圧局所密接手段による吹き当て位置を何ら変更することなく、局所的な気体をレーザー光Lの照射領域に確実に吹き当てることができる。
また、レーザー照射部326に設けられた流体押圧局所密接手段がレーザー光Lの照射領域に吹き当てる局所的な気体の流れを形成していることから、局所的な吹き当て位置をレーザー照射部326の移動に確実に追従させることができる。また、レーザー光Lの照射領域、すなわち接合個所の近傍のみを密接させることから、FPC4及び圧電素子部材2の大きさ寸法等の変更に拘わらず、局所的な気体をレーザー光Lの照射領域に確実に吹き当てることができる。
このような比較例においてもある程度段差を吸収することもできるが、本発明によれば段差に対応する部分に切り込みが形成されていることで、より確実に段差による接合不良を防止できる。
次に、本発明に係る液体吐出ヘッドの一実施形態について図13ないし図15を参照して説明する。なお、図13は同液体吐出ヘッドの外観斜視説明図、図14は図13のA−A線に沿う液室長手方向(液室の並び方向と直交する方向)に沿う断面説明図、図15は同じく液室短手方向(液室の並び方向)に沿う断面説明図である。
この液体吐出ヘッドは、SUS基板で形成した流路基板(液室基板)101と、この流路基板1の下面に接合した振動板部材102と、流路基板101の上面に接合したノズル板103とを有し、これらによって液滴(液体の滴)を吐出するノズル104が連通する個別流路としての液室(以下「加圧液室」というが、圧力室、加圧室、流路などとも称される。)106、加圧液室106に液体であるインク(記録液)を供給する供給路を兼ねた流体抵抗部107、複数の加圧液室106に記録液を供給する共通液室108を形成している。なお、共通液室108には図示しない液体タンクから供給路を介して記録液が供給される。
ここで、流路基板101は、リストリクタプレート101Aとチャンバーブレート101Bとを接着して構成している。この流路基板101は、SUS基板を、酸性エッチング液を用いてエッチング、あるいは打ち抜き(プレス)などの機械加工することで、各加圧液室6、流体抵抗部7、共通液室8などの開口をそれぞれ形成している。なお、流体抵抗部107は、リストリクタプレート101Aの部分を開口し、チャンバーブレート101Bの部分を開口しないことで形成している。
振動板部材102は、流路基板101を構成するチャンバーブレート101Bに接着接合している。この振動板部材2は、例えば、SUS基板などの金属部材121に金属部材21よりも線膨張係数を大きく調製した樹脂を直接塗布(塗工)して加熱、固化させた樹脂層(樹脂部材)122を直接成膜して形成したものであり、樹脂層122で液室106の壁面となる変形可能な部分(振動板領域)102Aを形成し、この振動板領域102Aの液室106と反対側には金属部材121からなる島状の突起部(以下「島状凸部」ともいう。)102Bを形成している。また、この振動板部材102には流路基板101の液室間隔壁部106Aに対応する位置には金属部材121による厚肉部102Dが形成(残存)されている。この他、振動板部材102は、樹脂層と金属部材とを接着剤で接合したもの、Niなどの電鋳で形成したものなどを用いることもできる。
ノズル板103は、各加圧液室106に対応して直径10〜30μmの多数のノズル104を形成し、流路基板101のリストリクタプレート101Aに接着剤接合している。このノズル板103としては、ステンレス、ニッケルなどの金属、ポリイミド樹脂フィルムなどの樹脂、シリコン、及びそれらの組み合わせからなるものを用いることができる。また、ノズル面(吐出方向の表面:吐出面)には、インクとの撥水性を確保するため、メッキ被膜、あるいは撥水剤コーティングなどの周知の方法で撥水膜を形成している。
そして、振動板部材102の面外側(加圧液室106と反対面側)に本発明に係る圧電型アクチュエータ110を配置している。この圧電型アクチュエータ110は、前述した圧電型アクチュエータ1と同様に、複数の圧電素子部材112と、1列の各圧電素子部材112に給電する1枚のフレキシブル配線基板、例えばFPC113とを備え、複数個の圧電素子部材112は共通のベース部材114に列状に並べて接合配置されている。
圧電素子部材112は、分断することのないスリット加工(溝加工)を施すなどして、偶数個の圧電素子柱111を、スリット溝115を介して、所定のピッチで形成し、隣り合う2つの圧電素子部材112の圧電素子柱111、111間の間隔120もスリット溝115の溝幅として配置している。そして、圧電素子部材112の各圧電素子柱111は、1つおきに駆動する圧電素子柱(駆動圧電素子柱)111Aと駆動しない圧電素子柱(非駆動圧電素子柱)111Bとして使用する。
FPC113は、前述した圧電型アクチュエータ1のFPC4と同様な構成であり、圧電素子部材112の1つおきの駆動圧電素子柱111Aに対応して配置された図示しない接続電極を有し、駆動圧電素子柱111Aの外部電極に接続する先端部側に圧電素子部材112、112間に対応して切り込みが形成されている。
この圧電型アクチュエータ110の駆動圧電素子柱111Aは振動板部材102の島状凸部102Bに接着剤接合し、非駆動圧電素子柱111Bは液室間隔壁部106Aに対応する厚肉部102Dに接着剤接合している。
なお、圧電素子部材112は、厚さ10〜50μm/1層のチタン酸ジルコン酸鉛(PZT)の圧電層と、厚さ数μm/1層の銀・パラジューム(AgPd)からなる内部電極層とを交互に積層したものであり、内部電極を交互に端面の端面電極(外部電極)である図示しない個別電極及び共通電極にそれぞれ電気的に接続し、これらの個別電極及び共通電極に前述した給電部材113をはんだ接合している。この圧電定数がd33(d33は内部電極面に垂直(厚み方向)の伸び縮みを指す。)である圧電素子部材112の駆動圧電素子柱111Aの伸縮により振動板領域102Aを変位させて液室106を収縮、膨張させるようになっている。圧電素子柱111Aに駆動信号が印加され充電が行われると伸長し、また圧電素子柱111Aに充電された電荷が放電すると反対方向に収縮する。
なお、圧電素子部材112(駆動圧電素子柱111A)の圧電方向としてd33方向の変位を用いて加圧液室106内インクを加圧する構成とすることも、圧電素子部材112の圧電方向としてd31方向の変位を用いて加圧液室106内インクを加圧する構成とすることもできる。本実施形態ではd33方向の変位を用いた構成をとっている。
さらに、振動板部材102の周囲にはフレーム部材117を接着剤で接合している。そして、このフレーム部材117には、振動板部材102の樹脂層122で構成した変形可能な部分としてのダイアフラム部102Cを介して共通液室108に隣接するバッファ室118を形成している。ダイアフラム部102Cは共通液室108及びバッファ室118の壁面を形成する。なお、バッファ室118は連通路120を介して大気と連通させている。
また、この液体吐出ヘッドでは、圧電素子部材112の圧電素子柱111は300dpiの間隔で形成し、それが対向して2列に並んでいる構成としている。また、加圧液室106及びノズル104は1列150dpiの間隔で2列を千鳥状に並べて配置しており、300dpiの解像度を1スキャンで得ることができる。
このように構成した液体吐出ヘッドにおいては、例えば圧電素子部材112の駆動圧電素子柱111Aに印加する電圧を基準電位から下げることによって駆動圧電素子柱111Aが収縮し、振動板部材102の振動板領域102Aが下降して加圧液室106の容積が膨張することで、加圧液室106内にインクが流入し、その後駆動圧電素子柱111Aに印加する電圧を上げて駆動圧電素子柱111Aを積層方向に伸長させ、振動板領域102Aをノズル104方向に変形させて加圧液室106の容積/体積を収縮させることにより、加圧液室106内の記録液が加圧され、ノズル104から記録液の滴が吐出(噴射)される。
そして、駆動圧電素子柱111Aに印加する電圧を基準電位に戻すことによって振動板領域102Aが初期位置に復元し、加圧液室106が膨張して負圧が発生するので、このとき、共通液室108から加圧液室106内に記録液が充填される。そこで、ノズル104のメニスカス面の振動が減衰して安定した後、次の液滴吐出のための動作に移行する。
なお、このヘッドの駆動方法については上記の例(引き−押し打ち)に限るものではなく、駆動波形の与えた方によって引き打ちや押し打ちなどを行うこともできる。
このように、この液体吐出ヘッドは本発明に係る圧電型アクチュエータを備えているので、フレキシブル配線基板と圧電素子部材の接合信頼性が向上し、信頼性の高いヘッドとすることができる。
次に、本発明に係る画像形成装置の一例について図16を参照して説明する。なお、図16は同装置の機構部全体の概略構成図である。
この画像形成装置は、装置本体201の内部に画像形成部202等を有し、装置本体201の下方側に多数枚の記録媒体(用紙)203を積載可能な給紙トレイ204を備え、この給紙トレイ204から給紙される用紙203を取り込み、搬送機構205によって用紙203を搬送しながら画像形成部202によって所要の画像を記録した後、装置本体201の側方に装着された排紙トレイ206に用紙203を排紙する。
また、装置本体201に対して着脱可能な両面ユニット207を備え、両面印刷を行うときには、一面(表面)印刷終了後、搬送機構205によって用紙203を逆方向に搬送しながら両面ユニット207内に取り込み、反転させて他面(裏面)を印刷可能面として再度搬送機構205に送り込み、他面(裏面)印刷終了後排紙トレイ206に用紙203を排紙する。
ここで、画像形成部202は、例えばブラック(K)、シアン(C)、マゼンタ(M)、イエロー(Y)の各色の液滴を吐出する、フルライン型の4個の本発明に係る液体吐出ヘッドで構成した記録ヘッド211k、211c、211m、211y(色を区別しないときには「記録ヘッド211」という。)を備え、各記録ヘッド211は液滴を吐出するノズルを形成したノズル面を下方に向けてヘッドホルダ213に装着している。
また、各記録ヘッド211に対応してヘッドの性能を維持回復するための維持回復機構212k、212c、212m、212y(色を区別しないときには「維持回復機構212」という。)を備え、パージ処理、ワイピング処理などのヘッドの性能維持動作時には、記録ヘッド211と維持回復機構212とを相対的に移動させて、記録ヘッド211のノズル面に維持回復機構212を構成するキャッピング部材などを対向させる。
なお、ここでは、記録ヘッド211は、用紙搬送方向上流側から、イエロー、マゼンタ、シアン、ブラックの順に各色の液滴を吐出する配置としているが、配置及び色数はこれに限るものではない。また、ライン型ヘッドとしては、各色の液滴を吐出する複数のノズル列を所定間隔で設けた1又は複数のヘッドを用いることもできるし、ヘッドとこのヘッドに記録液を供給する記録液カートリッジを一体とすることも別体とすることもできる。
給紙トレイ204の用紙203は、給紙コロ(半月コロ)221と図示しない分離パッドによって1枚ずつ分離され装置本体201内に給紙され、搬送ガイド部材223のガイド面223aに沿ってレジストローラ225と搬送ベルト233との間に送り込まれ、所定のタイミングでガイド部材226を介して搬送機構205の搬送ベルト233に送り込まれる。
また、搬送ガイド部材223には両面ユニット207から送り出される用紙203を案内するガイド面223bも形成されている。更に、両面印刷時に搬送機構205から戻される用紙203を両面ユニット207に案内するガイド部材227も配置している。
搬送機構205は、駆動ローラである搬送ローラ231と従動ローラ232との間に掛け渡した無端状の搬送ベルト233と、この搬送ベルト233を帯電させるための帯電ローラ234と、画像形成部202に対向する部分で搬送ベルト233の平面性を維持するプラテン部材235と、搬送ベルト233から送り出す用紙203を搬送ローラ231側に押し付ける押さえコロ236と、その他図示しないが、搬送ベルト233に付着した記録液(インク)を除去するためのクリーニング手段である多孔質体などからなるクリーニングローラなどを有している。
この搬送機構205の下流側には、画像が記録された用紙203を排紙トレイ206に送り出すための排紙ローラ238及び拍車239を備えている。
このように構成した画像形成装置において、搬送ベルト233は矢示方向に周回移動し、高電位の印加電圧が印加される帯電ローラ334と接触することで正に帯電される。この場合、帯電ローラ234の帯電電圧は所定の時間間隔で極性を切り替えることによって、搬送ベルト233を所定の帯電ピッチで帯電させる。
ここで、この高電位に帯電した搬送ベルト233上に用紙203が給送されると、用紙203内部が分極状態になり、搬送ベルト233上の電荷と逆極性の電荷が用紙203の搬送ベルト233と接触している面に誘電され、搬送ベルト233上の電荷と搬送される用紙203上に誘電された電荷同士が互いに静電的に引っ張り合い、用紙203は搬送ベルト233に静電的に吸着される。このようにして、搬送ベルト233に強力に吸着した用紙203は反りや凹凸が校正され、高度に平らな面が形成される。
そして、搬送ベルト233を周回させて用紙203を移動させ、記録ヘッド211から液滴を吐出することで、用紙203上に所要の画像が形成され、画像が記録された用紙203は排紙ローラ238によって排紙トレイ206に排紙される。
このように、この画像形成装置においては本発明に係る液体吐出ヘッドからなる記録ヘッドを備えているので、低コストで、高い信頼性が得られる記録ヘッドを用いて高速で画像を形成することができる。また、この画像形成装置における記録ヘッド及びこの記録ヘッドを駆動する部分で構成される液体吐出装置においても、本発明に係る液体吐出ヘッドからなる記録ヘッドを備えているので、低コストで、高い信頼性が得られる液体吐出を行うことができる。
なお、上記実施形態ではプリンタ構成の画像形成装置に適用した例で説明したが、これに限るものではなく、例えば、プリンタ/ファックス/コピア複合機などの画像形成装置に適用することができる。また、インク以外の液体である記録液や定着処理液などを用いる画像形成装置にも適用することができる。また、上記実施形態ではライン型液体吐出ヘッド、ライン型画像形成装置で説明しているが、シリアル型画像形成装置及びそれに用いる液体吐出ヘッドとして構成することもできる。
本発明の圧電型アクチュエータの第1実施形態の正面説明図である。 同じく平面説明図である。 同じく側面説明図である。 同アクチュエータの圧電素子部材とFPCの接合の説明に供する斜視説明図である。 同じく要部拡大正面説明図である。 本発明の圧電型アクチュエータの第2実施形態の正面説明図である。 圧電型アクチュエータの圧電素子部材とFPCの接続する配線部材接合装置の構成を説明するための側方から見た模式的構成図である。 比較例のアクチュエータの正面説明図である。 同じく平面説明図である。 比較例の接合を行う配線部材接合装置の一例の構成を説明するための側方から見た模式的構成図である。 同じく要部拡大説明図である。 同じくエアー抑え機構の斜視説明図である。 本発明に係る液体吐出ヘッドの一実施形態の外観斜視説明図である。 図13のA−A線に沿う液室長手方向(液室の並び方向と直交する方向)に沿う断面説明図である。 は同じく液室短手方向(液室の並び方向)に沿う断面説明図である。 本発明に係る画像形成装置の一例の機構部全体の概略構成図である。
符号の説明
1…圧電型アクチュエータ
2…圧電素子部材
3…FPC(フレキシブル配線基板)
4…ベース部材
11…圧電素子柱
23a…外部電極
31…接続電極
101…流路基板
102…振動板部材
103…ノズル板
104…ノズル
106…加圧液室
110…圧電型アクチュエータ
211k、211c、211m、211y…記録ヘッド(液体吐出ヘッド)

Claims (4)

  1. 複数の圧電素子柱が形成された圧電素子部材がベース部材上に柱並び方向に沿って複数並べて配置され、
    前記圧電素子柱に1枚のフレキシブル配線基板が直接接続され、
    前記前記圧電素子柱に直接接続される前記フレキシブル配線基板の先端部分には、前記複数の圧電素子部材間に対応して切り込みが形成されている
    ことを特徴とする圧電型アクチュエータ。
  2. 請求項1に記載の圧電型アクチュエータにおいて、前記切込みの形状がくさび状又は矩形状であることを特徴とする圧電型アクチュエータ。
  3. 請求項1又は2に記載の圧電型アクチュエータを備えていることを特徴とする液体吐出ヘッド。
  4. 請求項3に記載の液体吐出ヘッドを備えていることを特徴とする画像形成装置。
JP2008192092A 2008-07-25 2008-07-25 圧電型アクチュエータ、液体吐出ヘッド及び画像形成装置 Expired - Fee Related JP5327431B2 (ja)

Priority Applications (1)

Application Number Priority Date Filing Date Title
JP2008192092A JP5327431B2 (ja) 2008-07-25 2008-07-25 圧電型アクチュエータ、液体吐出ヘッド及び画像形成装置

Applications Claiming Priority (1)

Application Number Priority Date Filing Date Title
JP2008192092A JP5327431B2 (ja) 2008-07-25 2008-07-25 圧電型アクチュエータ、液体吐出ヘッド及び画像形成装置

Publications (2)

Publication Number Publication Date
JP2010034127A true JP2010034127A (ja) 2010-02-12
JP5327431B2 JP5327431B2 (ja) 2013-10-30

Family

ID=41738292

Family Applications (1)

Application Number Title Priority Date Filing Date
JP2008192092A Expired - Fee Related JP5327431B2 (ja) 2008-07-25 2008-07-25 圧電型アクチュエータ、液体吐出ヘッド及び画像形成装置

Country Status (1)

Country Link
JP (1) JP5327431B2 (ja)

Cited By (2)

* Cited by examiner, † Cited by third party
Publication number Priority date Publication date Assignee Title
JP2011175008A (ja) * 2010-02-23 2011-09-08 Kyocera Corp 光デバイス用部品および光デバイス
JP2022013678A (ja) * 2020-06-30 2022-01-18 セイコーエプソン株式会社 液体吐出ヘッド、および、液体吐出装置

Citations (4)

* Cited by examiner, † Cited by third party
Publication number Priority date Publication date Assignee Title
JP2000343711A (ja) * 1999-06-07 2000-12-12 Sony Corp インクジェットヘッドの製造方法
JP2002052024A (ja) * 2000-08-08 2002-02-19 Ge Medical Systems Global Technology Co Llc コンベックス型圧電素子アセンブリ、コンベックス型圧電素子アセンブリの製造方法およびコンベックス型圧電素子アセンブリ用フレキシブル基板
JP2002153461A (ja) * 2000-11-21 2002-05-28 Aloka Co Ltd 超音波振動子及びその製造方法
JP2006175845A (ja) * 2004-11-29 2006-07-06 Ricoh Co Ltd 液体吐出ヘッド、液体吐出装置及び画像形成装置

Patent Citations (4)

* Cited by examiner, † Cited by third party
Publication number Priority date Publication date Assignee Title
JP2000343711A (ja) * 1999-06-07 2000-12-12 Sony Corp インクジェットヘッドの製造方法
JP2002052024A (ja) * 2000-08-08 2002-02-19 Ge Medical Systems Global Technology Co Llc コンベックス型圧電素子アセンブリ、コンベックス型圧電素子アセンブリの製造方法およびコンベックス型圧電素子アセンブリ用フレキシブル基板
JP2002153461A (ja) * 2000-11-21 2002-05-28 Aloka Co Ltd 超音波振動子及びその製造方法
JP2006175845A (ja) * 2004-11-29 2006-07-06 Ricoh Co Ltd 液体吐出ヘッド、液体吐出装置及び画像形成装置

Cited By (3)

* Cited by examiner, † Cited by third party
Publication number Priority date Publication date Assignee Title
JP2011175008A (ja) * 2010-02-23 2011-09-08 Kyocera Corp 光デバイス用部品および光デバイス
JP2022013678A (ja) * 2020-06-30 2022-01-18 セイコーエプソン株式会社 液体吐出ヘッド、および、液体吐出装置
JP7625949B2 (ja) 2020-06-30 2025-02-04 セイコーエプソン株式会社 液体吐出ヘッド、および、液体吐出装置

Also Published As

Publication number Publication date
JP5327431B2 (ja) 2013-10-30

Similar Documents

Publication Publication Date Title
JP5256771B2 (ja) 液滴吐出ヘッド、インクカートリッジ及び画像形成装置
US7871153B2 (en) Liquid jet head, method of manufacturing liquid jet head, and image forming apparatus
JP5343610B2 (ja) 圧電アクチュエータ、液体吐出ヘッド、画像形成装置
JP5359129B2 (ja) 圧電アクチュエータ、液体吐出ヘッド及び画像形成装置
JP2009006603A (ja) 圧電アクチュエータ及びその製造方法、液体吐出ヘッド、画像形成装置
JP2009051081A (ja) 液滴吐出ヘッド、一体型液滴吐出ヘッドユニット及び画像形成装置
JP5327431B2 (ja) 圧電型アクチュエータ、液体吐出ヘッド及び画像形成装置
JP5347609B2 (ja) 液体吐出ヘッド及び画像形成装置
JP5358924B2 (ja) 液体吐出ヘッド及び画像形成装置
JP5343630B2 (ja) 圧電アクチュエータ、液体吐出ヘッド、画像形成装置
JP2011056730A (ja) 液体吐出ヘッド及び画像形成装置
JP5796347B2 (ja) 圧電アクチュエータ、圧電アクチュエータの製造方法、液体吐出ヘッド及び画像形成装置
JP5207127B2 (ja) 圧電アクチュエータと液滴吐出ヘッド及び画像形成装置
JP5116491B2 (ja) 液体吐出ヘッド及び画像形成装置、圧電アクチュエータ
JP5107657B2 (ja) 圧電アクチュエータ、液体吐出ヘッド、液体吐出装置、画像形成装置
JP2012111087A (ja) 液体噴射ヘッド及び液体噴射装置
JP5594557B2 (ja) 圧電アクチュエータと液滴吐出ヘッド及び画像形成装置
JP5073862B2 (ja) 液体吐出ヘッド、液体カートリッジ、画像形成装置、フレキシブルプリント基板
JP2006305987A (ja) 液滴吐出ヘッド、及び液滴吐出ヘッドの製造方法
JP4307808B2 (ja) 液滴吐出ヘッド及びインクジェット記録装置
JP5671899B2 (ja) 圧電アクチュエータ、液体吐出ヘッド及び画像形成装置
JP2009056646A (ja) 流路部材の構造、液滴吐出ヘッド、液滴吐出ヘッドの製造方法、及び画像形成装置
JP4971255B2 (ja) 圧電アクチュエータと液滴吐出ヘッド及び記録装置
JP5862097B2 (ja) 液体吐出ヘッド及び画像形成装置
JP2008149588A (ja) 圧電アクチュエータ、液体吐出ヘッド、画像形成装置

Legal Events

Date Code Title Description
A621 Written request for application examination

Free format text: JAPANESE INTERMEDIATE CODE: A621

Effective date: 20110408

A131 Notification of reasons for refusal

Free format text: JAPANESE INTERMEDIATE CODE: A131

Effective date: 20130318

A977 Report on retrieval

Free format text: JAPANESE INTERMEDIATE CODE: A971007

Effective date: 20130321

A521 Request for written amendment filed

Free format text: JAPANESE INTERMEDIATE CODE: A523

Effective date: 20130430

TRDD Decision of grant or rejection written
A01 Written decision to grant a patent or to grant a registration (utility model)

Free format text: JAPANESE INTERMEDIATE CODE: A01

Effective date: 20130626

A61 First payment of annual fees (during grant procedure)

Free format text: JAPANESE INTERMEDIATE CODE: A61

Effective date: 20130709

R151 Written notification of patent or utility model registration

Ref document number: 5327431

Country of ref document: JP

Free format text: JAPANESE INTERMEDIATE CODE: R151

LAPS Cancellation because of no payment of annual fees