JP2010032900A - 光学フィルム積層体の製造方法 - Google Patents
光学フィルム積層体の製造方法 Download PDFInfo
- Publication number
- JP2010032900A JP2010032900A JP2008196564A JP2008196564A JP2010032900A JP 2010032900 A JP2010032900 A JP 2010032900A JP 2008196564 A JP2008196564 A JP 2008196564A JP 2008196564 A JP2008196564 A JP 2008196564A JP 2010032900 A JP2010032900 A JP 2010032900A
- Authority
- JP
- Japan
- Prior art keywords
- optical film
- optical
- cut
- film
- cutting
- Prior art date
- Legal status (The legal status is an assumption and is not a legal conclusion. Google has not performed a legal analysis and makes no representation as to the accuracy of the status listed.)
- Granted
Links
Images
Classifications
-
- B—PERFORMING OPERATIONS; TRANSPORTING
- B29—WORKING OF PLASTICS; WORKING OF SUBSTANCES IN A PLASTIC STATE IN GENERAL
- B29D—PRODUCING PARTICULAR ARTICLES FROM PLASTICS OR FROM SUBSTANCES IN A PLASTIC STATE
- B29D11/00—Producing optical elements, e.g. lenses or prisms
- B29D11/0073—Optical laminates
-
- Y—GENERAL TAGGING OF NEW TECHNOLOGICAL DEVELOPMENTS; GENERAL TAGGING OF CROSS-SECTIONAL TECHNOLOGIES SPANNING OVER SEVERAL SECTIONS OF THE IPC; TECHNICAL SUBJECTS COVERED BY FORMER USPC CROSS-REFERENCE ART COLLECTIONS [XRACs] AND DIGESTS
- Y10—TECHNICAL SUBJECTS COVERED BY FORMER USPC
- Y10T—TECHNICAL SUBJECTS COVERED BY FORMER US CLASSIFICATION
- Y10T156/00—Adhesive bonding and miscellaneous chemical manufacture
- Y10T156/10—Methods of surface bonding and/or assembly therefor
- Y10T156/1052—Methods of surface bonding and/or assembly therefor with cutting, punching, tearing or severing
- Y10T156/1062—Prior to assembly
- Y10T156/1075—Prior to assembly of plural laminae from single stock and assembling to each other or to additional lamina
- Y10T156/1077—Applying plural cut laminae to single face of additional lamina
-
- Y—GENERAL TAGGING OF NEW TECHNOLOGICAL DEVELOPMENTS; GENERAL TAGGING OF CROSS-SECTIONAL TECHNOLOGIES SPANNING OVER SEVERAL SECTIONS OF THE IPC; TECHNICAL SUBJECTS COVERED BY FORMER USPC CROSS-REFERENCE ART COLLECTIONS [XRACs] AND DIGESTS
- Y10—TECHNICAL SUBJECTS COVERED BY FORMER USPC
- Y10T—TECHNICAL SUBJECTS COVERED BY FORMER US CLASSIFICATION
- Y10T156/00—Adhesive bonding and miscellaneous chemical manufacture
- Y10T156/10—Methods of surface bonding and/or assembly therefor
- Y10T156/1052—Methods of surface bonding and/or assembly therefor with cutting, punching, tearing or severing
- Y10T156/1084—Methods of surface bonding and/or assembly therefor with cutting, punching, tearing or severing of continuous or running length bonded web
- Y10T156/1085—One web only
-
- Y—GENERAL TAGGING OF NEW TECHNOLOGICAL DEVELOPMENTS; GENERAL TAGGING OF CROSS-SECTIONAL TECHNOLOGIES SPANNING OVER SEVERAL SECTIONS OF THE IPC; TECHNICAL SUBJECTS COVERED BY FORMER USPC CROSS-REFERENCE ART COLLECTIONS [XRACs] AND DIGESTS
- Y10—TECHNICAL SUBJECTS COVERED BY FORMER USPC
- Y10T—TECHNICAL SUBJECTS COVERED BY FORMER US CLASSIFICATION
- Y10T156/00—Adhesive bonding and miscellaneous chemical manufacture
- Y10T156/10—Methods of surface bonding and/or assembly therefor
- Y10T156/1089—Methods of surface bonding and/or assembly therefor of discrete laminae to single face of additional lamina
- Y10T156/1092—All laminae planar and face to face
- Y10T156/1097—Lamina is running length web
Landscapes
- Engineering & Computer Science (AREA)
- Health & Medical Sciences (AREA)
- Manufacturing & Machinery (AREA)
- Ophthalmology & Optometry (AREA)
- Mechanical Engineering (AREA)
- Polarising Elements (AREA)
Abstract
【解決手段】所望の形状に切断して光学フィルム積層体4を製造する方法であって、第一光学フィルムの光学軸と所定角度で交差するように第一切断線の角度を定め、且つ、第二光学フィルムの長手方向と第一切断線とが平行するように第一切断片を配置した際に両者の幅が略同幅となるように第一切断線の間隔を定め、第二光学フィルムの光学軸と所定角度で交差するように第二切断線の角度を定め、且つ、第三光学フィルム3の長手方向と第二切断線とが平行するように第二切断片2aを配置した際に、両者の幅が略同幅となるように第二切断線の間隔を定める。
【選択図】図3
Description
該第一切断片を、長尺状に形成され光学的な指向軸を有する第二光学フィルムに積層する第一積層工程と、
得られた積層フィルムを第二切断線で切断して第二切断片とする第二切断工程と、
該第二切断片を、長尺状に形成され光学的な指向軸を有する第三光学フィルムに積層する第二積層工程とを備え、
少なくとも第一光学フィルムと第二光学フィルムと第三光学フィルムとが積層されてなる積層体を所望の形状に切断して製品となる光学フィルム積層体を製造する光学フィルム積層体の製造方法であって、
前記第一切断工程において第一光学フィルムの光学的な指向軸と所定角度で交差するように前記第一切断線の角度を定め、且つ、前記第一積層工程において第二光学フィルムの長手方向と第一切断線とが平行するように第一切断片を配置した際に、第二光学フィルムの幅と第一切断片の幅とが略同幅となるように第一切断線の間隔を定め、
前記第二切断工程において第二光学フィルムの光学的な指向軸と所定角度で交差するように前記第二切断線の角度を定め、且つ、前記第二積層工程において第三光学フィルムの長手方向と第二切断線とが平行するように第二切断片を配置した際に、第三光学フィルムの幅と第二切断片の幅とが略同幅となるように第二切断線の間隔を定めることを特徴とする光学フィルム積層体の製造方法を提供する。
該光学フィルムの組み合わせとしては、偏光フィルム/位相差フィルム/輝度向上フィルムや、偏光フィルム/位相差フィルム/位相差フィルム等を挙げることができる。
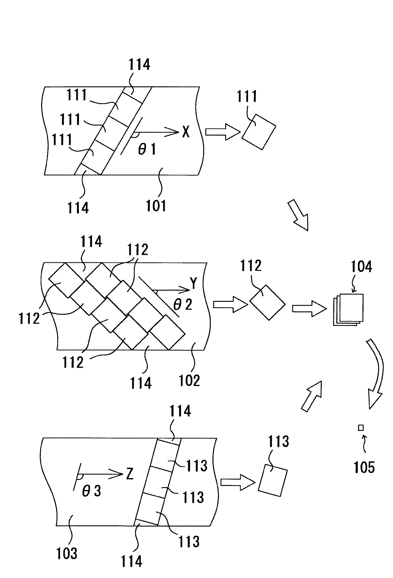
第一光学フィルムの長手方向に対して第一切断線10の成す角度は、製品となる光学フィルム積層体4において必要な指向軸Xと指向軸Yとの角度を考慮して決定される。
また、第一切断線10と第一切断線10との間隔d1は、第一切断片1aを貼り付ける第二光学フィルム2のフィルム幅L2を考慮して定められ、本実施形態では、d1とL2とが一致するように設定されている。
第二光学フィルム2の長手方向に対して第二切断線20の成す角度は、前記第一切断線10と同様に、製品となる光学フィルム積層体4において必要となる、指向軸X及び指向軸Yと、指向軸Zとの角度を考慮して決定される。
また、第二切断線20と第二切断線20との間隔d2は、第二切断片2aを貼り付ける第三光学フィルム3のフィルム幅L3を考慮して定められ、本実施形態では、d2とL3とが一致するように設定されている。
第三光学フィルム3の長手方向に対して第三切断線30の成す角度は、前記第一切断線10や前記第二切断線20のように、製品となる光学フィルム積層体4の光学特性との関係において定める必要は無い。よって、該第三切断線30は、光学フィルム積層体4の光学特性とは無関係に定めることができる。
但し、該第三切断線30で切断した後、得られた第三切断片3aからは製品となる光学フィルム積層体(製品チップ)4をできるだけ無駄なく効率的に切り取るという観点から、製品となりうる領域、即ち、上記第一乃至第三光学フィルムが継ぎ目なく積層された領域を減らすことのないよう、該第三切断線30の位置を定めることが好ましい。
本実施形態では、第三光学フィルム3上に配置された第二切断片2a同士の継ぎ目25と一致するように、第三切断線30を設定すること、即ち、第三切断片3aを第二切断片2aと同形状とすることにより、上述の如き効率化を図っている。
よって、チップカット工程においては、この第一光学フィルム11の継ぎ目15と、製品形状に満たない第三切断片3aの四辺のみが歩留まり発生の要因となり、他の領域は全て製品チップの製造に使用されることとなる。
従って、第一積層工程及び第二積層工程において、それぞれ、切断片の貼り付け作業が
極めて簡素化される、という利点がある。
つまり、このような比較方法では、第二光学フィルム2上に配置された第一切断片1aを切断しないように第二切断片2aの切断線を定める為、効率的に製品チップを得ることができるような印象がある。しかしながら、そのような切断線によって切断した第二切断片2aは、第三光学フィルム3上に配置する際に、該第三光学フィルム3と同じ帯状とならないため、未積層のフィルムが多量に発生して歩留まりが低下するという問題や、或いは歩留まりを向上させるために第二切断片2aをさらに切断して未積層部分が生じないように貼り合せる場合には、作業性が悪いという問題が生じるのに対し、本実施形態では、上述のように歩留まりと作業性とが共に改善されるという効果を奏するのである。
従って、本発明においては、第一切断片や第二切断片を切断する際、これら切断片の辺長が、何れも800mm以上となるような平行四辺形(長方形を含む)となるように切断することが好ましい。
尚、使用する光学フィルムの原反幅や製品光学的指向軸の角度、及び、製造する光学フィルム積層体(製品チップ)の寸法は、以下に示す条件とした。
第一光学フィルム:幅1180mm、光学指向軸の角度120°
第二光学フィルム:幅1150mm、光学指向軸の角度45°
第三光学フィルム:幅1150mm、光学指向軸の角度105°
製品チップ:幅25.4mm、長さ37.4mm
また、本発明の実施例では、光学フィルムを積層する際の、切断片の取り扱い枚数を他と比べて大幅に削減することができるため作業性にも優れるという効果も発揮される。
Claims (3)
- 長尺状に形成され光学的な指向軸を有する第一光学フィルムを第一切断線で順次切断して第一切断片とする第一切断工程と、
該第一切断片を、長尺状に形成され光学的な指向軸を有する第二光学フィルムに積層する第一積層工程と、
得られた積層フィルムを第二切断線で切断して第二切断片とする第二切断工程と、
該第二切断片を、長尺状に形成され光学的な指向軸を有する第三光学フィルムに積層する第二積層工程とを備え、
少なくとも第一光学フィルムと第二光学フィルムと第三光学フィルムとが積層されてなる積層体を所望の形状に切断して製品となる光学フィルム積層体を製造する光学フィルム積層体の製造方法であって、
前記第一切断工程において第一光学フィルムの光学的な指向軸と所定角度で交差するように前記第一切断線の角度を定め、且つ、前記第一積層工程において第二光学フィルムの長手方向と第一切断線とが平行するように第一切断片を配置した際に、第二光学フィルムの幅と第一切断片の幅とが略同幅となるように第一切断線の間隔を定め、
前記第二切断工程において第二光学フィルムの光学的な指向軸と所定角度で交差するように前記第二切断線の角度を定め、且つ、前記第二積層工程において第三光学フィルムの長手方向と第二切断線とが平行するように第二切断片を配置した際に、第三光学フィルムの幅と第二切断片の幅とが略同幅となるように第二切断線の間隔を定めることを特徴とする光学フィルム積層体の製造方法。 - 前記積層体を所望の製品形状に切断する際、貼り合わされた第二切断片の継ぎ目に沿った第三切断線で前記第三光学フィルムを切断して積層中間体を作成し、該積層中間体を製品形状に切断することを特徴とする請求項1記載の光学フィルム積層体の製造方法。
- 前記光学フィルムが、偏光フィルム、及び位相差フィルム又は輝度向上フィルムであることを特徴とする請求項1又は2記載の光学フィルム積層体の製造方法。
Priority Applications (3)
| Application Number | Priority Date | Filing Date | Title |
|---|---|---|---|
| JP2008196564A JP4918530B2 (ja) | 2008-07-30 | 2008-07-30 | 光学フィルム積層体の製造方法 |
| CN2009101585721A CN101639548B (zh) | 2008-07-30 | 2009-07-16 | 光学膜层叠体的制造方法 |
| US12/511,472 US8083886B2 (en) | 2008-07-30 | 2009-07-29 | Method of producing optical film laminates |
Applications Claiming Priority (1)
| Application Number | Priority Date | Filing Date | Title |
|---|---|---|---|
| JP2008196564A JP4918530B2 (ja) | 2008-07-30 | 2008-07-30 | 光学フィルム積層体の製造方法 |
Publications (2)
| Publication Number | Publication Date |
|---|---|
| JP2010032900A true JP2010032900A (ja) | 2010-02-12 |
| JP4918530B2 JP4918530B2 (ja) | 2012-04-18 |
Family
ID=41607127
Family Applications (1)
| Application Number | Title | Priority Date | Filing Date |
|---|---|---|---|
| JP2008196564A Active JP4918530B2 (ja) | 2008-07-30 | 2008-07-30 | 光学フィルム積層体の製造方法 |
Country Status (3)
| Country | Link |
|---|---|
| US (1) | US8083886B2 (ja) |
| JP (1) | JP4918530B2 (ja) |
| CN (1) | CN101639548B (ja) |
Cited By (1)
| Publication number | Priority date | Publication date | Assignee | Title |
|---|---|---|---|---|
| US9625747B2 (en) | 2012-03-30 | 2017-04-18 | Nitto Denko Corporation | Method for manufacturing liquid crystal display device |
Families Citing this family (5)
| Publication number | Priority date | Publication date | Assignee | Title |
|---|---|---|---|---|
| KR102381775B1 (ko) * | 2016-03-16 | 2022-04-04 | 옥슬러 리미티드 | 안과용 전달 장치 및 안과용 약물 조성물 |
| KR101685328B1 (ko) * | 2016-05-31 | 2016-12-09 | 주식회사 엘지화학 | 광학필름 제조방법 및 광학필름 |
| KR102291616B1 (ko) * | 2017-12-21 | 2021-08-23 | 산진 옵토일렉트로닉스 (쑤저우) 컴퍼니 리미티드 | 디스플레이 유닛 제조방법 및 제조시스템 |
| CN113334467B (zh) * | 2021-05-31 | 2022-09-30 | 深圳市聚飞光学材料有限公司 | 一种光学膜卷材加工方法及光学膜卷材 |
| JP2024040758A (ja) * | 2022-09-13 | 2024-03-26 | ニデック株式会社 | 積層体の切断方法、前記切断方法によって切断された小片積層体および小片積層体を有する製品 |
Citations (7)
| Publication number | Priority date | Publication date | Assignee | Title |
|---|---|---|---|---|
| JPS59214807A (ja) * | 1983-05-20 | 1984-12-04 | Arisawa Seisakusho:Kk | 偏光板の切断方法 |
| JPH10206631A (ja) * | 1997-01-27 | 1998-08-07 | Sekisui Chem Co Ltd | 楕円偏光板の製造方法 |
| JPH11231129A (ja) * | 1997-11-17 | 1999-08-27 | Sumitomo Chem Co Ltd | 光学フィルム積層中間体およびその製造方法ならびに光学フィルム積層チップの製造方法 |
| JP2000241625A (ja) * | 1998-12-25 | 2000-09-08 | Sumitomo Chem Co Ltd | 光学フィルム3層積層体の製造方法 |
| JP2004046097A (ja) * | 2002-05-15 | 2004-02-12 | Nitto Denko Corp | 積層位相差板、それを用いた積層偏光板、ならびに画像表示装置 |
| JP2004145282A (ja) * | 2002-08-30 | 2004-05-20 | Fuji Photo Film Co Ltd | 位相差板及びその製造方法、それを用いた円偏光板及び1/2波長板、並びに、反射型液晶表示装置 |
| JP2007155970A (ja) * | 2005-12-02 | 2007-06-21 | Sumitomo Chemical Co Ltd | 楕円偏光板及びその製造方法 |
Family Cites Families (6)
| Publication number | Priority date | Publication date | Assignee | Title |
|---|---|---|---|---|
| US5888603A (en) * | 1996-04-24 | 1999-03-30 | Fergason; James L. | Stacked films birefringent device and method of making same |
| TW520452B (en) * | 1997-11-17 | 2003-02-11 | Sumitomo Chemical Co | Manufacturing method for stacked optical film and intermediate body of stacked optical film thereof |
| TWI221538B (en) * | 1998-10-12 | 2004-10-01 | Sumitomo Chemical Co | Optical film laminated body |
| JP4663285B2 (ja) * | 2004-09-22 | 2011-04-06 | 富士フイルム株式会社 | 液晶表示装置 |
| WO2006100830A1 (ja) * | 2005-03-23 | 2006-09-28 | Nitto Denko Corporation | 光学フィルムの製造方法、およびそのような製造方法により得られる光学フィルムを用いた画像表示装置 |
| JP5221164B2 (ja) * | 2008-02-15 | 2013-06-26 | 日東電工株式会社 | 光学フィルム積層体の製造方法 |
-
2008
- 2008-07-30 JP JP2008196564A patent/JP4918530B2/ja active Active
-
2009
- 2009-07-16 CN CN2009101585721A patent/CN101639548B/zh active Active
- 2009-07-29 US US12/511,472 patent/US8083886B2/en not_active Expired - Fee Related
Patent Citations (7)
| Publication number | Priority date | Publication date | Assignee | Title |
|---|---|---|---|---|
| JPS59214807A (ja) * | 1983-05-20 | 1984-12-04 | Arisawa Seisakusho:Kk | 偏光板の切断方法 |
| JPH10206631A (ja) * | 1997-01-27 | 1998-08-07 | Sekisui Chem Co Ltd | 楕円偏光板の製造方法 |
| JPH11231129A (ja) * | 1997-11-17 | 1999-08-27 | Sumitomo Chem Co Ltd | 光学フィルム積層中間体およびその製造方法ならびに光学フィルム積層チップの製造方法 |
| JP2000241625A (ja) * | 1998-12-25 | 2000-09-08 | Sumitomo Chem Co Ltd | 光学フィルム3層積層体の製造方法 |
| JP2004046097A (ja) * | 2002-05-15 | 2004-02-12 | Nitto Denko Corp | 積層位相差板、それを用いた積層偏光板、ならびに画像表示装置 |
| JP2004145282A (ja) * | 2002-08-30 | 2004-05-20 | Fuji Photo Film Co Ltd | 位相差板及びその製造方法、それを用いた円偏光板及び1/2波長板、並びに、反射型液晶表示装置 |
| JP2007155970A (ja) * | 2005-12-02 | 2007-06-21 | Sumitomo Chemical Co Ltd | 楕円偏光板及びその製造方法 |
Cited By (1)
| Publication number | Priority date | Publication date | Assignee | Title |
|---|---|---|---|---|
| US9625747B2 (en) | 2012-03-30 | 2017-04-18 | Nitto Denko Corporation | Method for manufacturing liquid crystal display device |
Also Published As
| Publication number | Publication date |
|---|---|
| US8083886B2 (en) | 2011-12-27 |
| CN101639548A (zh) | 2010-02-03 |
| CN101639548B (zh) | 2012-08-29 |
| JP4918530B2 (ja) | 2012-04-18 |
| US20100024972A1 (en) | 2010-02-04 |
Similar Documents
| Publication | Publication Date | Title |
|---|---|---|
| JP5221164B2 (ja) | 光学フィルム積層体の製造方法 | |
| JP4918530B2 (ja) | 光学フィルム積層体の製造方法 | |
| WO2021189542A1 (zh) | 显示面板及显示装置 | |
| JPH11231129A (ja) | 光学フィルム積層中間体およびその製造方法ならびに光学フィルム積層チップの製造方法 | |
| KR102561432B1 (ko) | 비직선 가공된 점착제층 부착 광학 적층체의 제조 방법 | |
| CN115331547B (zh) | 显示面板、显示装置及显示面板的制备方法 | |
| AU2012203173B2 (en) | Method of manufacturing diagonal plywood | |
| KR20130088732A (ko) | 광학 필름 시트의 첩합 장치 | |
| WO2014174951A1 (ja) | 積層体基板の形成方法および装置 | |
| JP6053957B2 (ja) | 高い裁断効率性で矩形単位体を製造する方法 | |
| CN114804608B (zh) | 一种超薄玻璃的制备方法 | |
| KR101606714B1 (ko) | 다층식 그라파이트 필름 제조 방법 | |
| JP2013008134A (ja) | タッチパネルの製造方法 | |
| CN107180843A (zh) | 一种封装面板、器件封装结构及其制备方法 | |
| KR101829696B1 (ko) | 4분할 배면테이프가 일체화된 필름 제작방법 | |
| JP2020064700A (ja) | 電極体の製造方法 | |
| JP2008158144A (ja) | クロスプリズムの製造方法 | |
| JP3937668B2 (ja) | 光学フィルム3層積層体の製造方法 | |
| CN104717829B (zh) | 高密度无气泡金手指压合结构板及其加工方法 | |
| JP4084476B2 (ja) | 積層シートの製造方法 | |
| TW550420B (en) | Manufacture of three-layer laminated body of optical film | |
| CN112571813A (zh) | 一种双面胶两面贴聚酰亚胺膜的加工方法 | |
| CN221960310U (zh) | 一种波导片及衍射光波导 | |
| JP6356891B1 (ja) | 光学的表示装置の積層体を製造する方法および装置 | |
| JP2017203809A (ja) | 反射素子の製造方法および結像素子の製造方法 |
Legal Events
| Date | Code | Title | Description |
|---|---|---|---|
| A621 | Written request for application examination |
Free format text: JAPANESE INTERMEDIATE CODE: A621 Effective date: 20101122 |
|
| A977 | Report on retrieval |
Free format text: JAPANESE INTERMEDIATE CODE: A971007 Effective date: 20111108 |
|
| TRDD | Decision of grant or rejection written | ||
| A01 | Written decision to grant a patent or to grant a registration (utility model) |
Free format text: JAPANESE INTERMEDIATE CODE: A01 Effective date: 20120120 |
|
| A01 | Written decision to grant a patent or to grant a registration (utility model) |
Free format text: JAPANESE INTERMEDIATE CODE: A01 |
|
| A61 | First payment of annual fees (during grant procedure) |
Free format text: JAPANESE INTERMEDIATE CODE: A61 Effective date: 20120130 |
|
| FPAY | Renewal fee payment (event date is renewal date of database) |
Free format text: PAYMENT UNTIL: 20150203 Year of fee payment: 3 |
|
| R150 | Certificate of patent or registration of utility model |
Ref document number: 4918530 Country of ref document: JP Free format text: JAPANESE INTERMEDIATE CODE: R150 Free format text: JAPANESE INTERMEDIATE CODE: R150 |
|
| R250 | Receipt of annual fees |
Free format text: JAPANESE INTERMEDIATE CODE: R250 |
|
| R250 | Receipt of annual fees |
Free format text: JAPANESE INTERMEDIATE CODE: R250 |
|
| R250 | Receipt of annual fees |
Free format text: JAPANESE INTERMEDIATE CODE: R250 |
|
| R250 | Receipt of annual fees |
Free format text: JAPANESE INTERMEDIATE CODE: R250 |
|
| R250 | Receipt of annual fees |
Free format text: JAPANESE INTERMEDIATE CODE: R250 |
|
| R250 | Receipt of annual fees |
Free format text: JAPANESE INTERMEDIATE CODE: R250 |
|
| R250 | Receipt of annual fees |
Free format text: JAPANESE INTERMEDIATE CODE: R250 |
|
| R250 | Receipt of annual fees |
Free format text: JAPANESE INTERMEDIATE CODE: R250 |
|
| R250 | Receipt of annual fees |
Free format text: JAPANESE INTERMEDIATE CODE: R250 |
|
| R250 | Receipt of annual fees |
Free format text: JAPANESE INTERMEDIATE CODE: R250 |
|
| R250 | Receipt of annual fees |
Free format text: JAPANESE INTERMEDIATE CODE: R250 |
|
| R250 | Receipt of annual fees |
Free format text: JAPANESE INTERMEDIATE CODE: R250 |
