JP2010032012A - 電動リニアアクチュエータおよびその組立方法 - Google Patents

電動リニアアクチュエータおよびその組立方法 Download PDF

Info

Publication number
JP2010032012A
JP2010032012A JP2008196926A JP2008196926A JP2010032012A JP 2010032012 A JP2010032012 A JP 2010032012A JP 2008196926 A JP2008196926 A JP 2008196926A JP 2008196926 A JP2008196926 A JP 2008196926A JP 2010032012 A JP2010032012 A JP 2010032012A
Authority
JP
Japan
Prior art keywords
nut
shaft
casing
linear actuator
screw
Prior art date
Legal status (The legal status is an assumption and is not a legal conclusion. Google has not performed a legal analysis and makes no representation as to the accuracy of the status listed.)
Granted
Application number
JP2008196926A
Other languages
English (en)
Other versions
JP5102715B2 (ja
Inventor
Yoshinori Ikeda
良則 池田
Tetsuya Hayashi
徹也 林
Masaki Iijima
正樹 飯島
Current Assignee (The listed assignees may be inaccurate. Google has not performed a legal analysis and makes no representation or warranty as to the accuracy of the list.)
Honda Motor Co Ltd
NTN Corp
Mitsuba Corp
Original Assignee
Honda Motor Co Ltd
NTN Corp
Mitsuba Corp
NTN Toyo Bearing Co Ltd
Priority date (The priority date is an assumption and is not a legal conclusion. Google has not performed a legal analysis and makes no representation as to the accuracy of the date listed.)
Filing date
Publication date
Application filed by Honda Motor Co Ltd, NTN Corp, Mitsuba Corp, NTN Toyo Bearing Co Ltd filed Critical Honda Motor Co Ltd
Priority to JP2008196926A priority Critical patent/JP5102715B2/ja
Publication of JP2010032012A publication Critical patent/JP2010032012A/ja
Application granted granted Critical
Publication of JP5102715B2 publication Critical patent/JP5102715B2/ja
Expired - Fee Related legal-status Critical Current
Anticipated expiration legal-status Critical

Links

Images

Landscapes

  • Transmission Devices (AREA)
  • Connection Of Motors, Electrical Generators, Mechanical Devices, And The Like (AREA)

Abstract

【課題】組立性を改善して生産性を向上させた電動リニアアクチュエータおよびその組立方法を提供する。
【解決手段】ボールねじ7のねじ軸4と、このねじ軸4と平行に配設されるロッド軸8とを備える2軸構造の電動リニアアクチュエータ1の組立方法において、ナット5のねじ溝5aにボール6が収容され、これらのボール6が脱落しないようにパイプ状の仮軸14がナット5に内挿されてナットサブユニット15が組み立てられる工程と、ロッド軸8の軸心を回転中心として連結アーム9がケーシング2の開口部13から外部に振り子運動で回動された状態で、この連結アーム9にナットサブユニット15のナット5が係合されて当該ナットサブユニット15が組み立てられる工程を備えているので、ケーシング2に何ら拘束されずに広い組立スペースを確保することができ、組立性を改善して生産性を向上させることができる。
【選択図】図6

Description

本発明は、自動車等の車両の駆動部に使用される電動リニアアクチュエータ、詳しくは、電動モータの回転を、ボールねじ機構を介して直線運動に変換して用いる電動リニアアクチュエータおよびその組立方法に関するものである。
自動車等の車両の各種駆動部に使用される電動リニアアクチュエータにおいて、電動モータの回転運動を軸方向の直線運動に変換する機構として、台形ねじあるいはラックアンドピニオン等の歯車機構が一般的に使用されている。これらの変換機構は、滑り接触部を伴うため動力損失が大きく、電動モータの大型化や消費電力の増大を余儀なくされている。そのため、より効率的なアクチュエータとしてボールねじ機構が採用されるようになってきた。
例えば、自動車の停止時にミッションの出力軸に設けられたパーキングギアにパーキングポールを係合させてロックするパーキングロック装置として、電動リニアアクチュエータを用いてパーキングギアにポールを係合させる電動パーキングロック装置が知られている(例えば、特許文献1参照。)。
この電動リニアアクチュエータは、図9に示すように、ケーシング50に取り付けられた電動モータ51と、周面にねじ溝52aが形成された出力軸(ねじ軸)52と、この出力軸52の軸線方向と平行に設けられた軸方向移動可能なロッド軸53と、出力軸52のねじ溝52a周囲に設置されたボールねじ機構54と、ボールねじ機構54の上面側に一体的に形成された凹状部55と、基端56aがロッド軸53の中間部に固定され、先端部56bの突起下部(図示せず)が凹状部55内に位置するように配置された連結アーム56とを備えている。ここでは、凹状部55と連結アーム56とで直線運動伝達機構が構成されている。
ロッド軸53に連結された連結アーム56の先端部56bの突起下部が、ボールねじ機構(ナット)54の上面側に形成された凹状部55内に位置しているので、例えば、電動モータ51の駆動による出力軸52の正回転によってボールねじ機構54が図中右方向に直線移動すると、連結アーム56の先端部56bの突起下部が凹状部55の一方の壁面55aに接して押されることにより、連結アーム56の右方向への直線移動に伴って、連結されているロッド軸53が右方向に直線移動する(パーキングロック時)。
一方、電動モータ51の駆動による出力軸52の逆回転によってボールねじ機構54が図中左方向に直線移動すると、連結アーム56の先端部56bの突起下部が凹状部55の他方の壁面55bに接して押されることにより、連結アーム56の左方向への直線移動に合わせてロッド軸53が左方向に直線移動する(パーキングロック解除時)。
なお、ボールねじ機構54は、電動モータ51に通電していない時において、出力軸52のねじ溝52aと図示しないナットのねじ溝との間に収容されているボールが無限循環することにより、出力軸52を回転させながら出力軸52の軸線方向に沿って円滑に直線移動が可能となっている。すなわち、パーキングロックON、OFFは手動でも操作可能となっている。
特開2006−322490号公報
然しながら、こうした従来の電動リニアアクチュエータでは、出力軸52にロッド軸53が並設された2軸で構成されているため、組立性を考慮した場合、ケーシング50外で予め構成部品全てを組み立てておき、最後にユニットとしてケーシング50に取り付けることが可能であれば望ましい。しかしこの組立方法では、ケーシング50を分割構造にする等の必要があり、支持軸受(図示せず)や電動モータ51を取り付けるためのハウジングを縦割りにしなければならない。これでは、加工精度が低下してミスアライメントを招くと共に、気密性も低下して信頼性が損なわれる恐れがある。
したがって、この種の2軸構造からなる電動リニアクチュエータの場合、通常は2軸の軸心上でケーシング50の側面に開口部を設けて蓋をする構造が採用されている。こうしたケーシング構造の場合、ケーシング50内の空間を利用して内部で組立をしなければならず、作業性が悪く組立性が著しく低下する恐れがあった。
本発明は、こうした従来の課題を解消し、組立性を改善して生産性を向上させた電動リニアアクチュエータおよびその組立方法を提供することを目的とする。
係る目的を達成すべく、本発明のうち請求項1に記載の発明は、ケーシングに取り付けられた電動モータと、この電動モータの主軸と同軸状に結合され、前記ケーシングに対して回転自在に、かつ軸方向移動不可に支持されたねじ軸、およびこのねじ軸に多数のボールを介して外挿され、回転不可に、かつ軸方向移動自在に支持されたナットからなるボールねじと、前記ねじ軸と平行に配設され、前記ケーシングに対して軸方向移動自在に支持されたロッド軸と、このロッド軸の略中間部に固定され、先端部が前記ナットに係合された連結アームとを備え、前記電動モータの回転運動が前記ナットを介して前記ロッド軸の軸方向運動に変換される電動リニアアクチュエータにおいて、前記ロッド軸の軸心を回転中心として前記連結アームが回動自在に構成されると共に、前記ナットの外周面の一部に対向して平面部が形成され、前記連結アームの先端部が二股状に形成されて前記平面部を挟持し、前記ナットが回転不可に係合されている。
このように、ボールねじのねじ軸と、このねじ軸と平行に配設されたロッド軸とを備えた2軸構造の電動リニアアクチュエータにおいて、ロッド軸の軸心を回転中心として連結アームが回動自在に構成されると共に、ナットの外周面の一部に対向して平面部が形成され、連結アームの先端部が二股状に形成されて平面部を挟持し、ナットが回転不可に係合されているので、ロッド軸に連結された連結アームを、ロッド軸の軸心を中心にケーシングの開口部側に振り子運動で回動させた状態で組立作業を行うことができる。これにより、ケーシングに何ら拘束されずに広い組立スペースを確保することができ、組立性を改善して生産性を向上させた電動リニアアクチュエータを提供することができる。
好ましくは、請求項2に記載の発明のように、前記ねじ軸と主軸がセレーションを介してトルク伝達可能に、かつ軸方向着脱可能に結合されていれば、同軸状に配置された電動モータの主軸とねじ軸との芯合わせが容易となると共に、このねじ軸を、反電動モータ側の単一の転がり軸受で片持ち支持することができ、組立性を向上させることができる。また、これにより、部品点数を削減して軽量・コンパクト化を図ることができる。
また、本発明のうち請求項3に記載の方法発明は、ケーシングに取り付けられる電動モータと、この電動モータの主軸と同軸状に結合され、前記ケーシングに対して回転自在に、かつ軸方向移動不可に支持されるねじ軸、およびこのねじ軸に多数のボールを介して外挿され、回転不可に、かつ軸方向移動自在に支持されるナットからなるボールねじと、前記ねじ軸と平行に配設され、前記ケーシングに対して軸方向移動自在に支持されたロッド軸と、このロッド軸の略中間部に固定され、先端部が前記ナットに係合される連結アームとを備え、前記電動モータの回転運動が前記ナットを介して前記ロッド軸の軸方向運動に変換される電動リニアアクチュエータの組立方法において、前記ナットのねじ溝にボールが収容され、これらのボールが脱落しないようにパイプ状の仮軸が前記ナットに内挿されてナットサブユニットが組み立てられる工程と、前記ロッド軸の軸心を回転中心として前記連結アームが前記ケーシングの開口部から外部に振り子運動で回動された状態で、この連結アームに前記ナットサブユニットのナットが係合されて当該ナットサブユニットが組み立てられる工程を備えている。
このように、ボールねじのねじ軸と、このねじ軸と平行に配設されるロッド軸とを備える2軸構造の電動リニアアクチュエータの組立方法において、ナットのねじ溝にボールが収容され、これらのボールが脱落しないようにパイプ状の仮軸がナットに内挿されてナットサブユニットが組み立てられる工程と、ロッド軸の軸心を回転中心として連結アームがケーシングの開口部から外部に振り子運動で回動された状態で、この連結アームにナットサブユニットのナットが係合されて当該ナットサブユニットが組み立てられる工程を備えているので、ケーシングに何ら拘束されずに広い組立スペースを確保することができ、組立性を改善して生産性を向上させることができる。
また、請求項4に記載の発明のように、前記ナットの外周面に接触する傾斜部と、この傾斜部の両側に鍔部が形成された取付台が前記ケーシングの開口部側に並設されると共に、前記ナットサブユニットが前記取付台に案内された状態で、自重によって当該ナットサブユニットが前記ケーシング内に収容されれば、仮軸の軸方向ズレが規制された状態で、ナットの外周面が傾斜部に接触して案内されるので、組立作業の簡便化を図ることができ生産性が向上する。
また、請求項5に記載の発明のように、前記ねじ軸の端部の外径が前記仮軸の外径と略同一に設定されると共に、前記ナットサブユニットが前記ケーシング内に収容された後、前記ねじ軸が回転された状態で前記ケーシングとナットに挿入されれば、ねじ軸の挿入に伴って仮軸がねじ軸の端部に当接して押出され、ボールの脱落が防止された状態でねじ軸の挿入ができると共に、ナットに収容されているボールをねじ軸のねじ溝にスムーズに移行させることができ、ケーシングの狭いスペース内でもボールねじの組立作業が簡便にできる。
本発明に係る電動リニアアクチュエータは、ケーシングに取り付けられた電動モータと、この電動モータの主軸と同軸状に結合され、前記ケーシングに対して回転自在に、かつ軸方向移動不可に支持されたねじ軸、およびこのねじ軸に多数のボールを介して外挿され、回転不可に、かつ軸方向移動自在に支持されたナットからなるボールねじと、前記ねじ軸と平行に配設され、前記ケーシングに対して軸方向移動自在に支持されたロッド軸と、このロッド軸の略中間部に固定され、先端部が前記ナットに係合された連結アームとを備え、前記電動モータの回転運動が前記ナットを介して前記ロッド軸の軸方向運動に変換される電動リニアアクチュエータにおいて、前記ロッド軸の軸心を回転中心として前記連結アームが回動自在に構成されると共に、前記ナットの外周面の一部に対向して平面部が形成され、前記連結アームの先端部が二股状に形成されて前記平面部を挟持し、前記ナットが回転不可に係合されているので、ロッド軸に連結された連結アームを、ロッド軸の軸心を中心にケーシングの開口部側に振り子運動で回動させた状態で組立作業を行うことができる、ケーシングに何ら拘束されずに広い組立スペースを確保することができる。これにより、組立性を改善して生産性を向上させた電動リニアアクチュエータを提供することができる。
また、本発明に係る電動リニアアクチュエータの組立方法は、ケーシングに取り付けられる電動モータと、この電動モータの主軸と同軸状に結合され、前記ケーシングに対して回転自在に、かつ軸方向移動不可に支持されるねじ軸、およびこのねじ軸に多数のボールを介して外挿され、回転不可に、かつ軸方向移動自在に支持されるナットからなるボールねじと、前記ねじ軸と平行に配設され、前記ケーシングに対して軸方向移動自在に支持されるロッド軸と、このロッド軸の略中間部に固定され、先端部が前記ナットに係合される連結アームとを備え、前記電動モータの回転運動が前記ナットを介して前記ロッド軸の軸方向運動に変換される電動リニアアクチュエータの組立方法において、前記ナットのねじ溝にボールが収容され、これらのボールが脱落しないようにパイプ状の仮軸が前記ナットに内挿されてナットサブユニットが組み立てられる工程と、前記ロッド軸の軸心を回転中心として前記連結アームが前記ケーシングの開口部から外部に振り子運動で回動された状態で、この連結アームに前記ナットサブユニットのナットが係合されて当該ナットサブユニットが組み立てられる工程を備えているので、ケーシングに何ら拘束されずに広い組立スペースを確保することができ、組立性を改善して生産性を向上させることができる。また、ケーシングを分割構造にして組み立てる必要がなくなり、ケーシングの加工精度を向上させると共に、ミスアライメントを防止して信頼性を高めることができる。
ケーシングに取り付けられる電動モータと、この電動モータの主軸と同軸状に結合され、前記ケーシングに対して回転自在に、かつ軸方向移動不可に支持されるねじ軸、およびこのねじ軸に多数のボールを介して外挿され、回転不可に、かつ軸方向移動自在に支持されたナットからなるボールねじと、前記ねじ軸と平行に配設され、前記ケーシングに対して軸方向移動自在に支持されるロッド軸と、このロッド軸の略中間部に固定され、先端部が前記ナットに係合される連結アームとを備え、前記電動モータの回転運動が前記ナットを介して前記ロッド軸の軸方向運動に変換される電動リニアアクチュエータの組立方法において、前記ナットのねじ溝にボールが収容され、これらのボールが脱落しないようにパイプ状の仮軸が前記ナットに内挿されてナットサブユニットが組み立てられる工程と、前記ロッド軸の軸心を回転中心として前記連結アームが前記ケーシングの開口部から外部に振り子運動で回動された状態で、この連結アームに前記ナットサブユニットのナットが係合されて当該ナットサブユニットが組み立てられる工程と、前記ナットの外周面に接触する傾斜部と、この傾斜部の両側に鍔部が形成された取付台が前記ケーシングの開口部側に並設されると共に、前記ナットサブユニットが前記取付台に案内された状態で、自重によって当該ナットサブユニットが前記ケーシング内に収容される工程と、前記ねじ軸の端部の外径が前記仮軸の外径と略同一に設定されると共に、前記ナットサブユニットが前記ケーシング内に収容された後、前記ねじ軸が回転された状態で前記ケーシングとナットに挿入される工程を備えている。
以下、本発明の実施の形態を図面に基いて詳細に説明する。
図1は、本発明に係る電動リニアアクチュエータの一実施形態を示す一部を断面した正面図、図2は、本発明に係る電動リニアアクチュエータの組立の第1工程を示す説明図、図3は、図2のIII−III線に沿った断面図、図4(a)は、同上組立の第2工程を示す説明図、(b)は、ナットサブユニットを示す平面図、(c)は、(b)の側面図、図5は、同上組立の第3工程を示す説明図、図6は、図5のVI−VI線に沿った断面図、図7は、同上組立の第4工程を示す説明図、図8は、図7の要部拡大図である。
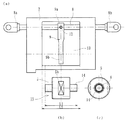
この電動リニアアクチュエータ1は、ケーシング2に取り付けられた電動モータ3と、外周面に螺旋状のねじ溝4aが形成されたねじ軸(出力軸)4と、このねじ軸4に外挿され、内周面にねじ溝4aに対応する螺旋状のねじ溝5aが形成されたナット5、および両ねじ溝4a、5a間に転動自在に収容された多数のボール6からなるボールねじ7と、このボールねじ7のねじ軸4と平行に設けられたロッド軸8と、基端9aがロッド軸8の中間部に固定され、先端部9bがナット5に係合された連結アーム9とを備えている。
ここでは、ナット5の外周面の一部に平面部5bが形成され、これら平面部5bが対向して配置されると共に、連結アーム9の先端部9bが、このナット5の平面部5bを挟持するように二股状に形成されている。これにより、ナット5は、回転不可で軸方向移動自在に構成されている。一方、ねじ軸4は、電動モータ3の主軸3aにセレーション4bを介してトルク伝達可能に、かつ軸方向に着脱可能に結合されている。また、ケーシング2には軸受穴2aが形成され、ねじ軸4は、この軸受穴2aに装着された転がり軸受10によって軸方向移動不可に、かつケーシング2に対して回転自在に支承されている。
本実施形態では、ねじ軸4と主軸3aがセレーション4bを介してトルク伝達可能に、かつ軸方向着脱可能に結合されているので、同軸状に配置された電動モータ3の主軸3aとねじ軸4との芯合わせが容易となると共に、このねじ軸4を、反電動モータ3側に嵌合された単一の転がり軸受10の片持ちで支持することができ、組立性を向上させることができる。また、これにより、部品点数を削減して軽量・コンパクト化を図ることができる。
ロッド軸8は、ケーシング2に形成された挿通穴2bに内挿され、軸受11、11を介して軸方向移動自在に支持されると共に、中間部が連結アーム9の基端9aに固定ねじ12を介して固定されている。このロッド軸8の両端部には、プッシュプルケーブル等に接続されるヨークからなる連結部8a、8bが設けられている。
ロッド軸8に連結された連結アーム9の先端部9bが、ボールねじ7を構成するナット5に係合されているので、電動モータ3に通電することにより、例えば、電動モータ3の駆動による主軸3aの正回転によってナット5が図中左方向に直線移動すると、先端部9bがナット5に係合されているため連結アーム9が左方向へ直線移動し、この連結アーム9の移動に伴って連結されているロッド軸8が左方向に直線移動する。一方、電動モータ3の駆動による主軸3aの逆回転によってナット5が図中右方向に直線移動すると連結アーム9が右方向へ直線移動し、この連結アーム9の移動に伴ってロッド軸8が右方向に直線移動する。
次に、図2〜図8を用いて電動リニアアクチュエータ1の組立手順を詳細に説明する。
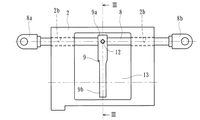
先ず、図2および図3に示すように、第1工程は、ケーシング2の挿通穴2bにロッド軸8が内挿され、ケーシング2内でこのロッド軸8に連結アーム9の基端9aが挿入され、固定ねじ12によって連結アーム9がロッド軸8に固定される。その後、ロッド軸8の端部に連結部8a、8bが固定される。この時、連結アーム9とロッド軸8の固定作業がケーシング2の開口部13側からできるように、固定ねじ12がケーシング2の開口部13側に配設されるのが好ましい。ここで、連結アーム9は、図3に示すように、ケーシング2内で、ロッド軸8の軸心を回転中心として振り子運動が可能な回転半径R以下にサイズが設定されている。
図4に示す第2工程では、ナット5のねじ溝5aにボール6を収容し、これらのボール6が脱落しないようにパイプ状の仮軸14をナット5に内挿してナットサブユニット15を組み立てる。この時、仮軸14がケーシング2に干渉しないように、仮軸14の全長L1は、ケーシング2の開口部13の幅L2よりも短くなるように設定されている。
次に、図5および図6に示すように、第3工程では、ナットサブユニット15をケーシング2の開口部13から納めるための取付台16が設置される。この取付台16には、ナット5の外周面に接触して案内する傾斜部16aと、両端に仮軸14の軸方向ズレを規制する鍔部16bが形成されている。ここでは、ロッド軸8に連結された連結アーム9を、ロッド軸8の軸心を回転中心にケーシング2の開口部13から外部に振り子運動で回動させた状態、すなわち、連結アーム9の先端部9bがナット5の平面部5b、5bを挟持できる位置まで連結アーム9を回動させた状態でナットサブユニット15が連結アーム9に装着される。その後、ナットサブユニット15が取付台16に案内された状態で、自重によってナットサブユニット15がケーシング2内に収容される。
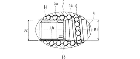
図7に示す第4工程では、ねじ軸4と、このねじ軸4を回転自在に支承する転がり軸受10がケーシング2に装着される。すなわち、予め転がり軸受10がねじ軸4の端部に形成された嵌合部17に取り付けられ、このねじ軸4がケーシング2に内挿されると共に、軸受穴2aに転がり軸受10が嵌合される。
ここで、図8に示すように、ねじ軸4の他端部に形成されたセレーション4bの外径は仮軸14の内径よりも僅かに小径に設定されていると共に、ねじ軸4の端部18の外径D1が仮軸14の外径D2と同一か僅かに小径(D1≦D2)に設定されているので、ねじ軸4のケーシング2への挿入に伴って仮軸14がねじ軸4の端部18に当接して押出され、ボール6の脱落を防止した状態でねじ軸4の挿入ができる。この時、ねじ軸4を回転させることにより、ナット5に収容されているボール6がねじ軸4のねじ溝4aに移行され、ナット5とねじ軸4の組立が完了する。
その後、転がり軸受10がケーシング2に固定されると共に、図示しない電動モータ3がケーシング2に取り付けられると共に、ねじ軸4のセレーション4bが電動モータ3の主軸3aに結合されて電動リニアアクチュエータ1の組立が完了する。ケーシング2の開口部13には別途図示しない蓋が取り付けられ、電動リニアアクチュエータ1の気密性が確保される。
本実施形態では、ボールねじ7のねじ軸4と、このねじ軸4と平行に配設されたロッド軸8とを備えた2軸構造の電動リニアアクチュエータ1において、予め仮軸14を用いてボール6が脱落しない状態でナット5とボール6を組み立ててナットサブユニット15を準備すると共に、ロッド軸8に連結された連結アーム9を、ロッド軸8の軸心を回転中心にケーシング2の開口部13から外部に振り子運動で回動させた状態で、この連結アーム9にナットサブユニット15のナット5を係合させ、取付台16を介してケーシング2の開口部13側からナットサブユニット15がケーシング2内に収容されるので、ケーシング2に何ら拘束されずに広い組立スペースを確保することができ、組立性を改善して生産性を向上させた電動リニアアクチュエータ1を提供することができる。また、ケーシング2を分割構造にして組み立てる必要がなくなり、ケーシング2の加工精度を向上させると共に、ミスアライメントを防止して信頼性を高めることができる。
また、パイプ状の仮軸14とねじ軸4との寸法関係が所定の関係になるように設定されているので、ナットサブユニット15がケーシング2内に収容された後、ねじ軸4のケーシング2への挿入に伴って仮軸14がねじ軸4の端部18に当接して押出され、ボール6の脱落を防止した状態でねじ軸4の挿入ができると共に、このねじ軸4を回転させることにより、ナット5に収容されているボール6がねじ軸4のねじ溝4aにスムーズに移行され、ケーシング2の狭いスペース内でも組立作業が簡便化でき、組立性を改善して生産性を一層向上させることができる。
以上、本発明の実施の形態について説明を行ったが、本発明はこうした実施の形態に何等限定されるものではなく、あくまで例示であって、本発明の要旨を逸脱しない範囲内において、さらに種々なる形態で実施し得ることは勿論のことであり、本発明の範囲は、特許請求の範囲の記載によって示され、さらに特許請求の範囲に記載の均等の意味、および範囲内のすべての変更を含む。
本発明に係る電動リニアアクチュエータは、自動車のパーキングギアにポールを係合させてパーキングロックさせる電動パーキングロック装置等の電動リニアアクチュエータとして適用できる。
本発明に係る電動リニアアクチュエータの一実施形態を示す一部を断面した正面図である。 本発明に係る電動リニアアクチュエータの組立の第1工程を示す説明図である。 図2のIII−III線に沿った断面図である。 (a)は、同上組立の第2工程を示す説明図である。 (b)は、ナットサブユニットを示す平面図である。 (c)は、(b)の側面図である。 同上組立の第3工程を示す説明図である。 図5のVI−VI線に沿った断面図である。 同上組立の第4工程を示す説明図である。 図7の要部拡大図である。 従来の電動リニアアクチュエータを示す正面図である。
符号の説明
1・・・・・・・・・・・・・電動リニアアクチュエータ
2・・・・・・・・・・・・・ケーシング
2a・・・・・・・・・・・・軸受穴
2b・・・・・・・・・・・・挿通穴
3・・・・・・・・・・・・・電動モータ
3a・・・・・・・・・・・・主軸
4・・・・・・・・・・・・・ねじ軸
4a、5a・・・・・・・・・ねじ溝
4b・・・・・・・・・・・・セレーション
5・・・・・・・・・・・・・ナット
5b・・・・・・・・・・・・平面部
6・・・・・・・・・・・・・ボール
7・・・・・・・・・・・・・ボールねじ
8・・・・・・・・・・・・・ロッド軸
8a、8b・・・・・・・・・連結部
9・・・・・・・・・・・・・連結アーム
9a・・・・・・・・・・・・基端
9b・・・・・・・・・・・・先端部
10・・・・・・・・・・・・転がり軸受
11・・・・・・・・・・・・軸受
12・・・・・・・・・・・・固定ねじ
13・・・・・・・・・・・・開口部
14・・・・・・・・・・・・仮軸
15・・・・・・・・・・・・ナットサブユニット
16・・・・・・・・・・・・取付台
16a・・・・・・・・・・・傾斜部
16b・・・・・・・・・・・鍔部
17・・・・・・・・・・・・嵌合部
18・・・・・・・・・・・・ねじ軸の端部
50・・・・・・・・・・・・ケーシング
51・・・・・・・・・・・・電動モータ
52・・・・・・・・・・・・ねじ軸
52a・・・・・・・・・・・ねじ溝
53・・・・・・・・・・・・ロッド軸
54・・・・・・・・・・・・ボールねじ機構
55・・・・・・・・・・・・凹状部
55a、55b・・・・・・・壁面
56・・・・・・・・・・・・連結アーム
56a・・・・・・・・・・・基端
56b・・・・・・・・・・・先端部
D1・・・・・・・・・・・・ねじ軸の端部の外径
D2・・・・・・・・・・・・仮軸の外径
L1・・・・・・・・・・・・仮軸の全長
L2・・・・・・・・・・・・ケーシングの開口部の幅
R・・・・・・・・・・・・・連結アームの回転半径

Claims (5)

  1. ケーシングに取り付けられた電動モータと、
    この電動モータの主軸と同軸状に結合され、前記ケーシングに対して回転自在に、かつ軸方向移動不可に支持されたねじ軸、およびこのねじ軸に多数のボールを介して外挿され、回転不可に、かつ軸方向移動自在に支持されたナットからなるボールねじと、
    前記ねじ軸と平行に配設され、前記ケーシングに対して軸方向移動自在に支持されたロッド軸と、
    このロッド軸の略中間部に固定され、先端部が前記ナットに係合された連結アームとを備え、
    前記電動モータの回転運動が前記ナットを介して前記ロッド軸の軸方向運動に変換される電動リニアアクチュエータにおいて、
    前記ロッド軸の軸心を回転中心として前記連結アームが回動自在に構成されると共に、前記ナットの外周面の一部に対向して平面部が形成され、前記連結アームの先端部が二股状に形成されて前記平面部を挟持し、前記ナットが回転不可に係合されていることを特徴とする電動リニアアクチュエータ。
  2. 前記ねじ軸と主軸がセレーションを介してトルク伝達可能に、かつ軸方向着脱可能に結合されている請求項1に記載の電動リニアアクチュエータ。
  3. ケーシングに取り付けられる電動モータと、
    この電動モータの主軸と同軸状に結合され、前記ケーシングに対して回転自在に、かつ軸方向移動不可に支持されるねじ軸、およびこのねじ軸に多数のボールを介して外挿され、回転不可に、かつ軸方向移動自在に支持されるナットからなるボールねじと、
    前記ねじ軸と平行に配設され、前記ケーシングに対して軸方向移動自在に支持されたロッド軸と、
    このロッド軸の略中間部に固定され、先端部が前記ナットに係合される連結アームとを備え、
    前記電動モータの回転運動が前記ナットを介して前記ロッド軸の軸方向運動に変換される電動リニアアクチュエータの組立方法において、
    前記ナットのねじ溝にボールが収容され、これらのボールが脱落しないようにパイプ状の仮軸が前記ナットに内挿されてナットサブユニットが組み立てられる工程と、
    前記ロッド軸の軸心を回転中心として前記連結アームが前記ケーシングの開口部から外部に振り子運動で回動された状態で、この連結アームに前記ナットサブユニットのナットが係合されて当該ナットサブユニットが組み立てられる工程を備えていることを特徴とする電動リニアアクチュエータの組立方法。
  4. 前記ナットの外周面に接触する傾斜部と、この傾斜部の両側に鍔部が形成された取付台が前記ケーシングの開口部側に並設されると共に、前記ナットサブユニットが前記取付台に案内された状態で、自重によって当該ナットサブユニットが前記ケーシング内に収容される請求項3に記載の電動リニアアクチュエータの組立方法。
  5. 前記ねじ軸の端部の外径が前記仮軸の外径と略同一に設定されると共に、前記ナットサブユニットが前記ケーシング内に収容された後、前記ねじ軸が回転された状態で前記ケーシングとナットに挿入される請求項3または4に記載の電動リニアアクチュエータの組立方法。
JP2008196926A 2008-07-30 2008-07-30 電動リニアアクチュエータおよびその組立方法 Expired - Fee Related JP5102715B2 (ja)

Priority Applications (1)

Application Number Priority Date Filing Date Title
JP2008196926A JP5102715B2 (ja) 2008-07-30 2008-07-30 電動リニアアクチュエータおよびその組立方法

Applications Claiming Priority (1)

Application Number Priority Date Filing Date Title
JP2008196926A JP5102715B2 (ja) 2008-07-30 2008-07-30 電動リニアアクチュエータおよびその組立方法

Publications (2)

Publication Number Publication Date
JP2010032012A true JP2010032012A (ja) 2010-02-12
JP5102715B2 JP5102715B2 (ja) 2012-12-19

Family

ID=41736717

Family Applications (1)

Application Number Title Priority Date Filing Date
JP2008196926A Expired - Fee Related JP5102715B2 (ja) 2008-07-30 2008-07-30 電動リニアアクチュエータおよびその組立方法

Country Status (1)

Country Link
JP (1) JP5102715B2 (ja)

Cited By (2)

* Cited by examiner, † Cited by third party
Publication number Priority date Publication date Assignee Title
CN103795180A (zh) * 2013-08-05 2014-05-14 炼马机电(深圳)有限公司 一种改良型线性马达驱动器装置
WO2022209260A1 (ja) * 2021-03-31 2022-10-06 日本精工株式会社 ボールねじ装置の製造方法

Citations (5)

* Cited by examiner, † Cited by third party
Publication number Priority date Publication date Assignee Title
JPH02273050A (ja) * 1989-04-14 1990-11-07 Hino Motors Ltd 電動式アクチュエータ
JP2004142684A (ja) * 2002-10-25 2004-05-20 Koyo Seiko Co Ltd 車両用操舵装置
JP2005163922A (ja) * 2003-12-03 2005-06-23 Nsk Ltd アクチュエータ
JP2006322490A (ja) * 2005-05-18 2006-11-30 Honda Motor Co Ltd 電動パーキングロック装置
JP2009079657A (ja) * 2007-09-26 2009-04-16 Ntn Corp 電動リニアアクチュエータおよびその組立方法

Patent Citations (5)

* Cited by examiner, † Cited by third party
Publication number Priority date Publication date Assignee Title
JPH02273050A (ja) * 1989-04-14 1990-11-07 Hino Motors Ltd 電動式アクチュエータ
JP2004142684A (ja) * 2002-10-25 2004-05-20 Koyo Seiko Co Ltd 車両用操舵装置
JP2005163922A (ja) * 2003-12-03 2005-06-23 Nsk Ltd アクチュエータ
JP2006322490A (ja) * 2005-05-18 2006-11-30 Honda Motor Co Ltd 電動パーキングロック装置
JP2009079657A (ja) * 2007-09-26 2009-04-16 Ntn Corp 電動リニアアクチュエータおよびその組立方法

Cited By (4)

* Cited by examiner, † Cited by third party
Publication number Priority date Publication date Assignee Title
CN103795180A (zh) * 2013-08-05 2014-05-14 炼马机电(深圳)有限公司 一种改良型线性马达驱动器装置
JP2015033321A (ja) * 2013-08-05 2015-02-16 リモス(シェンジェン)カンパニーリミテッド リニアアクチュエーター
WO2022209260A1 (ja) * 2021-03-31 2022-10-06 日本精工株式会社 ボールねじ装置の製造方法
US12269133B2 (en) 2021-03-31 2025-04-08 Nsk Ltd. Method of manufacturing ball screw device

Also Published As

Publication number Publication date
JP5102715B2 (ja) 2012-12-19

Similar Documents

Publication Publication Date Title
JP2005207570A (ja) 車輌のレンジ切換え装置
CN1930757B (zh) 直线致动装置和方法
US20080015084A1 (en) Longitudinal motion actuator
JP2009156415A (ja) 電動リニアアクチュエータ
US7007566B2 (en) Actuator for a motor vehicle transmission
CN103392082A (zh) 多轴驱动装置
JP5101227B2 (ja) 電動リニアアクチュエータの組立方法
JP2005083474A (ja) 電動リニアアクチュエータ
WO2019194143A1 (ja) 直動機構及びそれを備えた電動アクチュエータ
JP5102715B2 (ja) 電動リニアアクチュエータおよびその組立方法
JP2008116037A (ja) 電動アクチュエータ
US20220316558A1 (en) Speed reduction mechanism and speed reduction mechanism-equipped motor
WO2018123895A1 (ja) 減速装置、関節装置及びロボットアーム構造
JP2010149573A (ja) 電動パワーステアリング装置
JP2009079653A (ja) 電動アクチュエータ
JP2005321043A (ja) 回転直動変換機構
JP3133718U (ja) 弁駆動用アクチュエータ
KR101747816B1 (ko) 차량의 전동식 브레이크용 롤러 스크류
EP1798106B1 (en) Vehicle mirror device
JP2002317871A (ja) 変速機用電動駆動装置
EP1795396B1 (en) Vehicle mirror device
JP4579096B2 (ja) パワーシートのギヤボックス
JP2008069793A (ja) 電動リニアアクチュエータ
JP4731395B2 (ja) 電動リニアアクチュエータ
KR102845389B1 (ko) 차량의 전자식 파킹 브레이크용 액추에이터의 모터 구동 장치

Legal Events

Date Code Title Description
A621 Written request for application examination

Free format text: JAPANESE INTERMEDIATE CODE: A621

Effective date: 20110629

A977 Report on retrieval

Free format text: JAPANESE INTERMEDIATE CODE: A971007

Effective date: 20120425

A131 Notification of reasons for refusal

Free format text: JAPANESE INTERMEDIATE CODE: A131

Effective date: 20120509

A521 Written amendment

Free format text: JAPANESE INTERMEDIATE CODE: A523

Effective date: 20120706

TRDD Decision of grant or rejection written
A01 Written decision to grant a patent or to grant a registration (utility model)

Free format text: JAPANESE INTERMEDIATE CODE: A01

Effective date: 20120830

A01 Written decision to grant a patent or to grant a registration (utility model)

Free format text: JAPANESE INTERMEDIATE CODE: A01

A61 First payment of annual fees (during grant procedure)

Free format text: JAPANESE INTERMEDIATE CODE: A61

Effective date: 20120928

FPAY Renewal fee payment (event date is renewal date of database)

Free format text: PAYMENT UNTIL: 20151005

Year of fee payment: 3

R150 Certificate of patent or registration of utility model

Free format text: JAPANESE INTERMEDIATE CODE: R150

R250 Receipt of annual fees

Free format text: JAPANESE INTERMEDIATE CODE: R250

LAPS Cancellation because of no payment of annual fees