JP2010031545A - スクリーンの押さえ材 - Google Patents

スクリーンの押さえ材 Download PDF

Info

Publication number
JP2010031545A
JP2010031545A JP2008194693A JP2008194693A JP2010031545A JP 2010031545 A JP2010031545 A JP 2010031545A JP 2008194693 A JP2008194693 A JP 2008194693A JP 2008194693 A JP2008194693 A JP 2008194693A JP 2010031545 A JP2010031545 A JP 2010031545A
Authority
JP
Japan
Prior art keywords
screen
locking groove
pressing
inward protruding
pair
Prior art date
Legal status (The legal status is an assumption and is not a legal conclusion. Google has not performed a legal analysis and makes no representation as to the accuracy of the status listed.)
Granted
Application number
JP2008194693A
Other languages
English (en)
Other versions
JP5049907B2 (ja
JP2010031545A5 (ja
Inventor
Fumio Sasaki
文雄 佐々木
Noboru Sugiyama
登 杉山
Current Assignee (The listed assignees may be inaccurate. Google has not performed a legal analysis and makes no representation or warranty as to the accuracy of the list.)
Seiki Jyuko Co Ltd
Original Assignee
Seiki Jyuko Co Ltd
Priority date (The priority date is an assumption and is not a legal conclusion. Google has not performed a legal analysis and makes no representation as to the accuracy of the date listed.)
Filing date
Publication date
Application filed by Seiki Jyuko Co Ltd filed Critical Seiki Jyuko Co Ltd
Priority to JP2008194693A priority Critical patent/JP5049907B2/ja
Publication of JP2010031545A publication Critical patent/JP2010031545A/ja
Publication of JP2010031545A5 publication Critical patent/JP2010031545A5/ja
Application granted granted Critical
Publication of JP5049907B2 publication Critical patent/JP5049907B2/ja
Active legal-status Critical Current
Anticipated expiration legal-status Critical

Links

Images

Landscapes

  • Overhead Projectors And Projection Screens (AREA)

Abstract

【課題】スクリーン装置において、枠体における係止用溝に厚さが相当に異なる各種のスクリーンであっても固定することができるスクリーンの押さえ材を提供する。
【解決手段】押さえ材10が、一対の対向板13を断面U字形の先端湾曲部14で連結した弾性変形可能な合成樹脂からなる脚部12と、該脚部と一体の覆板部15とを有する。スクリーンを8介して先端湾曲部14を係止用溝2の内向き突縁3間に押入可能な脚部12は、係止用溝への押入完了時にスクリーンを上記内向き突縁との間に挟持するための拡開方向への弾性を有する。対向板13の外面には、上記係止用溝2への押入完了時に内向き突縁3の内端に係止する係止突部16を備える。
【選択図】図1

Description

本発明は、遮光、断熱、防虫、目隠し、装飾、その他の各種目的のために利用されるスクリーン装置の枠体の係止用溝にスクリーンと共に押入し、該スクリーンを枠体に対して固定するためのスクリーンの押さえ材に関するものである。
スクリーン装置の枠体における一対の対向する内向き突縁により口部を狭窄化した係止用溝にスクリーンとともに押入する押さえ材として、例えば、紐状の中空ゴムビードや、合成樹脂で成形した各種断面形状のものが知られているが、それらは、スクリーン装置の枠体の係止用溝に対して所期のほぼ一定の厚さのスクリーンを固定することを前提として構成されたものである。しかしながら、近年は各種用途に各種厚さのスクリーンが提供されるようになり、そのため、各種の厚さのスクリーンをスクリーン枠に対して固定する必要があり、その場合に、上述したような既知の押さえ材を適用すると、スクリーンが薄い場合には押さえ材による固定が緩くなってスクリーンが係止用溝から外れることになり、また、スクリーンが厚い場合には、該スクリーンを押さえ材とともに係止用溝に押入することが困難になる。つまり、一つの押さえ材で固定可能なスクリーンの厚さの幅は極めて小さいものである。
本発明の技術的課題は、スクリーン装置において、枠体における係止用溝に厚さが相当に異なる各種のスクリーンであっても固定することができるスクリーンの押さえ材を提供することにあり、換言すれば、一つの押さえ材で固定可能なスクリーンの厚さの幅を拡大することにある。
上記課題を解決するため、本発明によれば、スクリーン装置の枠体におけるスクリーン張設面に沿う内周に設けられた、一対の対向する内向き突縁により口部を狭窄化してなる係止用溝に、スクリーンとともに押入し、該スクリーンを上記係止用溝に固定するためのスクリーンの押さえ材であって、上記押さえ材が、一対の対向板を断面U字形の先端湾曲部で連結した弾性変形可能な合成樹脂からなる脚部と、該脚部と一体でその一対の対向板の基端部から外向きに突出する一対の覆板部とを有し、上記脚部は、その先端湾曲部がスクリーンを介して上記係止用溝の内向き突縁間に押入可能なものであって、係止用溝への押入完了時にはスクリーンを上記係止用溝の内向き突縁との間に挟持するための拡開方向への弾性を有し、且つ、上記対向板の外面に、上記係止用溝への押入完了時に該係止用溝の内向き突縁の内端に係止する係止突部を備えていることを特徴とするスクリーンの押さえ材が提供される。
また、上記課題を解決するため、本発明によれば、スクリーン装置の枠体におけるスクリーン張設面に沿う内周に設けられた、一対の対向する内向き突縁により口部を狭窄化してなる係止用溝に、スクリーンとともに押入し、該スクリーンを上記係止用溝に固定するためのスクリーンの押さえ材であって、上記押さえ材が、一対の対向板を断面U字形の先端湾曲部で連結した弾性変形可能な合成樹脂からなる脚部と、該脚部と一体でその一対の対向板の基端部から外向きに突出する一対の覆板部とを有する押さえ部材、及び上記対向板間に押入するための押入脚板を有する固定部材によって構成され、上記脚部は、その先端湾曲部がスクリーンを介して上記係止用溝の内向き突縁間に押入可能なものであって、係止用溝への押入完了時にはスクリーンを上記係止用溝の内向き突縁側に押圧する弾性を有し、且つ、上記対向板の外面に、上記係止用溝への押入完了時に該係止用溝の内向き突縁の内端に係止する係止突部を備え、上記固定部材が、係止用溝の内向き突縁間に押入された押さえ部材の一対の対向板間に押し込むことにより、スクリーンを該対向板と上記係止用溝の内向き突縁との間に挟持するに必要な厚さを有していることを特徴とするスクリーンの押さえ材が提供される。
上述した本発明に係るスクリーンの押さえ材においては、上記脚部における対向板の内側面と上記固定部材の外側面とに、上記脚部の対向板間への固定部材の押し込み完了時に相互に係合する係合凹部と係合突子を設けることができる。
また、上記係止突部が、脚部の係止用溝への押入時に該係止用溝の内向き突縁の内端に圧接する傾斜滑面と、該係止用溝への押入完了時に上記内向き突縁に係止する係止縁とを有するものとすることができる。
以上に詳述した本発明のスクリーンの押さえ材によれば、スクリーン装置において、枠体における係止用溝に厚さが相当に異なる各種のスクリーンであっても固定することができるスクリーンの押さえ材を提供することができ、換言すれば、一つの押さえ材で固定可能なスクリーンの厚さの幅を従来の押さえ材に比して大きく拡大することができる。
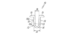
図1及び図2は、本発明に係るスクリーンの押さえ材10を、スクリーン装置の枠体1に対するスクリーン8の固定に適用した第1実施例を示している。このスクリーン装置の枠体1は、窓枠などの建物開口部に摺動自在に、あるいは、固定的に配設されるものである。
上記スクリーン装置の枠体1は、方形の四辺を構成するアルミニウム製又は合成樹脂製の枠材によって形成されたもので、該枠体1におけるスクリーン張設面に沿う内周に設けられた係止用溝2上に、張設するスクリーン8の固定すべき部分を載置した状態で、上記押さえ材10とともにスクリーン8を係止用溝2内に押入して固定するようにしたものである。上記係止用溝2は、一対の対向する内向き突縁3により口部を狭窄化することにより形成している。
上記押さえ材10は、弾性ある合成樹脂の押出し成形により形成され、図1及び図2に明確に示すように、一対の対向板13を断面U字形の先端湾曲部14で連結した弾性変形可能な合成樹脂からなる脚部12と、該脚部12と一体でその一対の対向板13の基端部から外向きに突出する一対の覆板部15とを有するものである。上記脚部12は、その先端湾曲部14がスクリーン8を介して上記係止用溝2の内向き突縁3間に押入可能なものであって、係止用溝2への押入完了時にはスクリーン8を上記係止用溝2の内向き突縁3との間に挟持するための拡開方向への弾性を有している。また、上記一対の対向板13の外側面には、上記係止用溝2への押入完了時に該係止用溝2の内向き突縁3の内端に係止する係止突部16を備えている。
上記係止突部16は、スクリーン8と共に押さえ部材11の脚部12を係止用溝2へ押入するときに、該係止用溝2の内向き突縁3の内端に圧接する傾斜滑面16aと、該係止用溝2への押入完了時に上記内向き突縁3に係止する係止縁16bとを有している。上記傾斜滑面16aは、対向板13に先端湾曲部14側から基端部側に向かって隆起する斜面として形成した物であり、その先端に段差があって、この段差が上記係止縁16bに相当するものである。
上記脚部12の一対の対向板13の外側幅A(図2参照)は、上記係止用溝2の一対の内向き突縁3の対向する間隔に、張設しようとする最大厚さのスクリーン8を介して上記脚部12を押入できる幅であることが必要であるが、この押入を行う場合には、上記脚部12の外側幅Aが該脚部12の弾性変形によって短くなるので、その変形した幅で、上記一対の内向き突縁3の対向する間隔に押入できる厚さのスクリーン8までを、固定の対象にすることができる。
また、係止用溝2に対しスクリーン8を介して脚部12を押入した状態における該脚部12の基部の内側幅は、スクリーン8の厚さにも関連するが、押入前の脚部12の基部の内側幅B(図2参照)よりも狭く、その変形量に応じた反発力で係止用溝2の対向する内向き突縁3との間にスクリーン8を挟持することになる。この場合に、一対の対向板13の基部は、先端湾曲部14から離れているので、内側に大きく弾性変形可能であり、そのため、厚さの薄いスクリーン8から厚さが相当に大きいものまで挟持させることが可能であり、厚さが異なる各種スクリーンの固定に適用することができる。
上述した押さえ材10を用いて、上記枠体1に対してスクリーン8を張設するに際しては、先ず、枠体1上にスクリーン8を載置し、次いで押さえ材10を一つの係止用溝2上のスクリーン8上に置き、上記スクリーン8を押さえ材10で係止用溝2に対して押圧、押入すればよい。これにより、押さえ材10の先端湾曲部14が、スクリーン8を介して係止用溝2の内向き突縁3の内側を通過し、そして、対向板13の外側面の係止突部16の傾斜滑面16aがスクリーン8を介して上記一対の内向き突縁3に当接し、押さえ材10に加わる押圧力により押さえ材10の脚部12の対向板13が内側に弾性変形しながら押入される。上記係止突部16の傾斜滑面16aの全体が係止用溝2の内側を通過すると、脚部12が内側に弾性変形した形で係止用溝2に嵌入した状態になり、上記係止縁16bが係止用溝2の内向き突縁3の内側にスクリーン8を介して係止され、押さえ材10の抜け出しが防止される。そして、この状態で脚部12がスクリーン8を安定的に固定するための拡開方向への弾性を持つように形成されている。
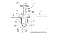
図3及び図4は、本発明に係るスクリーンの押さえ材の第2実施例を示している。この第2実施例のスクリーンの押さえ材20は、上記第1実施例の押さえ材10とほぼ同じ形態の押さえ部材21と、それに付加的に設けた固定部材28とにより構成される。
上記押さえ部材21によりスクリーン8を張設するスクリーン装置の枠体1は、前記第1実施例の場合と同じであるため、第1実施例と同一の符号を付して、その説明は省略する。
上記押さえ部材21は、第1実施例の押さえ材10と同様に、一対の対向板23を断面U字形の先端湾曲部24で連結した弾性変形可能な合成樹脂からなる脚部22と、該脚部22と一体でその一対の対向板23の基端部から外向きに突出する一対の覆板部25とを有し、また、上記対向板23の外面に、係止用溝2への押入完了時に該係止用溝2の内向き突縁3の内端に係止する係止突部26を備えているが、この押さえ部材21の脚部22は、必ずしも、第1実施例の押さえ材10のように、それをスクリーン8とともに枠体1の係止用溝2に押入したときに、スクリーン8を係止用溝2の内向き突縁3との間に挟持するに必要な拡開方向への弾性を有する必要はなく、スクリーン8を係止用溝2の内向き突縁3側に押圧することにより、固定部材28によるスクリーンの固定を容易にする程度の弾性を有していればよい。しかし、上記スクリーン8を挟持するに必要な弾性を有していても、それが何ら支障を来す原因になるものではない。そのため、この押さえ部材21として第1実施例の押さえ材10と同じものを用いることもできる。
この第2実施例の押さえ部材20においては、第1実施例の押さえ材10の脚部12に付与しているところの、スクリーン8を係止用溝2の内向き突縁3との間に挟持するための弾性に代えて、上記対向板23間に、天板28a及び押入脚板28bによって断面T形に形成した固定部材28の該押入脚板28bを押入するように構成している。
更に具体的に説明すると、上記脚部22は、少なくとも、係止用溝2への押入完了時にスクリーン8を係止用溝2の内向き突縁3側に押圧する弾性を有しているため、張設しようとするスクリーン8の厚さに多少の変動があっても、その弾性によりスクリーン8を介して先端湾曲部24を係止用溝2の内向き突縁3間に押入可能なものであり、そして、上記押さえ部材20の脚部22をスクリーンを介して係止用溝2に押入した図3の状態で、上記固定部材28の押入脚板28bを、該係止用溝2に押入された押さえ部材21の一対の対向板23間に押し込むことにより、図4に示すように、押さえ部材20を係止用溝2内に安定的に保持させ、スクリーン8を確実に固定することができる。
上記固定部材28は、それを係止用溝2に押入された押さえ部材21の一対の対向板23間に押入脚板28bを押し込むことにより、スクリーン8を該対向板23と係止用溝2の内向き突縁3との間に挟持させるものであるため、スクリーン8の厚さに応じて、適切な厚さを有するものとする必要がある。張設しようとするスクリーン8の厚さに大きな変動がある場合には、その厚さに応じた押入脚板28bを有する複数の固定部材28を選択的に用いることになる。
また、上記押さえ部材21における脚部22の対向板23の内側面には係合凹部29を設け、上記固定部材28の外側面に、上記脚部の対向板23間への固定部材28の押し込み完了時に上記係合凹部29に係合する係合突子30を設けている。押さえ部材21の対向板23間に上記固定部材28を押入したとき、上記係合凹部29と係合突子30とを係合させておくことにより、固定部材28を上記対向板23間に安定的に保持させることができる。
なお、上記係合凹部29を固定部材28の外面に設け、上記係合突子30を対向板23の内面に設けることもできる。
上記固定部材28は、その押入脚板28bを対向板23間に押入して、固定部材28の外面に設けた上記係合突子30を対向板23の内面に設けた係合凹部29に係合させたとき、天板28aが押さえ部材21の覆板部25の外表面に密接するように形成したものである。
また、上記対向板23の外面には、係止用溝2の内向き突縁3の内端に係止する係止突部26を設けているが、その構成及び作用は、第1実施例の場合と全く変わるところがないので説明を省略する。
本発明の第1実施例に係るスクリーンの押さえ材を用いて、スクリーン装置の枠体の係止用溝にスクリーンとともに挿着した状態を示す断面図である。 同実施例における押さえ材の未挿着状態を示す断面図である。 本発明の第2実施例に係るスクリーンの押さえ材を用いて、スクリーン装置の枠体の係止用溝にスクリーンとともに挿着した状態を示す断面図である。 同実施例に係る押さえ部材を用いてスクリーンとともに係止用溝に挿着する過程を説明するための断面図である。
符号の説明
1 枠体
2 係止用溝
3 内向き突縁
8 スクリーン
10,20 押さえ材
12,22 脚部
13,23 対向板
14,24 先端湾曲部
15,25 覆板部
16,26 係止突部
16a 傾斜滑面
16b 係止縁
28 固定部材
28b 押入脚板
29 係合凹部
30 係合突子

Claims (4)

  1. スクリーン装置の枠体におけるスクリーン張設面に沿う内周に設けられた、一対の対向する内向き突縁により口部を狭窄化してなる係止用溝に、スクリーンとともに押入し、該スクリーンを上記係止用溝に固定するためのスクリーンの押さえ材であって、
    上記押さえ材が、一対の対向板を断面U字形の先端湾曲部で連結した弾性変形可能な合成樹脂からなる脚部と、該脚部と一体でその一対の対向板の基端部から外向きに突出する一対の覆板部とを有し、
    上記脚部は、その先端湾曲部がスクリーンを介して上記係止用溝の内向き突縁間に押入可能なものであって、係止用溝への押入完了時にはスクリーンを上記係止用溝の内向き突縁との間に挟持するための拡開方向への弾性を有し、且つ、上記対向板の外面に、上記係止用溝への押入完了時に該係止用溝の内向き突縁の内端に係止する係止突部を備えている、
    ことを特徴とするスクリーンの押さえ材。
  2. スクリーン装置の枠体におけるスクリーン張設面に沿う内周に設けられた、一対の対向する内向き突縁により口部を狭窄化してなる係止用溝に、スクリーンとともに押入し、該スクリーンを上記係止用溝に固定するためのスクリーンの押さえ材であって、
    上記押さえ材が、一対の対向板を断面U字形の先端湾曲部で連結した弾性変形可能な合成樹脂からなる脚部と、該脚部と一体でその一対の対向板の基端部から外向きに突出する一対の覆板部とを有する押さえ部材、及び上記対向板間に押入するための押入脚板を有する固定部材によって構成され、
    上記脚部は、その先端湾曲部がスクリーンを介して上記係止用溝の内向き突縁間に押入可能なものであって、係止用溝への押入完了時にはスクリーンを上記係止用溝の内向き突縁側に押圧する弾性を有し、且つ、上記対向板の外面に、上記係止用溝への押入完了時に該係止用溝の内向き突縁の内端に係止する係止突部を備え、
    上記固定部材が、係止用溝の内向き突縁間に押入された押さえ部材の一対の対向板間に押し込むことにより、スクリーンを該対向板と上記係止用溝の内向き突縁との間に挟持するに必要な厚さを有している、
    ことを特徴とするスクリーンの押さえ材。
  3. 上記脚部における対向板の内側面と上記固定部材の外側面とに、上記脚部の対向板間への固定部材の押し込み完了時に相互に係合する係合凹部と係合突子を設けた、
    ことを特徴とする請求項2に記載のスクリーンの押さえ材。
  4. 上記係止突部が、脚部の係止用溝への押入時に該係止用溝の内向き突縁の内端に圧接する傾斜滑面と、該係止用溝への押入完了時に上記内向き突縁に係止する係止縁とを有している、
    ことを特徴とする請求項1または2に記載のスクリーンの押さえ材。
JP2008194693A 2008-07-29 2008-07-29 スクリーンの押さえ材 Active JP5049907B2 (ja)

Priority Applications (1)

Application Number Priority Date Filing Date Title
JP2008194693A JP5049907B2 (ja) 2008-07-29 2008-07-29 スクリーンの押さえ材

Applications Claiming Priority (1)

Application Number Priority Date Filing Date Title
JP2008194693A JP5049907B2 (ja) 2008-07-29 2008-07-29 スクリーンの押さえ材

Publications (3)

Publication Number Publication Date
JP2010031545A true JP2010031545A (ja) 2010-02-12
JP2010031545A5 JP2010031545A5 (ja) 2010-07-01
JP5049907B2 JP5049907B2 (ja) 2012-10-17

Family

ID=41736337

Family Applications (1)

Application Number Title Priority Date Filing Date
JP2008194693A Active JP5049907B2 (ja) 2008-07-29 2008-07-29 スクリーンの押さえ材

Country Status (1)

Country Link
JP (1) JP5049907B2 (ja)

Cited By (6)

* Cited by examiner, † Cited by third party
Publication number Priority date Publication date Assignee Title
WO2015140303A1 (fr) * 2014-03-21 2015-09-24 Philippe Chancerel Pièce de jonction
FR3018847A1 (fr) * 2014-03-21 2015-09-25 Philippe Chancerel Systeme d'obturation
FR3018840A1 (fr) * 2014-03-21 2015-09-25 Philippe Chancerel Piece de jonction
CN105822213A (zh) * 2015-01-05 2016-08-03 威可楷(中国)投资有限公司 防蚊虫平行打开窗户
CN110935115A (zh) * 2019-12-17 2020-03-31 江苏澜溪润景环保科技有限公司 一种消防用消防隔热服
KR20240029191A (ko) * 2022-08-26 2024-03-05 주식회사 대영오토 방충망 고정대

Citations (3)

* Cited by examiner, † Cited by third party
Publication number Priority date Publication date Assignee Title
JPS5743749U (ja) * 1980-08-26 1982-03-10
JP2000342081A (ja) * 1999-04-01 2000-12-12 Seiwa:Kk フィルム止め材の押さえ部材
JP2007205153A (ja) * 2006-08-07 2007-08-16 Seiki Hanbai Co Ltd 網戸用ネットの押さえ部材

Patent Citations (3)

* Cited by examiner, † Cited by third party
Publication number Priority date Publication date Assignee Title
JPS5743749U (ja) * 1980-08-26 1982-03-10
JP2000342081A (ja) * 1999-04-01 2000-12-12 Seiwa:Kk フィルム止め材の押さえ部材
JP2007205153A (ja) * 2006-08-07 2007-08-16 Seiki Hanbai Co Ltd 網戸用ネットの押さえ部材

Cited By (8)

* Cited by examiner, † Cited by third party
Publication number Priority date Publication date Assignee Title
WO2015140303A1 (fr) * 2014-03-21 2015-09-24 Philippe Chancerel Pièce de jonction
WO2015140301A1 (fr) * 2014-03-21 2015-09-24 Philippe Chancerel Système d'obturation
FR3018847A1 (fr) * 2014-03-21 2015-09-25 Philippe Chancerel Systeme d'obturation
FR3018840A1 (fr) * 2014-03-21 2015-09-25 Philippe Chancerel Piece de jonction
CN105822213A (zh) * 2015-01-05 2016-08-03 威可楷(中国)投资有限公司 防蚊虫平行打开窗户
CN110935115A (zh) * 2019-12-17 2020-03-31 江苏澜溪润景环保科技有限公司 一种消防用消防隔热服
KR20240029191A (ko) * 2022-08-26 2024-03-05 주식회사 대영오토 방충망 고정대
KR102680211B1 (ko) * 2022-08-26 2024-07-01 주식회사 대영오토 방충망 고정대

Also Published As

Publication number Publication date
JP5049907B2 (ja) 2012-10-17

Similar Documents

Publication Publication Date Title
JP5049907B2 (ja) スクリーンの押さえ材
JP5092013B2 (ja) 支持部材と取付け部材とを結合するための固定エレメント
WO2008018372A1 (en) Holding member for window screen
US4104818A (en) Slide frame
KR20030035849A (ko) 클립
US12281517B2 (en) Bead for a frame member
JP2007205153A5 (ja)
WO2010071503A1 (en) Air filter frame
JP7241457B2 (ja) テープカッター
WO2023165133A1 (zh) 一种用于固定零部件的紧固装置及紧固组件
JP2010031545A5 (ja)
KR910004561B1 (ko) 형 판넬의 마지날 웹 연결용 클램프
JP2017075479A (ja) スクリーン枠に対するスクリーンの取付構造
JP2016061099A (ja) パネル縁材及びパネル取付構造体及び構造物組立方法
JP2019078057A (ja) サッシおよびサッシに防虫網を配置して構成されるサッシ構造体
JP6603379B2 (ja) スライダー構造及びスライダー構造の形成方法
JP5602490B2 (ja) 連結印
JP4856614B2 (ja) スクリーンの押さえ部材
US20080284203A1 (en) Drawing-out profile for a window blind
JP2017193848A (ja) 網体の取付構造及び建具
JP3208481U (ja) 保持手段固定機構
JP2007155014A (ja) 部品固定構造
JP2007092484A (ja) 建具
KR20180055042A (ko) 창짝 유리 고정용 글레이징 비드
JP2000205214A (ja) 嵌め込みクリップ

Legal Events

Date Code Title Description
A521 Request for written amendment filed

Free format text: JAPANESE INTERMEDIATE CODE: A523

Effective date: 20100519

A621 Written request for application examination

Free format text: JAPANESE INTERMEDIATE CODE: A621

Effective date: 20100519

A977 Report on retrieval

Free format text: JAPANESE INTERMEDIATE CODE: A971007

Effective date: 20111014

A131 Notification of reasons for refusal

Free format text: JAPANESE INTERMEDIATE CODE: A131

Effective date: 20111025

A521 Request for written amendment filed

Free format text: JAPANESE INTERMEDIATE CODE: A523

Effective date: 20111226

TRDD Decision of grant or rejection written
A01 Written decision to grant a patent or to grant a registration (utility model)

Free format text: JAPANESE INTERMEDIATE CODE: A01

Effective date: 20120710

A01 Written decision to grant a patent or to grant a registration (utility model)

Free format text: JAPANESE INTERMEDIATE CODE: A01

A61 First payment of annual fees (during grant procedure)

Free format text: JAPANESE INTERMEDIATE CODE: A61

Effective date: 20120723

FPAY Renewal fee payment (event date is renewal date of database)

Free format text: PAYMENT UNTIL: 20150727

Year of fee payment: 3

R150 Certificate of patent or registration of utility model

Ref document number: 5049907

Country of ref document: JP

Free format text: JAPANESE INTERMEDIATE CODE: R150

Free format text: JAPANESE INTERMEDIATE CODE: R150

R250 Receipt of annual fees

Free format text: JAPANESE INTERMEDIATE CODE: R250

R250 Receipt of annual fees

Free format text: JAPANESE INTERMEDIATE CODE: R250

R250 Receipt of annual fees

Free format text: JAPANESE INTERMEDIATE CODE: R250

R250 Receipt of annual fees

Free format text: JAPANESE INTERMEDIATE CODE: R250

R250 Receipt of annual fees

Free format text: JAPANESE INTERMEDIATE CODE: R250

R250 Receipt of annual fees

Free format text: JAPANESE INTERMEDIATE CODE: R250

R250 Receipt of annual fees

Free format text: JAPANESE INTERMEDIATE CODE: R250

R250 Receipt of annual fees

Free format text: JAPANESE INTERMEDIATE CODE: R250

R250 Receipt of annual fees

Free format text: JAPANESE INTERMEDIATE CODE: R250

R250 Receipt of annual fees

Free format text: JAPANESE INTERMEDIATE CODE: R250

R250 Receipt of annual fees

Free format text: JAPANESE INTERMEDIATE CODE: R250