JP2010028891A - 分電盤の負荷名称表示装置 - Google Patents

分電盤の負荷名称表示装置 Download PDF

Info

Publication number
JP2010028891A
JP2010028891A JP2008183677A JP2008183677A JP2010028891A JP 2010028891 A JP2010028891 A JP 2010028891A JP 2008183677 A JP2008183677 A JP 2008183677A JP 2008183677 A JP2008183677 A JP 2008183677A JP 2010028891 A JP2010028891 A JP 2010028891A
Authority
JP
Japan
Prior art keywords
load name
transparent cover
name display
distribution board
branch
Prior art date
Legal status (The legal status is an assumption and is not a legal conclusion. Google has not performed a legal analysis and makes no representation as to the accuracy of the status listed.)
Granted
Application number
JP2008183677A
Other languages
English (en)
Other versions
JP5170759B2 (ja
Inventor
Ikuo Kitahara
郁夫 北原
Current Assignee (The listed assignees may be inaccurate. Google has not performed a legal analysis and makes no representation or warranty as to the accuracy of the list.)
Nitto Kogyo Corp
Original Assignee
Nitto Kogyo Corp
Priority date (The priority date is an assumption and is not a legal conclusion. Google has not performed a legal analysis and makes no representation as to the accuracy of the date listed.)
Filing date
Publication date
Application filed by Nitto Kogyo Corp filed Critical Nitto Kogyo Corp
Priority to JP2008183677A priority Critical patent/JP5170759B2/ja
Publication of JP2010028891A publication Critical patent/JP2010028891A/ja
Application granted granted Critical
Publication of JP5170759B2 publication Critical patent/JP5170759B2/ja
Expired - Fee Related legal-status Critical Current
Anticipated expiration legal-status Critical

Links

Images

Landscapes

  • Distribution Board (AREA)

Abstract

【課題】表示シールでも表示プレートでも対応可能な分電盤の負荷名称表示装置を提供する。
【解決手段】複数並設した分岐ブレーカの操作部を露出する分岐開口部11を複数備えた分電盤用カバー1において、隣り合う分岐開口部11の間に形成した中間板部12の表面を分岐ブレーカの負荷名称表示部12aに形成して、該負荷名称表示部12aを前記中間板部12の両側に係止して取り付けた透明カバー5により覆う。
【選択図】図1

Description

本発明は、分電盤の分岐ブレーカの配線箇所を表示するための分電盤の負荷名称表示装置に関するものである。
従来の分電盤の負荷名称表示装置としては、分電盤の負荷名称表示部に表示シールを貼り付けするもの、負荷名称表示部に表示プレート等を添装したうえ透明保護カバーで覆って取り付けたものがある(例えば、特許文献1参照)。
ところが、前記した表示プレートによるものにあっては、表示プレートを保持するための取付部材が表示部の表面に設けてあるため、これに表示シールにて負荷名称を表示させると、取付部材が目立ってしまい見苦しいという問題がある。また、表示シールを貼り付けものにあっては、表示プレートの取り付ける配慮がされていないものであるため表示プレートにより表示させることができないという問題がある。
特開2006−050899公報
本発明は前記のような問題を解決するためになされたもので、表示シールでも表示プレートでも対応可能な分電盤の負荷名称表示装置を提供する。
本発明の分電盤の負荷名称表示装置は、複数並設した分岐ブレーカの操作部を露出する分岐開口部を複数備えた分電盤用カバーにおいて、隣り合う分岐開口部の間に形成した中間板部の表面を分岐ブレーカの負荷名称表示部に形成して、該負荷名称表示部を前記中間板部の両側に係止して取り付けた透明カバーにより覆うものとしたことを特徴とするものを基本の発明とする。
そして、この発明において、透明カバーは分岐開口部の幅方向全体に渡る長さとして、透明カバーの端部は分岐開口部の端部と当接したことが好ましく、透明カバーを中間板部の両側に係止して取り付ける手段を、中間板部の両側端部に多数形成した放熱孔の一部に透明カバーに設けた爪部を係脱させたものとすることが好ましいものである。また、このような構成において透明カバーの端部を爪部箇所を除き放熱孔を避けて形成することが好ましい。
前記した本発明の分電盤の負荷名称表示装置は、分電盤用カバーの隣り合う分岐開口部の間に形成した中間板部の表面に形成した分岐ブレーカの負荷名称表示部に分岐ブレーカの負荷側の配線箇所を表示して使用するものである。その場合に、工場出荷時には負荷名称表示部に無記名の負荷名称シールを貼って出荷する。そして、施工業者は分電盤を現場に設置した後に具体的な負荷側の配線箇所の名称を書き込んでいくものである。なお、各戸の間取りが一定の集合住宅に設置するものにおいては工場出荷段階から負荷名称シールに予め負荷名称を印字しておいてもよいものである。そして、負荷名称表示部を覆う透明カバーは前記中間板部の両側に係止して取り付けたものであるので、負荷名称表示部に該透明カバーを取り付けるための取付用係止部を不要とするので美感を損なうこともないものである。
また、透明カバーを分岐開口部の幅方向全体に渡る長さとすることにより、透明カバーの端部は分岐開口部の端部と当接し、透明カバーが幅方向にずれることなく位置決めされるものである。
また、本発明においては、前記したとおり負荷名称表示部は前記中間板部の両側に係止して取り付けた透明カバーにより覆うものとしているので、レイアウト変更により印字された名称を変更する場合には、配線工事を済ませた後パソコン等にて作成した負荷名称表示プレートを負荷名称表示部に貼付した負荷名称シールの上に添装して透明カバーにより覆えば負荷名称表示プレートは該透明カバーにより保持されることとなる。
また、透明カバーを中間板部の両側に係止して取り付ける手段を、中間板部の両側端部に多数形成した放熱孔の一部に透明カバーに設けた爪部を係脱させたものとすると、中間板部の両側端部に放熱孔を多数形成した負荷名称シールを貼る既存の分電盤用カバーに透明カバーを用意することにより対応できるものである。
さらに、このような構成において透明カバーの端部を爪部箇所を除き放熱孔を避けて形成することにより、透明カバーが放熱孔を塞ぐ箇所が爪部を係止する放熱孔に限定されて放熱効果を損なうことを最小限とすることができ好ましいものである。
次に、本発明の好ましい実施の形態を図に基づいて説明する。
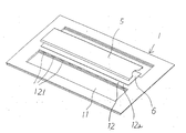
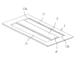
図1は本発明の分電盤の負荷名称表示装置を備えた分電盤を示すものである。この図1において、1は分電盤本体2に搭載した主幹ブレーカ3、分岐ブレーカ4の導電部を絶縁被覆して操作部を露出させる分電盤用カバーである。この分電盤用カバー1は複数並設した分岐ブレーカ4の操作部4aを露出する分岐開口部11を上下に備えたものである。そして、該分電盤用カバー1は隣り合う分岐開口部11、11の間に形成した中間板部12の表面を分岐ブレーカの負荷名称表示部12aに形成している。なお、図示の分電盤用カバー1は主幹用カバーと分岐用カバーに分割して形成して、分岐数の異なる分電盤に主幹用カバーを共通部品で対応できる構成としているが一体であってもよいことは勿論である。
5は前記した負荷名称表示部12aを覆う略コ字状の断面形状の透明カバーであり、該透明カバー5はコ字状の両先端部を前記中間板部12の両側に係止して取り付けたものである。すなわち、中間板部12の両側端部に分岐ブレーカに対応した個数分の放熱孔121の一部に透明カバー5のコ字状の両先端部に設けた爪部51を係脱させたものとしている。
この場合に透明カバー5のコ字状の両先端部の爪部51以外の部分を浅く折り曲げて放熱孔121を避けるような構造として、透明カバー5が放熱孔121を塞ぐ箇所が爪部を係止する放熱孔121に限定して放熱効果を損なうことを最小限とすることができる。このように中間板部12の両側端部に多数形成した放熱孔121の一部に透明カバー5に設けた爪部51を係脱させたものとすると、中間板部12の両側端部に放熱孔121を多数形成した負荷名称シールを貼る既存の分電盤用カバー1に透明カバー5を用意することにより対応できるものである。
なお、放熱孔121を中間板部12の両側端部に形成していなものにあっては、爪部51を係止できる切り欠きを設けたものであってもよい。また、透明カバー5の端部を爪部51のみを突出させ、爪部51以外は放熱孔12を避けた位置で折り曲げて放熱性を確保したものであってもよい。
なお、前記中間板部12の分岐開口部11側である外側端部は内向きに折曲形成されて、折曲部下側に放熱孔121を形成したものである。
また、図示の分電盤は横長のものであるから、分電盤用カバー1の分岐開口部11、11を上下に配置したものであるが、縦長の分電盤においては分電盤用カバー1の分岐開口部11、11を左右に配置されたものであってもよい。
このように構成されたものは、分電盤用カバー1の隣り合う分岐開口部11、11の間に形成した中間板部12の表面に形成した分岐ブレーカ12の負荷名称表示部12aに分岐ブレーカ4の負荷側の配線箇所を表示して使用するものである。
この場合に、工場出荷時には負荷名称表示部12aに無記名の負荷名称シールを貼って出荷する。そして、施工業者は分電盤を現場に設置した後に具体的な負荷側の配線箇所の名称である台所、洗面所、居間、和室、廊下、玄関等を具体的に書き込んでいくものである。なお、各戸の間取りが一定の集合住宅に設置するものにおいては工場出荷段階から負荷名称シールに予め負荷名称を印字しておいてもよいものである。
そして、負荷名称表示部12aを覆う略コ字状の断面形状の透明カバー5は前記中間板部12の両側にコ字状の両先端部を係止して取り付けたもので、負荷名称表示部12aに該透明カバー5を取り付け保持するための取付用係止部を不要とするので美感を損なうこともないものである。
また、前記したとおり負荷名称表示部12aは前記中間板部12の両側に着脱可能とした透明カバー5により覆うものとしているので、レイアウト変更により既に印字された名称を変更する場合には、配線工事を済ませた後パソコン等にて作成した負荷名称表示プレート6を負荷名称表示部12に貼付した負荷名称シールの上に添装して透明カバー5により覆えば負荷名称表示プレート6は該透明カバー5により保持さることとなる。
なお、透明カバー5の長手方向の端部の少なくとも一方には、負荷名称表示プレート6を取り出すための円弧状の切欠き52を設けておくことが好ましい。
また、透明カバー5を分岐開口部11、11の幅方向全体に渡る長さとし、透明カバー5の端部は分岐開口部の端部11a、11aと当接し、透明カバー5に放熱孔121に対応する爪部51を設けなくても幅方向にずれることなく位置決めされるものである。
このように本発明は、負荷名称表示として負荷名称シールと負荷名称表示プレート6の何れも美感を損なうことなく使用することができるものである。
本発明を使用した分電盤を示す斜視図。 本発明の実施形態を示す斜視図。 本発明の実施形態を分解して示す平面図。 本発明の実施形態を分解して示す斜視図。 本発明の実施形態の要部を示す斜視図。 本発明の実施形態に使用する分電盤用カバーを示した図であり、(A)は正面図、(B)は断面図。 本発明の実施形態に使用する透明カバーを正面側から示す斜視図。 本発明の実施形態に使用する透明カバーを背面側から示す斜視図。 本発明の実施形態に使用する透明カバーの爪部を示す斜視図。
符号の説明
1 分電盤用カバー
11 分岐開口部
11a 端部
12 中間板部
121 放熱孔
12a 負荷名称表示部
5 透明カバー
51 爪部
52 切欠き

Claims (4)

  1. 複数並設した分岐ブレーカの操作部を露出する分岐開口部を複数備えた分電盤用カバーにおいて、隣り合う分岐開口部の間に形成した中間板部の表面を分岐ブレーカの負荷名称表示部に形成して、該負荷名称表示部を前記中間板部の両側に係止して取り付けた透明カバーにより覆うものとした分電盤の負荷名称表示装置。
  2. 透明カバーは分岐開口部の幅方向全体に渡る長さとして、透明カバーの端部は分岐開口部の端部と当接したことを特徴とする請求項1に記載の分電盤の負荷名称表示装置。
  3. 透明カバーを中間板部の両側に係止して取り付ける手段を、中間板部の両側端部に多数形成した放熱孔の一部に透明カバーに設けた爪部を係脱させたものとした請求項1又は2に記載の分電盤の負荷名称表示装置。
  4. 透明カバーの両端部を爪部箇所を除き放熱孔を避けて形成した請求項3に記載の分電盤の負荷名称表示装置。
JP2008183677A 2008-07-15 2008-07-15 分電盤の負荷名称表示装置 Expired - Fee Related JP5170759B2 (ja)

Priority Applications (1)

Application Number Priority Date Filing Date Title
JP2008183677A JP5170759B2 (ja) 2008-07-15 2008-07-15 分電盤の負荷名称表示装置

Applications Claiming Priority (1)

Application Number Priority Date Filing Date Title
JP2008183677A JP5170759B2 (ja) 2008-07-15 2008-07-15 分電盤の負荷名称表示装置

Publications (2)

Publication Number Publication Date
JP2010028891A true JP2010028891A (ja) 2010-02-04
JP5170759B2 JP5170759B2 (ja) 2013-03-27

Family

ID=41734169

Family Applications (1)

Application Number Title Priority Date Filing Date
JP2008183677A Expired - Fee Related JP5170759B2 (ja) 2008-07-15 2008-07-15 分電盤の負荷名称表示装置

Country Status (1)

Country Link
JP (1) JP5170759B2 (ja)

Citations (4)

* Cited by examiner, † Cited by third party
Publication number Priority date Publication date Assignee Title
JPH10191511A (ja) * 1996-12-26 1998-07-21 Matsushita Electric Works Ltd カードホルダー
JP2003111215A (ja) * 2001-09-27 2003-04-11 Nitto Electric Works Ltd 分電盤
JP2006050899A (ja) * 2005-10-25 2006-02-16 Kawamura Electric Inc 住宅用分電盤
JP2006166622A (ja) * 2004-12-08 2006-06-22 Nitto Electric Works Ltd 避雷器付分電盤

Patent Citations (4)

* Cited by examiner, † Cited by third party
Publication number Priority date Publication date Assignee Title
JPH10191511A (ja) * 1996-12-26 1998-07-21 Matsushita Electric Works Ltd カードホルダー
JP2003111215A (ja) * 2001-09-27 2003-04-11 Nitto Electric Works Ltd 分電盤
JP2006166622A (ja) * 2004-12-08 2006-06-22 Nitto Electric Works Ltd 避雷器付分電盤
JP2006050899A (ja) * 2005-10-25 2006-02-16 Kawamura Electric Inc 住宅用分電盤

Also Published As

Publication number Publication date
JP5170759B2 (ja) 2013-03-27

Similar Documents

Publication Publication Date Title
JP2016519781A (ja) 複合構造フレームおよび効率的な改造のためにそれを使用する方法
JP6395551B2 (ja) バスダクトの分岐装置及びバスダクトの分岐構造
CA3023895C (en) Double return panel system
JP2017099174A (ja) インバータ装置
JP5070898B2 (ja) 空気調和機
JP5170759B2 (ja) 分電盤の負荷名称表示装置
US20210222438A1 (en) Double return panel system
JP5405260B2 (ja) 電気機器収納用箱体
JP5869852B2 (ja) 壁面据付機器のキャビネット構造
JP2009186111A (ja) 壁面据付型コントローラ装置
JP6906315B2 (ja) 電源装置及び照明装置
JP5142384B2 (ja) 住宅用分電盤
JP2008154332A (ja) インバータ装置
JP7188923B2 (ja) 屋根用端部材
TW200726243A (en) Flat panel display
JP6069824B2 (ja) 家具
JP5615767B2 (ja) 照明具
JP4734156B2 (ja) 電気機器取付用間仕切壁パネル
JP2012017982A (ja) 空気調和機
JP6807759B2 (ja) 電源装置及び照明装置
JP2011241534A (ja) カバーパネルの取付構造
JP4890934B2 (ja) 建物ユニット
JP2025025254A (ja) 照明器具
JP5755008B2 (ja) 電子モジュールの固定方法、交換方法および固定構造
JP3798410B2 (ja) キッチン用の仕切りパネル

Legal Events

Date Code Title Description
A621 Written request for application examination

Free format text: JAPANESE INTERMEDIATE CODE: A621

Effective date: 20110607

A977 Report on retrieval

Free format text: JAPANESE INTERMEDIATE CODE: A971007

Effective date: 20121005

A131 Notification of reasons for refusal

Free format text: JAPANESE INTERMEDIATE CODE: A131

Effective date: 20121012

A521 Request for written amendment filed

Free format text: JAPANESE INTERMEDIATE CODE: A523

Effective date: 20121207

TRDD Decision of grant or rejection written
A01 Written decision to grant a patent or to grant a registration (utility model)

Free format text: JAPANESE INTERMEDIATE CODE: A01

Effective date: 20121221

A61 First payment of annual fees (during grant procedure)

Free format text: JAPANESE INTERMEDIATE CODE: A61

Effective date: 20121221

R150 Certificate of patent or registration of utility model

Ref document number: 5170759

Country of ref document: JP

Free format text: JAPANESE INTERMEDIATE CODE: R150

LAPS Cancellation because of no payment of annual fees