JP2010027545A - ヒューズ - Google Patents

ヒューズ Download PDF

Info

Publication number
JP2010027545A
JP2010027545A JP2008190730A JP2008190730A JP2010027545A JP 2010027545 A JP2010027545 A JP 2010027545A JP 2008190730 A JP2008190730 A JP 2008190730A JP 2008190730 A JP2008190730 A JP 2008190730A JP 2010027545 A JP2010027545 A JP 2010027545A
Authority
JP
Japan
Prior art keywords
fusible body
terminal
fuse
housing
radiating plate
Prior art date
Legal status (The legal status is an assumption and is not a legal conclusion. Google has not performed a legal analysis and makes no representation as to the accuracy of the status listed.)
Granted
Application number
JP2008190730A
Other languages
English (en)
Other versions
JP5189919B2 (ja
Inventor
Shinya Onoda
伸也 小野田
Current Assignee (The listed assignees may be inaccurate. Google has not performed a legal analysis and makes no representation or warranty as to the accuracy of the list.)
Yazaki Corp
Original Assignee
Yazaki Corp
Priority date (The priority date is an assumption and is not a legal conclusion. Google has not performed a legal analysis and makes no representation as to the accuracy of the date listed.)
Filing date
Publication date
Application filed by Yazaki Corp filed Critical Yazaki Corp
Priority to JP2008190730A priority Critical patent/JP5189919B2/ja
Publication of JP2010027545A publication Critical patent/JP2010027545A/ja
Application granted granted Critical
Publication of JP5189919B2 publication Critical patent/JP5189919B2/ja
Expired - Fee Related legal-status Critical Current
Anticipated expiration legal-status Critical

Links

Images

Landscapes

  • Fuses (AREA)

Abstract

【課題】車両振動による可溶体の破損を防止することができるヒューズを提供する。
【解決手段】ヒューズ1は、可溶体2と、一対の端子3a、3bと、ハウジング8とを備えている。ハウジング8は、一対の端子3a、3bと可溶体2とを収容する。可溶体2は、低融点金属6と、周囲より断面積の小さい狭あい部4と、放熱板7と、を備えている。この放熱板7が、可溶体と交差する方向に延びて、その放熱板7の先端部がハウジング8に固定されている。
【選択図】図2

Description

本発明は、可溶体と、可溶体を収容したハウジングとを備えたヒューズに関する。
移動体としての自動車には、車両に搭載された様々な電子機器等に電力を供給する電力供給源としてのバッテリが搭載されている。バッテリは、例えば、自動車のエンジンルーム内に搭載されている。バッテリと、電子機器等に接続された電線等とは、例えば、ヒューズを介して接続される。(例えば、特許文献1参照)
特許文献1に記載されたヒューズは、互いに間隔をあけて配される一対の端子金具と、当該端子金具同士を連結し所定の値を超える電流が流れると溶断する可溶体と、前記端子金具及び可溶体を収容したハウジングと、を備えている。その可溶体には、両端が端子に連なって当該端子と一体に形成された可溶体本体と、該可溶体本体の中央部に取り付けられた低融点金属を包着した部分と、周囲よりも断面積の小さい狭あい部と、放熱板とが備えられている。
前述したヒューズは、可溶体に流れる電流値が所定の電流値を超えると、前記低融点金属が溶けると共に、当該低融点金属と可溶体とが共晶化して抵抗値の大きな合金層を形成し、通電発熱を促進して、可溶体が溶断する。こうして、ヒューズは、可溶体が溶断して、電子機器などに過大な電流が供給されることを防止する。
特開平07−14494号公報
前述した特許文献1などに記載された従来のヒューズは、一対の端子を可溶体の端部と接続して、その端子をハウジングにインサート成形し構成されている。そのため、このような従来のヒューズが自動車等に搭載された際、車両振動によりインサート成形されていない露出している可溶体本体が振動し、可溶体が破損するという問題があった。
また、車両振動により、通電発熱により可溶体が溶断温度付近で加熱された際、可溶体が溶断する電流(溶断電流)以外で溶断されてしまう場合があった。さらに、車両の振動で低融点金属と共晶化した可溶体が下垂したり、飛散したりして、ハウジングの側面やエレメントカバーに接触し、二次ショートの恐れがあった。
したがって、本発明の目的は、車両振動による可溶体の破損を防止することができるヒューズを提供することにある。
前記課題を解決し目的を達成するために、請求項1に記載の本発明のヒューズは、第1端子と、電子機器と接続される第2端子と、前記第1端子および前記第2端子を接続する可溶体と、前記第1および第2端子を支持し、かつ、前記可溶体と間隔をあけたハウジングと、を備えたヒューズにおいて、前記可溶体から当該可溶体と交差する方向に延びて、先端部が前記ハウジングに固定された放熱板を備えたことを特徴としている。
請求項2に記載の本発明のヒューズは、請求項1記載のヒューズにおいて、前記放熱板に接触し、かつ、前記ハウジングから突出するように第2放熱板を設けたことを特徴としている。
請求項3に記載の本発明のヒューズは、請求項2記載のヒューズにおいて、前記放熱板の先端部が、前記ハウジングから露出するように折り曲げて設けられていることを特徴としている。
以上説明したように請求項1に記載の発明によれば、放熱板の先端部が、前記可溶体から当該可溶体と交差する方向に延びて、ハウジングに固定されている。このため、車両振動による可溶体にかかる振動を抑止することができる。そして、溶断部が溶断温度に近い高温状態になった際には、車両の振動により溶断が促進されてしまうのを可溶体に設けた放熱板で防止し、電線回路の損傷を防ぐことができる。したがって、従来できなかった可溶体の幅をより細く、かつ、屈曲させることが可能となり、可溶体の抵抗調整範囲を拡大することができ、幅広い定格の設定をすることができる。
さらに、上述したように、放熱板がハウジングに固定されているので、可溶体に過電流が流れたときに生じる熱(ジュール熱)を放熱板で放熱させると共に、放熱板への伝導熱をハウジングに伝達させて放熱効果をさらに向上させることができる。
請求項2記載の本発明によれば、前記放熱板に接触し、かつ、前記ハウジングから突出するように第2放熱板が設けられているので、放熱板の先端部をハウジングに固定する場合よりも、さらに放熱効果を上げることができる。
請求項3記載の本発明によれば、前記放熱板の先端部が前記ハウジングから露出するように折り曲げて設けられているので、放熱効果をさらに促進させることができる。また、溶断部を連設する配置であっても、放熱板を連設することが可能であり、ハウジングから露出している折り曲げられた放熱板の先端部によって、放熱効果をさらに促進させることができる。
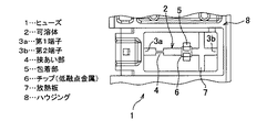
以下、本発明の第1の実施形態にかかるヒューズ1を、図1ないし図5を参照して説明する。本発明の第1の実施形態に係るヒューズ1は、図1に示すように、全体として略L字状に形成されている。ヒューズ1は、第1端子3aと、第2端子3bと、これら一対の端子3(すなわち、第1端子3aおよび第2端子3b)を互いに接続する可溶体2と、一対の端子3および可溶体2を収容したハウジング8とを備えている。
第1端子3aおよび第2端子3bは、それぞれ導電性を有する板金で構成されている。第1および第2端子3a、3bは、互いに間隔をあけて配置されている。第1端子3aには、電源などから電力が供給され、第2端子3bには、各種の電子機器が接続している。
ヒューズ1の可溶体2は、図2および図3に示すように、第1端子3aおよび第2端子3bの一端同士を連結しかつこれら一対の端子3と一体に形成された可溶体本体2aと、該可溶体本体2aに取り付けられた低融点金属で構成されたチップ6と、を備えている。
可溶体本体2aは、第1端子3aおよび第2端子3bとともに、板金に打ち抜き加工や曲げ加工が施されて、これら第1端子3aおよび第2端子3bと一体に形成されている。可溶体本体2aと、第1端子3aおよび第2端子3bは、銅や銅合金などの金属で構成されている。
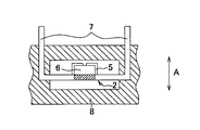
可溶体本体2aは、図2および図3に示すように、周囲より断面積が小さい狭あい部4と、低融点金属で構成されたチップ6を包着する包着部5と、放熱板7とを一体に備えている。
狭あい部4の断面積は、その左右の可溶体本体2a部分の断面積よりも小さい。したがって、狭あい部4の電流密度は、周りの可溶体本体2aの電流密度よりも高い。ゆえに、可溶体2に電流が流れたときに生じる熱(ジュール熱)が、狭あい部4において発生しやすい。
包着部5は、可溶体本体2aの幅方向の両端に連なっている。また、包着部5は、可溶体本体2aの長手方向に互いに位置が重なるように配置されている。さらに、包着部5は、可溶体本体2aと交差する方向に沿って直線状に延在している。前述した構成の包着部5は、その可溶体本体2aの端から離れた側の先端が当該可溶体本体2aに近づけられる方向に曲げられることで、この可溶体本体2aとの間に低融点金属のチップ6を挟みこんで、チップ6を包着する。
低融点金属のチップ6は、前述した第1、第2端子3a、3bや可溶体本体2aを構成する母材(金属)よりも融点の低い金属(例えば、スズやスズ合金など)で構成され、そして、可溶体本体2aの包着部5で包着されている。
放熱板7は、図2および図3に示すように、上述した可溶体本体2aと交差する方向に延びるように、かつ、低融点金属のチップ6を包着している包着部5と第2端子3bとの間に設けられている。そして、その放熱板7の先端部は、図2および図4に示すように、ハウジング8に固定されている。
前述した構成の可溶体2は、第1端子3aから第2端子3bに向かって流れる電流が可溶体2の可溶体本体2aに流れる。つまり、可溶体2の可溶体本体2aに流れる電流は、第1端子3aから入り、狭あい部4を通り、低融点金属のチップ6を包着している包着部5を経て、放熱板7に流れ、そして、第2端子3bから流出する。可溶体2は、第1端子3aおよび第2端子3bの間を流れる電流が、予め定められた所定の電流値を越えて流れると、低融点金属5が溶融して可溶体本体2aの母材と合金層を形成して、電気的な抵抗値を増大させて、最終的に可溶体本体2aの包着部5を溶断する。あるいは、上述したように、狭あい部4においてジュール熱が発生しやすいので、狭あい部4を溶断する。すなわち、可溶体2に流れる電流によって、包着部5または狭あい部4が溶断される。
こうして、可溶体2は、第1端子3aと第2端子3bの間を流れる電流が、予め定められた所定の電流値を越えて流れると、あるいは、予め定められた所定の時間を越えて流れると、溶断して電流の流れを遮断する。
ハウジング8は、ナイロン樹脂やポリプロピレン樹脂等の比較的耐熱性の高い合成樹脂等で構成されており、全体として略L字状に形成されている。ハウジング8は、図4に示すように、可溶体2と間隔をあけて、第1端子3aおよび第2端子3bと可溶体2とを収容する。
前述した構成のヒューズ1は、以下のように組み立てられる。金属の板材に打ち抜き加工や曲げ加工を施して、第1端子3aと、第2端子3bと、可溶体2と、を一体に成形する。その後、可溶体2の可溶体本体2aに設けられた包着部5で低融点金属のチップ6を包着させ、前述した第1端子3aおよび第2端子3bと可溶体2とを組み立てる。そして、これら第1端子3aおよび第2端子3bと、可溶体2と、をハウジング8に固定する。こうして、ヒューズ1が組み立てられる。
このように組み立てられたヒューズ1は、第1端子3aが電源に接続され、第2端子3bが電子機器に接続されて、電源から電子機器供給される電流の電流値が予め定められた電流値を越えると、可溶体2が溶断して、前記電子機器への電流の供給を遮断する。
本実施形態によれば、可溶体2の放熱板7の先端部が、ハウジング8に固定されている。このため、車両振動による図4に示す振動方向Aにかかる振動を抑制することができると共に、可溶体の破損を防止することができる。したがって、従来できなかった可溶体の幅より細く、かつ、屈曲させることができ、同じスペース内での可溶体の定格電流(通電保証電流値)を幅広く設定することが可能となる。よって、例えば、図5に示すように、可溶体をクランク状に形成することもできる。
また、放熱板7を絶縁性のハウジング8に固定することにより、可溶体の熱をさらに吸収することが可能となる。したがって、従来のヒューズよりも、放熱効果をさらに向上させることができると共に、溶断による可溶体の下垂れを防ぐことができる。その結果、ハウジングの側面やエレメントカバーの二次ショートを防止することができる。
次に、本発明の第2の実施形態を、図6に基づいて説明する。なお、前述した第1の実施形態と同一部分には、同一符号を付して説明を省略する。
本実施形態のヒューズ1は、図6に示すように、放熱板7をハウジング8に固定させるだけでなく、その放熱板7と接触させ、かつハウジングから突出するように第2放熱板7aを配置している。第2放熱板7aは、放熱板7と一体成形される。このため、放熱板7の両端をハウジング8に固定するよりも、さらに放熱効果を向上させることができる。
次に、本発明の第3の実施形態を、図7ないし図9に基づいて説明する。なお、前述した第1の実施形態と同一部分には、同一符号を付して説明を省略する。
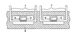
本実施形態のヒューズ1の可溶体2は、図7ないし図9に示すように、可溶体2の放熱板7の先端部が、ハウジングから露出するように折り曲げて設けられている。このため、放熱板7の先端部を折り曲げてハウジング8に配置することにより、可溶体の過電流が流れて溶断する溶断部が連設した場合でも、図9に示すように放熱板7を連設して配置することができ、さらに放熱効果を促進させることが可能である。
前述した実施形態では、全体としてヒューズを略L字形状に形成したが、本発明では、図10および図11に示すヒューズの形状に適用してもよい。ゆえに、図10および図11に示すように、種々の形態のヒューズにも適用することができる。なお、図10および図11において、前述した第1の実施形態と同一部分には、同一符号を付して説明を省略する。
なお、前述した実施形態は本発明の代表的な形態を示したに過ぎず、本発明は、実施形態に限定されるものではない。即ち、本発明の骨子を逸脱しない範囲で種々変形して実施することができる。
本発明の第1の実施形態に係るヒューズを示す斜視図である。 図1に示されたヒューズの平面図である。 図2に示されたヒューズの可溶体の要部を拡大して示す斜視図である。 図2に示されたヒューズの溶断部の断面図である。 図2に示されたヒューズの変形例を示す平面図である。 本発明の第2の実施形態に係るヒューズを示す平面図である。 本発明の第3の実施形態に係るヒューズの可溶体の要部を拡大して示す斜視図である。 図7に示されたヒューズの溶断部の断面図である。 図8に示されたヒューズの溶断部の変形例を示す断面図である。 図1に示されたヒューズの変形例を示す斜視図である。 図1に示されたヒューズの他の変形例を示す斜視図である。
符号の説明
1 ヒューズ
2 可溶体
3 端子
3a 第1端子
3b 第2端子
4 狭あい部
5 包着部
6 チップ(低融点金属)
7 放熱板
7a 第2放熱板
8 ハウジング

Claims (3)

  1. 第1端子と、
    電子機器と接続される第2端子と、
    前記第1端子および前記第2端子を接続する可溶体と、
    前記第1端子および第2端子を支持し、かつ、前記可溶体と間隔をあけたハウジングと、を備えたヒューズにおいて、
    前記可溶体から当該可溶体と交差する方向に延びて、先端部が前記ハウジングに固定された放熱板を備えたことを特徴とするヒューズ。
  2. 前記放熱板に接触し、かつ、前記ハウジングから突出するように第2放熱板が設けられていることを特徴とする請求項1記載のヒューズ。
  3. 前記放熱板の先端部が、前記ハウジングから露出するように折り曲げて設けられていることを特徴とする請求項2記載のヒューズ。
JP2008190730A 2008-07-24 2008-07-24 ヒューズ Expired - Fee Related JP5189919B2 (ja)

Priority Applications (1)

Application Number Priority Date Filing Date Title
JP2008190730A JP5189919B2 (ja) 2008-07-24 2008-07-24 ヒューズ

Applications Claiming Priority (1)

Application Number Priority Date Filing Date Title
JP2008190730A JP5189919B2 (ja) 2008-07-24 2008-07-24 ヒューズ

Publications (2)

Publication Number Publication Date
JP2010027545A true JP2010027545A (ja) 2010-02-04
JP5189919B2 JP5189919B2 (ja) 2013-04-24

Family

ID=41733160

Family Applications (1)

Application Number Title Priority Date Filing Date
JP2008190730A Expired - Fee Related JP5189919B2 (ja) 2008-07-24 2008-07-24 ヒューズ

Country Status (1)

Country Link
JP (1) JP5189919B2 (ja)

Citations (5)

* Cited by examiner, † Cited by third party
Publication number Priority date Publication date Assignee Title
JPH09204870A (ja) * 1996-01-29 1997-08-05 Yazaki Corp ヒユージブルリンクエレメントのヒユーズ可溶体
JPH10112251A (ja) * 1996-10-08 1998-04-28 Yazaki Corp ヒューズ
JP2001325878A (ja) * 2000-05-18 2001-11-22 Yazaki Corp ヒューズエレメント
JP2003257301A (ja) * 2002-03-04 2003-09-12 Yazaki Corp ヒューズ及びヒューズの製造方法
JP2004158377A (ja) * 2002-11-08 2004-06-03 Matsushita Electric Ind Co Ltd 回路保護素子

Patent Citations (5)

* Cited by examiner, † Cited by third party
Publication number Priority date Publication date Assignee Title
JPH09204870A (ja) * 1996-01-29 1997-08-05 Yazaki Corp ヒユージブルリンクエレメントのヒユーズ可溶体
JPH10112251A (ja) * 1996-10-08 1998-04-28 Yazaki Corp ヒューズ
JP2001325878A (ja) * 2000-05-18 2001-11-22 Yazaki Corp ヒューズエレメント
JP2003257301A (ja) * 2002-03-04 2003-09-12 Yazaki Corp ヒューズ及びヒューズの製造方法
JP2004158377A (ja) * 2002-11-08 2004-06-03 Matsushita Electric Ind Co Ltd 回路保護素子

Also Published As

Publication number Publication date
JP5189919B2 (ja) 2013-04-24

Similar Documents

Publication Publication Date Title
JP2872002B2 (ja) ヒューズ
CN106463928A (zh) 电路结构体、连结母线及电连接箱
JP6705396B2 (ja) 温度ヒューズ及び電気接続箱
JP5582357B2 (ja) 電気接続箱
JP5282897B2 (ja) ヒューズ
JP2020161693A (ja) 回路基板及び、回路基板を含む電気接続箱の製造方法
JP5189919B2 (ja) ヒューズ
JP6363974B2 (ja) ヒューズ
JP5437689B2 (ja) ヒュージブルリンクユニット
TW202333178A (zh) 電熔斷器
JP5242241B2 (ja) ヒューズ
JP2006074921A (ja) 電気接続箱
JP6007010B2 (ja) 電線ヒューズ及びその製造方法
JP7470998B2 (ja) 基板表面実装ヒューズ、及び基板表面実装ヒューズの製造方法
JP6570867B2 (ja) ヒューズエレメントターミナル、及び、電気接続箱
JPS6327410Y2 (ja)
JP2008021488A (ja) ヒューズ
JP7426088B2 (ja) ヒューズ
JP2011139568A (ja) 回路構成体及び電気接続箱
JP6257952B2 (ja) 保護素子
JP2024116509A (ja) ヒューズ
JP5402658B2 (ja) 電子装置
JP5955597B2 (ja) 電線ヒューズ及び電線ヒューズの製造方法
JPH10106425A (ja) 薄型ヒュ−ズ
JP2013120683A (ja) 電磁誘導加熱装置の加熱コイルおよび加熱コイル端部の接続端子

Legal Events

Date Code Title Description
A621 Written request for application examination

Free format text: JAPANESE INTERMEDIATE CODE: A621

Effective date: 20110527

A131 Notification of reasons for refusal

Free format text: JAPANESE INTERMEDIATE CODE: A131

Effective date: 20120821

A521 Request for written amendment filed

Free format text: JAPANESE INTERMEDIATE CODE: A523

Effective date: 20121019

TRDD Decision of grant or rejection written
A01 Written decision to grant a patent or to grant a registration (utility model)

Free format text: JAPANESE INTERMEDIATE CODE: A01

Effective date: 20130115

A61 First payment of annual fees (during grant procedure)

Free format text: JAPANESE INTERMEDIATE CODE: A61

Effective date: 20130125

FPAY Renewal fee payment (event date is renewal date of database)

Free format text: PAYMENT UNTIL: 20160201

Year of fee payment: 3

R150 Certificate of patent or registration of utility model

Free format text: JAPANESE INTERMEDIATE CODE: R150

Ref document number: 5189919

Country of ref document: JP

Free format text: JAPANESE INTERMEDIATE CODE: R150

R250 Receipt of annual fees

Free format text: JAPANESE INTERMEDIATE CODE: R250

R250 Receipt of annual fees

Free format text: JAPANESE INTERMEDIATE CODE: R250

R250 Receipt of annual fees

Free format text: JAPANESE INTERMEDIATE CODE: R250

R250 Receipt of annual fees

Free format text: JAPANESE INTERMEDIATE CODE: R250

R250 Receipt of annual fees

Free format text: JAPANESE INTERMEDIATE CODE: R250

R250 Receipt of annual fees

Free format text: JAPANESE INTERMEDIATE CODE: R250

R250 Receipt of annual fees

Free format text: JAPANESE INTERMEDIATE CODE: R250

R250 Receipt of annual fees

Free format text: JAPANESE INTERMEDIATE CODE: R250

S531 Written request for registration of change of domicile

Free format text: JAPANESE INTERMEDIATE CODE: R313531

R350 Written notification of registration of transfer

Free format text: JAPANESE INTERMEDIATE CODE: R350

R250 Receipt of annual fees

Free format text: JAPANESE INTERMEDIATE CODE: R250

LAPS Cancellation because of no payment of annual fees