JP2010027214A - コネクタ、及びコネクタの製造方法 - Google Patents

コネクタ、及びコネクタの製造方法 Download PDF

Info

Publication number
JP2010027214A
JP2010027214A JP2008183449A JP2008183449A JP2010027214A JP 2010027214 A JP2010027214 A JP 2010027214A JP 2008183449 A JP2008183449 A JP 2008183449A JP 2008183449 A JP2008183449 A JP 2008183449A JP 2010027214 A JP2010027214 A JP 2010027214A
Authority
JP
Japan
Prior art keywords
housing
cable
cover
connector
potting agent
Prior art date
Legal status (The legal status is an assumption and is not a legal conclusion. Google has not performed a legal analysis and makes no representation as to the accuracy of the status listed.)
Granted
Application number
JP2008183449A
Other languages
English (en)
Other versions
JP4949332B2 (ja
Inventor
Tomoyuki Totani
友之 戸谷
Akinori Kimura
明紀 木村
Yuichiro Nakamura
裕一郎 中村
Kimiharu Mizusaki
君春 水崎
Kazuya Chiba
和也 千葉
Tetsuya Hirose
哲也 広瀬
Current Assignee (The listed assignees may be inaccurate. Google has not performed a legal analysis and makes no representation or warranty as to the accuracy of the list.)
Honda Motor Co Ltd
Junkosha Co Ltd
Japan Aviation Electronics Industry Ltd
Original Assignee
Honda Motor Co Ltd
Junkosha Co Ltd
Japan Aviation Electronics Industry Ltd
Priority date (The priority date is an assumption and is not a legal conclusion. Google has not performed a legal analysis and makes no representation as to the accuracy of the date listed.)
Filing date
Publication date
Application filed by Honda Motor Co Ltd, Junkosha Co Ltd, Japan Aviation Electronics Industry Ltd filed Critical Honda Motor Co Ltd
Priority to JP2008183449A priority Critical patent/JP4949332B2/ja
Publication of JP2010027214A publication Critical patent/JP2010027214A/ja
Application granted granted Critical
Publication of JP4949332B2 publication Critical patent/JP4949332B2/ja
Expired - Fee Related legal-status Critical Current
Anticipated expiration legal-status Critical

Links

Images

Landscapes

  • Manufacturing Of Electrical Connectors (AREA)
  • Connector Housings Or Holding Contact Members (AREA)

Abstract

【課題】 ポッティング剤の硬化状態を安定させ確実に熱硬化させることができ、ケーブル固定の信頼性を向上すること。
【解決手段】 ハウジング11内でケーブル31を固定するコネクタ1であり、前記ハウジング11は前記ケーブル31を前記ハウジング11の収容部12へ挿通する挿通部13を有し、前記収容部12の開口12fには前記開口12fを閉塞するカバー41が設けられており、前記収容部12には前記ケーブル31を固定する熱硬化性のポッティング剤45が充填されており、更に、前記カバー41を前記ハウジング11へ押え付ける治具55には前記カバー41へ熱を伝える加熱機構56,57を備えている。
【選択図】 図5

Description

本発明は、ケーブルが固定されるコネクタ、及びケーブルを固定するコネクタの製造方法に関する。
関連技術1としては、電線と接続された端子を収容したコネクタハウジングの端子保持部に接着シール剤が充填され、この接着シール剤が超音波加振によって硬化されている防水コネクタが知られている(たとえば、特許文献1を参照)。
特開平11−121084号公報
特許文献1のコネクタでは、超音波により振動させて温度を発生させる原理であり、接着剤のようなゲル状のようなものに超音波を加えても場所によって加わる温度が大きく異なり、接着剤メーカーから提示されている硬化の推奨温度に達しない部分が出てくることがある。
したがって、超音波の振動を利用して接着剤を硬化させる方法では、接着剤の硬化が不安定となるという問題がある。
また、超音波は、超音波を加える樹脂などの材料の状態によって、接着剤へ伝わる温度が異なってくるため、材料ロット毎に条件設定が必要となるという問題がある。
また、超音波にて、300℃近くの温度を部品に加えると部品の破損が懸念され、更に300℃近くの温度に耐えられる材料となると使用する材料が限定されてしまうという問題がある。
それ故に、本発明の課題は、ポッティング剤の熱硬化温度の設定が容易であり、作業性、確実性、及び信頼性を向上することができるコネクタ及びコネクタの製造方法を提供することにある。
本発明の例示的態様によれば、ハウジングと、該ハウジングに保持されるコンタクトと、前記ハウジング内で前記コンタクトと接続するケーブルとを含むコネクタにおいて、前記ハウジングは凹形状の収容部と、該収容部へ前記ケーブルの一端部を挿通し前記収容部に前記ケーブルの前記一端部を収容するよう形成した挿通部とを有し、前記収容部は開口を有し、前記ハウジングには前記開口を覆うカバーが設けられており、前記収容部及び前記カバーによって囲まれた空間部分には、前記ケーブルを固定する熱硬化性のポッティング剤が充填されており、更に、前記ハウジングへ前記カバーを押え付ける治具には、前記カバー及び前記ハウジングへ熱を伝え、前記ポッティング剤を熱硬化させる加熱機構を備えているコネクタであることを最も主要な特徴とする。
また、本発明の例示的態様によれば、ハウジングと、該ハウジングに保持されるコンタクトと、前記ハウジング内で前記コンタクトと接続するケーブルとを含むコネクタの製造方法において、前記ハウジングは凹形状の収容部と、該収容部へ前記ケーブルの一端部を挿通し前記収容部に前記ケーブルの前記一端部を収容するよう形成した挿通部とを有し、前記収容部は開口を有し、前記ケーブルの一端部を前記挿通部に挿通し前記収容部及びカバーによって囲まれた空間部分にセットする工程と、前記開口を覆う前記カバーを前記ハウジングにセットする工程と、加熱機構を有する治具によって前記カバーを前記ハウジングへ押え付ける工程と、前記治具を前記加熱機構によって加熱し前記カバー及び前記ハウジングへ熱を加える工程と、熱硬化性のポッティング剤を前記空間部分に注入して充填し前記ポッティング剤を前記熱により硬化させ前記ケーブルを固定する工程とを含むコネクタの製造方法であることを最も主要な特徴とする。
本発明の例示的態様のコネクタ、及びコネクタの製造方法によれば、加熱機構を有する治具によって一定の温度でカバー及びハウジングを加熱することができ、ポッティング剤の硬化温度に設定することで、硬化時における条件設定が容易になり、ポッティング剤を確実に硬化させることができるという利点がある。
また、本発明の例示的態様のコネクタ、及びコネクタの製造方法によれば、カバー及びハウジングに熱が伝わることによってポッティング剤を熱により硬化させてケーブルをハウジング内で固定するので、ポッティング剤を硬化させるための作業性を向上することができる。
また、本発明の例示的態様のコネクタ、及びコネクタの製造方法によれば、ハウジングへ押し付けた治具によってカバー及びハウジングを加熱することができるので、コネクタを高温槽のような熱処理装置へ移動して熱処理する必要がないことから作業性を向上することができる。
更に、本発明の例示的態様のコネクタ、及びコネクタの製造方法によれば、治具から直接、コネクタへ熱を伝える機構となっていることから、コネクタへ加わる温度の違いがほぼ無くなるので、コネクタ内のポッティング剤の硬化状態が安定し、信頼性が向上するという利点がある。
本発明の例示的態様におけるコネクタは、ハウジングと、該ハウジングに保持されるコンタクトと、前記ハウジング内で前記コンタクトと接続するケーブルとを含むコネクタにおいて、前記ハウジングは凹形状の収容部と、該収容部へ前記ケーブルの一端部を挿通し前記収容部に前記ケーブルの前記一端部を収容するよう形成した挿通部とを有し、前記収容部は開口を有し、前記ハウジングには前記開口を覆うカバーが設けられており、前記収容部及び前記カバーによって囲まれた空間部分には、前記ケーブルを固定する熱硬化性のポッティング剤が充填されており、更に、前記ハウジングへ前記カバーを押え付ける治具には、前記カバー及び前記ハウジングへ熱を伝え、前記ポッティング剤を熱硬化させる加熱機構を備えていることによりに実現した。
また、本発明の例示的態様のコネクタの製造方法は、ハウジングと、該ハウジングに保持されるコンタクトと、前記ハウジング内で前記コンタクトと接続するケーブルとを含むコネクタの製造方法において、前記ハウジングは凹形状の収容部と、該収容部へ前記ケーブルの一端部を挿通し前記収容部に前記ケーブルの前記一端部を収容するよう形成した挿通部とを有し、前記収容部は開口を有し、前記ケーブルの一端部を前記挿通部に挿通し前記収容部及びカバーによって囲まれた空間部分にセットする工程と、前記開口を覆う前記カバーを前記ハウジングにセットする工程と、加熱機構を有する治具によって前記カバーを前記ハウジングへ押え付ける工程と、前記治具を前記加熱機構によって加熱し前記カバー及び前記ハウジングへ熱を加える工程と、熱硬化性のポッティング剤を前記空間部分に注入して充填し前記ポッティング剤を前記熱により硬化させ前記ケーブルを固定する工程とを含むことにより実現した。
図1乃至図4は、本発明に係るコネクタの例示的態様を示している。図1乃至図4を参照して、コネクタ1は、ハウジング11と、ハウジング11に保持されるコンタクト21と、ハウジング11内でコンタクト21と接続するケーブル31と、ハウジング11に設けられるカバー41と、ハウジング11内に充填されるポッティング剤45とを有する。
ハウジング11は、ハウジング11の一面に形成されている凹形状の収容部12と、収容部12へケーブル31の一端部31aを挿通し、収容部12にケーブル31の一端部31aを収容するよう形成した挿通部13とを有する。
収容部12は、互いに平行になるように対向している一対の第1の側壁部12a,12bと、一対の第1の側壁部12a,12bの長手方向における両端のそれぞれを接続している一対の第2の側壁部12c,12dと、第1及び第2の側壁部12a,12b,12c,12dによって囲まれている空間部分を上下に仕切るように形成されている底部15とによって構成されている。
また、ハウジング11には、底部15よりも下側へ延びている第1及び第2の側壁部12a,12b,12c,12dによって囲まれている空間部分が相手コネクタ(図示せず)と嵌合する嵌合部16となっている。
収容部12の上端は、開放されている開口(図3及び図4を参照)12fとなっている。ハウジング11の挿通部13は、開口12f側における一方の第1の側壁部12aの端面から下方へ切り欠きが形成されている部分である。また、挿通部13は、ケーブル31の長手方向と直交するケーブル31の幅方向における寸法よりも少し広い幅寸法となっている。挿通部13には、ケーブル31の一端部31aが収容部12へ収容されるようにケーブル31を挿通する。
収容部12の底部15上には、一方の第1の側壁部12aから他方の第1の側壁部12b側へ延びている複数のブロック部17が形成されている。ブロック部17は、一対の第2の側壁部12c,12d間の方向と平行な方向で複数が互いに間隔をもって形成されている。
コンタクト21は、保持部21aと、保持部21aからハウジング11の底部15上へ延びて収容部12に位置している第1の接続部21bと、保持部21aから嵌合部16へ延びている第2の接続部21cとを有する。
保持部21aは、底部15に保持されている。第2の接続部21cは図示しない相手コネクタの相手コンタクトと接触する。
コンタクト21の第1の接続部21bは、収容部12においてハウジング11の他方の第1の側壁部12bの近傍に配列されており、一対の第2の側壁部12c,12d間の方向と平行な方向で複数が互いに間隔をもって配列されている。
さらに、収容部12には、この収容部12において第1及び第2の側壁部12a,12b,12c,12dの内周面で囲まれた部分よりも少し小さい外周形状をもつ回路基板51が収容されている。回路基板51は、ハウジング11の底部15と平行になるように収容部12に収容される。
回路基板51の一部は、収容部12のブロック部17の上面に置かれている。回路基板51には、コンタクト21の第1の接続部21bを一対一に挿通する複数の貫通孔51aが形成されている。コンタクト21の第1の接続部21bは、貫通孔51aに挿通され回路基板51に保持されている。
回路基板51には、回路導体(図示せず)が設けられている。回路基板51の回路導体には、コンタクト21の第1の接続部21bとケーブル31の一端部31aとが接続されている。即ち、コンタクト21の第1の接続部21bとケーブル31の一端部31aとは、回路基板51の回路導体を介して電気的に接続される。
なお、コンタクト21の第1の接続部21bと回路導体51の回路導体とは半田もしくは回路基板51に形成されるスルーホールに第1の接続部21bを打ち込むなどの方法によって接続され、コンタクト21と回路基板51とが固定される。
カバー41は、収容部12の開口12fを覆っている。収容部12及びカバー41によって囲まれた空間部分には、ケーブル31を固定する熱硬化性のポッティング剤45(図2を参照)が充填されている。
カバー41には、ハウジング11の開口12fの内側で第1及び第2の側壁部12a,12b,12c,12dの内周囲と対向するように環状のリブ41aが設けられている。リブ41aは、ハウジング11の開口12fを閉塞するように開口12fに設けられると収容部12が閉塞される。
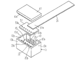
さらに、カバー41には、図5に示すように、カバー41をハウジング11側へ押え付ける治具55が備えられている。治具55には加熱機構が設けられている。加熱機構は、治具55に設けられている加熱部56と、加熱部56へ電源を供給する電源部57とを有する。加熱部56は、具体的には、電気ヒーターを採用し、この電気ヒーターにより治具55を加熱する。
ポッティング剤45は、治具55に設けられている加熱機構によりカバー41からハウジング11へと伝わる熱により硬化する熱硬化性のものである。ポッティング剤45が熱によって硬化した後は、ケーブル31の一端31aと、ハウジング11に設けたカバー41と、ハウジング11とがポッティング剤45により一体に固定される。
ケーブル31としては、複数の芯線を並行に配列し樹脂により帯形状に形成されているケーブルや、FPC(フレキシブル・プリンテッド・サーキット)、FFC(フレキシブル・フラットケーブル)などのケーブルを採用する。カバー41及びハウジング11は、樹脂材を用いて成形型により成形加工を行うことにより作ることができる。
ポッティング剤45は、治具55の加熱機構によりカバー41からハウジング11へ伝わる熱により硬化する熱硬化性のものであればよい。具体的には、ポッティング剤45としてエポキシ系樹脂もしくはシリコン系樹脂を採用する。
以下、上述したコネクタの製造方法を図6をも参照して説明する。まず、図4に示したように、ハウジング11の収容部12には、ハウジング11のブロック部17上に回路基板51の一部が置かれるように回路基板51を収容部12へ収容する。この際、コンタクト21の第1の接続部21bは、回路基板51の貫通孔51aに挿通され、回路基板51に設けられている回路導体と接続する。
その後、ケーブル31の一端部31aを挿通部13に挿通し、収容部12及びカバー41によって囲まれた収容部12を含む空間部分においてケーブル31の一端部31aを回路基板51上にセットする。この際、収容部12には、回路基板51を収容し、コンタクト21の第1の接続部21bとケーブル31の一端部31aを露出したケーブル31の導体とを回路基板51の回路導体に接続する。また、コンタクト21の第1の接続部21bを回路基板51の貫通孔51aへ挿通して回路導体と半田によって接続し、固定する。
次に、図4に示したように、ハウジング11の開口12fを覆うようにカバー41をハウジング11にセットすることで収容部12をカバー41により閉塞する。更に、治具55によってハウジング11側へカバー41を押え付ける。そして、図5に示したように、ハウジング11の挿通部13が上向きになるようにハウジング11を設置する。
次に、治具55の加熱部56へ電源部57から電源を供給し、治具55を加熱し、カバー41からハウジング11へ熱を伝える。この際、カバー41は、治具55によってハウジング11側へ押え付けられているので、カバー41がハウジング11から脱落することがなく、ポッティング剤45の熱硬化作業においてもコネクタ1を高温槽のような熱処理装置へ移動させて加熱処理することなく、次工程以降の工程における作業を行うことができる。
次に、図6に示したように、熱硬化性のポッティング剤45を収容部12へ注入して充填し、ポッティング剤45を熱により硬化させることによって収容部12内においてケーブル31の一端部31aを固定する。
収容部12及びカバー41によって囲まれた空間部分には、挿通部13へ入り込んでいるケーブル31に隣接して挿通部13の隙間から収容部12内へ注入ノズル61を挿入し、収容部12及びカバー41によって囲まれた空間部分内へポッティング剤45を注入し充填する。
この際、注入ノズル61の先端は、コンタクト21の第1の接続部21bの近傍にまで挿入され、図6に示す収容部12の下方からポッティング剤45が順次、充填されていき、除々に、注入ノズル61を挿通部13の方向へ引き上げ移動させ、注入ノズル61の先端を挿通部13まで引き上げたところで、挿通部13までポッティング剤41を充填させると充填作業が完了する。
ポッティング剤45は、流動性を有するため、回路基板51の周りにも隙間なく充填することができる。この充填作業中においては、コンタクト21の第1の接続部21bが回路基板51の貫通孔51aに接続されており、回路基板51がハウジング11のブロック部17上に置かれている。
したがって、回路基板51の貫通孔51aには、コンタクト21の第1の接続部21bがしっかりと保持されることから、ポッティング剤45を充填するときにおいても回路基板51が移動してしまうことがない。
また、ポッティング剤45が熱によって硬化した際には、ハウジング11の開口12fを閉塞したカバー41もポッティング剤45によりハウジング11と一体に固定される。
なお、治具55は、個々のコネクタ1に備えるものであってもよく、複数のコネクタ1へカバー41を同時に押え付けて加熱する治具であってもよい。
また、加熱の順番は、作業工程の状況に合わせ、ポッティング剤45を注入した後に加熱を開始してもよい。
したがって、加熱槽のような限られたスペースにおいて加熱処理する必要がなく、治具55によってカバー41を押え付けた状態で、十分なスペースをもった環境下においてポッティング剤45の熱硬化作業を行うことができる。
さらに、実施例1におけるコンタクト21は、導電性のピン形状のコンタクトである。ピンコンタクトの場合には、ピンコンタクトの第2の接続部21bと接続する相手コネクタの相手コンタクトとしてソケットコンタクトを採用する。
なお、コネクタ1の嵌合部16及びコンタクト21の第2の接続部21cは、実施例1によって説明した形状に限らず、嵌合部16の第1及び第2の側壁部12a,12b,12c,12dを取り除いた形態で、接続相手となる相手回路基板に第2の接続部21cを接続するものであってもよい。
本発明のコネクタは、電子部品を搭載する車両において振動を受ける箇所でハーネス部品と接続するコネクタの用途に適用できる。
本発明の例示的実施形態に係るコネクタの斜視図である。 本発明の例示的実施形態に係るコネクタの側断面図である。 本発明の例示的実施形態に係るコネクタを分解して示した斜視図である。 本発明の例示的実施形態に係るコネクタの組立途中の状態を示した斜視図である。 本発明の例示的実施形態に係る治具を含むコネクタの側断面図である。 本発明の例示的実施形態に係るコネクタの製造方法を説明するための注入ノズルを追加して示した図5のVI-VI線断面図である。
符号の説明
1 コネクタ
11 ハウジング
12 収容部
12b 第1の接続部
12f 開口
13 挿通部
21 コンタクト
31 ケーブル
31a ケーブルの一端部
41 カバー
45 ポッティング剤
51 回路基板
51a 貫通孔
55 治具
56 加熱部(加熱機構)
57 電源部(加熱機構)

Claims (4)

  1. ハウジングと、該ハウジングに保持されるコンタクトと、前記ハウジング内で前記コンタクトと接続するケーブルとを含むコネクタにおいて、
    前記ハウジングは凹形状の収容部と、該収容部へ前記ケーブルの一端部を挿通し前記収容部に前記ケーブルの前記一端部を収容するよう形成した挿通部とを有し、前記収容部は開口を有し、前記ハウジングには前記開口を覆うカバーが設けられており、前記収容部及び前記カバーによって囲まれた空間部分には、前記ケーブルを固定する熱硬化性のポッティング剤が充填されており、更に、前記ハウジングへ前記カバーを押え付ける治具には、前記カバー及び前記ハウジングへ熱を伝え、前記ポッティング剤を熱硬化させる加熱機構を備えていることを特徴とするコネクタ。
  2. 請求項1記載のコネクタ装置において、前記収容部には、回路基板が収容されており、前記コンタクトと前記ケーブルの前記一端部とは、前記回路基板の回路導体を介して互いに接続されていることを特徴とするコネクタ。
  3. ハウジングと、該ハウジングに保持されるコンタクトと、前記ハウジング内で前記コンタクトと接続するケーブルとを含むコネクタの製造方法において、
    前記ハウジングは凹形状の収容部と、該収容部へ前記ケーブルの一端部を挿通し前記収容部に前記ケーブルの前記一端部を収容するよう形成した挿通部とを有し、前記収容部は開口を有し、前記ケーブルの一端部を前記挿通部に挿通し前記収容部及びカバーによって囲まれた空間部分にセットする工程と、前記開口を覆う前記カバーを前記ハウジングにセットする工程と、加熱機構を有する治具によって前記カバーを前記ハウジングへ押え付ける工程と、前記治具を前記加熱機構によって加熱し前記カバー及び前記ハウジングへ熱を加える工程と、熱硬化性のポッティング剤を前記空間部分に注入して充填し前記ポッティング剤を前記熱により硬化させ前記ケーブルを固定する工程とを含むことを特徴とするコネクタの製造方法。
  4. 請求項3記載のコネクタの製造方法において、前記ケーブルの一端部を前記挿通部に挿通し前記収容部及び前記カバーによって囲まれた前記空間部分にセットする工程で、前記収容部に回路基板を収容し前記コンタクトと前記ケーブルの一端部とを前記回路基板の回路導体を介して互いに接続することを特徴とするコネクタの製造方法。
JP2008183449A 2008-07-15 2008-07-15 コネクタ、及びコネクタの製造方法 Expired - Fee Related JP4949332B2 (ja)

Priority Applications (1)

Application Number Priority Date Filing Date Title
JP2008183449A JP4949332B2 (ja) 2008-07-15 2008-07-15 コネクタ、及びコネクタの製造方法

Applications Claiming Priority (1)

Application Number Priority Date Filing Date Title
JP2008183449A JP4949332B2 (ja) 2008-07-15 2008-07-15 コネクタ、及びコネクタの製造方法

Publications (2)

Publication Number Publication Date
JP2010027214A true JP2010027214A (ja) 2010-02-04
JP4949332B2 JP4949332B2 (ja) 2012-06-06

Family

ID=41732875

Family Applications (1)

Application Number Title Priority Date Filing Date
JP2008183449A Expired - Fee Related JP4949332B2 (ja) 2008-07-15 2008-07-15 コネクタ、及びコネクタの製造方法

Country Status (1)

Country Link
JP (1) JP4949332B2 (ja)

Cited By (2)

* Cited by examiner, † Cited by third party
Publication number Priority date Publication date Assignee Title
WO2011099377A1 (en) 2010-02-10 2011-08-18 Canon Kabushiki Kaisha Analyzing method of phase information, analyzing program of the phase information, storage medium, and x-ray imaging apparatus
JP2012038607A (ja) * 2010-08-09 2012-02-23 Tyco Electronics Japan Kk 防水型電気コネクタ、防水型電気コネクタの組み立て方法

Citations (3)

* Cited by examiner, † Cited by third party
Publication number Priority date Publication date Assignee Title
JPH11121084A (ja) * 1997-10-09 1999-04-30 Yazaki Corp 防水コネクタ及びその製造方法
JP2004139882A (ja) * 2002-10-18 2004-05-13 Ubukata Industries Co Ltd 気密端子ユニット
JP2005082090A (ja) * 2003-09-10 2005-03-31 Tyco Electronics Amp Kk コネクタ

Patent Citations (3)

* Cited by examiner, † Cited by third party
Publication number Priority date Publication date Assignee Title
JPH11121084A (ja) * 1997-10-09 1999-04-30 Yazaki Corp 防水コネクタ及びその製造方法
JP2004139882A (ja) * 2002-10-18 2004-05-13 Ubukata Industries Co Ltd 気密端子ユニット
JP2005082090A (ja) * 2003-09-10 2005-03-31 Tyco Electronics Amp Kk コネクタ

Cited By (2)

* Cited by examiner, † Cited by third party
Publication number Priority date Publication date Assignee Title
WO2011099377A1 (en) 2010-02-10 2011-08-18 Canon Kabushiki Kaisha Analyzing method of phase information, analyzing program of the phase information, storage medium, and x-ray imaging apparatus
JP2012038607A (ja) * 2010-08-09 2012-02-23 Tyco Electronics Japan Kk 防水型電気コネクタ、防水型電気コネクタの組み立て方法

Also Published As

Publication number Publication date
JP4949332B2 (ja) 2012-06-06

Similar Documents

Publication Publication Date Title
US7739791B2 (en) Method of producing an overmolded electronic module with a flexible circuit pigtail
JP5573928B2 (ja) モジュール機器と外部との電気接続構造
US5590463A (en) Circuit board connectors
KR100474841B1 (ko) 배선접속방법 및 배선접속구조
KR101984729B1 (ko) 이중사출구조의 케이블 커넥터의 제조방법 및 이에 의해 제조된 케이블 커넥터
CN103534881A (zh) 连接器、连接器的制造方法、线束及布线材料和连接对象部件的连接方法
CN101950865B (zh) 扁平电缆用连接器、线束以及线束的制造方法
JP5380749B2 (ja) ワイヤハーネス及びその製造方法
TWI566481B (zh) The use of waterproof colloid fixed connection terminals and circuit board signal connector
WO2010032341A1 (ja) コネクタ装置
JP4604091B2 (ja) 電子装置
CN102870287A (zh) 用于机动车辆的电动组件连接器
CN110800093A (zh) 电路装置、电路装置的制造方法以及连接器
CN101401263B (zh) 电线连接结构
JP4949332B2 (ja) コネクタ、及びコネクタの製造方法
KR101392997B1 (ko) 방수형 리셉터클 커넥터
CN115995740B (zh) 一种用于配备有端子的电线的制造方法
AU2007300361A1 (en) Submersible accessory connector
JP5688976B2 (ja) ホットメルト要素を有して成る電気要素、このような電気要素を製造するための方法および治具
KR101626371B1 (ko) 카메라용 케이블 조립체 및 카메라용 케이블 조립체의 제작방법
JP6743270B2 (ja) レーザー溶接接続部を形成する方法および構成部材複合体
JP5117499B2 (ja) 電気器具用防水ケース、及び該防水ケースの製造方法
JP2008192359A (ja) フラットケーブル
JP2014239102A (ja) 電子制御装置および電子制御ユニット
WO2018012238A1 (ja) 電気接続アセンブリの製造方法

Legal Events

Date Code Title Description
A977 Report on retrieval

Free format text: JAPANESE INTERMEDIATE CODE: A971007

Effective date: 20110325

A131 Notification of reasons for refusal

Free format text: JAPANESE INTERMEDIATE CODE: A131

Effective date: 20110330

A521 Request for written amendment filed

Free format text: JAPANESE INTERMEDIATE CODE: A523

Effective date: 20110518

A02 Decision of refusal

Free format text: JAPANESE INTERMEDIATE CODE: A02

Effective date: 20111012

A521 Request for written amendment filed

Free format text: JAPANESE INTERMEDIATE CODE: A523

Effective date: 20111216

A521 Request for written amendment filed

Free format text: JAPANESE INTERMEDIATE CODE: A523

Effective date: 20111227

A911 Transfer to examiner for re-examination before appeal (zenchi)

Free format text: JAPANESE INTERMEDIATE CODE: A911

Effective date: 20120130

TRDD Decision of grant or rejection written
A01 Written decision to grant a patent or to grant a registration (utility model)

Free format text: JAPANESE INTERMEDIATE CODE: A01

Effective date: 20120229

A01 Written decision to grant a patent or to grant a registration (utility model)

Free format text: JAPANESE INTERMEDIATE CODE: A01

A61 First payment of annual fees (during grant procedure)

Free format text: JAPANESE INTERMEDIATE CODE: A61

Effective date: 20120307

FPAY Renewal fee payment (event date is renewal date of database)

Free format text: PAYMENT UNTIL: 20150316

Year of fee payment: 3

R150 Certificate of patent or registration of utility model

Ref document number: 4949332

Country of ref document: JP

Free format text: JAPANESE INTERMEDIATE CODE: R150

Free format text: JAPANESE INTERMEDIATE CODE: R150

R250 Receipt of annual fees

Free format text: JAPANESE INTERMEDIATE CODE: R250

R250 Receipt of annual fees

Free format text: JAPANESE INTERMEDIATE CODE: R250

R250 Receipt of annual fees

Free format text: JAPANESE INTERMEDIATE CODE: R250

R250 Receipt of annual fees

Free format text: JAPANESE INTERMEDIATE CODE: R250

R250 Receipt of annual fees

Free format text: JAPANESE INTERMEDIATE CODE: R250

R250 Receipt of annual fees

Free format text: JAPANESE INTERMEDIATE CODE: R250

R250 Receipt of annual fees

Free format text: JAPANESE INTERMEDIATE CODE: R250

R250 Receipt of annual fees

Free format text: JAPANESE INTERMEDIATE CODE: R250

LAPS Cancellation because of no payment of annual fees