JP2010024635A - たて樋用支持金具 - Google Patents

たて樋用支持金具 Download PDF

Info

Publication number
JP2010024635A
JP2010024635A JP2008184237A JP2008184237A JP2010024635A JP 2010024635 A JP2010024635 A JP 2010024635A JP 2008184237 A JP2008184237 A JP 2008184237A JP 2008184237 A JP2008184237 A JP 2008184237A JP 2010024635 A JP2010024635 A JP 2010024635A
Authority
JP
Japan
Prior art keywords
brackets
bracket
wall
seat plate
pair
Prior art date
Legal status (The legal status is an assumption and is not a legal conclusion. Google has not performed a legal analysis and makes no representation as to the accuracy of the status listed.)
Granted
Application number
JP2008184237A
Other languages
English (en)
Other versions
JP4834696B2 (ja
Inventor
Hiroyoshi Onishi
洋義 太西
Yoshio Onishi
義男 太西
Isao Tsukamoto
伊三男 塚本
Nagafumi Tamezawa
長史 爲沢
Current Assignee (The listed assignees may be inaccurate. Google has not performed a legal analysis and makes no representation or warranty as to the accuracy of the list.)
Inoue Shoji KK
Original Assignee
Inoue Shoji KK
Priority date (The priority date is an assumption and is not a legal conclusion. Google has not performed a legal analysis and makes no representation as to the accuracy of the date listed.)
Filing date
Publication date
Application filed by Inoue Shoji KK filed Critical Inoue Shoji KK
Priority to JP2008184237A priority Critical patent/JP4834696B2/ja
Publication of JP2010024635A publication Critical patent/JP2010024635A/ja
Application granted granted Critical
Publication of JP4834696B2 publication Critical patent/JP4834696B2/ja
Active legal-status Critical Current
Anticipated expiration legal-status Critical

Links

Images

Landscapes

  • Supports Or Holders For Household Use (AREA)
  • Clamps And Clips (AREA)

Abstract

【課題】たて樋の長手方向所望位置、ことに所要の間隔で配されて壁から延出する壁側支持金具と正対する位置でたて樋の溝形レールにほぼワンタッチでセットし、同時に壁側支持金具と連結固定することができ、きわめて簡単で能率的に樋と壁側の金具とを連結固定できる構造簡易な固定金具を提供する。
【解決手段】筒状本体の一側に沿って一対の溝形レールを設けたたて樋を所定長さ毎に壁側にアンカーされた支持金具と連結するための手段であって、樋の溝形レール上に置かれ溝形レールの長手方向と平行な長穴を有する座プレートと、下端に外向きL状の引っ掛け足を有し、上部には壁側の支持金具と対向すべき連結面部を有し、引っ掛け足が座プレートの下面側にあるように座プレートの長穴を傾動可能に挿通して座プレート上方に延在させられた一対の挟みブラケットと、前記挟みブラケットの連結面部両側に位置し、挟みブラケットの下方への抜け及びブラケット相互の間隔を規制するスペーサ部材を備えている。
【選択図】図4

Description

本発明はたて樋用支持金具に関する。
建屋におけるたて樋として、合成樹脂あるいはアルミニウム押出し材を利用したものがある。このたて樋は控えバンドを用いないので、シャープですっきりとした意匠を創成できることから利用が増す傾向にある。
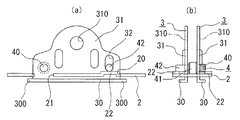
たて樋は、図1のように、円形断面または角形断面をなした筒状本体1の一側に、半径方向に突出して先端が内方に水平状に屈曲した一対の溝形レール10を一体形成しており、前記溝形レールが壁A側に向くように筒状本体1を垂直状に立て、所要の間隔たとえば1200mmごとに支持機構Bにより壁体に連結支持するようになっている。
前記支持機構Bは、たとえば、壁体Aに埋め込まれるグリップアンカーB1と、これの先端に取り付けられる壁側支持金具(たとえば羽子板)B2と、溝形レール10の所望位置に固定され、前記壁側支持金具B2と連結される樋側支持金具とから構成される。
従来の樋側支持金具B3は、図1と図2のように、溝形レール10に対応する幅を有するとともに長手方向の両端に挿脱用割溝B3−10を入れてヨーク状部を形成したプレートB3−1と、溝形レール10の内寸に対応する大きさの頭部を有する六角ボルトB3−2と、六角ボルトB3−2の雄ねじ軸B3−20に嵌まるワッシャーB3−3とナットB3−4からなっていた。
この支持金具B3は、基本的には、六角ボルトB3−2の頭部を下にして溝形レール10の長手方向端から内部に挿入し、溝形レール10の中央の開口溝から突出する雄ねじ軸B3−20にプレートB3−1の挿脱用割溝B3−10を横から挿し合わせ、ワッシャーB3−3とナットB3−4をはめ込み螺合して溝形レールに組付けるようになっており、通常は、図2のように、予め六角ボルトB3−2の雄ねじ軸をプレートB3−1の挿脱用割溝B3−10にはめ、ワッシャーとナットをはめ込み螺合して仮組立し、この状態で溝形レール10に組み込み使用している。
しかし、溝形レール10の長手方向端部、すなわちいちいちたて樋1の端末部から六角ボルト頭部を挿入しなければならないので、面倒で、作業性が悪い。しかも、所要の間隔ごとに配された壁側支持金具との連結のためには、支持金具B3を溝形レール10に仮止めし、その状態を保ちながら溝形レール10そってスライドすることが必要となるので、工程が複雑になる。
仮止め作業も、六角ボルトB3−2の雄ねじ軸に対するナットB3−4の回動具合で六角ボルトB3−2の頭部下面と溝形レールの水平部内面との接触圧で固定力を調整しなければならず、緩めすぎにより仮止め作用が乏しくなってプレートB3−1がスライドし、その際に下向きの挿脱用割溝B3−10から六角ボルトB3−2の雄ねじ軸が離脱して溝形レール10内で落下してしまったり、調整の際にナットB3−4が雄ねじ軸から外れてしまったりするトラブルが多くなる。
本発明は前記のような問題点を解消するためになされたもので、その目的とするところは、たて樋の長手方向所望位置、ことに高さ方向所要間隔で配されて壁から延出する壁側支持金具の位置においてたて樋の溝形レールにほぼワンタッチでセットできると同時に壁側支持金具と連結固定することができ、きわめて簡単かつ能率的に樋と壁側の金具との連結固定を行える構造簡易な固定金具を提供することにある。
上記目的を達成するため本発明は、筒状本体の一側に沿って一対の溝形レールを設けたたて樋を所定長さ毎に壁側にアンカーされた支持金具と連結するための手段であって、樋の溝形レール上に置かれ溝形レールの長手方向と平行な長穴を有する座プレートと、下端に外向きL状の引っ掛け足を有し、上部には壁側の支持金具と対向すべき連結面部を有し、引っ掛け足が座プレートの下面側にあるように座プレートの長穴を傾動可能に挿通して座プレート上方に延在させられた一対の挟みブラケットと、前記挟みブラケットの連結面部両側に位置し、挟みブラケットの下方への抜けを規制するスペーサ部材を備えていることを特徴としている。
本発明は、下端に外向きL状の引っ掛け足を有する一対の挟みブラケットを備え、それら挟みブラケットがスペーサ部材により下方への抜け止めがなされた状態で座プレートに傾動可能に挿通されているので、羽子板などの壁側支持金具が突出しているたて樋の所定箇所において、一対の挟みブラケットの連結用部同士の間隔を広げることにより、外向きL状の引っ掛け足が溝形レール内に挿入されるとともに、入り口溝下面に引っ掛けられる。この操作は、壁と樋との狭いスペースであっても横から簡単に行なうことができる。
挟みブラケットの上部を閉じれば、壁側支持金具が挟みブラケット間に挟み込まれるので、連結用部と壁側支持金具にボルトナットを通して締結すればよく、これで溝形レールと支持金具及び壁側支持金具を一挙に強固に固定することができる。
本発明は、従来のように、金具の溝形レールへの仮止めを行い、この状態を維持したまま支持羽子板との連結位置に移動して溝形レールに本固定し、それから壁側支持金具と連結するといった複雑な工程を取る必要がなくなるので、簡易、迅速なたて樋設置工事を可能とすることができる。
スペーサ部材は、一方の挟みブラケットに固定される一端部40と、一対のブラケットの間において座プレートに接する規制用部41を備えている。
これによれば、簡単な構造で挟みブラケットの落下防止と間隔規制を行なうことができる。
また、スペーサ部材は、一対の挟みブラケット間に渡され、一方の挟みブラケットに固定される一端部と、一対のブラケットの間において座プレートに接する規制用部と、他方のブラケットに設けた縦長孔に挿脱可能に嵌まる他端部とを備えている。
これによれば、他方のブラケットに設けた縦長孔に挿脱可能に嵌まる他端部を有するため、挟みブラケットの左右方向のずれも防止することができ、かつ、座プレートの他端部の下面に対応して凸部を設けることにより、他端部が凸部で支持されるので、挟みブラケットの前後方向(板厚方向)からの力に対して強度を保持することができる。
以下添付図面を参照して本発明の実施例を説明する。
図3〜図5は本発明を適用したたて樋施工の完成状態を示しており、Bは壁側支持金具であり、B1は壁体Aに埋め込まれるグリップアンカー、B2はグリップアンカーの先端に取り付けられ壁Aから突出した支持羽子板である。
Cはたて樋本体1に一体形成されている溝形レール10の所定位置において前記支持羽子板B2とボルトナット6で連結された本発明にかかる樋用支持金具である。
溝形レール10は、たて樋本体1の外周から半径方向に延出するウエブ100とこれの先端から内方水平方向に屈曲したフランジ101を有する一対の突片からなっており、フランジ101、101間に入口溝102が形成され、ウエブ100、100間が入口溝102より幅の広い係止用の内寸となっている。
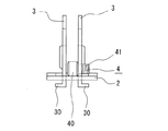
本発明にかかる樋用支持金具Cは、図6と図7に単体の状態を示しており、溝形レール10の幅と同程度以上の幅を有し、溝形レールのフランジ101、101上に当接される長方形状の座プレート2と、下端に前記ウエブ100に係合するための外向きL状の引っ掛け足30を有し、上部には壁側の支持金具この例では羽子板B2と対向しこれを挟んで連結するための連結面部31を有する一対の挟みブラケット3,3と、前記挟みブラケット3,3間に渡された2つのスペーサ部材4,4を備えている。
前記座プレート2は、溝形レール10の長手方向と平行な長方形状の2本の長穴20,20を有しており、長穴20、20の間は帯板部23が設けられている。前記挟みブラケット3,3は長穴20,20の下方からこれらを挿通して上方へと延在させられている。
長穴20は、挟みブラケット3が挿通された状態での傾斜できるように板厚よりも十分に幅が大きく構成されている。
前記外向きL状の引っ掛け足30は、長穴20の長さよりも大きく、引っ掛け足30の両端部300,300が座プレート2の下面に当接して、上方への抜け止めが図られるようになっている。
連結面部31は座プレート2の上方に十分な長さ突出し、中央部に、羽子板B2の長穴からなる通孔bと合致する通孔310を有し、これらにボルト60が挿通され、ナット61で締結されるようになっている。連結面部31は、場合によっては長穴20の端に位置する部分が内向きに屈曲し、帯板部23の上面に当接する爪となっていてもよい。これは、強度向上のほか、挟みブラケット3の落下防止の一助になる。
スペーサ部材4,4は、一対の挟みブラケット3,3における連結面部31の両側部位間に位置され、挟みブラケット3,3の下方への抜け止めと、ブラケット相互の間隔を規制する役目を果たす手段であり、この実施例では特殊な軸状部材を用いている。
すなわち、一方の挟みブラケット3に固定される一端部40と、一対のブラケットの間において座プレート2の上面に接する径大な規制用部41と、他方のブラケット3に設けた縦長孔に挿脱可能に嵌まる他端部42とを連続形成している。
一端部40はこの例では雄ねじ軸として構成され、挟みブラケット3,3の下端部付近に設けた雌ねじ孔に螺通されている。2つのスペーサ部材4,4の一端部40は、図6のように、左右対称に配置されている。
そして、挟みブラケット3,3を、下端の引っ掛け足30、30の間隔を狭めるべく、上部を間隔広げ側に傾転できるようにするため、一端部40に対応する箇所の長穴部位には、座プレート縁部に達する切欠き21が形成され、ここに一端部40が斜めに挿通できるようになっている。
他端部42はねじのない軸(ピン)として構成され、挟みブラケット3,3が直立したときに、相手ブラケット3を貫通する長さを有している。そして、前記のように挟みブラケット3,3の間隔を広げるべく傾転したときに挟みブラケット3から自動的に抜け出し、挟みブラケット3,3が直立したときには自動的にブラケットを貫通することができるように、ブラケット3に縦長孔32が設けられている。
そして、縦長孔32の先の座プレート上には、図6や図7に示すように縦長孔32から突出した他端部42の下面を受支する凸部22が打出し加工などにより設けられており、この凸部22で他端部42を支えることにより強度バランスが取れ、挟みブラケット3,3の片側から力が作用したときに倒れなどが生じないようにしている。
次に本発明の使用法と作用を説明すると、図8と図9は樋用支持金具Cをたて樋にセットするとともに壁側支持金具と連結固定する工程を示しており、たて樋を壁Aと平行状となるように配置し、溝形レール10が壁Aに対峙するように位置決め保持する。このとき、壁側に所定間隔で埋め込んであるアンカーB1にはあらかじめ支持羽子板B2を連結して壁面から前方に突出させておく。
本発明は支持羽子板B2のある位置において、樋用支持金具Cを溝形レール10にセットするのであり、図8(a)のように支持羽子板B2がちょうど挟みブラケット3,3の連結面部31,31の間に位置するところで樋用支持金具Cを挿入し、座プレート2を溝形レール10に接近させつつ、挟みブラケット3,3を把持して外側に広げるように傾転させる。
これにより座プレート2の下方にある左右の引っ掛け足30、30の付け根側が接近してすぼまるので、溝形レール10の入口溝102にスムーズに挿入することができる。 このとき、スペーサ部材4,4は他端部42が一方のブラケット3の縦長孔32から抜け出すが、一端部40、40が他方のブラケット3に固定されており、規制用部41が座プレート2の上面に当接可能なので、挟みブラケット3,3は座プレート2に保持され、落下しない。
こうして挟みブラケット3,3の引っ掛け足30、30が溝形レール10の入口溝102から進入したところで図8(b)のように挟みブラケット3,3を直立方向に閉じれば、左右の引っ掛け足30、30が広がりつつフランジ101、101の先端を支点として起立してフランジ101、101の下面に引っかかる。
このときに、スペーサ部材4,4の他端部42、42は相手方のブラケット3の縦長孔32に斜めに進入してゆき、規制用部41が座プレート2の上面に当接して挟みブラケット3,3の落下を防止する。そして挟みブラケット3,3が直立状になることにより連結面部31,31間に支持羽子板B2が挟み込まれる。
これが図9の状態であり、スペーサ部材4,4の規制用部41が中間部分にあることにより挟みブラケット3,3の内向き倒れすぎを防止し、直立姿勢を促す。そこで、連結面部31,31の通孔310,310と羽子板B2の通孔bにボルト60を挿通し、ワッシャー62を介してナット61を螺合して締め付けることにより樋用支持金具Cと壁側支持金具Bの連結固定が完了する。
本発明の樋用支持金具Cは溝形レール10の入口溝102よりも狭くなり得る左右の引っ掛け足30、30を有しているので、たて樋本体1のエンドに限らずどのような位置においても自在に溝形レール10にセットすることができ、しかも溝形レール10との連結固定と壁側支持金具Bとの連結固定を一挙に行うことができるので、施工作業を非常に簡素化し能率をアップすることができる。
なお、本発明において、スペーサ部材4は、図10のように他端部42を有しない形態であってもよい。
また、スペーサ部材4は必ずしも軸形態である必要はなく、図11のように板形態であってもよい。この場合、スペーサ部材4は全体として側面L状をなし、立ち上がり状の一端部40はブラケット3の内面にねじ止めあるいは溶接などで固定され、規制部41と他端部42は水平に延在し、規制部41は端部が他方のブラケット3の内面に当接することで間隔の規制を行えるように他端部42よりも幅が広く構成され、他端部42は他方のブラケット3に設けた縦長孔32に挿脱自在となっている。
また、スペーサ部材4は、場合によっては、挟みブラケット3,3に両端を連結したコイルばねなどの弾性部材などであってもよい。
本発明は、たて樋が断面円形でなく角形である場合にも適用される。また、壁側のアンカーとの連結構造は支持羽子板B2による場合の限定されるものではない。たとえばT状金具など壁側に連結され中間部位にボルト挿通穴bを有する金具であればよい。
本発明の樋用支持金具Cは座プレート2と、1種類の挟みブラケット3とスペーサ部材4を作るだけでよいので、部品数が少なくコストも低減することができる。
(a)は従来のたて樋施工状態の斜視図、(b)は従来の樋用支持金具の使用状態の斜視図、(c)は施工状態の横断面図である。 従来の樋用支持金具のセット時の状態を示す斜視図である。 本発明による樋用支持金具の施工状態を示す部分切欠側面図である。 本発明による樋用支持金具の施工状態を示す正面図である。 本発明による樋用支持金具の施工状態を示す平面図である。 (a)は本発明の樋用支持金具の平面図、(b)は同じく底面図である。 (a)は本発明の樋用支持金具の側面図、(b)は部分切欠側面図である。 (a)は本発明樋用支持金具をたて樋の溝形レールにセットするときの第1段階の正面図、(b)はそのときの平面図、(c)は第2段階の正面図である。 溝形レールおよび壁側支持金具との連結固定段階を示す正面図である。 本発明におけるスペーサ部材の他の例を示す正面図である。 (a)は本発明におけるスペーサ部材の他の例を示す正面図、(b)は側面図、(c)はスペーサ部材単体の斜視図である。
符号の説明
1 たて樋本体
2 座プレート
3 挟みブラケット
4 スペーサ部材
10 溝形レール
30 引っ掛け足
31 連結用面部
40 一端部
41 規制部
42 他端部

Claims (3)

  1. 筒状本体の一側に沿って一対の溝形レールを設けたたて樋を所定長さ毎に壁側にアンカーされた支持金具と連結するための手段であって、樋の溝形レール上に置かれ溝形レールの長手方向と平行な長穴を有する座プレートと、下端に外向きL状の引っ掛け足を有し、上部には壁側の支持金具と対向すべき連結面部を有し、引っ掛け足が座プレートの下面側にあるように座プレート2の長穴を傾動可能に挿通して座プレート上方に延在させられた一対の挟みブラケットと、前記挟みブラケットの連結面部両側に位置し、挟みブラケット3,3の下方への抜けを規制するスペーサ部材を備えていることを特徴とするたて樋用支持金具。
  2. スペーサ部材は、一方の挟みブラケットに固定される一端部と、一対のブラケットの間において座プレート上面に接する規制用部を備えている請求項1に記載のたて樋用支持金具。
  3. スペーサ部材は、一対の挟みブラケット間に渡されており、一方の挟みブラケットに固定される一端部と、一対のブラケットの間において座プレートに接する規制用部と、他方のブラケットに設けた縦長孔に挿脱可能に嵌まる他端部とを備えている請求項1に記載のたて樋用支持金具。
JP2008184237A 2008-07-15 2008-07-15 たて樋用支持金具 Active JP4834696B2 (ja)

Priority Applications (1)

Application Number Priority Date Filing Date Title
JP2008184237A JP4834696B2 (ja) 2008-07-15 2008-07-15 たて樋用支持金具

Applications Claiming Priority (1)

Application Number Priority Date Filing Date Title
JP2008184237A JP4834696B2 (ja) 2008-07-15 2008-07-15 たて樋用支持金具

Publications (2)

Publication Number Publication Date
JP2010024635A true JP2010024635A (ja) 2010-02-04
JP4834696B2 JP4834696B2 (ja) 2011-12-14

Family

ID=41730716

Family Applications (1)

Application Number Title Priority Date Filing Date
JP2008184237A Active JP4834696B2 (ja) 2008-07-15 2008-07-15 たて樋用支持金具

Country Status (1)

Country Link
JP (1) JP4834696B2 (ja)

Cited By (2)

* Cited by examiner, † Cited by third party
Publication number Priority date Publication date Assignee Title
CN103857286A (zh) * 2011-09-26 2014-06-11 李承鲁 利用声波的动物驱赶器
JP7493807B2 (ja) 2021-08-23 2024-06-03 太西精工株式会社 たて樋用支持金具

Citations (3)

* Cited by examiner, † Cited by third party
Publication number Priority date Publication date Assignee Title
JPS5969341A (ja) * 1982-10-08 1984-04-19 Hitachi Koki Co Ltd 用紙反転装置
JP2004076302A (ja) * 2002-08-12 2004-03-11 Inoue Shoji Kk 縦樋
JP2008082105A (ja) * 2006-09-28 2008-04-10 Inoue Shoji Kk 竪樋の支持装置

Patent Citations (3)

* Cited by examiner, † Cited by third party
Publication number Priority date Publication date Assignee Title
JPS5969341A (ja) * 1982-10-08 1984-04-19 Hitachi Koki Co Ltd 用紙反転装置
JP2004076302A (ja) * 2002-08-12 2004-03-11 Inoue Shoji Kk 縦樋
JP2008082105A (ja) * 2006-09-28 2008-04-10 Inoue Shoji Kk 竪樋の支持装置

Cited By (2)

* Cited by examiner, † Cited by third party
Publication number Priority date Publication date Assignee Title
CN103857286A (zh) * 2011-09-26 2014-06-11 李承鲁 利用声波的动物驱赶器
JP7493807B2 (ja) 2021-08-23 2024-06-03 太西精工株式会社 たて樋用支持金具

Also Published As

Publication number Publication date
JP4834696B2 (ja) 2011-12-14

Similar Documents

Publication Publication Date Title
CN101466289B (zh) 抽屉配件
EP2867420B1 (en) Grid runner to perimeter trim clip
US6109461A (en) Shelf mounting system including mounting brackets having mounting ears for mounting vertical track members to a wall
TW201122196A (en) Seismic clip
US20220154464A1 (en) Ceiling system
US10738462B2 (en) Deck connector
CN104395528A (zh) 格栅板的固定装置及用于设置其的固定结构
KR101663986B1 (ko) 가구의 벽체 설치용 브라켓
US20140026402A1 (en) Hardware mounting bracket, assembly and hardware
JP4834696B2 (ja) たて樋用支持金具
US8544605B2 (en) Scaffolding comprising an anti-release device for flooring units
KR20100007586U (ko) 커튼레일 고정구
JP3515754B2 (ja) 締付け固定具
KR200442096Y1 (ko) 비닐하우스용 골조 고정구
US8096518B1 (en) Truss mounted support system
JP5181270B2 (ja) 振れ止め用下地材の固定金具
JP6481742B1 (ja) 天井下地構造
JP6778090B2 (ja) ハンガーと該ハンガーを用いたシステム天井構造
JPH086896Y2 (ja) 天井下地筋違用金物
JP5851640B1 (ja) 屋根板取り付け金具
JPH0726426U (ja) 下地材吊りハンガー
KR102298632B1 (ko) 소방용 스프링클러의 클램프장치
KR200485577Y1 (ko) 창틀 지지용 브래킷
JP2017014886A (ja) 屋根置き設備の取付金具
JP2004197471A (ja) ハンガー部材

Legal Events

Date Code Title Description
A621 Written request for application examination

Free format text: JAPANESE INTERMEDIATE CODE: A621

Effective date: 20101214

RD02 Notification of acceptance of power of attorney

Free format text: JAPANESE INTERMEDIATE CODE: A7422

Effective date: 20110425

RD02 Notification of acceptance of power of attorney

Free format text: JAPANESE INTERMEDIATE CODE: A7422

Effective date: 20110428

A521 Request for written amendment filed

Free format text: JAPANESE INTERMEDIATE CODE: A821

Effective date: 20110425

A521 Request for written amendment filed

Free format text: JAPANESE INTERMEDIATE CODE: A821

Effective date: 20110428

RD02 Notification of acceptance of power of attorney

Free format text: JAPANESE INTERMEDIATE CODE: A7422

Effective date: 20110708

A521 Request for written amendment filed

Free format text: JAPANESE INTERMEDIATE CODE: A821

Effective date: 20110708

A977 Report on retrieval

Free format text: JAPANESE INTERMEDIATE CODE: A971007

Effective date: 20110808

TRDD Decision of grant or rejection written
A01 Written decision to grant a patent or to grant a registration (utility model)

Free format text: JAPANESE INTERMEDIATE CODE: A01

Effective date: 20110906

A01 Written decision to grant a patent or to grant a registration (utility model)

Free format text: JAPANESE INTERMEDIATE CODE: A01

A61 First payment of annual fees (during grant procedure)

Free format text: JAPANESE INTERMEDIATE CODE: A61

Effective date: 20110926

R150 Certificate of patent or registration of utility model

Ref document number: 4834696

Country of ref document: JP

Free format text: JAPANESE INTERMEDIATE CODE: R150

Free format text: JAPANESE INTERMEDIATE CODE: R150

FPAY Renewal fee payment (event date is renewal date of database)

Free format text: PAYMENT UNTIL: 20140930

Year of fee payment: 3

R250 Receipt of annual fees

Free format text: JAPANESE INTERMEDIATE CODE: R250

R250 Receipt of annual fees

Free format text: JAPANESE INTERMEDIATE CODE: R250

R250 Receipt of annual fees

Free format text: JAPANESE INTERMEDIATE CODE: R250

R250 Receipt of annual fees

Free format text: JAPANESE INTERMEDIATE CODE: R250

R250 Receipt of annual fees

Free format text: JAPANESE INTERMEDIATE CODE: R250