JP2010022546A - 収納体 - Google Patents

収納体 Download PDF

Info

Publication number
JP2010022546A
JP2010022546A JP2008186614A JP2008186614A JP2010022546A JP 2010022546 A JP2010022546 A JP 2010022546A JP 2008186614 A JP2008186614 A JP 2008186614A JP 2008186614 A JP2008186614 A JP 2008186614A JP 2010022546 A JP2010022546 A JP 2010022546A
Authority
JP
Japan
Prior art keywords
plate
storage body
base material
side plate
back plate
Prior art date
Legal status (The legal status is an assumption and is not a legal conclusion. Google has not performed a legal analysis and makes no representation as to the accuracy of the status listed.)
Granted
Application number
JP2008186614A
Other languages
English (en)
Other versions
JP4955620B2 (ja
Inventor
Takeshi Nitta
健 新田
Yoshimi Kameyama
よしみ 亀山
Current Assignee (The listed assignees may be inaccurate. Google has not performed a legal analysis and makes no representation or warranty as to the accuracy of the list.)
Daiken Corp
Original Assignee
Daiken Corp
Priority date (The priority date is an assumption and is not a legal conclusion. Google has not performed a legal analysis and makes no representation as to the accuracy of the date listed.)
Filing date
Publication date
Application filed by Daiken Corp filed Critical Daiken Corp
Priority to JP2008186614A priority Critical patent/JP4955620B2/ja
Publication of JP2010022546A publication Critical patent/JP2010022546A/ja
Application granted granted Critical
Publication of JP4955620B2 publication Critical patent/JP4955620B2/ja
Active legal-status Critical Current
Anticipated expiration legal-status Critical

Links

Images

Landscapes

  • Assembled Shelves (AREA)

Abstract

【課題】 背板が折り畳み可能であり、且つ生産効率のよい、意匠性に優れた、従来のものに比べ組み立て容易な収納体を提供する。
【解決手段】 天板、底板、左側板、右側板、背板とからなる収納体において、背板が、基材と、基材の収納体内側面の全面に貼着された可撓性シート材とからなり、基材の収納体外側面から可撓性シート材に向かって刻設された折畳溝が、基材の一端から対向する他端に亘り設けられていることを特徴とする収納体
【選択図】図4

Description

本発明は、施工現場で組み立てられる下駄箱、玄関収納等の箱型の収納体に関する。
従来、天板、底板、側板、左背板、右側板、扉などの各部材を、ダンボール等の梱包材を用いて、ひとまとめに梱包した後、工場から出荷し、施工現場で組み立てる下駄箱、玄関収納等の箱型の収納体として、例えば特許文献1に記載のものが知られている。この収納体は、分割された背板を底部と底部より延出する挟持部からなる2つの断面略コの字形の嵌合片を外向きに開口するように配し、折り曲げ可能な連結部によって該嵌合片の底部同士を連結したジョイナーの嵌合片に嵌合連結されて一体化した背板を用いてなる収納体であり、各部材の中で最も大きな背板を折り畳むことができるため、梱包体も小さくすることができ、運搬時の取り扱いがしやすいものであった。
また、収納体の組み立ては、特許文献1に記載されているように、背面側端部に段部が設けられた天板、底板、左側板、右側板をロの字状に組み立てた後、段部に背板を釘や接着剤を用い固着することで行なわれたり、天板、地板、左側板、右側板の各々の部材の収納体内側面の背面側端部より引っ込ませたところに桟を固定しておき、桟に背板を固着することで行なわれたり、天板、底板、左側板、右側板の各々の部材の背面側端部に直接背板を固着することで行なわれたり、天板、底板、左側板、右側板の各々の部材の収納体内側面に背板の厚さと等しい幅の溝を設け、各々の部材を固着する前に該溝に背板を嵌入させて各々の部材を固着することで行なわれていたりしていた。
特開平11−137357号公報
しかしながら、ジョイナー等の連結部材を用いたこのような収納体は、連結部材の色を背板の収納体内側面の色すなわち収納体内部の色と合わせたとしても、背板に対し連結部材が目立ち、見掛けが悪く、意匠性に劣る共に、工場で分割した背板を連結部材でひとつひとつ連結しなければならないため、生産に非常に手間がかかるという問題があった。
また、天板、底板、左側板、右側板をロの字状に組んだ後、天板、底板、左側板、右側板の背面側端部に設けられた段部や、天板、底板、左側板、右側板の各々の部材の収納体内側面の背面側端部より引っ込ませたところに桟や、天板、底板、左側板、右側板の各々の部材の背面側端部に、背板を釘や接着剤を用い固着することで行なう収納体の組み立ては、天板、底板、左側板、右側板のそれぞれに対して、釘を打ち込み、背板を固定する必要があり、非常に手間がかかるという問題があった。そして、天板、底板、左側板、右側板の各々の部材の収納体内側面に背板の厚さと等しい幅の溝を設け、各々の部材を固着する前に該溝に背板を嵌入させて各々の部材を固着することで行なう収納体の組み立ては、溝に背板を嵌入させた状態を保ちながら各々の部材を固着する必要があるため、上記のような天板、底板、左側板、右側板をロの字状に組んだ後、背板を固着する方法に比べて、組み立てにくいという問題があった。
本発明はかかる問題を鑑みなされたものであり、背板が折り畳み可能であり、且つ生産効率のよい、意匠性に優れた、従来のものに比べ組み立て容易な収納体を提供することを目的とする。
上記目的を達成するため、請求項1の発明は、天板、底板、左側板、右側板、背板とからなる収納体において、背板が、基材と、基材の収納体内側面の全面に貼着された可撓性シート材とからなり、基材の収納体外側面から可撓性シート材に向かって刻設された折畳溝が、基材の一端から対向する他端に亘り設けられていることを特徴とする。
請求項2の発明は、請求項1に記載の収納体において、基材の収納体内側面の全面に貼着された可撓性シート材が化粧シートであることを特徴とする。
請求項3の発明は、請求項1又は請求項2に記載の収納体において、天板及び底板、又は左側板及び右側板のいずれか一方の、収納体内側面に背板の嵌入端部を嵌め込むための凹溝が設けられているとともに、天板及び底板、左側板及び右側板のいずれか他方の、背面側端部に背板を固着するための段部が設けられていることを特徴とする。
請求項1の発明の収納体によると、天板、底板、左側板、右側板、背板とからなる収納体において、背板が、基材と、基材の収納体内側面の全面に貼着された可撓性シート材とからなり、基材の収納体外側面から可撓性シート材に向かって刻設された折畳溝が、基材の一端から対向する他端に亘り設けられているため、背板が折り畳み可能であり、梱包体を小さくすることができ、運搬時の取り扱いがしやすいとともに、基材の収納体内側面の全面に可撓性シート材が貼着されており、収納体の内側を見た際に可撓性シート材のみが見えるため、見掛けがよい。また、折畳溝はルーター等の機械を用いて刻設することができるため、背板を効率よく生産でき、生産効率に優れた収納体とすることができる。
請求項2の発明の収納体によると、請求項1の発明の収納体において、基材の収納体内側面の全面に貼着された可撓性シート材が化粧シートであるため、例えば、収納体内部(換言すれば、天板、底板、左側板、右側板)と同色・同柄の化粧シートを用いることで、より意匠性に優れた収納体とすることができる。
請求項3の発明の収納体によると、請求項1の発明の収納体において、天板及び底板、又は左側板及び右側板のいずれか一方の、収納体内側面に背板の嵌入端部を嵌め込むための凹溝が設けられているとともに、天板及び底板、又は左側板及び右側板のいずれか他方の、背面側端部に背板を固着するための段部が設けられているため、天板、地板、左側板、右側板をロの字状に組み立てた後、折り畳んだ状態(若しくは折り畳んだ状態からやや開いた状態)の背板を、嵌入端部が段部をスライドするようにしながら開きつつ、凹溝に背板の嵌入端部を嵌入し、背板を完全に開いた後、段部に背板を釘等を用い固着することで、収納体を容易に組み立てることができる。
以下、本発明の実施例である収納体Aについて図に基づき説明する。尚、本発明は本実施例の記載内容に限られるものではない。
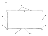
図1は本発明の本実施例に係る収納体Aを示す斜視図、図2は収納体Aを示す背面図、図3は図1におけるX−X線断面を示す断面図、図4は図1におけるY−Y線断面を示す断面図である。収納体Aは、下駄箱、玄関収納、キャビネット等として用いられる箱型の収納体であり、天板1、底板2、左側板3、右側板4、背板5とからなる。また、左側板3及び右側板4には、丁番(図示せず)を介し、取手付きの扉板6が取り付けられている。なお、本発明では、収納体Aの、開口側(扉板6が取り付けられている側)を正面とし、背板5が取り付けられている側を背面とし、収納体Aを構成する天板1、底板2、左側板3、右側板4、背板5の、収納体Aの内側となる面を収納体内側面、収納体Aの外側となる面を収納体外側面とする。
天板1、底板2、左側板3、右側板4は、MDF等の木質繊維板、合板、集成材、無垢の木材、等の木質材料や、合成樹脂や、金属等からなるものであって、必要に応じてそれらの表面に化粧を施した合成樹脂シート、突板単板等を貼着したり、塗装したりしたものを用いる。
背板5は、図5に示すように、基材51と、基材51の収納体内側面の全面に貼着された可撓性シート材52とからなり、基材51の収納体外側面から可撓性シート材52に向かって刻設された折畳溝53が、基材51の一端から対向する他端に亘り設けられており、図6に示すように、折畳溝53で、可撓性シート材52が内側となるように折り畳むことができるようになっている。
具体的には、基材51の収納体外側面から可撓性シート材52に向かって、先端が可撓性シート材52に達するV字状であり、V字を形成している対向面のなす角度は95度である折畳溝53が、背板5の上端(収納体とした際に上となる端部)から、背板5の下端(収納体とした際に下となる端部)に亘り設けられている。なお、折畳溝53の形状はこれに限らず、V字を形成している対向面のなす角度が95度よりも鈍角や鋭角になっているものであってもよい。
基材51は、MDFなどの木質繊維板、合板、集成材、無垢の木材、等の木質材料や、合成樹脂や、金属等からなるが、折畳溝53を刻設することを考慮すると、折畳溝53を刻設しやすい木質材料であることが望ましい。
可撓性シート材52は、背板5を折り畳み可能な収縮性を有するものを用いることができ、具体的には、オレフィンシート等の合成樹脂シート、突板単板、不織布等を用いることができる。また、可撓性シート材52は、収納体Aとした際に、収納体内側に露出するため、収納体Aの内部の色・柄(換言すれば、天板1、底板2、左側板3、右側板4の収納体内側面の色・柄)に合わせて、着色、印刷等により化粧を施した化粧シートを用いることが望ましい。
天板1及び底板2の背面側端部には、背板5を固定するための段部8が設けられており、左側板3及び右側板4の収納体内側面には、背板5を嵌め込むための凹溝7が設けられている。そして、図7に示すように、天板1、地板2、左側板3、右側板4を、ネジ、釘、ダボ、接着剤、等の固定手段を用いてロの字状に組み立てた後、折畳溝53で折り畳んだ状態からやや開いた状態の背板5を、嵌入端部54が段部8をスライドするようにしながら開きつつ、凹溝7に背板5の嵌入端部54を嵌入し、図8に示すように、背板5を完全に開いた後、段部8に背板5を釘等を用い固着して組み立てることで収納体Aとしている。なお、本実施例では、図2、図3に示すように、背板5を補強するとともに、釘等により背板5を固着する際に背板5を確実に固着するために、MDF等の木質繊維板、合板、集成材、無垢の木材、等の木質材料や、合成樹脂や、金属等からなる補強桟9を用いている。
また、本実施例では、天板1及び底板2の背面側端部に、背板5を固定するための段部8が設け、左側板3及び右側板4の収納体内側面に、背板5を嵌め込むための凹溝7が設けるようにしたが、天板1及び底板2の収納体内側面に、背板を嵌め込むための凹溝を設け、左側板3及び右側板4の背面側端部に、背板を固定するための段部を設けるようにしてもよい。
さらに、本実施例では、左側板3及び右側板4に丁番を介して扉板6を取り付けた収納体Aについて説明したが、扉板がなく正面が開口している収納体や、スライド扉、折戸扉等の別の開閉構造の扉を有する収納体であってもよい。
本発明は、背板が折り畳み可能であり、且つ生産効率のよい、従来のものに比べ組み立て容易な収納体であり、極めて有用で産業上の利用可能性が高い。
収納体Aを示す正面斜視図 収納体Aを示す背面図 図1におけるX−X線断面を示す断面図 図1におけるY−Y線断面を示す断面図 背板を示す図 折り畳んだ状態の背板を示す図 収納体Aの組み立て途中の状態を示す図 収納体Aの組み立て途中の状態を示す図
符号の説明
A ・・・ 収納体
1 ・・・ 天板
2 ・・・ 底板
3 ・・・ 左側板
4 ・・・ 右側板
5 ・・・ 背板
51 ・・・ 基材
52 ・・・ 可撓性シート材
53 ・・・ 折畳溝
54 ・・・ 嵌入端部
6 ・・・ 扉板
7 ・・・ 凹溝
8 ・・・ 段部
9 ・・・ 補強桟

Claims (3)

  1. 天板、底板、左側板、右側板、背板とからなる収納体において、背板が、基材と、基材の収納体内側面の全面に貼着された可撓性シート材とからなり、基材の収納体外側面から可撓性シート材に向かって刻設された折畳溝が、基材の一端から対向する他端に亘り設けられていることを特徴とする収納体。
  2. 基材の収納体内側面の全面に貼着された可撓性シート材が化粧シートであることを特徴とする請求項1に記載の収納体。
  3. 天板及び底板、又は左側板及び右側板のいずれか一方の、収納体内側面に背板の嵌入端部を嵌め込むための凹溝が設けられているとともに、天板及び底板、又は左側板及び右側板のいずれか他方の、背面側端部に背板を固着するための段部が設けられていることを特徴とする請求項1又は2に記載の収納体。
JP2008186614A 2008-07-18 2008-07-18 収納体 Active JP4955620B2 (ja)

Priority Applications (1)

Application Number Priority Date Filing Date Title
JP2008186614A JP4955620B2 (ja) 2008-07-18 2008-07-18 収納体

Applications Claiming Priority (1)

Application Number Priority Date Filing Date Title
JP2008186614A JP4955620B2 (ja) 2008-07-18 2008-07-18 収納体

Publications (2)

Publication Number Publication Date
JP2010022546A true JP2010022546A (ja) 2010-02-04
JP4955620B2 JP4955620B2 (ja) 2012-06-20

Family

ID=41728961

Family Applications (1)

Application Number Title Priority Date Filing Date
JP2008186614A Active JP4955620B2 (ja) 2008-07-18 2008-07-18 収納体

Country Status (1)

Country Link
JP (1) JP4955620B2 (ja)

Cited By (2)

* Cited by examiner, † Cited by third party
Publication number Priority date Publication date Assignee Title
JPH0753313A (ja) * 1993-08-13 1995-02-28 Nissan Chem Ind Ltd 除草剤組成物
JP2014509548A (ja) * 2011-03-28 2014-04-21 ユニリン,ビーヴィビーエー 組み立て要素及びこれとともに使用される後壁構造物

Citations (2)

* Cited by examiner, † Cited by third party
Publication number Priority date Publication date Assignee Title
JPH11309032A (ja) * 1998-04-28 1999-11-09 Noda Corp 収納体
JP2003000369A (ja) * 2001-06-21 2003-01-07 Noda Corp 収納体構造

Patent Citations (2)

* Cited by examiner, † Cited by third party
Publication number Priority date Publication date Assignee Title
JPH11309032A (ja) * 1998-04-28 1999-11-09 Noda Corp 収納体
JP2003000369A (ja) * 2001-06-21 2003-01-07 Noda Corp 収納体構造

Cited By (6)

* Cited by examiner, † Cited by third party
Publication number Priority date Publication date Assignee Title
JPH0753313A (ja) * 1993-08-13 1995-02-28 Nissan Chem Ind Ltd 除草剤組成物
JP2014509548A (ja) * 2011-03-28 2014-04-21 ユニリン,ビーヴィビーエー 組み立て要素及びこれとともに使用される後壁構造物
US11668335B2 (en) 2011-03-28 2023-06-06 Flooring Industries Limited, Sarl Composed element and rear wall construction applied herewith
US12018706B2 (en) 2011-03-28 2024-06-25 Unilin Bv Composed element and rear wall construction applied herewith
US12313106B2 (en) 2011-03-28 2025-05-27 Unilin, Bv Composed element and rear wall construction applied herewith
EP4533979A3 (en) * 2011-03-28 2025-07-30 Unilin, BV Piece of furniture

Also Published As

Publication number Publication date
JP4955620B2 (ja) 2012-06-20

Similar Documents

Publication Publication Date Title
JP5022984B2 (ja) 建築用パネル材
JP6352898B2 (ja) 軽量ボード、接続構成、および接続構成の製作方法
JP4955620B2 (ja) 収納体
KR200447120Y1 (ko) 책장의 연결구조
CN116916788A (zh) 用于一件家具的门和一件家具
JP6167059B2 (ja) 収納ボックスユニット及びその製造方法
KR101161138B1 (ko) 가구용 문짝 구조
KR100931571B1 (ko) 가구용 연결부재
KR200332976Y1 (ko) 가구용 패널
KR200360505Y1 (ko) 수납장
KR200386601Y1 (ko) 가구용 패널
JP2010180694A (ja) 枠材および枠材の取付構造
JPH11137357A (ja) 収納体およびジョイナー
KR100814106B1 (ko) 가구용 패널
JP2011103989A (ja) 収納家具及びこれに用いる固定金具
KR200402987Y1 (ko) 브이-커팅다리
JP4508059B2 (ja) 箱型収納家具
KR200434569Y1 (ko) 가구용 패널의 측면 마감부재
KR200335033Y1 (ko) 데코시트판을 이용한 접합식 상다리
KR100590426B1 (ko) 가구용 판재의 체결구조
KR20090011062U (ko) 가구용 패널의 코너 마감부재
KR200334984Y1 (ko) 데코시트판을 이용한 접합식 상다리
JP2001120364A (ja) 棚板の止着方法とこれを用いたラック棚
KR20100018436A (ko) 판지를 부착하여 브이 커팅한 합판 및 제조방법
JP2002021316A (ja) 押入棚板の天板と前框の取付構造

Legal Events

Date Code Title Description
A621 Written request for application examination

Free format text: JAPANESE INTERMEDIATE CODE: A621

Effective date: 20110701

A871 Explanation of circumstances concerning accelerated examination

Free format text: JAPANESE INTERMEDIATE CODE: A871

Effective date: 20110803

RD02 Notification of acceptance of power of attorney

Free format text: JAPANESE INTERMEDIATE CODE: A7422

Effective date: 20110803

A975 Report on accelerated examination

Free format text: JAPANESE INTERMEDIATE CODE: A971005

Effective date: 20110905

A131 Notification of reasons for refusal

Free format text: JAPANESE INTERMEDIATE CODE: A131

Effective date: 20110907

A521 Written amendment

Free format text: JAPANESE INTERMEDIATE CODE: A523

Effective date: 20111104

TRDD Decision of grant or rejection written
A01 Written decision to grant a patent or to grant a registration (utility model)

Free format text: JAPANESE INTERMEDIATE CODE: A01

Effective date: 20120221

A01 Written decision to grant a patent or to grant a registration (utility model)

Free format text: JAPANESE INTERMEDIATE CODE: A01

A61 First payment of annual fees (during grant procedure)

Free format text: JAPANESE INTERMEDIATE CODE: A61

Effective date: 20120315

R150 Certificate of patent or registration of utility model

Ref document number: 4955620

Country of ref document: JP

Free format text: JAPANESE INTERMEDIATE CODE: R150

Free format text: JAPANESE INTERMEDIATE CODE: R150

FPAY Renewal fee payment (event date is renewal date of database)

Free format text: PAYMENT UNTIL: 20150323

Year of fee payment: 3