JP2010022394A - 揺動具 - Google Patents

揺動具 Download PDF

Info

Publication number
JP2010022394A
JP2010022394A JP2008183554A JP2008183554A JP2010022394A JP 2010022394 A JP2010022394 A JP 2010022394A JP 2008183554 A JP2008183554 A JP 2008183554A JP 2008183554 A JP2008183554 A JP 2008183554A JP 2010022394 A JP2010022394 A JP 2010022394A
Authority
JP
Japan
Prior art keywords
swing
base
arms
fixed
swinging
Prior art date
Legal status (The legal status is an assumption and is not a legal conclusion. Google has not performed a legal analysis and makes no representation as to the accuracy of the status listed.)
Granted
Application number
JP2008183554A
Other languages
English (en)
Other versions
JP5319187B2 (ja
Inventor
Akira Nagashima
明 永島
Zuiei Tanaka
瑞英 田中
Current Assignee (The listed assignees may be inaccurate. Google has not performed a legal analysis and makes no representation or warranty as to the accuracy of the list.)
Daiei Dream Kk
Original Assignee
Daiei Dream Kk
Priority date (The priority date is an assumption and is not a legal conclusion. Google has not performed a legal analysis and makes no representation as to the accuracy of the date listed.)
Filing date
Publication date
Application filed by Daiei Dream Kk filed Critical Daiei Dream Kk
Priority to JP2008183554A priority Critical patent/JP5319187B2/ja
Publication of JP2010022394A publication Critical patent/JP2010022394A/ja
Application granted granted Critical
Publication of JP5319187B2 publication Critical patent/JP5319187B2/ja
Active legal-status Critical Current
Anticipated expiration legal-status Critical

Links

Images

Landscapes

  • Toys (AREA)

Abstract

【課題】従来のものに比べて揺動機構をコンパクトに構成することができ、挟み込みの危険を最小限に抑えることができる揺動遊具、その他の揺動具を提供する。
【解決手段】揺動機構部3が、固定節として機能するベース7と、揺動節として機能する二つの揺動アーム8,9と、連結節として機能する連結部10とからなる4リンク機構を有し、ベース7の側面の枢着点(A,B)において、二つの揺動アーム8,9がベース7に対してそれぞれ枢着されるとともに、連結部10の枢着点(C,D)において、二つの揺動アーム8,9の下端側が連結部10に対してそれぞれ枢着され、揺動アーム8,9の各揺動側回動規制手段と、固定状態にある固定側回動規制手段とが、時間差をもって関わり合うことによって、二つの揺動アームの回動角度範囲が規制されるように構成されていることを特徴とする。
【選択図】図2

Description

本発明は、揺動機構部をコンパクトに構成することができる揺動具に関する。
公園等に設置される揺動遊具として、図14に示すように、両梃子機構(double lever mechanism/4リンク機構)を用いたものが従来より知られている。この揺動遊具301は、所定の間隔を置いて地面上へ立設させた二本の支柱304と、頭部、胴部、及び、左右一対のステップ314からなる木馬302と、いずれも同じ長さの四つの梃子315とによって構成され、支柱304の各上端部と、左右のステップ314の各前端部及び各後端部とを、梃子315によってそれぞれ連結してなるものである。
尚、この揺動遊具301においては、ステップ314における前端部の枢着点(継手の中心軸)から後端部の枢着点までの寸法L2が、前後の支柱304a,304bの各枢着点間の寸法L1よりも若干短くなるように設定されており、図14(1)に示されているように、平衡状態においては、前後の梃子315a,315bがいずれも、下方に対して上方が外側へ拡がるように傾斜した状態で保持されることになる。
図14の揺動遊具301は、かかる機構を採用しているため、使用者(幼児)が木馬302の胴部に跨って重心を前方或いは後方へ移動させると、図14(1)に示す平衡状態から、同図(2)に示すように、木馬302が前方へ移動するとともに前傾状態となり、或いは、同図(3)に示すように、木馬302が後方へ移動するとともに後傾状態となるまで揺動することになる。また、傾動状態が実現された場合、復元力が働いて反対方向へ動作することになるため、木馬302を連続的に揺動させることができるような構造となっている。
このような木馬302の動作態様は、模式的には、図15に示すような4リンク機構における「揺動節及び連結節の動作態様」として把握することができる。具体的に説明すると、図15においてABは固定節、AD,BCは揺動節、CDは連結節であり、固定節ABの両端の点A,Bは、図14に示した支柱304b,304aの各枢着点にそれぞれ相当し、連結節CDは、木馬302のステップ314に相当する。また、連結節CDの両端の点C,Dは、ステップ314の前端部の枢着点、及び、後端部の枢着点にそれぞれ相当する。そして、揺動節AD,BCは、図14に示した前後の梃子315a,315bにそれぞれ相当する。
図15(1)に示すような平衡状態から、使用者を含めた木馬302の重心を前方(図中左側)へ移動させた場合、同図(2)に示すように、前方の揺動節BCは、破線で示す平衡時の位置から、点Bを支点として下方へ回動することになり、後方の揺動節ADは、破線で示す平衡時の位置から、点Aを支点として上方へ回動することになる。その結果、連結節CDは、図15(4)に示す一点鎖線CDのように、前方(図中左側)へ移動するとともに前傾状態となる。
また、それとは反対に、図15(1)に示すような平衡状態から、木馬302の重心を後方(図中右側)へ移動させた場合、同図(3)に示すように、前方の揺動節BCは、破線で示す平衡時の位置から、点Bを支点として上方へ回動することになり、後方の揺動節ADは、破線で示す平衡時の位置から、点Aを支点として下方へ回動することになる。その結果、連結節CDは、図15(4)に示す二点鎖線CDのように、後方(図中右側)へ移動するとともに後傾状態となる。
従って、重心を前後方向へ繰り返し移動させた場合、木馬302は、図15(4)に示すように、破線CDの平衡状態を中心として、一点鎖線CDの前傾状態から二点鎖線CDの後傾状態まで、前後方向及び上下方向へ揺動することになる。尚、このとき前方側の点Cは、点Bを中心とする円弧軌道上を往復動することになり、後方側の点Dは、点Aを中心とする円弧軌道上を往復動することになる。
図14の揺動遊具301の復元力の源は重力であるため、使用者の体重に応じた復元力が生じる。その結果この揺動遊具301においては、遊具のスケールを別にすれば、体重に関係なく同じように動作する、ということになる。また、構造が簡単であるため、ベアリング等の構成要素を適切に選択すれば、滑らかに動作し、極めて高い耐久性を期待できる。また、動作は鉛直平面上に限定されるため、使用者において運動を予測し易いというメリットがある。
しかしながら、図14の揺動遊具301の場合には、固定部分(支柱304)と運動部分(梃子315等)との間に、幼児の指や手などが挟み込まれてしまう危険がある。この問題は、揺動を実現するための4リンク機構のスケールが大きく、挟み込みが生じる危険部位が、木馬302の外側に位置していることに起因している。そこで、かかる挟み込みの危険を回避できるように、機構をより小型化することが望まれる。
しかし、4リンク機構によって揺動を実現しようとする場合、種々の事情から、機構のスケールは自ずから定まってしまい、図14に示すようなスケールよりも小さく構成することは非常に難しい。また、4リンク機構のスケールを小さくすると、安全性を確保することを目的として、揺動範囲(回動角度範囲)を規制するための手段(ストッパー、緩衝材、緩衝装置等)に大きな負荷がかかることになり、限界位置に達した際の衝撃を完全に吸収することが難しくなるほか、耐久性の面でも問題が生じる可能性がある。
更に、図14に示した揺動遊具301は、二本の支柱304を適切な位置に(前後の支柱304a,304bの各枢着点間の間隔が適切な寸法(L1)となるように)設置しなければならないため、設置工事が煩雑であるという問題もある。
このように、図14の揺動遊具301をはじめとする従来の揺動遊具は、機構を小型化することが非常に難しく、挟み込みの危険を有効に回避することができなかった。本発明は、上記のような従来技術における問題を解決すべくなされたものであって、従来のものに比べて揺動機構をコンパクトに構成することができ、挟み込みの危険を最小限に抑えることができる揺動遊具、その他の揺動具を提供することを目的とする。
本発明の請求項1に記載の揺動具は、揺動機構部と、これを設置面の上方において支持する支持手段と、揺動機構部に対して固定される上物とによって構成される揺動具であって、揺動機構部は、固定節として機能するベースと、揺動節として機能する二つの揺動アームと、連結節として機能する連結部とからなる4リンク機構を少なくとも一つ有し、ベースの側面において所定間隔を置いて設定された二つの枢着点(A,B)において、二つの揺動アームがベースに対してそれぞれ枢着されるとともに、連結部において所定間隔を置いて設定された二つの枢着点(C,D)において、二つの揺動アームの下端側が連結部に対してそれぞれ枢着されることにより、二つの揺動アーム、及び、連結部が、ベースの二つの枢着点(A,B)を中心として回動可能なように構成され、平衡状態から二つの揺動アームが所定の角度まで回動した際に、二つの揺動アームの各中間部に配置された各揺動側回動規制手段が、揺動アームの回動動作中において固定状態にある固定側回動規制手段と関わり合うことによって、二つの揺動アームの回動角度範囲が規制されるように構成されていることを特徴としている。
また、本発明の請求項2に記載の揺動具は、揺動機構部と、これを設置面の上方において支持する支持手段と、揺動機構部に対して固定される上物とによって構成され、揺動機構部が、固定節として機能するベースと、揺動節として機能する二つの揺動アームと、連結節として機能する連結部とからなる4リンク機構を少なくとも一つ有し、二つの揺動アームは、基部と、当該基部から下方へ向かって延在するレバーと、上方へ向かって延在し、揺動側回動規制手段を有する延長部とによってそれぞれ構成され、ベースの側面において所定間隔を置いて設定された二つの枢着点(A,B)において、二つの揺動アームの各基部がベースに対してそれぞれ枢着されるとともに、連結部において所定間隔を置いて設定された二つの枢着点(C,D)において、二つの揺動アームの各レバーの下端側が連結部に対してそれぞれ枢着されることにより、二つの揺動アーム、及び、連結部が、ベースの二つの枢着点(A,B)を中心として回動可能なように構成され、平衡状態から二つの揺動アームが所定の角度まで回動した際に、二つの揺動アームの延長部の各揺動側回動規制手段が、揺動アームの回動動作中において固定状態にある固定側回動規制手段と関わり合うことによって、二つの揺動アームの回動角度範囲が規制されるように構成されていることを特徴としている。
尚、揺動側回動規制手段と、固定側回動規制手段のうち、少なくともいずれか一方側に、弾性材料によって形成された緩衝材が含まれていることが好ましく、二つの揺動アームの回動動作中において、一方の揺動アームの揺動側回動規制手段と、他方の揺動アームの揺動側回動規制手段とが、それぞれ相対する固定側回動規制手段に対し、時間差をもって関わり合うように構成することが好ましい。
また、揺動機構部は、ベースの一方側の側面に対して枢着された二つの揺動アームと、それらの揺動アームに枢着された連結部とからなる第1の4リンク機構と、ベースの反対側の側面に対して枢着された二つの揺動アームと、それらの揺動アームに枢着された連結部とからなる第2の4リンク機構とを有していることが好ましく、更に、ベースの一方側の揺動アームと、反対側の揺動アームとが、揺動側回動規制手段として機能する二つのジョイントバーによってそれぞれ連結され、第1の4リンク機構と第2の4リンク機構が連動して同方向へ回動するように構成されていることが好ましい。
尚、二つのジョイントバーには、揺動側回動規制手段として機能する緩衝材が装着され、また、ベースの両端部に、固定側回動規制手段として機能する緩衝材が、下端側が下方へ向かって開放された状態で取り付けられ、或いは、ベースの中央に、固定側回動規制手段として機能する緩衝材が、上端側が上方へ向かって開放された状態で取り付けられていることが更に好ましい。
本発明に係る揺動具によれば、揺動機構をコンパクトに構成することができ、挟み込みの危険を最小限に抑えることができる。また、一本の支柱によって支持することができるので、設置工事が容易である。
更に、シンプルで、十分な耐久性を有する回動規制手段により、4リンク機構の回動角度範囲を規制することができ、かつ、4リンク機構が回動限界に達した際に、不快な衝撃を伴わずに滑らかに反転させることができる。
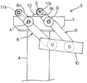
以下、添付図面に沿って本発明の揺動遊具を実施するための最良の形態について説明する。図1は、本発明の第1の実施形態に係る揺動具1(一人乗り用の木馬型揺動遊具)の側面図である。この図において2は上物(木馬)、3は揺動機構部、4は支柱、6はコンクリート基礎である。図示されているように、揺動機構部3は、上物2(揺動機構部3に対して固定されている。)の大きさと比べて非常に小さく、コンパクトに構成されており、一本の支柱4(支持手段)のみによって設置面の上方に支持されている。
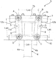
図2は、支柱4に取り付けられた状態の揺動機構部3の側面図である。この図において、7はベース、8,9は揺動アーム、10は連結部である。これらのうち、ベース7は、水平な天端面7aと、垂直に保持された二つの平行な側面7b,7b’とを有しており(図3参照)、それらの両側面7b,7b’には、貫通孔がそれぞれ二つずつ、所定間隔を置いて、左右方向についての対称位置に形成されている。尚、これらの貫通孔の中心点を結ぶ仮想線は水平である。
このベース7は、本実施形態においては、金属製の角形パイプを所定の長さに裁断し、両端部を適宜加工することによって形成されており、これを横向きにした状態で(長手方向が水平となるような向きで)支柱4の上端に固定されている。
揺動アーム8は、基本状態(図2に示す状態)においては、上下方向へ延在している。揺動アーム8の一端(上端)には、ベース7に取り付けるための取付孔が形成されており、揺動アーム8は、この取付孔、及び、ベース7の貫通孔に挿通させたボルトにより、ベース7に対して回動可能なように枢着されている。また、揺動アーム8の他端(下端)にも取付孔が形成されている。
揺動アーム9は、揺動アーム8とは対称的な形状となっている。対称的であるという点を除けば、揺動アーム9は、揺動アーム8と全く同一の構造となっており、上端及び下端にそれぞれ取付孔が形成されており、上端の取付孔、及び、ベース7の貫通孔に挿通させたボルトにより、ベース7に対して回動可能なように枢着されている。
連結部10には、所定間隔を置いた位置に、二つのボルトが固定されている。これらのボルトは、揺動アーム8,9の取付孔にそれぞれ挿通されている。連結部10は、これらのボルトを軸として、揺動アーム8,9に対して回動可能な状態で連結されている。尚、図2の符号Aは、ベース7と揺動アーム8との枢着点、符号Bはベース7と揺動アーム9との枢着点、符号Cは揺動アーム9と連結部10との枢着点、符号Dは揺動アーム8と連結部10との枢着点をそれぞれ示している。
揺動機構部3は、上述の通り、ベース7の側面において所定間隔を置いて設定された二つの枢着点A,Bにおいて、二つの揺動アーム8,9が、支柱4に固定されているベース7に対してそれぞれ枢着され、また、連結部10において所定間隔を置いて設定された二つの枢着点C,Dにおいて、二つの揺動アーム8,9の下端側が連結部10に対してそれぞれ枢着されているため、揺動アーム8,9と連結部10は、ベース7の二つの枢着点A,Bの軸線周り方向へ所定角度範囲内で回動する4リンク機構として動作することになる。
通常、4リンク機構は、固定節、二つの揺動節、連結節とからなり、図2の揺動機構部3における4リンク機構では、ベース7が固定節、揺動アーム8,9が揺動節、連結部10が連結節となる。尚、本実施形態においては、固定節の長さ(枢着点A,B間の離間寸法LAB)は12cm、揺動節の長さ(枢着点A,D間の離間寸法LAD、及び、枢着点B,C間の離間寸法LBC)は20cm、連結節の長さ(枢着点C,D間の離間寸法LCD)は10cmに設定されている。
尚、揺動節の長さは、3歳児の脚の平均的な長さ(約23cm)、上物2の座面からステップ2a(図1参照)までの高さ等を考慮すると、本実施形態のように20cmとすることが好ましいが、必ずしもこの値に限定されるものではなく、15〜40cmの範囲内で適宜設定することができる。
また、固定節の長さは、一人乗り用の木馬型揺動遊具としての動作態様の適性から、揺動節の長さの60(±5)%とすることが好ましいが、45〜75%の範囲内で設定することもできる。尚、45%よりも短くすると、軌跡の曲率半径が小さくなり、跳ね上がるような動作態様となってしまい、安全性の面で問題があり、また、75%よりも長くすると、逆に上下動が少なくなり、一人乗り用の木馬型の揺動遊具としての動作態様が適性から外れてしまう(つまり、遊んでも面白くない遊具となってしまう)可能性がある。
連結節の長さは、固定節の長さの80(±5)%とすることが好ましいが、70〜95%の範囲内で設定することもできる。尚、70%よりも短くすると、回動時における上物2の傾斜角度が大きくなって危険であり、また、95%よりも長くすると、回動時において上物2が殆ど傾斜せず、一人乗り用の木馬型揺動遊具としての動作態様が適性から外れてしまう可能性がある。
この揺動機構部3においては、連結節の長さ(枢着点C,D間の離間寸法LCD)が、固定節の長さ(枢着点A,B間の離間寸法LAB)よりも若干短くなるように設定されているため、図2に示す基本状態(平衡状態)においては、左右の揺動節(揺動アーム8,9)がいずれも、下方に対して上方が外側へ拡がるように傾斜した状態で保持されることになる。
図3は、支柱4に取り付けられた状態の揺動機構部3の斜視図である。この図に示されているように、図2に示した4リンク機構(第1の4リンク機構)と全く同一の構成(同一形状、同一寸法)で、全く同様に動作する4リンク機構(揺動アーム8’,9’、及び、連結部10’からなる第2の4リンク機構)が、ベース7の反対側の側面7b’にも取り付けられている。
そして、一方側の揺動アーム8,9と、ベース7を挟んで反対側の揺動アーム8’,9’とが、それぞれの中間部付近に装着されたジョイントバー5,5(揺動側回動規制手段)を介してそれぞれ連結されており、揺動アーム8,9、及び、連結部10からなる一方側の4リンク機構(第1の4リンク機構)と、反対側の揺動アーム8’,9’、及び、連結部10’からなる4リンク機構(第2の4リンク機構)は、連動して、同方向へ回動(揺動)するようになっている。
図1に示す本実施形態の揺動具1は、このような揺動機構部3を採用しているため、使用者(幼児)が上物2の胴部に跨って重心を前方或いは後方へ移動させると、図1に示す平衡状態から、上物2が前方へ移動するとともに前傾状態となり、或いは、上物2が後方へ移動するとともに後傾状態となるまで揺動することになる。また、傾動状態が実現された場合、復元力が働いて反対方向へ動作することになるため、上物2を連続的に揺動させることができるような構造となっている。
尚、揺動アーム8,8’,9,9’に装着されているジョイントバー5,5の外周には、弾性力を有する材料(例えば、ウレタン樹脂等)をチューブ状に形成してなる緩衝材(揺動側緩衝材11a,11b)(揺動側回動規制手段)が装着されている。また、ベース7の両端部付近にも、弾性力を有する材料によって形成した緩衝材(固定側緩衝材12a,12b)(固定側回動規制手段)が、下端側が下方へ向かって開放された状態で装着されている。
これらのジョイントバー5,5、揺動側緩衝材11a,11b、及び、固定側緩衝材12a,12b等は、この揺動具1の使用者の安全性を確保するために、揺動機構部3の揺動動作(回動角度)を所定範囲内に規制するとともに、揺動機構部3が規制位置(限界位置)まで回動した際に生じる衝撃を緩和させるためのものである。
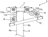
この点について詳細に説明すると、揺動機構部3の動作は、図2に示したような基本状態(平衡状態)から、揺動アーム8,9の下端側、及び、連結部10が、枢着点A,Bを中心として左右方向(図2における左右方向)へ回動(揺動)する形となるが、かかる回動動作は、常に固定状態にあるベース7の両端部付近に配置された固定側緩衝材12a,12b(固定側回動規制手段)、及び、支柱4の両側面4a,4b(或いは、その付近の固定された部材)(固定側回動規制手段)に対し、ジョイントバー5,5(揺動側回動規制手段)の外周に装着されている揺動側緩衝材11a,11b(揺動側回動規制手段)が関わり合う(接触し、押し付けられる)ことによって、規制されるように構成されている。
より具体的には、揺動アーム8,9の下端側、及び、連結部10が、枢着点A,Bを中心としてそれぞれ右方向へ回動していくとき、所定の角度まで回動した時点で、図4に示すように、まず、右側の揺動アーム9に固定されている揺動側緩衝材11bが、ベース7の右端部付近に配置されている固定側緩衝材12bと接触する。尚、この時点では、左側の揺動アーム8に取り付けられている揺動側緩衝材11aは、いずれの部材とも接触していない。
揺動側緩衝材11a,11b、及び、固定側緩衝材12a,12bは、上述の通り、弾性力を有する材料によって形成されているため、右側の揺動アーム9の揺動側緩衝材11bと固定側緩衝材12bが接触したとしても、揺動アーム8,9及び連結部10の回動動作がいきなり止まってしまうことはなく、揺動アーム8,9及び連結部10は、揺動側緩衝材11bを固定側緩衝材12bに対して押し付けながら、両者を弾性変形させつつ、慣性力に従って更に右側へ回動していくことになる。但し、揺動側緩衝材11bと固定側緩衝材12bが弾性変形する際に相応のエネルギーが消費され、右方向へ回動する揺動アーム8,9及び連結部10の慣性力が減衰される。
図4に示した状態から、揺動アーム8,9及び連結部10が更に右方向へ回動すると、左側の揺動アーム8の取り付けられている揺動側緩衝材11aが、支柱4の左側面4a等の固定側回動規制手段と接触し、次いで、図5に示すように、揺動側緩衝材11aが支柱4の左側面4a等に押し付けられることによって弾性変形した状態となる。このとき、もう一方の揺動側緩衝材11bは、図4に示した状態のときよりも更に大きな力で固定側緩衝材12bに対して押し付けられることになるため、揺動側緩衝材11b及び固定側緩衝材12bは、より大きく変形する。
従って、図5に示した状態となったときには、左側の揺動側緩衝材11aが弾性変形し、かつ、右側の揺動側緩衝材11bと固定側緩衝材12bがより大きく弾性変形することにより、図4に示した状態のときよりも、更に大きなエネルギーが消費され、右方向へ回動する揺動アーム8,9及び連結部10の慣性力が「0」まで減衰されることになり、回動が停止する。
そして、揺動側緩衝材11a,11bと固定側緩衝材12bの復元力(反発力)と重力によって、揺動アーム8,9及び連結部10が反転して左方向へ回動し始め、左方向への回動が限界位置まで達した際には、左側の揺動側緩衝材11aが固定側緩衝材12aに押し付けられて変形するとともに、右側の揺動側緩衝材11bが支柱4の右側面4b等に押し付けられることによって変形し、右側へ回動した場合と全く同様の原理で、揺動アーム8,9及び連結部10の慣性力が減衰され、反転し、揺動動作を反復させて遊べるようになっている。
このように本実施形態においては、揺動アーム8,9等の回動動作中において、揺動範囲を規制する手段が(一方の揺動アーム8(又は9)の揺動側回動規制手段と、他方の揺動アーム9(又は8)の揺動側回動規制手段とが、それぞれ相対する固定側回動規制手段に対し)時間差をもって段階的に作用するように構成されており、また、それらが適切なタイミングで接触するように設計され、更に、揺動側緩衝材11a,11bと固定側緩衝材12a,12bの材料として、適切な弾性力を有するものが選択されているため、体重70kg程度の大人が使用した場合であっても、揺動側緩衝材11a,11b或いは固定側緩衝材12a,12bが弾性変形の限界に達する前に、揺動アーム8等が回動する際の慣性力を好適に減衰し、不快な衝撃を伴わずに滑らかに反転させることができる。また、緩衝材が限界まで変形することを回避できるので、耐久性及び安全性についても、十分な性能を期待することができる。
尚、本実施形態の回動規制手段においては、揺動側と固定側のいずれにも緩衝材が含まれているが、必ずしも両側に緩衝材が必要である訳ではなく、場合によっては、いずれか一方側の緩衝材を省略することもできる。例えば、揺動側回動規制手段を、より弾性力の大きな材料によって形成した揺動側緩衝材11a,11bとジョイントバー5,5とによって構成するとともに、固定側回動規制手段を、回動動作中において固定状態にある部材(ベース7の底面等)のみによって構成しても良いし、或いはその反対に、ベース7の両端部に配置した固定側緩衝材12a,12bに加え、支柱4の両側面4a,4bにも固定側緩衝材を取り付けることにより、固定側回動規制手段を、回動動作中において固定状態にあるベース7の両端部、及び、支柱4の両側面4a,4b(或いは、その他の固定状態にある部材)と、それらの固定側緩衝材によって構成するとともに、揺動側回動規制手段を、ジョイントバー5,5のみによって構成しても良い。
また、当然のことながら、固定側緩衝材を、ベース7の両端部に配置するとともに、支柱4の両側面4a,4bにも配置し、更に、ジョイントバー5,5の外周に揺動側緩衝材11a,11bを取り付けて、相互に接触するすべての回動規制手段に緩衝材を含めるような構成とすることもできる。
次に、本願発明の第2の実施形態に係る揺動具について説明する。図6は、本発明の第2の実施形態に係る揺動具1(一人乗り用の木馬型揺動遊具)の側面図である。この図において2は上物(木馬)、3は揺動機構部、4は支柱、6はコンクリート基礎である。図示されているように、揺動機構部3は、上物2(揺動機構部3に対して固定されている。)の大きさと比べて非常に小さく、コンパクトに構成されており、一本の支柱4(支持手段)のみによって設置面の上方に支持されている。
図7は、支柱4に取り付けられた状態の揺動機構部3の側面図である。この図において、7はベース、8,9は揺動アーム、10は連結部である。これらのうち、ベース7は、水平な天端面7aと、垂直に保持された二つの平行な側面7b,7b’とを有しており(図8参照)、それらの両側面7b,7b’には、貫通孔がそれぞれ二つずつ、所定間隔を置いて、左右方向についての対称位置に形成されている。尚、これらの貫通孔の中心点を結ぶ仮想線は水平である。
このベース7は、本実施形態においては、金属製の角形パイプを所定の長さに裁断し、両端部を加工することによって形成されており、これを横向きにした状態で(長手方向が水平となるような向きで)支柱4の上端に固定されている。
揺動アーム8は、基部8a、レバー8b、及び、延長部8cとによって構成されている。基本状態(図7に示す状態)においては、レバー8bは、基部8aから下方へ向かって延在し、延長部8cは、基部8aからその反対側、即ち、上方へ向かって延在している。延長部8cの長さ(基部8aからの突出量)は、レバー8bの長さの約1/3となっている。
基部8aには、揺動アーム8をベース7に取り付けるための取付孔が形成されており、揺動アーム8は、この取付孔、及び、ベース7の貫通孔に挿通させたボルトにより、ベース7に対して回動可能なように枢着されている。また、レバー8bの下端にも取付孔が形成されている。
揺動アーム9は、揺動アーム8とは対称的な形状となっている。対称的であるという点を除けば、揺動アーム9は、揺動アーム8と全く同一の構造となっており、基部9a、レバー9b、及び、延長部9cとによって構成され、基部9aに形成されている取付孔、及び、ベース7の貫通孔に挿通させたボルトにより、ベース7に対して回動可能なように枢着され、また、レバー9bの下端には、取付孔が形成されている。
連結部10には、所定間隔を置いた位置に、二つのボルトが固定されている。これらのボルトは、レバー8bの取付孔、及び、レバー9bの取付孔にそれぞれ挿通されている。連結部10は、これらのボルトを軸として、揺動アーム8,9に対して回動可能な状態で連結されている。尚、図7の符号Aは、ベース7と揺動アーム8との枢着点、符号Bはベース7と揺動アーム9との枢着点、符号Cは揺動アーム9と連結部10との枢着点、符号Dは揺動アーム8と連結部10との枢着点をそれぞれ示している。
揺動機構部3は、上述の通り、ベース7の側面において所定間隔を置いて設定された二つの枢着点A,Bにおいて、二つの揺動アーム8,9の各基部8a,9aが、支柱4に固定されているベース7に対してそれぞれ枢着され、また、連結部10において所定間隔を置いて設定された二つの枢着点C,Dにおいて、二つの揺動アーム8,9の各レバー8b,9bの下端側が連結部10に対してそれぞれ枢着されているため、揺動アーム8,9と連結部10は、ベース7の二つの枢着点A,Bの軸線周り方向へ所定角度範囲内で回動する4リンク機構として動作することになる。
図7の揺動機構部3における4リンク機構では、ベース7が固定節、揺動アーム8,9のレバー8b,9bが揺動節、連結部10が連結節となる。尚、本実施形態においては、固定節の長さ(枢着点A,B間の離間寸法LAB)は12cm、揺動節の長さ(枢着点A,D間の離間寸法LAD、及び、枢着点B,C間の離間寸法LBC)は20cm、連結節の長さ(枢着点C,D間の離間寸法LCD)は10cmに設定されている。
尚、揺動節の長さは、3歳児の脚の平均的な長さ(約23cm)、上物2の座面からステップ2aまでの高さ等を考慮すると、本実施形態のように20cmとすることが好ましいが、必ずしもこの値に限定されるものではなく、15〜40cmの範囲内で適宜設定することができる。
また、固定節の長さは、遊具としての動作態様の適性から、揺動節の長さの60(±5)%とすることが好ましいが、45〜75%の範囲内で設定することもできる。尚、45%よりも短くすると、軌跡の曲率半径が小さくなり、跳ね上がるような動作態様となってしまい、安全性の面で問題があり、また、75%よりも長くすると、逆に上下動が少なくなり、遊具としての動作態様が適性から外れてしまう(つまり、遊んでも面白くない遊具となってしまう)可能性がある。
連結節の長さは、固定節の長さの80(±5)%とすることが好ましいが、70〜95%の範囲内で設定することもできる。尚、70%よりも短くすると、回動時における上物2の傾斜角度が大きくなって危険であり、また、95%よりも長くすると、回動時において上物2が殆ど傾斜せず、遊具としての動作態様が適性から外れてしまう可能性がある。
この揺動機構部3においては、連結節の長さ(枢着点C,D間の離間寸法LCD)が、固定節の長さ(枢着点A,B間の離間寸法LAB)よりも若干短くなるように設定されているため、図7に示す基本状態(平衡状態)においては、左右の揺動節(レバー8b,9b)がいずれも、下方に対して上方が外側へ拡がるように傾斜した状態で保持されることになる。
図8は、支柱4に取り付けられた状態の揺動機構部3の斜視図である。この図に示されているように、図7に示した4リンク機構(第1の4リンク機構)と全く同一の構成(同一形状、同一寸法)で、全く同様に動作する4リンク機構(揺動アーム8’,9’、及び、連結部10’からなる第2の4リンク機構)が、ベース7の反対側の側面7b’にも取り付けられている。
そして、一方側の揺動アーム8,9の延長部8c,9cと、ベース7を挟んで反対側の揺動アーム8’,9’の延長部8c’,9c’とが、各延長部8c,8c’,9c,9c’の上端に固定されたジョイントバー5,5(揺動側回動規制手段)を介してそれぞれ連結されており、揺動アーム8,9、及び、連結部10からなる一方側の4リンク機構(第1の4リンク機構)と、反対側の揺動アーム8’,9’、及び、連結部10’からなる4リンク機構(第2の4リンク機構)は、連動して、同方向へ回動(揺動)するようになっている。
図6に示す本実施形態の揺動具1は、このような揺動機構部3を採用しているため、使用者(幼児)が上物2の胴部に跨って重心を前方或いは後方へ移動させると、図6に示す平衡状態から、上物2が前方へ移動するとともに前傾状態となり、或いは、上物2が後方へ移動するとともに後傾状態となるまで揺動することになる。また、傾動状態が実現された場合、復元力が働いて反対方向へ動作することになるため、上物2を連続的に揺動させることができるような構造となっている。
尚、揺動アーム8,8’,9,9’の延長部8c,8c’,9c,9c’の上端に固定されているジョイントバー5,5の外周には、弾性力を有する材料(例えば、ウレタン樹脂等)をチューブ状に形成してなる緩衝材(揺動側緩衝材11a,11b)(揺動側回動規制手段)が装着されている。また、ベース7の中央にも、弾性力を有する材料によって形成した緩衝材(固定側緩衝材12)(固定側回動規制手段)が、上端側が上方へ向かって開放された状態で取り付けられている。
これらのジョイントバー5,5、揺動側緩衝材11a,11b、ベース7の天端面、及び、固定側緩衝材12は、この揺動具1の使用者の安全性を確保するために、揺動機構部3の揺動動作(回動角度)を所定範囲内に規制するとともに、揺動機構部3が規制位置(限界位置)まで回動した際に生じる衝撃を緩和させるためのものである。
この点について詳細に説明すると、揺動機構部3の動作は、図7に示したような基本状態(平衡状態)から、揺動アーム8,9の下端側、及び、連結部10が、枢着点A,Bを中心として左右方向(図7における左右方向)へ回動(揺動)する形となるが、かかる回動動作は、常に固定状態にあるベース7の天端面の中央に配置された固定側緩衝材12(固定側回動規制手段)、及び、ベース7の天端面の両端部(固定側回動規制手段)に対し、ジョイントバー5,5(揺動側回動規制手段)の外周に装着されている揺動側緩衝材11a,11b(揺動側回動規制手段)が関わり合う(接触し、押し付けられる)ことによって、規制されるように構成されている。
より具体的には、揺動アーム8,9の下端側、及び、連結部10が、枢着点A,Bを中心としてそれぞれ右方向へ回動していくとき、所定の角度まで回動した時点で、図9に示すように、まず、右側の揺動アーム9の延長部9cに固定されている揺動側緩衝材11bが、ベース7の中央に配置されている固定側緩衝材12と接触する。尚、この時点では、左側の揺動アーム8の延長部8cに固定されている揺動側緩衝材11aは、ベース7の天端面とは接触していない。
揺動側緩衝材11a,11b、及び、固定側緩衝材12は、上述の通り、弾性力を有する材料によって形成されているため、右側の揺動アーム9の揺動側緩衝材11bと固定側緩衝材12が接触したとしても、揺動アーム8,9及び連結部10の回動動作がいきなり止まってしまうことはなく、揺動アーム8,9及び連結部10は、揺動側緩衝材11bを固定側緩衝材12に対して押し付けながら、両者を弾性変形させつつ、慣性力に従って更に右側へ回動していくことになる。但し、揺動側緩衝材11bと固定側緩衝材12が弾性変形する際に相応のエネルギーが消費され、右方向へ回動する揺動アーム8,9及び連結部10の慣性力が減衰される。
図9に示した状態から、揺動アーム8,9及び連結部10が更に右方向へ回動すると、左側の揺動アーム8の延長部8cに固定されている揺動側緩衝材11aが、ベース7の天端面と接触し、次いで、図10に示すように、揺動側緩衝材11aがベース7の天端面に押し付けられることによって弾性変形した状態となる。このとき、もう一方の揺動側緩衝材11bは、図9に示した状態のときよりも更に大きな力で固定側緩衝材12に対して押し付けられることになるため、揺動側緩衝材11b及び固定側緩衝材12は、より大きく変形する。
従って、図10に示した状態となったときには、左側の揺動側緩衝材11aが弾性変形し、かつ、右側の揺動側緩衝材11bと固定側緩衝材12がより大きく弾性変形することにより、図10に示した状態のときよりも、更に大きなエネルギーが消費され、右方向へ回動する揺動アーム8,9及び連結部10の慣性力が「0」まで減衰されることになり、回動が停止する。
そして、揺動側緩衝材11a,11bと固定側緩衝材12の復元力(反発力)と重力によって、揺動アーム8,9及び連結部10が反転して左方向へ回動し始め、左方向への回動が限界位置まで達した際には、左側の揺動側緩衝材11aが固定側緩衝材12に押し付けられて変形するとともに、右側の揺動側緩衝材11bがベース7の天端面に押し付けられることによって変形し、右側へ回動した場合と全く同様の原理で、揺動アーム8,9及び連結部10の慣性力が減衰され、反転し、揺動動作を反復させて遊べるようになっている。
このように本実施形態においては、揺動アーム8,9等の回動動作中において、揺動範囲を規制する手段が(一方の揺動アーム8(又は9)の揺動側回動規制手段と、他方の揺動アーム9(又は8)の揺動側回動規制手段とが、それぞれ相対する固定側回動規制手段に対し)時間差をもって段階的に作用するように構成されており、また、それらが適切なタイミングで接触するように設計され、更に、揺動側緩衝材11a,11bと固定側緩衝材12の材料として、適切な弾性力を有するものが選択されているため、体重70kg程度の大人が使用した場合であっても、揺動側緩衝材11a,11b或いは固定側緩衝材12が弾性変形の限界に達する前に、揺動アーム8等が回動する際の慣性力を好適に減衰し、不快な衝撃を伴わずに滑らかに反転させることができる。また、緩衝材が限界まで変形することを回避できるので、耐久性及び安全性についても、十分な性能を期待することができる。
尚、本実施形態の回動規制手段においては、揺動側と固定側のいずれにも緩衝材が含まれているが、必ずしも両側に緩衝材が必要である訳ではなく、場合によっては、いずれか一方側の緩衝材を省略することもできる。例えば、揺動側回動規制手段を、より弾性力の大きな材料によって形成した揺動側緩衝材11a,11bとジョイントバー5,5とによって構成するとともに、固定側回動規制手段を、回動動作中において固定状態にある部材(ベース7の天端面等)のみによって構成しても良いし、或いはその反対に、ベース7の天端面中央に配置した固定側緩衝材12に加え、ベース7の天端面の左右両端にも固定側緩衝材を取り付けることにより、固定側回動規制手段を、回動動作中において固定状態にあるベース7の天端面(或いは、その他の固定状態にある部材)と、それらの固定側緩衝材によって構成するとともに、揺動側回動規制手段を、ジョイントバー5,5のみによって構成しても良い。
また、当然のことながら、固定側緩衝材を、ベース7の天端面の両端及び中央部に配置するとともに、ジョイントバー5,5の外周に揺動側緩衝材11a,11bを取り付けて、相互に接触するすべての回動規制手段に緩衝材を含めるような構成とすることもできる。
次に、本願発明の第3の実施形態に係る揺動具について説明する。図11は、本発明の第3の実施形態に係る揺動具の揺動機構部3の側面図である。この揺動機構部3は、揺動具を「シーソー」として構成する場合に、好適に用いることができるものである。この図において、7はベース、8,9は揺動アーム、10は連結部である。これらのうち、ベース7は、水平な天端面7aと、垂直に保持された二つの平行な側面7bとを有しており、それらの両側面7bには、貫通孔がそれぞれ二つずつ、所定間隔を置いて、左右方向についての対称位置に形成されている。尚、これらの貫通孔の中心点を結ぶ仮想線は水平である。
このベース7は、本実施形態においては、金属製の角形パイプを所定の長さに裁断し、両端部を適宜加工することによって形成されており、これを横向きにした状態で(長手方向が水平となるような向きで)支柱4の上端に固定されている。
揺動アーム8は、基本状態(図11に示す状態)においては、若干傾斜した状態で上下方向へ延在している。揺動アーム8の一端(上端)には、ベース7に取り付けるための取付孔が形成されており、揺動アーム8は、この取付孔、及び、ベース7の貫通孔に挿通させたボルトにより、ベース7に対して回動可能なように枢着されている。また、揺動アーム8の他端(下端)にも取付孔が形成されている。
揺動アーム9は、揺動アーム8とは対称的な形状となっている。対称的であるという点を除けば、揺動アーム9は、揺動アーム8と全く同一の構造となっており、上端及び下端にそれぞれ取付孔が形成されており、上端の取付孔、及び、ベース7の貫通孔に挿通させたボルトにより、ベース7に対して回動可能なように枢着されている。
連結部10には、所定間隔を置いた位置に、二つのボルトが固定されている。これらのボルトは、揺動アーム8,9の取付孔にそれぞれ挿通されている。連結部10は、これらのボルトを軸として、揺動アーム8,9に対して回動可能な状態で連結されている。尚、図11の符号Aは、ベース7と揺動アーム8との枢着点、符号Bはベース7と揺動アーム9との枢着点、符号Cは揺動アーム9と連結部10との枢着点、符号Dは揺動アーム8と連結部10との枢着点をそれぞれ示している。
揺動機構部3は、上述の通り、ベース7の側面において所定間隔を置いて設定された二つの枢着点A,Bにおいて、二つの揺動アーム8,9が、支柱4に固定されているベース7に対してそれぞれ枢着され、また、連結部10において所定間隔を置いて設定された二つの枢着点C,Dにおいて、二つの揺動アーム8,9の下端側が連結部10に対してそれぞれ枢着されているため、揺動アーム8,9と連結部10は、ベース7の二つの枢着点A,Bの軸線周り方向へ所定角度範囲内で回動する4リンク機構として動作することになる。
図11の揺動機構部3における4リンク機構では、ベース7が固定節、揺動アーム8,9が揺動節、連結部10が連結節となる。尚、本実施形態においては、固定節の長さ(枢着点A,B間の離間寸法LAB)は20cm、揺動節の長さ(枢着点A,D間の離間寸法LAD、及び、枢着点B,C間の離間寸法LBC)は18cm、連結節の長さ(枢着点C,D間の離間寸法LCD)は35cmに設定されている。
尚、揺動節の長さは、本実施形態のように18cmとすることが好ましいが、必ずしもこの値に限定されるものではなく、15〜25cmの範囲内で適宜設定することができる。
また、固定節の長さは、シーソーとしての動作態様の適性から、揺動節の長さの110(±5)%とすることが好ましいが、120〜100%の範囲内で設定することもできる。尚、100%よりも短くすると、緩衝材と支柱が干渉するという問題があり、また、120%よりも長くすると、シーソーとして機能しないという問題がある。
連結節の長さは、固定節の長さの175(±5)%とすることが好ましいが、200〜160%の範囲内で設定することもできる。尚、160%よりも短くすると、シーソーとして上下動が小さくなるという問題があり、また、200%よりも長くすると、片方が上昇から下降に転ずる時に殆ど垂直に落下してしまうという問題がある。
この揺動機構部3においては、連結節の長さ(枢着点C,D間の離間寸法LCD)が、固定節の長さ(枢着点A,B間の離間寸法LAB)よりも長くなるように設定されているため、図11に示す基本状態(平衡状態)においては、左右の揺動節(揺動アーム8,9)がいずれも、上方に対して下方が外側へ拡がるように傾斜した状態で保持されることになる。
尚、本実施形態においても、一方側の揺動アーム8,9と、ベース7を挟んで反対側の揺動アーム8’,9’(図示せず)とが、それぞれの中間部付近に装着されたジョイントバー5,5(揺動側回動規制手段)を介してそれぞれ連結されており、揺動アーム8,9、及び、連結部10からなる一方側の4リンク機構(第1の4リンク機構)と、反対側の揺動アーム8’,9’、及び、連結部10’からなる4リンク機構(第2の4リンク機構)は、連動して、同方向へ回動(揺動)するようになっている。
本実施形態の揺動具は、このような揺動機構部3を採用しているため、使用者(幼児2名)が、この揺動機構部3によって支持されるシーソーの両端の着座部にそれぞれ跨り、地面を蹴って、上方へ飛び上がるような動作を交互に行うと、図11に示す平衡状態から、右上がりの傾斜状態、或いは、左上がりの傾斜状態となって揺動することになる。
尚、揺動アーム8,9,に装着されているジョイントバー5,5の外周には、弾性力を有する材料(例えば、ウレタン樹脂等)をチューブ状に形成してなる緩衝材(揺動側緩衝材11a,11b)(揺動側回動規制手段)が装着されている。また、ベース7の両端部付近にも、弾性力を有する材料によって形成した緩衝材(固定側緩衝材12a,12b)(固定側回動規制手段)が、下端側が下方へ向かって開放された状態で装着されている。
これらのジョイントバー5,5、揺動側緩衝材11a,11b、及び、固定側緩衝材12a,12b等は、この揺動具1の使用者の安全性を確保するために、揺動機構部3の揺動動作(回動角度)を所定範囲内に規制するとともに、揺動機構部3が規制位置(限界位置)まで回動した際に生じる衝撃を緩和させるためのものである。
この点について詳細に説明すると、揺動機構部3の動作は、図11に示したような基本状態(平衡状態)から、揺動アーム8,9の下端側、及び、連結部10が、枢着点A,Bを中心として左右方向(図11における左右方向)へ回動(揺動)する形となるが、かかる回動動作は、常に固定状態にあるベース7の両端部付近に配置された固定側緩衝材12a,12b(固定側回動規制手段)、及び、支柱4の両側面4a,4b(或いは、その付近の固定された部材)(固定側回動規制手段)に対し、ジョイントバー5,5(揺動側回動規制手段)の外周に装着されている揺動側緩衝材11a,11b(揺動側回動規制手段)が関わり合う(接触し、押し付けられる)ことによって、規制されるように構成されている。
より具体的には、揺動アーム8,9の下端側、及び、連結部10が、枢着点A,Bを中心としてそれぞれ右方向へ回動していくとき、所定の角度まで回動した時点で、図12に示すように、まず、右側の揺動アーム9に固定されている揺動側緩衝材11bが、ベース7の右端部付近に配置されている固定側緩衝材12bと接触する。尚、この時点では、左側の揺動アーム8に取り付けられている揺動側緩衝材11aは、いずれの部材とも接触していない。
揺動側緩衝材11a,11b、及び、固定側緩衝材12a,12bは、上述の通り、弾性力を有する材料によって形成されているため、右側の揺動アーム9の揺動側緩衝材11bと固定側緩衝材12bが接触したとしても、揺動アーム8,9及び連結部10の回動動作がいきなり止まってしまうことはなく、揺動アーム8,9及び連結部10は、揺動側緩衝材11bを固定側緩衝材12bに対して押し付けながら、両者を弾性変形させつつ、慣性力に従って更に右側へ回動していくことになる。但し、揺動側緩衝材11bと固定側緩衝材12bが弾性変形する際に相応のエネルギーが消費され、右方向へ回動する揺動アーム8,9及び連結部10の慣性力が減衰される。
図12に示した状態から、揺動アーム8,9及び連結部10が更に右方向へ回動すると、左側の揺動アーム8の取り付けられている揺動側緩衝材11aが、支柱4の左側面4a等の固定側回動規制手段と接触し、次いで、図13に示すように、揺動側緩衝材11aが支柱4の左側面4a等に押し付けられることによって弾性変形した状態となる。このとき、もう一方の揺動側緩衝材11bは、図12に示した状態のときよりも更に大きな力で固定側緩衝材12bに対して押し付けられることになるため、揺動側緩衝材11b及び固定側緩衝材12bは、より大きく変形する。
従って、図13に示した状態となったときには、左側の揺動側緩衝材11aが弾性変形し、かつ、右側の揺動側緩衝材11bと固定側緩衝材12bがより大きく弾性変形することにより、図12に示した状態のときよりも、更に大きなエネルギーが消費され、右方向へ回動する揺動アーム8,9及び連結部10の慣性力が「0」まで減衰されることになり、回動が停止する。
そして、揺動側緩衝材11a,11bと固定側緩衝材12bの復元力(反発力)と重力によって、揺動アーム8,9及び連結部10が反転して左方向へ回動し始め、左方向への回動が限界位置まで達した際には、左側の揺動側緩衝材11aが固定側緩衝材12aに押し付けられて変形するとともに、右側の揺動側緩衝材11bが支柱4の右側面4b等に押し付けられることによって変形し、右側へ回動した場合と全く同様の原理で、揺動アーム8,9及び連結部10の慣性力が減衰され、反転し、揺動動作を反復させて遊べるようになっている。
このように本実施形態においては、揺動アーム8,9等の回動動作中において、揺動範囲を規制する手段が(一方の揺動アーム8(又は9)の揺動側回動規制手段と、他方の揺動アーム9(又は8)の揺動側回動規制手段とが、それぞれ相対する固定側回動規制手段に対し)時間差をもって段階的に作用するように構成されており、また、それらが適切なタイミングで接触するように設計され、更に、揺動側緩衝材11a,11bと固定側緩衝材12a,12bの材料として、適切な弾性力を有するものが選択されているため、体重70kg程度の大人が使用した場合であっても、揺動側緩衝材11a,11b或いは固定側緩衝材12a,12bが弾性変形の限界に達する前に、揺動アーム8等が回動する際の慣性力を好適に減衰し、不快な衝撃を伴わずに滑らかに反転させることができる。また、緩衝材が限界まで変形することを回避できるので、耐久性及び安全性についても、十分な性能を期待することができる。
尚、本実施形態の回動規制手段においても、揺動側と固定側のいずれにも緩衝材が含まれているが、必ずしも両側に緩衝材が必要である訳ではなく、場合によっては、いずれか一方側の緩衝材を省略することもできる。例えば、揺動側回動規制手段を、より弾性力の大きな材料によって形成した揺動側緩衝材11a,11bとジョイントバー5,5とによって構成するとともに、固定側回動規制手段を、回動動作中において固定状態にある部材(ベース7の底面等)のみによって構成しても良いし、或いはその反対に、ベース7の両端部に配置した固定側緩衝材12a,12bに加え、支柱4の両側面4a,4bにも固定側緩衝材を取り付けることにより、固定側回動規制手段を、回動動作中において固定状態にあるベース7の両端部、及び、支柱4の両側面4a,4b(或いは、その他の固定状態にある部材)と、それらの固定側緩衝材によって構成するとともに、揺動側回動規制手段を、ジョイントバー5,5のみによって構成しても良い。
また、当然のことながら、固定側緩衝材を、ベース7の両端部に配置するとともに、支柱4の両側面4a,4b等にも配置し、更に、ジョイントバー5,5の外周に揺動側緩衝材11a,11bを取り付けて、相互に接触するすべての回動規制手段に緩衝材を含めるような構成とすることもできる。
以上、本発明を、一人乗り用の木馬型揺動遊具、或いは、シーソー等の「遊具」として構成した例を、本発明の実施形態として説明したが、本発明は必ずしも「遊具」に限定されるものではなく、例えば、ロッキングチェア等のように、遊具以外の揺動具としても構成することができる。
本発明の第1の実施形態に係る揺動具1の側面図。 図1に示した揺動機構部3の側面図。 図2に示した揺動機構部3の斜視図。 図2に示した揺動機構部3の動作態様を示す側面図。 図2に示した揺動機構部3の動作態様を示す側面図。 本発明の第2の実施形態に係る揺動具1の側面図。 図6に示した揺動機構部3の側面図。 図7に示した揺動機構部3の斜視図。 図7に示した揺動機構部3の動作態様を示す側面図。 図7に示した揺動機構部3の動作態様を示す側面図。 本発明の第3の実施形態に係る揺動具の揺動機構部3の側面図。 図11に示した揺動機構部3の動作態様を示す側面図。 図11に示した揺動機構部3の動作態様を示す側面図。 従来の揺動遊具301の構造及び動作態様を示す側面図。 図14の揺動遊具301の動作態様を模式的に示した説明図。
符号の説明
1:揺動具、
2:上物、
2a:ステップ、
3:揺動機構部、
4:支柱、
4a:左側面、
4b:右側面、
5:ジョイントバー、
6:コンクリート基礎、
7:ベース、
8,9:揺動アーム、
8a,9a:基部、
8b,9b:レバー、
8c,9c:延長部、
10:連結部、
11a,11b:揺動側緩衝材、
12,12a,12b:固定側緩衝材、
301:揺動遊具、
302:木馬、
304,304a,304b:支柱、
314:ステップ、
315,315a,315b:梃子

Claims (7)

  1. 揺動機構部と、これを設置面の上方において支持する支持手段と、前記揺動機構部に対して固定される上物とによって構成される揺動具であって、
    前記揺動機構部は、固定節として機能するベースと、揺動節として機能する二つの揺動アームと、連結節として機能する連結部とからなる4リンク機構を少なくとも一つ有し、
    前記ベースの側面において所定間隔を置いて設定された二つの枢着点(A,B)において、前記二つの揺動アームが前記ベースに対してそれぞれ枢着されるとともに、前記連結部において所定間隔を置いて設定された二つの枢着点(C,D)において、前記二つの揺動アームの下端側が前記連結部に対してそれぞれ枢着されることにより、前記二つの揺動アーム、及び、前記連結部が、前記ベースの二つの枢着点(A,B)を中心として回動可能なように構成され、
    平衡状態から前記二つの揺動アームが所定の角度まで回動した際に、前記二つの揺動アームの各中間部に配置された各揺動側回動規制手段が、前記揺動アームの回動動作中において固定状態にある固定側回動規制手段と関わり合うことによって、前記二つの揺動アームの回動角度範囲が規制されるように構成されていることを特徴とする揺動具。
  2. 揺動機構部と、これを設置面の上方において支持する支持手段と、前記揺動機構部に対して固定される上物とによって構成される揺動具であって、
    前記揺動機構部は、固定節として機能するベースと、揺動節として機能する二つの揺動アームと、連結節として機能する連結部とからなる4リンク機構を少なくとも一つ有し、
    前記二つの揺動アームは、基部と、当該基部から下方へ向かって延在するレバーと、上方へ向かって延在し、揺動側回動規制手段を有する延長部とによってそれぞれ構成され、
    前記ベースの側面において所定間隔を置いて設定された二つの枢着点(A,B)において、前記二つの揺動アームの各基部が前記ベースに対してそれぞれ枢着されるとともに、前記連結部において所定間隔を置いて設定された二つの枢着点(C,D)において、前記二つの揺動アームの各レバーの下端側が前記連結部に対してそれぞれ枢着されることにより、前記二つの揺動アーム、及び、前記連結部が、前記ベースの二つの枢着点(A,B)を中心として回動可能なように構成され、
    平衡状態から前記二つの揺動アームが所定の角度まで回動した際に、前記二つの揺動アームの延長部の各揺動側回動規制手段が、前記揺動アームの回動動作中において固定状態にある固定側回動規制手段と関わり合うことによって、前記二つの揺動アームの回動角度範囲が規制されるように構成されていることを特徴とする揺動具。
  3. 前記揺動側回動規制手段と、前記固定側回動規制手段のうち、少なくともいずれか一方側に緩衝材が含まれており、
    前記二つの揺動アームの回動動作中において、一方の揺動アームの揺動側回動規制手段と、他方の揺動アームの揺動側回動規制手段とが、それぞれ相対する前記固定側回動規制手段に対し、時間差をもって関わり合うように構成されていることを特徴とする、請求項1又は請求項2に記載の揺動具。
  4. 前記揺動機構部が、前記ベースの一方側の側面に対して枢着された二つの揺動アームと、それらの揺動アームに枢着された連結部とからなる第1の4リンク機構と、前記ベースの反対側の側面に対して枢着された二つの揺動アームと、それらの揺動アームに枢着された連結部とからなる第2の4リンク機構とを有し、
    前記ベースの一方側の揺動アームと、反対側の揺動アームとが、前記揺動側回動規制手段として機能する二つのジョイントバーによってそれぞれ連結され、前記第1の4リンク機構と前記第2の4リンク機構が連動して同方向へ回動するように構成されていることを特徴とする、請求項1又は請求項2に記載の揺動具。
  5. 前記二つのジョイントバーに、揺動側回動規制手段として機能する緩衝材が装着されていることを特徴とする、請求項4に記載の揺動具。
  6. 前記ベースの両端部に、固定側回動規制手段として機能する緩衝材が、下端側が下方へ向かって開放された状態で取り付けられていることを特徴とする、請求項1に記載の揺動具。
  7. 前記ベースの中央に、固定側回動規制手段として機能する緩衝材が、上端側が上方へ向かって開放された状態で取り付けられていることを特徴とする、請求項2に記載の揺動具。
JP2008183554A 2008-07-15 2008-07-15 揺動具 Active JP5319187B2 (ja)

Priority Applications (1)

Application Number Priority Date Filing Date Title
JP2008183554A JP5319187B2 (ja) 2008-07-15 2008-07-15 揺動具

Applications Claiming Priority (1)

Application Number Priority Date Filing Date Title
JP2008183554A JP5319187B2 (ja) 2008-07-15 2008-07-15 揺動具

Publications (2)

Publication Number Publication Date
JP2010022394A true JP2010022394A (ja) 2010-02-04
JP5319187B2 JP5319187B2 (ja) 2013-10-16

Family

ID=41728822

Family Applications (1)

Application Number Title Priority Date Filing Date
JP2008183554A Active JP5319187B2 (ja) 2008-07-15 2008-07-15 揺動具

Country Status (1)

Country Link
JP (1) JP5319187B2 (ja)

Cited By (3)

* Cited by examiner, † Cited by third party
Publication number Priority date Publication date Assignee Title
KR102367985B1 (ko) * 2021-10-05 2022-02-25 윤치영 흔들 놀이기구용 스윙장치
JP2023031176A (ja) * 2021-08-24 2023-03-08 株式会社中村製作所 揺動遊具
CN118680787A (zh) * 2024-08-29 2024-09-24 宁波秉航科技集团有限公司 一种律动输出机构及其应用的律动机

Citations (7)

* Cited by examiner, † Cited by third party
Publication number Priority date Publication date Assignee Title
US3722883A (en) * 1971-10-13 1973-03-27 Raymond Lee Organization Inc Child's swing
JPS5276773U (ja) * 1975-12-05 1977-06-08
JPS5285570U (ja) * 1975-12-22 1977-06-25
JPS55666U (ja) * 1978-06-16 1980-01-05
JPS5647694U (ja) * 1979-09-19 1981-04-27
JPS5764393U (ja) * 1980-10-02 1982-04-16
JPS5764394U (ja) * 1980-10-02 1982-04-16

Patent Citations (7)

* Cited by examiner, † Cited by third party
Publication number Priority date Publication date Assignee Title
US3722883A (en) * 1971-10-13 1973-03-27 Raymond Lee Organization Inc Child's swing
JPS5276773U (ja) * 1975-12-05 1977-06-08
JPS5285570U (ja) * 1975-12-22 1977-06-25
JPS55666U (ja) * 1978-06-16 1980-01-05
JPS5647694U (ja) * 1979-09-19 1981-04-27
JPS5764393U (ja) * 1980-10-02 1982-04-16
JPS5764394U (ja) * 1980-10-02 1982-04-16

Cited By (4)

* Cited by examiner, † Cited by third party
Publication number Priority date Publication date Assignee Title
JP2023031176A (ja) * 2021-08-24 2023-03-08 株式会社中村製作所 揺動遊具
JP7699998B2 (ja) 2021-08-24 2025-06-30 株式会社中村製作所 揺動遊具
KR102367985B1 (ko) * 2021-10-05 2022-02-25 윤치영 흔들 놀이기구용 스윙장치
CN118680787A (zh) * 2024-08-29 2024-09-24 宁波秉航科技集团有限公司 一种律动输出机构及其应用的律动机

Also Published As

Publication number Publication date
JP5319187B2 (ja) 2013-10-16

Similar Documents

Publication Publication Date Title
JP3145749U (ja) 揺動椅子
JP6735826B2 (ja) 椅子及び座の支持機構
TW200819165A (en) Static pedalling fitness apparatus with lateral swinging
JP6735825B2 (ja) 椅子及び座の支持機構
JP5319187B2 (ja) 揺動具
WO2017221312A1 (ja) 椅子及び座の支持機構
JP5574525B2 (ja) 揺動遊具装置
WO2003024379A1 (fr) Mecanisme de support de roue avant pour chaise roulante
US6383083B1 (en) Pivoting uplift apparatus
JP3203714U (ja) 揺動遊戯具
JP2011015765A (ja) 揺動具
JP2008099816A (ja) バランス運動装置
KR101109502B1 (ko) 시소장치
KR20120063952A (ko) 시소형 놀이기구
JP2008201364A (ja) 自転車の後輪懸架装置
KR20100107329A (ko) 흔들놀이기구
JP7699998B2 (ja) 揺動遊具
KR101100044B1 (ko) 시소장치
KR100898934B1 (ko) 라이드봇의 안장 어셈블리
US6722996B2 (en) Moving uplift apparatus
CN217892965U (zh) 一种儿童座兜及儿童推车
JP6473945B1 (ja) バランス運動装置
JP7210523B2 (ja) 椅子
TWI337150B (ja)
US20030022723A1 (en) Turning uplift apparatus

Legal Events

Date Code Title Description
A621 Written request for application examination

Free format text: JAPANESE INTERMEDIATE CODE: A621

Effective date: 20110413

A131 Notification of reasons for refusal

Free format text: JAPANESE INTERMEDIATE CODE: A131

Effective date: 20130423

A521 Request for written amendment filed

Free format text: JAPANESE INTERMEDIATE CODE: A523

Effective date: 20130527

TRDD Decision of grant or rejection written
A01 Written decision to grant a patent or to grant a registration (utility model)

Free format text: JAPANESE INTERMEDIATE CODE: A01

Effective date: 20130618

A61 First payment of annual fees (during grant procedure)

Free format text: JAPANESE INTERMEDIATE CODE: A61

Effective date: 20130711

R150 Certificate of patent or registration of utility model

Ref document number: 5319187

Country of ref document: JP

Free format text: JAPANESE INTERMEDIATE CODE: R150

Free format text: JAPANESE INTERMEDIATE CODE: R150

R250 Receipt of annual fees

Free format text: JAPANESE INTERMEDIATE CODE: R250

R250 Receipt of annual fees

Free format text: JAPANESE INTERMEDIATE CODE: R250

R250 Receipt of annual fees

Free format text: JAPANESE INTERMEDIATE CODE: R250

R250 Receipt of annual fees

Free format text: JAPANESE INTERMEDIATE CODE: R250

R250 Receipt of annual fees

Free format text: JAPANESE INTERMEDIATE CODE: R250

R250 Receipt of annual fees

Free format text: JAPANESE INTERMEDIATE CODE: R250

R250 Receipt of annual fees

Free format text: JAPANESE INTERMEDIATE CODE: R250

R250 Receipt of annual fees

Free format text: JAPANESE INTERMEDIATE CODE: R250

R250 Receipt of annual fees

Free format text: JAPANESE INTERMEDIATE CODE: R250

R250 Receipt of annual fees

Free format text: JAPANESE INTERMEDIATE CODE: R250