JP2010022153A - 電動工具 - Google Patents

電動工具 Download PDF

Info

Publication number
JP2010022153A
JP2010022153A JP2008181470A JP2008181470A JP2010022153A JP 2010022153 A JP2010022153 A JP 2010022153A JP 2008181470 A JP2008181470 A JP 2008181470A JP 2008181470 A JP2008181470 A JP 2008181470A JP 2010022153 A JP2010022153 A JP 2010022153A
Authority
JP
Japan
Prior art keywords
stator
mounting surface
yoke
rotor
circumferential direction
Prior art date
Legal status (The legal status is an assumption and is not a legal conclusion. Google has not performed a legal analysis and makes no representation as to the accuracy of the status listed.)
Granted
Application number
JP2008181470A
Other languages
English (en)
Other versions
JP5376201B2 (ja
Inventor
Hideyuki Tanimoto
英之 谷本
Current Assignee (The listed assignees may be inaccurate. Google has not performed a legal analysis and makes no representation or warranty as to the accuracy of the list.)
Koki Holdings Co Ltd
Original Assignee
Hitachi Koki Co Ltd
Priority date (The priority date is an assumption and is not a legal conclusion. Google has not performed a legal analysis and makes no representation as to the accuracy of the date listed.)
Filing date
Publication date
Application filed by Hitachi Koki Co Ltd filed Critical Hitachi Koki Co Ltd
Priority to JP2008181470A priority Critical patent/JP5376201B2/ja
Publication of JP2010022153A publication Critical patent/JP2010022153A/ja
Application granted granted Critical
Publication of JP5376201B2 publication Critical patent/JP5376201B2/ja
Expired - Fee Related legal-status Critical Current
Anticipated expiration legal-status Critical

Links

Images

Landscapes

  • Portable Power Tools In General (AREA)
  • Iron Core Of Rotating Electric Machines (AREA)

Abstract

【課題】分割数を少なくした小さな固定子に大きなコイル束を装着したモータを備えた電動工具の提供。
【解決手段】コイル部が装着される固定子3A内に配置された回転子を備え、固定子3Aは第一、第二固定子コア4、4を組合せた枠体から構成され、第一固定子コア4は枠体周方向一端側のヨーク部41と他端側の磁極部42とから構成され、ヨーク部41は一端側に第二固定子コア4と接合する接合部41Aを有し、磁極部42は第二固定子コア4に接合される被接合部43を有する基部42Aと基部42Aから拡開する第一、第二腕部44A、44Bとを備え、第一腕部44Aとヨーク部41とで第一スロット44aが形成され、第二腕部44Bと第二固定子コア4のヨーク部41とで第二スロット44bが形成され、第一、第二スロット44a、b内とに跨ってコイル部が配置されているモータを備えた電動工具を提供する。
【選択図】図4

Description

本発明は電動工具に関し、特に電動工具を駆動するモータに関する。
電動工具に用いられる二極整流子モータの固定子は、固定子を構成する磁極とヨークとを備えた固定子コアと、固定子コアに形成されたスロットへ巻回されたコイル束とから構成されている。この固定子を構成する際には、特許文献1に示されるように、巻回および成形したコイル束を分割した固定子コアのスロットへ設置した後に組立てる方法がある。この方法によると、固定子コアの寸法に制約されない理由から、前記コイル束を整列に巻くことが可能となり、整列巻された前記コイル束を設置した固定子の生産が可能となる。このため、コイル束内部で断熱材として機能する空気が低減し、空気の低減に伴う熱伝導率の上昇によって前記固定子の温度上昇が低減し、製品の出力が向上する。
特開平8−65979号公報
上記の組み立て方法を行うに際し、整列巻で成形した可能な限り大きなコイル束を崩さずに限られた大きさのスロット内へ設置するためには、固定子コアの磁極とヨークをそれぞれ分割した少なくとも三分割以上の分割コアが一般的である。しかし、三分割の固定子コアでは、円筒形状若しくは円弧状のヨークと磁極に分割する必要があるため、円筒形状の軸方向を通る分割面で二分割した従来の固定子コアよりも大形化し、組立時の工数が増加するという問題があった。
また、回転子に対する固定子の径方向位置はモータを内蔵するハウジングに設けられたリブに対するヨークの位置で決めるのが一般的である。このため、磁極とヨークを分割すると、ヨークとリブとの間の精度出しの他に、磁極とヨークとの間での精度出しをする必要が発生する。これにより、磁極の位置精度が低下し、モータ出力が低下するという問題があった。よって本発明は、分割数を少なくした小さな固定子コアにできるだけ大きなコイル束を装着したモータを備えた電動工具を提供することを目的とする。
上記課題を解決するために本発明は、ハウジングと、該ハウジング内に配置されて先端工具を駆動するモータと、を備え、該モータは、該ハウジングに保持される固定子と、該固定子に装着される複数のコイル部と、該固定子内に回転可能に配置され回転軸と直交する断面外周が略円形の回転子とを備えて構成され、該固定子は該回転子を収容する枠体から構成され、該枠体は複数の分割コアを組み合わせて構成され、該分割コアは、該枠体周方向一端側に位置するヨーク部と該枠体周方向他端側に位置し該ヨーク部と一体の磁極部とから構成され、該ヨーク部は、該枠体周方向一端位置に他の該分割コアと接合する接合部を有し、該磁極部は、該ヨーク部が接続されると共に他の該分割コアの他の該接合部が接合される被接合部を有する基部と、該回転子に近接すると共に該基部から拡開し該回転子の表面に沿って該回転子の周方向一方側と他方側とにそれぞれ延出される一対の腕部を備え、該回転子周方向一方側の該腕部と、該基部と一体の該ヨーク部とにより第一スロットが形成され、該回転子周方向他方側の該腕部と、該基部に接合された他の該ヨーク部とにより第二スロットが形成され、該第一スロット内と該第二スロット内とに跨って該コイル部が配置されている電動工具を提供する。
この様な構成によると、分割コアに分割されている状態で、磁極部から延びる他端側のヨーク部が無い状態で磁極部にコイル部を装着することができる。これにより、コイル部が他端側のヨーク部に引っ掛かることが無くなるため、小さい分割コアの小さなスロットにも最大限大きなコイル部を装着することができる。また少なくとも一端側のヨーク部と磁極部とが一体であるため、ヨーク部に対する磁極部の位置精度が高められ、モータ出力の低下を抑制できる。
上記構成の電動工具において、該被接合部には他の接合部が装着される装着面が形成され、該装着面は該腕部の拡開開始位置を端縁として構成されていることが好ましい。
このような構成によると、腕部の根本位置で他の分割コアと接合される構成になる。よって固定子が分割コアに分割されている状態で、コイル部を磁極部に装着する際の障害となる部材を極力減らすことができ、より大きなコイル部を磁極部に装着可能になる。また一の分割コアと他の分割コアとが接合される箇所が基部となるため、接合箇所の面積を大きく採ることができる。これにより分割コアによる磁気抵抗増加を抑制し、高出力のモータを提供することができる。
また該装着面は、該回転軸と直交する断面において該端縁から延出され該回転子の外周に沿い円弧状に構成される第一装着面を備えることが好ましい。
このような構成によると、コイル部を磁極部に装着する際に、一時的に第一装着面上にコイル部を逃がすことができる。よって大きなコイル部を磁極部に装着する際にもコイル部が磁極部に引っ掛かることが無く、好適に装着することが可能になる。
また該装着面は、該回転軸と直交する断面において該第一装着面の反端縁位置から該枠体の外周に向かって延出される第二装着面を備えることが好ましい。
この様な構成によると、一の分割コアに対する他の分割コアの位置を第一装着面と第一装着面に交差する第二装着面とで規定することができる。交差する二面で位置規制を行えるため、一の分割コアに対する他の分割コアの位置を正確に規定することができる。
また該第二装着面には被嵌合部が設けられ、他の該ヨーク部には該被嵌合部と嵌合する嵌合部が設けられていることが好ましい。
この様な構成によると、一の分割コアに他の分割コアを装着した際に外れ難くすることができる。よって電動工具の製造時に、他に治具を用いずとも一の分割コアに他の分割コアが装着された状態を保つことができ、生産性を増すことができる。
また一の該分割コアと他の分割コアとは、該被接合部に他の該接合部が接着されて接続されていることが好ましい。
この様な構成によると、一の分割コアと他の分割コアとを簡単に接合することができる。
また該コイル部は自己融着線が巻回されて構成されていることが好ましい。
この様な構成によると、コイル部の巻崩れが発生し難くなり、コイル部を固定子に装着した後の特性の変化が生じ難くなる。よって安定した性能を得ることができる。
また該枠体は、第一電極部及び第一ヨーク部から構成される第一分割コアと、第二電極部及び第二ヨーク部から構成される第二分割コアとの二分割で構成されていることが好ましい。
本発明の電動工具によれば、分割数を少なくした小さな固定子コアにできるだけ大きなコイル束を装着することができる。
以下、本発明の実施の形態に係る電動工具について図1乃至図9に基づき説明する。図1に示される電動工具であるディスクグラインダ1は、ハウジング2と、モータ3と、ギヤ機構6と、先端工具である砥石7とから主に構成されている。
ハウジング2は、内部にモータ3を収容しており、後端にモータ3に電力を供給する図示せぬ電源スイッチを収納するテールカバー21を有している。また先端にはギヤ機構6を内蔵するギヤカバー22を有している。テールカバー21にはハウジング2内に外気を取り入れる空気吸入孔21aが形成されており、ギヤカバー22にはハウジング2内の空気を外気中に排出する空気排出孔22aが形成されている。モータ3は、主に固定子3Aと回転子3Bとから構成されており、回転子3Bの先端部分に出力軸31が設けられている。出力軸31の根本部分には、ファン32が設けられており、出力軸31が回転することによりファン32が回転し、ハウジング2内に空気吸入孔21aから空気排出孔22aへ向かう気流を発生させてモータ3を冷却している。
ギヤ機構6は、第一ベベルギヤ61と、第二ベベルギヤ62と回転軸63とから主に構成され、ギヤカバー22内に収容されている。第一ベベルギヤ61は出力軸31に設けられており、第二ベベルギヤ62は、回転軸が出力軸31と直行するように配置されて第一ベベルギヤ61と噛合している。回転軸63は、第二ベベルギヤ62に同軸回転可能に固定されており、ギヤカバー22に軸受を介して支持され、第二ベベルギヤ62の回転軸として作用している。
砥石7は回転軸63の先端に固定され、回転軸63と同軸回転可能に構成されている。砥石7の周辺には、ギヤカバー22に固定されて砥石7を保護するカバー7Aが設けられている。砥石7は回転軸63に同軸回転可能に固定されているため、モータ3の出力軸31の回転により、砥石7が回転して、被加工物を切削・研磨等することができる。
次にモータ3の詳細な説明について説明する。モータ3は磁極を二つ備える二極整流子モータであり、モータ3を構成する固定子3Aと回転子3Bとは、図2に示されるように、固定子3Aの内部空間内に回転子3Bが収容される形態を採っている。固定子3Aは金属材料を基材とし、半割に分割された対称形状の第一、第二固定子コア4、4と、導線が巻回されて構成され各の固定子コア4に装着されている第一、第二固定子コイル束3C、3Cとから主に構成されており、外周部分となる後述のヨーク部41でハウジング2(図1)に保持されている。第一、第二固定子コア4、4は組合わされて固定子3Aを構成する枠体を形成しており、枠体の周方向と直行する方向に貫通する貫通孔を形成する。
回転子3Bは、円柱状に構成されて円柱の軸部分に回転軸となる出力軸31が配置され、出力軸31の軸方向が枠体内の貫通孔の方向と同一になるように配置されている。よって回転子3Bの回転の周方向と固定子3Aの枠体の周方向とが略同方向になる。
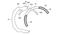
第一、第二固定子コア4、4はいずれも対称形状であるので、第一固定子コア4について主に説明する。第一固定子コア4は、図3に示されるように、枠体周方向一端側に位置するヨーク部41と枠体周方向他端側に位置しヨーク部41と一体の磁極部42とから構成されている。ヨーク部41は略円弧状に構成されており、枠体周方向一端位置に他の分割コアである第二固定子コア4と接合する接合部41Aを有している。接合部41Aは、回転子3Bの外周に沿い円弧状に構成され後述の第一装着面43A(図9)に接着される接着面41Bと、枠体の周方向に向かって突出する凸状部を備え第二固定子コア4の後述の第二装着面43B(図9)に嵌合する凸部41Cとから構成されている。
磁極部42は、第二固定子コア4の接合部41Aが接合される被接合部43を有すると共にヨーク部41が接続される基部42Aと、回転子3B(図2)に近接すると共に基部42Aから拡開し回転子3Bの表面に沿って回転子3Bの周方向一方側と他方側とにそれぞれ延出される第一腕部44A、第二腕部44Bを備える磁極44を備えている。
被接合部43は、第一装着面43Aと、第二装着面43Bとから構成されている。第一装着面43Aは、第二腕部44Bの基端部分を周方向の他端として回転子3B(図2)の外周に沿った円弧状に構成されている。第二装着面43Bは、第一装着面43Aの周方向一端位置から枠体の外周に向かう方向に延出されて構成されている。また第二装着面43Bには、周方向一端側に凹み、第二固定子コア4の凸部41Cと嵌合可能な凹部が形成されている。
回転子3B周方向一方側に位置する第一腕部44Aと、基部42Aと一体のヨーク部41とにより第一スロット44aが形成されている。また回転子3B周方向他方側の第二腕部44Bと、基部42Aに接合された第二固定子コア4のヨーク部41とにより第二スロット44bが形成され(図2)、この第一スロット44aと第二スロット44bとに跨って第一固定子コイル束3Cが装着されている。
第一固定子コイル束3Cは加熱により硬化する自己融着線が巻回されて、図4(a)(b)に示されるように、開孔3cを有するように略長方形かつ平らな環状に巻回されている。第一固定子コイル束3Cは巻き方が単純であるため、きれいな整列巻きを形成することができ、製品間の誤差を少なくすることができる。第一固定子コイル束3Cの長辺部分となる二辺には、それぞれ第一絶縁紙3D、第二絶縁紙3Eが巻回されている。第一固定子コイル束3Cにおいて、第一絶縁紙3Dが巻回された部分、第二絶縁紙3Eが巻回された部分がそれぞれ第一スロット44aと第二スロット44bとに装着される箇所になる。以後、第一固定子コイル束3Cの第一絶縁紙3D、第二絶縁紙3Eが巻回されている箇所を、第一絶縁紙3D、第二絶縁紙3Eと略称して説明する。
第一固定子コイル束3Cは、第一スロット44aと第二スロット44b(図3)とに装着し易くするために、図5(a)(b)に示されるように、第一スロット44aと第二スロット44bとを画成するそれぞれのヨーク部41の湾曲形状に沿わせて曲げられている。この状態において第一固定子コイル束3Cの開孔3cの第一絶縁紙3Dから第二絶縁紙3Eまでの距離L1を、図3の磁極部42における第一腕部44Aの基部位置から第二腕部44Bの基部位置までの距離L2より僅かに大きく、かつ第二装着面43Bから第一腕部44Aの先端位置までの距離L3より大きく構成する。固定子コイル束3Cを湾曲させて整形すると共に加熱するため、固定子コイル束3Cが湾曲した状態に固定される。この状態に固定されることにより、固定子コイル束3Cを第一固定子コア4に装着する際に、巻崩れ等が発生し難くなり、好適に装着することができる。またモータ3をリサイクル等で分解する際に、形状が固定されているため、容易に固定子コイル束3Cを取り外すことができる。
上記構成の第一固定子コイル束3Cを第一固定子コア4に装着するには、先ず図6に示されるように、第二腕部44Bを開孔3c内に通し、その後に図7に示されるように第二絶縁紙3Eを第一装着面43Aに沿わせた状態で、第二装着面43B近傍位置まで移動させる。
上述のように、開孔3cの幅L1は、第二装着面43Bから第一腕部44Aの先端位置までの距離L3より大きく構成されているため、第二絶縁紙3Eが第二装着面43B近傍まで移動することにより第一絶縁紙3Dが第一腕部44Aの先端位置を超えて第一ヨーク部41の内面に当接する。また第一装着面43Aは、第二腕部44Bの根本位置を周方向他端として第二装着面43Aまで延出されているため、第二絶縁紙3Eが通過する第二腕部44Bから第一装着面43Aを跨って第二装着面43Bの間までには、突出する部分が無い。よって第一固定子コイル束3Cを磁極部42に装着する際に第二絶縁紙3Eが動く範囲において、第二絶縁紙3Eの動作を阻害する部材が無く、第二絶縁紙3Eの動作の自由度を増し、より好適に第一固定子コイル束3Cを磁極部42に装着することができる。
この状態から第一絶縁紙3Dを第一スロット44aに挿入するように、第一固定子コア4に対して第一固定子コイル束3Cを紙面上時計回りに回動させる。この回動により、図8に示されるように、第一絶縁紙3Dが第一スロット44a内に配置され、かつ第二絶縁紙3Eが第一装着面43Aを移動し、第二腕部44B上に位置する。
第一絶縁紙3Dと第二絶縁紙3Eとの間の距離L1は、第一腕部44Aの基部位置から第二腕部44Bの基部位置までの距離L2より僅かに大きいため、上述のように第一固定子コイル束3Cを回動させることにより、第一装着面43A上に第二絶縁紙3Eが載置されることはない。
第一スロット44a内に第一固定子コイル束3Cの第一絶縁紙3D部分が配置された状態で、第一固定子コア4に、図9に示されるように同様に第二固定子コイル束3Cが装着された第二固定子コア4を組合せる。この時に、第一、第二固定子コア4のそれぞれの第一装着面43Aに、接着剤を塗布した第一、第二固定子コア4のそれぞれの接着面41Bを沿わせた状態で組み付け、第一、第二固定子コア4のそれぞれの第二装着面43Bに第一、第二固定子コア4のそれぞれの凸部41Cを嵌合させる。この様に第一固定子コア四と第二固定子コア4とを接合することにより、第一固定子コア4に対する第二固定子コア4の位置を第一装着面43Aと第一装着面43Aに交差する第二装着面43Bとで規定することができる。交差する二面で位置規制を行えるため、第一固定子コア4に対する第二固定子コア4の位置を正確に規定することができる。
第二装着面43Bは凹部を備えており、この凹部に凸部41Cが嵌合するため、第一固定子コア4に第二固定子コア4を装着した後は、第一固定子コア4から第二固定子コア4が外れ難くなる。よって第一、第二固定子コア4のそれぞれの接着面41Bに塗布された接着剤が硬化して第一固定子コア4と第二固定子コア4とを接着する間に、他に治具等を用いずとも第一固定コア4と第二固定子コア4とが解離することが抑制される。
第一固定子コア4に第二固定子コア4が接合されて接着剤が硬化した後に、図2に示される回転子3B等を装着し、モータ3が完成する。
上記構成のモータ3によれば、例えば第一固定子コア4では、一のヨーク部41と一の磁極部42とから構成されているため、磁極部42から一のヨーク部41のみが延出される。一般に磁極部に固定子コイル束を装着する際にはヨーク部が邪魔になるが、本件のように、一方のヨーク部のみ備える構造であれば、容易に固定子コイル束3を装着することができる。
また第一固定子コイル束3Cは、ヨーク部41の内周形状に沿わせて湾曲された後に上記L1〜L3の寸法関係を採ることにより、第二腕部44B及び第一腕部44Aが開孔3cを貫通することができる。貫通できることにより、第一絶縁紙3Dが第一ヨーク部41の内周に沿い、その後に第一固定子コイル束3Cを回動させることにより、第一絶縁紙3Dを第一スロット44a内に移動させ磁極部42に第一固定子コイル束3Cを装着することができる。即ち、第一絶縁紙3Dが第二腕部44B及び第一腕部44Aを乗り越えて第一ヨーク部41の内周に当接できる開孔3cを備えていれば第一固定子コイル束3Cを磁極部42に装着することができる。よって図2に示されるように、モータ3が構成された状態で、固定子3Aと回転子3Bとの間の隙間を略充たすような大型の第一、第二固定子コイル束3C、3Cを用いることができ、故に小さい固定子コアの小さなスロットにも最大限大きな固定子コイル束を装着することができる。また上記隙間が充たされることにより、断熱材となる空気層が小さくなり、第一固定子コイル束3Cの発熱をより好適に第一、第二固定子コア4、4に伝熱することができ、これによりモータ3の冷却性能が高められて、モータ3の性能低下を抑制することができる。
第一固定子コア4と第二固定子コア4とが接合される箇所が基部42の第一装着面43A及び第二装着面43Bとなり、接合箇所の面積を大きく採っている。これにより分割コアから固定子3Aを構成することによる磁気抵抗増加を抑制し、モータ3を高出力とすることができる。また一の固定子コア4においてヨーク部41と磁極部42とが一体であるため、ハウジング2に固定子コア4を装着した際に、ヨーク部41と磁極部42との一あわせをする必要が無く、容易に磁極44の位置精度を高めることができる。
本発明による電動工具は、上述した実施の形態に限定されず、特許請求の範囲に記載された範囲で種々の改良や変形が可能である。例えば本実施の形態では、二極のモータについて説明したが、これに限らず、一の磁極部と一のヨーク部とからなる固定子コアを三個以上用いることにより、三極以上のモータにおいても本発明を適用できる。
また一の固定子コアと他の固定子コアとは接着剤により接着されているが、これに限らず、溶接等により接着しても良い。また固定子コアの表面に絶縁性の塗装を施していても良い。
本発明の電動工具は、実施の形態に記載されたディスクグラインダに限定されず、モータを備える電動工具であるならば、本発明を適用できるのは言及するまでもない。
本発明の実施の形態にかかるディスクグラインダの断面図。 本発明の実施の形態にかかるディスクグラインダのモータの断面図。 本発明の実施の形態にかかるディスクグラインダのモータの固定子を構成する枠体を示す断面図。 本発明の実施の形態にかかるディスクグラインダのモータの固定子コイル束の(a)平面図(b)IV−IV線に沿った断面図。 本発明の実施の形態にかかるディスクグラインダのモータの固定子コイル束を湾曲させた状態での(a)平面図(b)V−V線に沿った断面図。 本発明の実施の形態にかかるディスクグラインダのモータの第一固定子コアに固定子コイル束3Cを装着する状態を示す断面図(固定子コイル束の孔に第二腕部を通過させた状態)。 本発明の実施の形態にかかるディスクグラインダのモータの第一固定子コアに固定子コイル束3Cを装着する状態を示す断面図(固定子コイル束を第一ヨーク部に当接させた状態)。 本発明の実施の形態にかかるディスクグラインダのモータの第一固定子コアに固定子コイル束3Cを装着する状態を示す断面図(固定子コイル束を第一固定子コア4に対して回動させた状態)。 本発明の実施の形態にかかるディスクグラインダのモータの第一固定子コアと第二固定子コアとを組み合わせる状態を示す断面図。
符号の説明
1・・ディスクグラインダ 2・・ハウジング 3・・モータ 3A・・固定子
3B・・回転子 3C・・第一、第二固定子コイル束 3D・・第一絶縁紙
3E・・第二絶縁紙 3c・・開孔 4・・第一、第二固定子コア 6・・ギヤ機構
7・・砥石 21・・テールカバー 21a・・空気吸入孔 22・・ギヤカバー
22a・・空気排出孔 31・・出力軸 32・・ファン 41・・第一、第二ヨーク部
41A・・接合部 41B・・接着面 41C・・凸部 42・・磁極部
42A・・基部 43・・被接合部 43A・・第一装着面
43B・・第二装着面 44・・磁極 44A・・第一腕部 44B・・第二腕部
44B・・第二腕部 44a・・第一スロット 44b・・第二スロット
61・・第一ベベルギヤ 62・・第二ベベルギヤ 63・・回転軸 7A・・カバー

Claims (8)

  1. ハウジングと、
    該ハウジング内に配置されて先端工具を駆動するモータと、を備え、
    該モータは、該ハウジングに保持される固定子と、該固定子に装着される複数のコイル部と、該固定子内に回転可能に配置され回転軸と直交する断面外周が略円形の回転子とを備えて構成され、
    該固定子は該回転子を収容する枠体から構成され、該枠体は複数の分割コアを組み合わせて構成され、
    該分割コアは、該枠体周方向一端側に位置するヨーク部と該枠体周方向他端側に位置し該ヨーク部と一体の磁極部とから構成され、
    該ヨーク部は、該枠体周方向一端位置に他の該分割コアと接合する接合部を有し、
    該磁極部は、該ヨーク部が接続されると共に他の該分割コアの他の該接合部が接合される被接合部を有する基部と、該回転子に近接すると共に該基部から拡開し該回転子の表面に沿って該回転子の周方向一方側と他方側とにそれぞれ延出される一対の腕部を備え、
    該回転子周方向一方側の該腕部と、該基部と一体の該ヨーク部とにより第一スロットが形成され、
    該回転子周方向他方側の該腕部と、該基部に接合された他の該ヨーク部とにより第二スロットが形成され、
    該第一スロット内と該第二スロット内とに跨って該コイル部が配置されていることを特徴とする電動工具。
  2. 該被接合部には他の接合部が装着される装着面が形成され、該装着面は該腕部の拡開開始位置を端縁として構成されていることを特徴とする請求項1に記載の電動工具。
  3. 該装着面は、該回転軸と直交する断面において該端縁から延出され該回転子の外周に沿い円弧状に構成される第一装着面を備えることを特徴とする請求項2に記載の電動工具。
  4. 該装着面は、該回転軸と直交する断面において該第一装着面の反端縁位置から該枠体の外周に向かって延出される第二装着面を備えることを特徴とする請求項3に記載の電動工具。
  5. 該第二装着面には被嵌合部が設けられ、他の該ヨーク部には該被嵌合部と嵌合する嵌合部が設けられていることを特徴とする請求項4に記載の電動工具。
  6. 一の該分割コアと他の分割コアとは、該被接合部に他の該接合部が接着されて接続されていることを特徴とする請求項1乃至請求項5のいずれか一に記載の電動工具。
  7. 該コイル部は自己融着線が巻回されて構成されていることを特徴とする請求項1乃至請求項6のいずれか一に記載の電動工具。
  8. 該枠体は、第一電極部及び第一ヨーク部から構成される第一分割コアと、第二電極部及び第二ヨーク部から構成される第二分割コアとの二分割で構成されていることを特徴とする請求項1乃至請求項7のいずれか一に記載の電動工具。
JP2008181470A 2008-07-11 2008-07-11 電動工具 Expired - Fee Related JP5376201B2 (ja)

Priority Applications (1)

Application Number Priority Date Filing Date Title
JP2008181470A JP5376201B2 (ja) 2008-07-11 2008-07-11 電動工具

Applications Claiming Priority (1)

Application Number Priority Date Filing Date Title
JP2008181470A JP5376201B2 (ja) 2008-07-11 2008-07-11 電動工具

Publications (2)

Publication Number Publication Date
JP2010022153A true JP2010022153A (ja) 2010-01-28
JP5376201B2 JP5376201B2 (ja) 2013-12-25

Family

ID=41706501

Family Applications (1)

Application Number Title Priority Date Filing Date
JP2008181470A Expired - Fee Related JP5376201B2 (ja) 2008-07-11 2008-07-11 電動工具

Country Status (1)

Country Link
JP (1) JP5376201B2 (ja)

Cited By (2)

* Cited by examiner, † Cited by third party
Publication number Priority date Publication date Assignee Title
DE112011100434T5 (de) 2010-02-03 2013-03-28 Yazaki Corp. Sicherungseinheit
JPWO2020195507A1 (ja) * 2019-03-26 2020-10-01

Citations (4)

* Cited by examiner, † Cited by third party
Publication number Priority date Publication date Assignee Title
JPH09247882A (ja) * 1996-03-07 1997-09-19 Denso Corp 回転電機の固定子およびその製造方法
JP2001258229A (ja) * 2000-02-25 2001-09-21 C & E Fein Gmbh & Co 制動式直巻電動機
JP2003244881A (ja) * 2002-02-14 2003-08-29 Hitachi Ltd 回転電動機および回転電動機に用いるコイルの製造方法
JP2006067639A (ja) * 2004-08-24 2006-03-09 Hitachi Koki Co Ltd 電動モータ、それを備える電動工具及び電動モータの製造方法

Patent Citations (4)

* Cited by examiner, † Cited by third party
Publication number Priority date Publication date Assignee Title
JPH09247882A (ja) * 1996-03-07 1997-09-19 Denso Corp 回転電機の固定子およびその製造方法
JP2001258229A (ja) * 2000-02-25 2001-09-21 C & E Fein Gmbh & Co 制動式直巻電動機
JP2003244881A (ja) * 2002-02-14 2003-08-29 Hitachi Ltd 回転電動機および回転電動機に用いるコイルの製造方法
JP2006067639A (ja) * 2004-08-24 2006-03-09 Hitachi Koki Co Ltd 電動モータ、それを備える電動工具及び電動モータの製造方法

Cited By (2)

* Cited by examiner, † Cited by third party
Publication number Priority date Publication date Assignee Title
DE112011100434T5 (de) 2010-02-03 2013-03-28 Yazaki Corp. Sicherungseinheit
JPWO2020195507A1 (ja) * 2019-03-26 2020-10-01

Also Published As

Publication number Publication date
JP5376201B2 (ja) 2013-12-25

Similar Documents

Publication Publication Date Title
JP4466098B2 (ja) 電動モータ、それを備える電動工具及び電動モータの製造方法
US5650683A (en) Electric rotating machine
JP2016144394A (ja) 電気モータ
JPH0570377B2 (ja)
CN100442641C (zh) 电动机及具有该电动机的电动工具
US7777372B2 (en) Electric motor, electric tool having the motor, and electric motor production method
JP5376201B2 (ja) 電動工具
JP2003164089A (ja) 回転磁界型電動機の固定子及びその製造方法
JP4410730B2 (ja) 回転電機のステータ、回転電機、及び回転電機のステータの製造方法
JP4368643B2 (ja) 回転電機
JPWO2018180345A1 (ja) 電動モータ用ステータおよび電動モータ
JP4815300B2 (ja) ステッピングモータのステータコアの製造方法並びにそのステッピングモータ
JP7113331B2 (ja) 電動機および電動送風機
JP2007082282A (ja) ステータコア、それを用いたモータ及びその製造方法
JP2012231589A (ja) ディスクモータ及び電動作業機
JP2018085818A (ja) ステッピングモータ
JP5839959B2 (ja) 制御モータ
JP2010017056A (ja) 電動工具
JP2009207252A (ja) 電動工具
CN110417226B (zh) 一种多段轭宽的电动工具用电机
JP2006141105A (ja) 電動モータ及びそれを備える電動工具
CN108886304B (zh) 电动马达用定子及其制造方法、电动马达及其制造方法
JP2015027171A (ja) 固定子コア片、電動モータ、及び電動工具
JP5311276B2 (ja) 電動工具
JP2007089378A (ja) モータ及びモータ用ボビンを備えたステータの製造方法、並びにモータの製造方法

Legal Events

Date Code Title Description
A621 Written request for application examination

Free format text: JAPANESE INTERMEDIATE CODE: A621

Effective date: 20110307

A977 Report on retrieval

Free format text: JAPANESE INTERMEDIATE CODE: A971007

Effective date: 20120808

A131 Notification of reasons for refusal

Free format text: JAPANESE INTERMEDIATE CODE: A131

Effective date: 20120827

A521 Written amendment

Free format text: JAPANESE INTERMEDIATE CODE: A523

Effective date: 20121025

A131 Notification of reasons for refusal

Free format text: JAPANESE INTERMEDIATE CODE: A131

Effective date: 20130516

A521 Written amendment

Free format text: JAPANESE INTERMEDIATE CODE: A523

Effective date: 20130716

TRDD Decision of grant or rejection written
A01 Written decision to grant a patent or to grant a registration (utility model)

Free format text: JAPANESE INTERMEDIATE CODE: A01

Effective date: 20130829

A61 First payment of annual fees (during grant procedure)

Free format text: JAPANESE INTERMEDIATE CODE: A61

Effective date: 20130911

R150 Certificate of patent or registration of utility model

Free format text: JAPANESE INTERMEDIATE CODE: R150

LAPS Cancellation because of no payment of annual fees