JP2010020975A - 回路遮断器 - Google Patents

回路遮断器 Download PDF

Info

Publication number
JP2010020975A
JP2010020975A JP2008179090A JP2008179090A JP2010020975A JP 2010020975 A JP2010020975 A JP 2010020975A JP 2008179090 A JP2008179090 A JP 2008179090A JP 2008179090 A JP2008179090 A JP 2008179090A JP 2010020975 A JP2010020975 A JP 2010020975A
Authority
JP
Japan
Prior art keywords
arc
conductor
arc extinguishing
movable contact
extinguishing plate
Prior art date
Legal status (The legal status is an assumption and is not a legal conclusion. Google has not performed a legal analysis and makes no representation as to the accuracy of the status listed.)
Granted
Application number
JP2008179090A
Other languages
English (en)
Other versions
JP5121608B2 (ja
Inventor
Kentaro Ogura
健太郎 小倉
Toshie Takeuchi
敏恵 竹内
Tadahiro Yoshida
忠広 吉田
Akira Makita
陽 牧田
Atsushi Nakagawa
淳 中川
Takashi Iizuka
貴士 飯塚
Current Assignee (The listed assignees may be inaccurate. Google has not performed a legal analysis and makes no representation or warranty as to the accuracy of the list.)
Mitsubishi Electric Corp
Original Assignee
Mitsubishi Electric Corp
Priority date (The priority date is an assumption and is not a legal conclusion. Google has not performed a legal analysis and makes no representation as to the accuracy of the date listed.)
Filing date
Publication date
Application filed by Mitsubishi Electric Corp filed Critical Mitsubishi Electric Corp
Priority to JP2008179090A priority Critical patent/JP5121608B2/ja
Priority to CN200910149220XA priority patent/CN101625934B/zh
Publication of JP2010020975A publication Critical patent/JP2010020975A/ja
Application granted granted Critical
Publication of JP5121608B2 publication Critical patent/JP5121608B2/ja
Expired - Fee Related legal-status Critical Current
Anticipated expiration legal-status Critical

Links

Images

Landscapes

  • Breakers (AREA)
  • Arc-Extinguishing Devices That Are Switches (AREA)

Abstract

【課題】消弧板周辺の圧力勾配、消弧板の電流経路からの電磁力などの影響で消弧板での持続的なアークの維持ができないと、溶融した消弧板や導体などからの金属液滴や剥離した絶縁物などが排気口に詰まり、外部への流路抵抗が増大する。又、上記2つの作用によりアークが消弧板から排出されると電極降下電圧の発生、アークの冷却効果などが作用しなくなりアーク電圧が低下して限流性能が低下することとなる。
【解決手段】固定接点、この固定接点と接離する可動接点、この可動接点の開離時に固定接点と可動接点間に発生するアークを分断消弧する複数枚の消弧板を配列した消弧装置、アークを消弧装置まで誘導する固定接点側及び可動接点側アーク走行導体を備え、アーク走行導体と消弧板とをそれぞれ所定の間隙をおいて対向させると共に、アーク走行導体、及び最外側消弧板の対向面の何れか一方又は両方に、電界を強化する電界強化部を設けたものである。
【選択図】図1

Description

この発明は、配線用遮断器や漏電遮断器などの回路遮断器に関し、消弧装置である複数枚重ねられた消弧板へとアークを移行させるためのアーク走行導体を有する消弧室において、消弧板でのアーク維持性能を向上させることで過電流を抑制する限流性能を向上させることができる回路遮断器に関するものである。
近年における低圧配線用設備の大容量化、省スペース化により、配線用遮断器・漏電遮断器などは外形寸法の小形化が要求されている。小形化における課題の一つとしてあげられるのが過電流を低く抑制する限流性能の向上である。事故時などの過電流の遮断時に、接点間に発生したアークを引き込んで分断し、電極降下電圧の発生及びアークの冷却などによりアーク電圧を高めて限流させる消弧板は、限流性能を左右する部品の一つであり、消弧板でアークを持続的に維持することが重要である。限流性能向上により回路遮断器の消弧室で処理するアークエネルギーの低下が可能となり、回路遮断器を構成する部品への熱的、電磁力的な負担が軽減して小形化が可能となる。
従来の配線用遮断器では、接点間に発生したアークを、アーク走行導体に移行させることでアークを伸張させてアーク抵抗を高め(アーク抵抗増大によりアーク電圧も上昇する)、さらに消弧装置である消弧板に取り込むことで過電流を限流させている(特許文献1参照)。
この特許文献1に開示された従来の発明では、接点間に発生したアークを、アーク走行導体に沿って走行させることで高速にアークを伸張させて限流性能を向上するようにした回路遮断器を提供している。
特開2004−273235号公報
特許文献1に開示された従来の回路遮断器にあっては、消弧板での持続的なアークの維持ができないという欠点があり、これは、消弧板周辺の圧力勾配、消弧板の電流経路からの電磁力などが影響しているためである。消弧板周辺の圧力勾配とは、アークが消弧板に取り込まれた状態となると、アークは外部排気口方向に押しつけられ、外部排気口周辺の圧力が上昇して、広い接点間方向の空間へアークが押し戻されることである。同現象は、溶融した消弧板や導体などからの金属液滴や剥離した絶縁物などが排気口に詰まり、外部への流路抵抗が増大することによって影響が大きくなる。
消弧板の電流経路からの電磁力とは、各消弧板でアークの発生するポイントが異なった場合、消弧板の電流経路からの磁気駆動力もアークに作用し、場合によっては上記圧力上昇の場合と同様に接点間方向へ押し戻す力が発生することである。
上記2つの作用によりアークが消弧板から排出されると電極降下電圧の発生、アークの冷却効果などが作用しなくなりアーク電圧が低下して限流性能が低下することとなる。
なお、特許文献1においては、アーク走行導体の排気口側端部が消弧板方向に曲げられ、消弧板と走行電路のギャップを短縮することで電界が強化されている構造となっている。しかしながら、消弧板とアーク走行導体間の流路抵抗が増大する構造になっており、結果として、アークを消弧板まで高速走行させるに必要な外部排気口方向へのガスの流れによる駆動力を低下させる要因となっている。
この発明に係わる回路遮断器は、固定接点、この固定接点と接離する可動接点、この可
動接点の開離時に上記固定接点と上記可動接点間に発生するアークを分断消弧する複数枚の消弧板を配列した消弧装置、上記アークを上記消弧装置まで誘導する固定接点側アーク走行導体及び可動接点側アーク走行導体を備え、
上記アーク走行導体と、最外側に配列された消弧板とをそれぞれ所定の間隙をおいて対向させると共に、上記アーク走行導体、及び上記最外側消弧板の対向面の何れか一方又は両方に、電界を強化する電界強化部を設けたものである。
消弧板にアークが到達すると、外部排気口側の圧力上昇や磁気駆動力などにより、消弧板にあるアークが接点側空間に排出され、消弧板でのアーク分断が無くなることで電極降下電圧が無くなり、アーク電圧の低下により限流性能が低下する現象が発生する可能性がある。この発明によれば電界強化部により電界が強化されアークの両端が消弧板で保持されつづけ、前記排出現象による限流性能低下を抑制することが可能となる。この結果、事故発生などによる過電流を抑制する限流性能が向上し、回路遮断器自体に注入されるエネルギーの低下により回路遮断器の構造物への負担が軽減して回路遮断器の小形化が可能となる。さらには、回路遮断器が接続されたラインやこれに接続された他の回路遮断器及び負荷などへの負担が軽減することが可能となる。
又、消弧板とこれに対向するアーク走行導体間に電界強化部を設けることで、従来例に対して接点間から走行してきたアークの消弧板での維持性能を高めることができ、消弧板でのアーク分断を維持することで電極降下電圧を発生することが可能となり、過電流に対する限流性能を向上させることが可能となる。さらに、電界強化部を、アーク走行導体の側面に配置すれば、排気口に続く流路であるアーク走行導体中央部の流路抵抗を高めることもなく(アーク走行導体の中央部に突起を設ければ、アーク走行導体上を通過するガスの流れを止めてしまい、アークの消弧板への駆動力を低減させてしまう)外部への熱ガス排気を妨げない構造にでき、これによりアークの高速走行性能の低下を防止できる付加的効果も期待できる。
又、消弧板での良好なアーク維持性能を可能にすることで、接点及びアーク走行導体などにおける再点弧(再びアークが発生すること)が無くなり、これら部品の消耗を抑制することが可能になる。従って、回路遮断器自体の長寿命化につながるものである。
以下、図面に基づいて、この発明の各実施の形態を説明する。
なお、各図間において、同一符号は同一あるいは相当部分を示す。
実施の形態1.
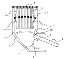
図1〜2は、実施の形態1による回路遮断器の消弧室を説明するための図であり、より具体的には、図1は消弧室の側面図、図2は消弧装置の両側と対向する各アーク走行導体(固定接点側アーク走行導体2、及び可動接点側アーク走行導体7)を示し、(a)はその正面図、(b)はその斜視図である。これらの図には示していないが、同消弧室は絶縁物からなる容器の中に、異常電流を検出して開極指令を出すリレー部、同指令の伝達先である駆動機構部などと一体収納されている。なお、図2(c)、(d)は、実施の形態1の変形例を示し段落番号0014で後述する。
図1に示すように、消弧室は、固定接点1を有する固定接点側アーク走行導体2と、固定接点1と接離する可動接点3を有して固定接点側アーク走行導体2と接触子対を形成する可動接触子4と、可動接触子4の開離時に固定接点1と可動接点3の間に発生するアークを取り込み分断する複数枚重ねられた消弧板5からなる消弧装置6と、可動接触子4上のアークが転流し、消弧装置6に誘導する可動接点側アーク走行導体7と、アーク発生に伴う熱ガスを回路遮断器の外部に排出するための排気口8から構成されている。
固定接点1が固着された固定接点側アーク走行導体2は、消弧装置6へと伸びている。
可動接触子4には、可動接点3が固着され可動接点3より先端側(図中左側)はアークホーン101となっており、さらに、可動接触子4は可動接点側アーク走行導体7と導体で接続され、電気的に接続状態にある。なお、固定接点1、もしくは可動接点3は、固定接点側アーク走行導体2もしくは可動接触子4を構成する導電部材で代用されてもよい。
固定接点1が固着された固定接点側アーク走行導体2、及び可動接点側アーク走行導体7は、消弧装置6へと伸びており、消弧装置6の両側(図中左右方向)から挟み込む構造となっている。
さらに、消弧装置6の両側と対向する固定接点側アーク走行導体2と可動接点側アーク走行導体7には、それぞれの両側面にアークを挟むよう設けられ電界を局部的に強化する電界強化部、すなわち凸部形状の突出部102、103が設けられている。なお、この突出部102、103は、固定接点側アーク走行導体2あるいは可動接点側アーク走行導体7の一方だけに設けてもよい。
排気口8は、絶縁部材で構成されており消弧装置6の背面側に配置されている。
上記消弧室において、回路遮断器に過電流が流れると、可動接触子4の開閉機構(図示
せず)が動作し、可動接触子4が開極動作に至り、固定接点1と可動接点3間にアーク(
a1)が発生する。
この接点1、3対間のアーク(a1)は、まず固定接点側に発生したアークが周囲の圧力勾配による排気口方向への熱ガスの流れ、及び導体に流れる過電流からの電磁力などが作用して、固定接点1から連続して伸びる固定接点側走行電路を消弧装置6方向に走行する。続いて、アークホーン101の先端に到達したアークスポットは、可動接点側アーク走行導体7に転流(a2)する。この転流動作が高速に進むように、可動接点側アーク走行導体7は、固定接点側アーク走行導体2側へ張り出している。この転流の高速化によりアークは、消弧装置6に対して略垂直な状態で到達し、消弧板5によって分断(a3)される。この結果、電極効果電圧が生じてアーク電圧が高くなり、限流性能が高められる。
アークが消弧装置6に引き込まれた際、消弧板5の周辺の圧力勾配、消弧板5の電流経路からの電磁力などが影響し、走行してきた接点間方向へ押し戻す力が作用する。なお、消弧板5の周辺の圧力勾配とは、アークが消弧板5に取り込まれた状態となると、アークは排気口8方向に押しつけられ、排気口8周辺の圧力が、広い接点間方向の空間の圧力に比べて高くなることである。
同現象は、溶融した消弧板5や導体などからの金属液滴や剥離した絶縁物などが排気口8に詰まり、外部への流路抵抗が増大することによって影響が大きくなる。なお、消弧板5の電流経路からの電磁力とは、各消弧板の表裏でアークが発生するポイントが異なった場合、アークに対して直角な消弧板5の電流経路からの磁気駆動力もアークに作用し、場合によっては上記圧力上昇の場合と同様に接点間方向へ押し戻す力が発生することである。
上記2つの作用によりアークが消弧装置6から排出されると電極降下電圧が生じなくなりアーク電圧が低下して限流性能が低下することとなる。
これに対して、図1、2に示した実施の形態1における固定接点側及び可動接点側アーク走行導体2、7は、突出部102、突出部103を設けることで消弧装置6両端の電界を局部的に強化し、アークスポットが生じ易くなることでアークの戻りを防止することが可能となっている。さらに、上記突出部102、103は、導体の側面に配置することで消弧装置6両端の排気口8方向への熱ガスの流れを妨げない配置となっており、接点間から消弧装置6までの高速走行を実現させている。
これらの結果、アークは消弧装置6で安定的に維持することが可能となり、高いアーク電圧を発生させることで良好な限流性能を実現することが可能となる。
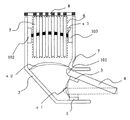
次に実施の形態1の変形例を説明する。
図2(c)、(d)は、実施の形態1の変形例である各アーク走行導体2、7を示し、(c)はその正面図、(d)はその斜視図である。
消弧板でのアーク分断状態を維持するには、消弧板と対向するアーク走行導体部分でアークの両端を保持し続ける必要があり、アークの保持には電界を強化することが有効であり、電界の強化はアーク走行導体の表面形状に凹凸(両方に、又は単独で)を付けることで可能になる。
このため、電界強化部としては、上記凸部形状の突出部102、103のほかに、例えば打抜き加工による貫通穴で形成された凹部、或は切り欠きで形成された凹部が考えられるが、図2(c)、(d)の凹部は、打抜き穴100によって形成したものである。この打抜き穴100は、消弧板5と対向する固定接点側アーク走行導体2、及び可動接点側アーク走行導体7の一部分を打ち抜き加工して設けることで、その穴縁部分の電界を強化させて上記突出部102、103と同様の効果を実現させたものである。なお、この変形例は、実施の形態2においても同じ要領で実施可能であるが、説明は省略する。
このように、電界強化部を、アーク走行導体2、7の側面に凸部を配置するか、凹部を配置して構成すれば、排気口に続く流路であるアーク走行導体中央部の流路抵抗を高めることもなく(アーク走行導体2、7の中央部に突起を設ければ、アーク走行導体上を通過するガスの流れを止めてしまい、アークの消弧板5への駆動力を低減させてしまう)外部への熱ガス排気を妨げない構造にでき、これによりアークの高速走行性能の低下を防止できる効果も期待できる。
なお、この実施の形態1における消弧室では、可動接点側アーク走行導体7が固定接点側アーク走行導体2に対して張り出した構造を示したが、これに限るものでなく、固定接点側アーク走行導体2が可動接点側アーク走行導体7に対して突出した構造であってもよい。
すなわち、アーク走行型の消弧室は、次のように2ケースの形態があり、この発明は、この周知の2形態の何れの消弧室にも採用できるものである。
ケース(1) 図1で説明している形態で、固定接点側アークは連続したアーク走行導体を走行して消弧装置に到達し、可動接点側アークは可動子先端から可動接点側アーク走行導体7に転流して消弧装置に到達する。
ケース(2) このケース2では、上記ケース(1)すなわち図1における可動接点側アーク走行導体7上に固定接点1が配置され、これが固定側アーク走行導体(図1の7に相当)となる。換言すれば、図1における固定接点側アーク走行導体2上の固定接点が無くなり、この固定接点側アーク走行導体2は可動接点側アーク走行導体(図1の2に相当)となる。従って、可動接触子4の回転方向が図1とは逆方向となり、可動接触子4の可動接点3が上方の固定接点に対し開閉動作し、可動接触子先端のアークは、対向する可動側アーク走行導体(図1の2に相当)に転流して消弧装置に到達する。
実施の形態2.
図3は、実施の形態2による回路遮断器の消弧室を説明するための図であり、より具体的には、図3は消弧室の側面図、図4は消弧板の正面図である。これらの図には示していないが、同消弧室は絶縁物からなる容器の中に、異常電流を検出して開極指令を出すリレー部、同指令の伝達先である駆動機構部などと一体収納されている。
図3に示すように、消弧室は、固定接点1を有する固定接点側アーク走行導体2と、固定接点1と接離する可動接点3を有して固定接点側アーク走行導体2と接触子対を形成する可動接触子4と、可動接触子4の開離時に固定接点1と可動接点3の間に発生するアークを取り込み分断する複数枚重ねられた消弧板5からなる消弧装置6と、可動接触子4上のアークが転流し、消弧装置に誘導する可動接点側アーク走行導体7と、アーク発生に伴
う熱ガスを回路遮断器の外部に排出するための排気口8から構成されている。
固定接点1が固着された固定接点側アーク走行導体2は、消弧装置6へと伸びている。可動接触子4には可動接点3が固着され、可動接点3より先端側(図中左側)はアークホーン101となっており、さらに、可動接触子4は可動接点側アーク走行導体7と導体で接続され、電気的に接続状態にある。なお、固定接点1、もしくは可動接点3は固定接点側アーク走行導体2もしくは可動接触子4を構成する導電部材で代用されてもよい。
固定接点1が固着された固定接点側アーク走行導体2、及び可動接点側アーク走行導体7は、消弧装置6へと伸びており、消弧装置6の両側(図中左右方向)から挟み込む構造となっている。さらに、固定接点側アーク走行導体2と可動接点側アーク走行導体7に対向する消弧板5には、図4に示すように突出部104a、104bが設けられている。なお、突出部104a、104bは、固定接点側アーク走行導体2あるいは可動接点側アーク走行導体7の一方だけに設けてもよい。
排気口8は絶縁部材で構成されており、消弧装置6の背面側に配置されている。
上記消弧室において、回路遮断器に過電流が流れると、可動接触子4の開閉機構(図示
せず)が動作し、可動接触子4が開極動作に至り、固定接点1と可動接点3間にアーク(
a1)が発生する。
この接点1、3対間のアーク(a1)は、まず固定接点側に発生したアークが周囲の圧力勾配による排気口方向への熱ガスの流れ、及び導体に流れる過電流からの電磁力などが作用して、固定接点1から連続して伸びる固定接点側走行電路を消弧装置6方向に走行する。続いて、アークホーン101先端に到達したアークスポットは、可動接点側アーク走行導体7に転流(a2)する。この転流動作が高速に進むように可動接点側アーク走行導体7は、固定接点側アーク走行導体2側へ張り出している。この転流の高速化によりアークは消弧装置6に対して略垂直な状態で到達し、消弧板5によって分断(a3)される。この結果、電極降下電圧が生じてアーク電圧が高くなり、限流性能が高められる。
アークが消弧装置6に引き込まれた際、消弧板5周辺の圧力勾配、消弧板5の電流経路からの電磁力などが影響し、走行してきた接点間方向へ押し戻す力が作用する。消弧板5周辺の圧力勾配とは、アークが消弧板5に取り込まれた状態となると、アークは排気口8方向に押しつけられ、排気口8周辺の圧力が上昇して、広い接点間方向の空間へアークが押し戻されることである。
同現象は、溶融した消弧板5や導体などからの金属液滴や剥離した絶縁物などが排気口8に詰まり、外部への流路抵抗が増大することによって影響が大きくなる。なお、消弧板5の電流経路からの電磁力とは、各消弧板の表裏でアークが発生するポイントが異なった場合、アークに対して直角な消弧板5の電流経路からの磁気駆動力もアークに作用し、場合によっては上記圧力上昇の場合と同様に接点間方向へ押し戻す力が発生することである。
上記2つの作用によりアークが消弧装置6から排出されると電極降下電圧が生じなくなりアーク電圧が低下して限流性能が低下することとなる。
これに対して、図4に示した実施の形態2における消弧板5は、その両側に突出部104aと104bを設けることで消弧装置6両端の電界を局部的に強化し、アークスポットが生じ易くなることでアークの戻りを防止することが可能となっている。さらに、上記突出部104a、104bは、消弧板5の側面に配置することで消弧装置6両端の排気口8方向への熱ガスの流れを妨げない配置となっており、接点間から消弧装置6までの高速走行を実現させている。
これらの結果、アークは消弧装置6で安定的に維持することが可能となり、高いアーク電圧を発生させることで良好な限流性能を実現することが可能となる。
なお、この実施の形態2における消弧室では、可動接点側アーク走行導体7が固定接点側アーク走行導体2に対して張り出した構造を示したが、これに限るものでなく、固定接点側アーク走行導体が可動接点側アーク走行導体側に対して突出した構造であってもよい(段落番号16参照)。
又、消弧板5の切り欠き部5aは、消弧板に起因する磁束の偏りによりアークが消弧板に吸引されて消弧に至る際、磁束の偏りを強化するものである。消弧装置は、消弧板5を複数枚重ね合わせて構成されているが、複数枚の中の一部が切り欠き部を備えていない機種もある。
実施の形態3.
図5は、消弧装置の両側に対向配置された実施の形態3の固定接点側及び可動接点側アーク走行導体2、7の正面図である。
図5に示した突出部105a、105bは、アーク走行導体2、7とは別の部材で構成されアーク走行導体2、7の両側面に離間距離g(可動接点側アーク走行導体7、固定接点側アーク走行導体側2と最外側の消弧板5との間隙g)をおいて、図には示していない絶縁部材からなる消弧室空間を構成する筐体に保持されて配置、すなわちアーク流路の外側に配置されている。このように配置することによって消弧装置6両端の電界を局部的に強化し、消弧板と対向するアーク走行導体2、7に発生したアークスポットから発生したアークが、突出部105a、105bを経由させることで消弧板周辺にアースポットが生じ易くなりアークの戻りを防止することが可能となっている。
又、突出部105a、105bは、上記のごとくアーク走行導体2、7とは別部材で構成されると共に各アーク走行導体2、7の側面に配置されるので、消弧装置6両端の排気口8方向への熱ガスの流れを妨げない配置となっており、接点間から消弧装置6までの高速走行を実現させている。これらの結果、アークは消弧装置6で安定的に維持することが可能となり、高いアーク電圧を発生させることで良好な限流性能を実現することが可能となる。又、電流経路であるアーク走行導体の消耗による溶断を防止し、アークの消弧板までの到達不能を防止することが可能となる。
なお、突出部105a、105bと可動接点側アーク走行導体7、固定接点側アーク走行導体2とは導通不要である。
実施の形態4.
図6は、消弧装置の両側に対向配置された実施の形態4の固定接点側、及び可動接点側アーク走行導体2、7の正面図である。
図6に示した突出部102、103は、固定接点側及び可動接点側アーク走行導体2、7の両側に配置され、絶縁樹脂106で被覆したものである。これにより、消弧装置6両端の電界を局部的に強化し、アークスポットが生じ易くなることでアークの戻りを防止すると共に、突出部102、103の消耗を防ぎ高温となったアークにより絶縁樹脂106から絶縁蒸気を発生させ、アークの冷却及び消弧室内部の圧力上昇などを行い、さらに限流性能を向上させることが可能となる。さらに、突出部102、103はアーク走行導体2、7の側面に配置することで消弧装置6両端の排気口8方向への熱ガスの流れを妨げない配置となっており、接点間から消弧装置6までの高速走行を実現させている。
これらの結果、アークは消弧装置6で安定的に維持することが可能となり、高いアーク電圧を発生させることで良好な限流性能を実現することが可能となる。
なお、実施の形態4における突出部102、103は、アーク走行導体2、7との導通有無にかかわらず、絶縁樹脂が被覆されるものである。
この発明の実施の形態1における回路遮断器の消弧室を示す側面図である。 消弧装置の両側と対向する各アーク走行導体2、7を示し、(a)はその正面図、(b)はその斜視図である。(c)、(d)は、実施の形態1の変形例である各アーク走行導体2、7を示し、(c)はその正面図、(d)はその斜視図である。 実施の形態2における回路遮断器の消弧室を示す側面図である。 実施の形態2における回路遮断器の消弧板の正面図である。 実施の形態3における各アーク走行導体2、7の正面図である。 実施の形態4における各アーク走行導体2、7の正面図である。
符号の説明
1 固定接点
2 固定接点側アーク走行導体
3 可動接点 4 可動接触子
5 消弧板 5a 消弧板5の切り欠き部
6 消弧装置
7 可動接点側アーク走行導体
8 排気口
101 アークホーン
100 打抜き穴(凹部)
102、103 突出部(凸部)
104a、104b 突出部(凸部)
105a、10b 突出部(凸部)
106a、106b 絶縁樹脂。

Claims (4)

  1. 固定接点、この固定接点と接離する可動接点、この可動接点の開離時に上記固定接点と上記可動接点間に発生するアークを分断消弧する複数枚の消弧板を配列した消弧装置、上記アークを上記消弧装置まで誘導する固定接点側アーク走行導体及び可動接点側アーク走行導体を備え、
    上記アーク走行導体と、最外側に配列された消弧板とをそれぞれ所定の間隙をおいて対向させると共に、上記アーク走行導体、及び上記最外側消弧板の対向面の何れか一方又は両方に、電界を強化する電界強化部を設けたことを特徴とする回路遮断器。
  2. 上記電界強化部は、突出して設けられた凸部、及び貫通穴或は切り欠きで形成された凹部の何れか一方又は両方で構成されたものであることを特徴とする請求項1記載の回路遮断器。
  3. 上記突出部は、絶縁樹脂で被覆されていることを特徴とする請求項1記載の回路遮断器。
  4. 上記突出部は、上記間隙の外側に配置され、上記アーク走行導体とは別の部材で構成されたものであることを特徴とする請求項1記載の回路遮断器。
JP2008179090A 2008-07-09 2008-07-09 回路遮断器 Expired - Fee Related JP5121608B2 (ja)

Priority Applications (2)

Application Number Priority Date Filing Date Title
JP2008179090A JP5121608B2 (ja) 2008-07-09 2008-07-09 回路遮断器
CN200910149220XA CN101625934B (zh) 2008-07-09 2009-06-10 电路断路器

Applications Claiming Priority (1)

Application Number Priority Date Filing Date Title
JP2008179090A JP5121608B2 (ja) 2008-07-09 2008-07-09 回路遮断器

Publications (2)

Publication Number Publication Date
JP2010020975A true JP2010020975A (ja) 2010-01-28
JP5121608B2 JP5121608B2 (ja) 2013-01-16

Family

ID=41521728

Family Applications (1)

Application Number Title Priority Date Filing Date
JP2008179090A Expired - Fee Related JP5121608B2 (ja) 2008-07-09 2008-07-09 回路遮断器

Country Status (2)

Country Link
JP (1) JP5121608B2 (ja)
CN (1) CN101625934B (ja)

Cited By (5)

* Cited by examiner, † Cited by third party
Publication number Priority date Publication date Assignee Title
CN102592911A (zh) * 2012-02-22 2012-07-18 西安交通大学 具有限流分断功能的中压直流大电流灭弧系统及其限流方法
CN102751147A (zh) * 2011-12-12 2012-10-24 西安交通大学 一种低压万能式断路器灭弧室
EP2924704A1 (en) 2014-03-28 2015-09-30 Fujitsu Component Limited Electromagnetic relay
US9583293B2 (en) 2014-04-17 2017-02-28 Fujitsu Component Limited Electromagnetic relay
CN106783446A (zh) * 2017-01-13 2017-05-31 乐清市也为电气有限公司 一种电气开关的引弧灭弧系统

Families Citing this family (3)

* Cited by examiner, † Cited by third party
Publication number Priority date Publication date Assignee Title
US9251980B2 (en) * 2011-01-14 2016-02-02 General Electric Company Apparatus for interrupting current
CN102354636A (zh) * 2011-07-28 2012-02-15 法泰电器(江苏)股份有限公司 断路器的灭弧装置
CN103531412B (zh) * 2013-10-28 2016-01-20 江苏凯隆电器有限公司 断路器灭弧系统

Citations (5)

* Cited by examiner, † Cited by third party
Publication number Priority date Publication date Assignee Title
JPS58169819A (ja) * 1982-03-31 1983-10-06 三菱電機株式会社 電磁開閉装置
JPS6149346A (ja) * 1984-08-15 1986-03-11 三菱電機株式会社 開閉器
JPS62219417A (ja) * 1986-03-20 1987-09-26 三菱電機株式会社 電力開閉器
JPH07226143A (ja) * 1994-02-10 1995-08-22 Matsushita Electric Works Ltd 回路遮断器
JP2005183239A (ja) * 2003-12-22 2005-07-07 Mitsubishi Electric Corp 電力開閉器

Family Cites Families (2)

* Cited by examiner, † Cited by third party
Publication number Priority date Publication date Assignee Title
CN2129975Y (zh) * 1992-08-24 1993-04-14 沈志达 低压断路器
JP2004273235A (ja) * 2003-03-07 2004-09-30 Mitsubishi Electric Corp 回路遮断器

Patent Citations (5)

* Cited by examiner, † Cited by third party
Publication number Priority date Publication date Assignee Title
JPS58169819A (ja) * 1982-03-31 1983-10-06 三菱電機株式会社 電磁開閉装置
JPS6149346A (ja) * 1984-08-15 1986-03-11 三菱電機株式会社 開閉器
JPS62219417A (ja) * 1986-03-20 1987-09-26 三菱電機株式会社 電力開閉器
JPH07226143A (ja) * 1994-02-10 1995-08-22 Matsushita Electric Works Ltd 回路遮断器
JP2005183239A (ja) * 2003-12-22 2005-07-07 Mitsubishi Electric Corp 電力開閉器

Cited By (5)

* Cited by examiner, † Cited by third party
Publication number Priority date Publication date Assignee Title
CN102751147A (zh) * 2011-12-12 2012-10-24 西安交通大学 一种低压万能式断路器灭弧室
CN102592911A (zh) * 2012-02-22 2012-07-18 西安交通大学 具有限流分断功能的中压直流大电流灭弧系统及其限流方法
EP2924704A1 (en) 2014-03-28 2015-09-30 Fujitsu Component Limited Electromagnetic relay
US9583293B2 (en) 2014-04-17 2017-02-28 Fujitsu Component Limited Electromagnetic relay
CN106783446A (zh) * 2017-01-13 2017-05-31 乐清市也为电气有限公司 一种电气开关的引弧灭弧系统

Also Published As

Publication number Publication date
JP5121608B2 (ja) 2013-01-16
CN101625934A (zh) 2010-01-13
CN101625934B (zh) 2012-05-23

Similar Documents

Publication Publication Date Title
JP5121608B2 (ja) 回路遮断器
RU2479060C2 (ru) Дугогасительное устройство и прерыватель, оснащенный одним таким дугогасительным устройством
EP4187572B1 (en) Direct-current circuit breaker
EP2980821B1 (en) Switchgear
CN101377989B (zh) 电路断路器
KR200460487Y1 (ko) 소호부를 갖는 배선용 차단기
JP6160106B2 (ja) 回路遮断器
JP6203428B2 (ja) 直流高速度遮断器
JP2006019113A (ja) 回路遮断器
JP2003346635A (ja) 回路遮断器
JP2010251299A (ja) 回路遮断器
CN218788361U (zh) 一种断路器
CN114823188A (zh) 一种电器装置的灭弧系统
JP5287629B2 (ja) 回路遮断器
US9697968B2 (en) Electrical circuit breaker
CN101473393B (zh) 断路器或线路保护开关
CN204596739U (zh) 小型断路器及其护板
JP2007324038A (ja) 回路遮断器
CN102237230A (zh) 用于监控电路的双断路保护开关
JP2009070601A (ja) 回路遮断器
HK40087698A (en) Direct-current circuit breaker
HK40087698B (en) Direct-current circuit breaker
KR20210133637A (ko) 아크 소호용 그리드 및 이를 포함하는 아크 소호용 그리드 어셈블리
JP4637722B2 (ja) 回路遮断器
JP2010170787A (ja) 回路遮断器

Legal Events

Date Code Title Description
A621 Written request for application examination

Free format text: JAPANESE INTERMEDIATE CODE: A621

Effective date: 20101013

A977 Report on retrieval

Free format text: JAPANESE INTERMEDIATE CODE: A971007

Effective date: 20120517

A131 Notification of reasons for refusal

Free format text: JAPANESE INTERMEDIATE CODE: A131

Effective date: 20120529

A521 Written amendment

Free format text: JAPANESE INTERMEDIATE CODE: A523

Effective date: 20120723

TRDD Decision of grant or rejection written
A01 Written decision to grant a patent or to grant a registration (utility model)

Free format text: JAPANESE INTERMEDIATE CODE: A01

Effective date: 20120925

A01 Written decision to grant a patent or to grant a registration (utility model)

Free format text: JAPANESE INTERMEDIATE CODE: A01

A61 First payment of annual fees (during grant procedure)

Free format text: JAPANESE INTERMEDIATE CODE: A61

Effective date: 20121023

FPAY Renewal fee payment (event date is renewal date of database)

Free format text: PAYMENT UNTIL: 20151102

Year of fee payment: 3

R151 Written notification of patent or utility model registration

Ref document number: 5121608

Country of ref document: JP

Free format text: JAPANESE INTERMEDIATE CODE: R151

FPAY Renewal fee payment (event date is renewal date of database)

Free format text: PAYMENT UNTIL: 20151102

Year of fee payment: 3

R250 Receipt of annual fees

Free format text: JAPANESE INTERMEDIATE CODE: R250

R250 Receipt of annual fees

Free format text: JAPANESE INTERMEDIATE CODE: R250

R250 Receipt of annual fees

Free format text: JAPANESE INTERMEDIATE CODE: R250

R250 Receipt of annual fees

Free format text: JAPANESE INTERMEDIATE CODE: R250

R250 Receipt of annual fees

Free format text: JAPANESE INTERMEDIATE CODE: R250

LAPS Cancellation because of no payment of annual fees