JP2010020190A - 表示装置 - Google Patents

表示装置 Download PDF

Info

Publication number
JP2010020190A
JP2010020190A JP2008182089A JP2008182089A JP2010020190A JP 2010020190 A JP2010020190 A JP 2010020190A JP 2008182089 A JP2008182089 A JP 2008182089A JP 2008182089 A JP2008182089 A JP 2008182089A JP 2010020190 A JP2010020190 A JP 2010020190A
Authority
JP
Japan
Prior art keywords
electrode film
region
contact hole
holes
contact
Prior art date
Legal status (The legal status is an assumption and is not a legal conclusion. Google has not performed a legal analysis and makes no representation as to the accuracy of the status listed.)
Granted
Application number
JP2008182089A
Other languages
English (en)
Other versions
JP5339273B2 (ja
Inventor
Miyo Ishii
美備 石井
Manabu Yamashita
学 山下
Takanori Nakayama
貴徳 中山
Tomohiko Otani
智彦 大谷
Current Assignee (The listed assignees may be inaccurate. Google has not performed a legal analysis and makes no representation or warranty as to the accuracy of the list.)
Japan Display Inc
Original Assignee
Hitachi Displays Ltd
Priority date (The priority date is an assumption and is not a legal conclusion. Google has not performed a legal analysis and makes no representation as to the accuracy of the date listed.)
Filing date
Publication date
Application filed by Hitachi Displays Ltd filed Critical Hitachi Displays Ltd
Priority to JP2008182089A priority Critical patent/JP5339273B2/ja
Publication of JP2010020190A publication Critical patent/JP2010020190A/ja
Application granted granted Critical
Publication of JP5339273B2 publication Critical patent/JP5339273B2/ja
Active legal-status Critical Current
Anticipated expiration legal-status Critical

Links

Images

Landscapes

  • Liquid Crystal (AREA)
  • Devices For Indicating Variable Information By Combining Individual Elements (AREA)

Abstract

【課題】層間載せ換え部の断線の恐れを軽減させた表示装置を提供すること
【解決手段】表示装置は、第1の電極膜が形成される第1の導電層と、第1の導電層上に設けられる第1の絶縁層と、第1の絶縁層上に設けられ第2の電極膜が形成される第2の導電層と、第2の導電層上に設けられる第2の絶縁層と、前記第2の絶縁層及び前記第1の絶縁層を貫通して前記第1の電極膜に至る1または複数の第1の孔と、前記第2の絶縁層を貫通して前記第2の電極膜に至る1または複数の第2の孔とを含む。前記第1の孔と前記第2の孔はあわせて少なくとも3つ以上であり、前記第1の孔及び前記第2の孔の前記少なくとも3つを接続する前記第2の絶縁層上の領域に導電膜が形成される。
【選択図】図6

Description

本発明は表示装置に関し、特に基板の異なる層に形成されている電極膜どうしを電気的に接続するための構造を有する表示装置に関する。
例えば液晶表示装置などの表示装置においては、その表示装置を構成するアレイ基板上に絶縁体の層を挟んで複数の導電層が形成される。このように複数の導電層に存在する配線どうしを電気的に接続するために、図24及び図25に示すような層間載せ換え部を用いることがある。図24は従来の層間載せ換え部を示す平面図の例であり、図25は図24のA−A切断線における断面図の例である。
上記アレイ基板は、ゲート電極膜GMと、ゲート電極膜GMの層の上側に設けられるゲート絶縁膜GIと、ゲート絶縁膜GIの上側に設けられるドレイン電極膜SDMと、ドレイン電極膜SDMの層の上側に設けられるパッシベーション膜と、パッシベーション膜の上側に設けられる導電膜SCとの多層構造となっている。ここで、図24及び図25に示される例ではパッシベーション膜は無機絶縁膜PASの層及びその上方にある有機絶縁膜FPSの層により構成されている。
層間載せ換え部は、上記アレイ基板において、ゲート電極膜GMに達する第1のコンタクトホールCH1と、ドレイン電極膜SDMに達する第2のコンタクトホールCH2と、導電膜SCによって構成されている。導電膜SCは、電極膜が露呈する領域を含む2つのコンタクトホールの内部と、コンタクトホール間のパッシベーション膜の表面の領域を含むように形成されている。上記層間載せ換え部により、ゲート電極膜GMの層に形成された配線と、ドレイン電極膜SDMの層に形成された配線とを電気的に接続することができる。
特開2004−46223号公報
上述の表示装置にかかるアレイ基板の層間載せ換え部では、導電膜SCの領域のうち、2つのコンタクトホールCH1,CH2の間を接続する領域がパッシベーション膜上に露出している。そのため、その領域に物理的接触が生じると、断線を生じてしまう恐れがあった。
本発明は上記課題に鑑みてなされたものであって、その目的は、層間載せ換え部の断線が生ずる恐れを軽減させたアレイ基板を有する表示装置を提供することにある。
上記課題を解決するために、本発明にかかる表示装置は、第1の電極膜が形成される第1の導電層と、前記第1の導電層上に設けられる第1の絶縁層と、前記第1の絶縁層上に設けられ第2の電極膜が形成される第2の導電層と、前記第2の導電層上に設けられる第2の絶縁層と、前記第2の絶縁層及び前記第1の絶縁層を貫通して前記第1の電極膜に至る1または複数の第1の孔と、前記第2の絶縁層を貫通して前記第2の電極膜に至る1または複数の第2の孔と、を含み、前記第1の孔と前記第2の孔はあわせて少なくとも3つ以上であり、前記第1の孔及び前記第2の孔の前記少なくとも3つを接続する前記第2の絶縁層上の領域に導電膜が形成される、ことを特徴とする。
また、本発明の一態様では、前記少なくとも3つに含まれるとともに、前記第1の孔及び前記第2の孔のうち一方である少なくとも1つの孔のそれぞれは、前記少なくとも3つに含まれるとともに、前記第1の孔及び前記第2の孔のうち他方である少なくとも2つの孔と第1の方向または前記第1の方向に直交する第2の方向で隣接するようにしてもよい。
また、本発明の一態様では、前記少なくとも3つに含まれるとともに、前記第1の孔及び前記第2の孔のうち一方である少なくとも1つの孔のそれぞれは、前記少なくとも3つに含まれるとともに、前記第1の孔及び前記第2の孔のうち他方である少なくとも2つの孔と前記第1の方向及び前記第2の方向のそれぞれで隣接するようにしてもよい。
また、本発明の一態様では、前記表示装置は第1の基板と、前記第1の基板の端部であって一辺に沿って延びる領域を露呈させ残りの領域を覆うように設けられる第2の基板と、をさらに含み、前記延伸する領域には前記第1の孔及び前記第2の孔が存在し、前記第1の方向は前記延伸する領域の長手方向であり、前記第2の方向は前記延伸する領域の短手方向である、ようにしてもよい。
また、本発明の一態様では、前記第2の絶縁膜は、材料の異なる複数の層から形成されるようにしてもよい。
また、本発明の一態様では、前記第2の絶縁膜は、有機絶縁層を含むようにしてもよい。
また、本発明に係る他の表示装置は、第1の電極膜が形成される第1の導電層と、前記第1の導電層上に設けられる第1の絶縁層と、前記第1の絶縁層上に設けられ第2の電極膜が形成される第2の導電層と、前記第2の導電層上に設けられる第2の絶縁層と、前記第2の絶縁層及び前記第1の絶縁層を貫通して前記第1の電極膜に至る1または複数の第1の孔と、前記第2の絶縁層を貫通して前記第2の電極膜に至る1または複数の第2の孔と、を含み、前記第1の孔の面積の合計は前記第2の孔の面積の合計と異なり、前記第1の孔及び前記第2の孔の内部領域ならびに前記第1の孔及び前記第2の孔の全てを接続する前記第2の絶縁層上の領域に導電膜が形成される、ことを特徴とする。
本発明によれば、ゲート電極膜GMとドレイン電極膜SDMとを接続する導電膜の一部が断線しても電気的接続が維持できる可能性が向上する。それにより、層間載せ換え部の断線の恐れを軽減させたアレイ基板を有する表示装置を提供することができる。
以下、本発明の実施形態の例について図面に基づき詳細に説明する。なお、以下で説明する実施形態は、IPS方式の液晶表示装置に本発明を適用した場合の例である。
[第1の実施形態]
本実施形態にかかる表示装置は液晶表示装置であって、アレイ基板TSと、当該アレイ基板TSと対向し、カラーフィルタが設けられたフィルタ基板FSと、両基板に挟まれた領域に封入された液晶材料と、アレイ基板TSに取付けられたドライバICと、を含んで構成される。アレイ基板TS及びフィルタ基板FSは、いずれもガラス基板などである。
図1は、本発明の実施形態にかかるアレイ基板TSのレイアウトを示す平面図である。アレイ基板TSには、画像を表示するための多数の画素回路が配置されている画素領域DAと、画素領域DAの下側に隣接して設けられたゲート線引き回し領域GLAと、画素領域DAの下側に隣接して設けられたドレイン線引き回し領域DLAと、アレイ基板TSの下端にあり外部との接続端子により構成される領域である端子部TAと、端子部TAとゲート線引き回し領域GLA及びドレイン線引き回し領域DLAの間に設けられた端子部周辺配線領域TLAと、が配置されている。
画素領域DAの画素回路には、ゲート線、ドレイン線、薄膜トランジスタ、画素電極等が形成されており、画素領域DAは液晶表示装置における表示領域に対応している。ゲート線は画素領域DA内を横方向に平行に複数延び、ドレイン線は画素領域DA内を縦方向に平行に複数延びている。薄膜トランジスタはゲート線とドレイン線が交差する点に対応して存在し、そのゲート電極はゲート線に、ドレイン電極はドレイン線に接続されている。ゲート線引き回し領域GLAにはゲート線からドライバICに向かう複数の配線(以下、ゲート接続線という)が配置されている。ドレイン線引き回し領域DLAにはドレイン線からドライバICに向かう複数の配線(以下、ドレイン接続線という)が配置されている。また、端子部周辺配線領域TLAは、端子部TA、ゲート接続線GL及びドレイン接続線とドライバICとを接続するための配線がされている領域である。
図2は本発明の実施形態にかかるアレイ基板とフィルタ基板の構成を示す図である。フィルタ基板FSは画素領域DAとその周りを覆うように対向して設けられ、その挟まれた領域には液晶材料が封入されている。一方、フィルタ基板FSはアレイ基板TSの端子部側の一辺に沿って延びる領域の上方は覆っていない。その領域は具体的には端子部周辺配線領域TLA及び端子部TAの全部と、ゲート線引き回し領域GLAとドレイン線引き回し領域DLAの一部である。それは端子部周辺配線領域TLA及び端子部TAにおいて外部との接続やドライバICの配置を行う必要があるからである。そのため、端子部周辺配線領域TLAの表面は外部に露呈している。フィルタ基板FSが覆っていない領域はアレイ基板TSの端子部側の一辺の方向に長く、それと直交する方向(端子部からフィルタ基板に向かう方向)に短くなっている。以下ではこの端子部側の一辺の方向を長手方向、それに直交する方向を短手方向という。
図3は、本発明の実施形態にかかるアレイ基板TSのレイアウトの部分平面図である。本図は図1の左下の領域の拡大図である。図1の端子部TAの領域には、接続端子TCと、点灯試験用信号パッドTPが配置されており、外部からの信号はこれらを通じて入力される。
図4は、図3の端子部周辺配線領域TLAの部分平面図である。図4は図3の波線で囲んだ領域に対応している。端子部周辺配線領域TLA上には、ドライバICとアレイ基板TS上の各種配線とを接続するためにスルーホールTHが複数設けられている。図4で上下をスルーホールTHの列に挟まれた領域には、点灯試験用の回路が存在する。図5は、層間載せ換え部C1,C2,C3を含む点灯試験用の回路周辺の部分拡大平面図である。本図の左右方向はアレイ基板TSの端子部側の一辺と同じ方向つまり長手方向であり、その方向に点灯試験用信号線TEL,TSLが延びている。また、上下方向は短手方向であり、点灯試験用トランジスタTrのドレイン電極、ソース電極からの配線は、短手方向にそって延びている。点灯試験を行う際には点灯試験用信号線TSLに電圧が印加され点灯試験用トランジスタTrのスイッチがONになる。すると、点灯試験用信号線TELを通じて入力される点灯試験用の信号がゲート線に出力される。
層間載せ換え部C1,C2,C3はゲート電極膜GMの層(以下、ゲート導電層という)にある配線等とドレイン電極膜SDMの層(以下、ドレイン導電層という)にある配線等を接続するために設けられている。具体的には層間載せ換え部C1,C2はゲート導電層の点灯試験用信号線TELと点灯試験用トランジスタTrから下方に延びるドレイン導電層の配線(以下、下部縦配線という。)を接続する。層間載せ換え部C3は点灯試験用トランジスタTrから上方に延びる配線(以下、上部縦配線という。)につながるドレイン導電層のスルーホールTHと、ゲート導電層のゲート接続線GL2とを接続する。なお、ゲート接続線GL1はゲート接続線GL2とは異なりドレイン導電層に存在する。本実施形態では実装密度をあげるためにゲート接続線がゲート導電層とドレイン導電層の両方に交互に配線(千鳥配線)されているからである。
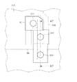
図6は、第1の実施形態にかかる層間載せ換え部C1の平面図である。上方に延びるドレイン電極膜SDMの線は点灯試験用トランジスタTrにつながる下部縦配線であり、左右に延びるゲート電極膜GMの線は点灯試験用信号線TELである。コンタクトホールCH1はコンタクトホールCH2の右方向に隣接し、コンタクトホールCH3はコンタクトホールCH2の下方向に点灯試験用信号線TELを挟んで隣接している。コンタクトホールの平面的形状は円形である。コンタクトホールCH1,CH3はゲート電極膜GMと接触し、そのゲート電極膜GMは平面的にコンタクトホールCH1,CH3をそれぞれ囲む領域を持ち、その領域は点灯試験用信号線TELにつながっている。コンタクトホールCH2はドレイン電極膜SDMと接触し、そのドレイン電極膜SDMは平面的にコンタクトホールCH2を囲む領域を持ち、その領域は下部縦配線につながっている。
具体的にはコンタクトホールCH1,CH3を囲むゲート電極膜GMの領域はそれぞれ平面的に一部の角が面取りされた長方形の領域をなし、コンタクトホールCH1を囲む領域の下辺及びコンタクトホールCH3を囲む領域の上辺が点灯試験用信号線TELにつながっている。コンタクトホールCH2を囲むドレイン電極膜SDMの領域も平面的に一部の角が面取りされた長方形の領域をなし、その上辺の右端部分で下部縦配線とつながり、その右辺でコンタクトホールCH1を囲む領域と、その下辺で点灯試験用信号線TELの領域とそれぞれ隣接している。ここで隣接する領域は、それらが重ならずかつその隣接する一辺が所定の間隔で平行に並ぶように並べられている。なお、上記一部の角が面取りされた長方形の領域は、具体的には他のコンタクトホールを囲む領域と隣接せずかつ他の同じ電極膜の領域とつながりがない2つの辺に囲まれた角の部分が面取りされている。
層間載せ換え部の表面には3つのコンタクトホールCH1〜CH3及びそれを接続する領域にわたって導電膜SCの領域が形成されている。具体的には、導電膜SCの領域は、平面的に上述の各コンタクトホールCH1〜CH3をそれぞれ囲む領域をつないで覆うように存在している。その周りの表面には、有機絶縁膜FPSがあらわれている。ゲート電極膜GMと接触するコンタクトホールCH1,CH3の内部領域の面積の合計は、ドレイン電極膜SDMと接触するコンタクトホールCH2の内部領域の面積より大きい。
図7は、図6のA1−A1切断線における断面図である。図8は、図6のB1−B1切断線における断面図である。図7及び図8からわかるように、層間載せ換え部C1においては、基板SUB上にゲート電極膜GM、ゲート絶縁膜GI、ドレイン電極膜SDM、無機絶縁膜PAS、有機絶縁膜FPSが順次積層されている。さらに、ゲート電極膜GM上に存在するコンタクトホールCH1,CH3はテーパ形状であり、有機絶縁膜FPS、無機絶縁膜PAS及びゲート絶縁膜GIを貫通しゲート電極膜GMまで達している。ドレイン電極膜SDM上に存在するコンタクトホールCH2もテーパ形状であり、有機絶縁膜FPS、無機絶縁膜PASを貫通しドレイン電極膜SDMまで達している。導電膜SCは、有機絶縁膜FPSに形成されたコンタクトホールCH1〜CH3の内部と、有機絶縁膜FPSの上面のコンタクトホールCH1とコンタクトホールCH2との間、コンタクトホールCH2とコンタクトホールCH3の間を接続する領域に形成されている。
この構造により、ゲート電極膜GMとドレイン電極膜SDMを接続する領域としてコンタクトホールCH1とコンタクトホールCH2とを結ぶ部分及びコンタクトホールCH2とコンタクトホールCH3とを結ぶ部分の2つ得られるため、その上に形成される導電膜SCのひっかき傷等による断線の恐れを軽減することができる。1つの上記部分が断線しても、もう一つの上記部分が残るからである。さらに、ドレイン電極膜SDMに接触するコンタクトホールCH2にゲート電極膜GMに接触する複数のコンタクトホールCH1,CH3を隣接させることで、ルート複数化に伴うコンタクトホールの数や配線の長さの増加を抑え省スペースな構成としている。こうすると、例えば2つのルートを一度に切断するような傷はコンタクトホールCH1とコンタクトホールCH2との間から入りコンタクトホールCH2とコンタクトホールCH3から出るようなものに限られる。それにより断線する可能性を減少させることができる。なお、コンタクトホールCH1及びコンタクトホールCH3の代わりに1つの大きなコンタクトホールがある場合も同様な効果が得られる。つまり、一般化すればゲート電極膜GMと接触するコンタクトホールCH1,CH3の内部領域の面積の合計が、ドレイン電極膜SDMと接触するコンタクトホールCH2の内部領域の面積より大きい場合も同様の効果が得られると考えられる。
さらに層間載せ換え部C1ではコンタクトホールCH2に対しコンタクトホールCH1,CH3が隣接する方向をある方向とそれに直交する方向とすることで、上述の1つの傷による断線の可能性を減少させつつ、平行する2つの傷によって断線する可能性も低くすることができる。また本実施形態においてはフィルタ基板FSに覆われないアレイ基板の領域の形状との関係で、長手方向あるいは短手方向に比較的傷が生じやすい。ここで1つの方向を長手方向(左右方向)、直交する方向を短手方向(上下方向)とし、それらの方向にコンタクトホールを隣接させることで、断線の可能性をさらに低下させることができる。傷の起こりやすい方向と上述の1つの傷により断線しうる方向が異なり、また傷の方向と平行なコンタクトホール間の部分は切断が難しいからである。なお、層間載せ換え部C1及び以下で説明する他の層間載せ換え部において、構造上ゲート電極膜GMとドレイン電極膜SDMを入れ替えたような場合、具体的には層間載せ換え部C1ではコンタクトホールCH2がゲート電極膜GM上にあり、コンタクトホールCH1,CH3がドレイン電極膜SDM上にあるような場合であっても同様の効果を得ることができるのはもちろんである。
図9は、第1の実施形態にかかる層間載せ換え部C2の平面図である。上方に延びるドレイン電極膜SDMの線は点灯試験用トランジスタTrにつながる下部縦配線であり、左右に延びるゲート電極膜GMの線は点灯試験用信号線TELである。コンタクトホールCH2はコンタクトホールCH1の右方向に隣接している。コンタクトホールCH3はコンタクトホールCH1の右上方向かつコンタクトホールCH2の左上方向に隣接している。コンタクトホールの平面的形状は円形である。コンタクトホールCH1はゲート電極膜GM上に接触し、そのゲート電極膜GMは平面的にコンタクトホールCH1を囲む領域を持ち、その領域はその下方にある点灯試験用信号線TELにつながっている。コンタクトホールCH2,CH3はドレイン電極膜SDMに接触し、そのドレイン電極膜SDMは平面的にコンタクトホールCH2,CH3をそれぞれ囲む領域を持ち、その2つの領域がつながるとともに、下部縦配線にもつながっている。
具体的にはゲート電極膜GMのコンタクトホールCH1を囲む領域は平面的に一部の角が面取りされた長方形の領域をなし、その下辺が点灯試験用信号線TELにつながっている。コンタクトホールCH2,CH3を囲むドレイン電極膜SDMの領域も平面的に一部の角が面取りされた長方形の領域をなし、コンタクトホールCH3を囲む領域はその上辺中央部分で下部縦配線とつながり、その下辺の左半分でコンタクトホールCH1を囲む領域と隣接し、その下辺の右半分でコンタクトホールCH2を囲む領域とつながっている。コンタクトホールCH2を囲む領域はその下辺で点灯試験用信号線TELの領域と、その左辺でコンタクトホールCH1を囲む領域の右辺と隣接している。
層間載せ換え部の表面には3つのコンタクトホールCH1〜CH3及びそれを接続する領域にわたって導電膜SCの領域が形成されている。具体的には、導電膜SCの領域は、平面的に上述の各コンタクトホールCH1〜CH3をそれぞれ囲む領域をつないで覆うように存在している。その周りの表面には、有機絶縁膜FPSがあらわれている。ゲート電極膜GMと接触するコンタクトホールCH1,CH3の内部領域の面積の合計は、ドレイン電極膜SDMと接触するコンタクトホールCH2の内部領域の面積より大きい。
図10は、図9のB2−B2切断線における断面図である。また図9のA2−A2切断線における断面は、図7と同様である。図7及び図10からわかるように、層間載せ換え部C2においては、基板SUB上にゲート電極膜GM、ゲート絶縁膜GI、ドレイン電極膜SDM、無機絶縁膜PAS、有機絶縁膜FPSが順次積層されている。さらに、ゲート電極膜GM上に存在するコンタクトホールCH1はテーパ形状であり、有機絶縁膜FPS、無機絶縁膜PAS及びゲート絶縁膜GIを貫通しゲート電極膜GMまで達している。ドレイン電極膜SDM上に存在するコンタクトホールCH2,CH3もテーパ形状であり、有機絶縁膜FPS、無機絶縁膜PASを貫通しドレイン電極膜SDMまで達している。導電膜SCは、有機絶縁膜FPSに形成されたコンタクトホールCH1〜CH3の内部と、有機絶縁膜FPSの上面のコンタクトホールCH1とコンタクトホールCH2との間、コンタクトホールCH1とコンタクトホールCH3の間を接続する領域を含むように形成されている。
この構造により、ゲート電極膜GMとドレイン電極膜SDMとを接続する領域としてコンタクトホールCH1とコンタクトホールCH2とを結ぶ部分とコンタクトホールCH1とコンタクトホールCH3とを結ぶ部分の2つが得られるため、その上に形成される導電膜SCのひっかき傷等による断線の恐れを軽減することができる。さらに、ゲート電極膜GMに接触するコンタクトホールCH1にドレイン電極膜SDMに接触するコンタクトホールCH1,CH3を隣接させることで、ルート複数化に伴うコンタクトホールの数の増加を抑え省スペースな構成としている。こうすると、層間載せ換え部C1で記載したものと同じ理由で断線する可能性を減少させることができる。なお、これを一般化すればゲート電極膜GMと接触するコンタクトホールCH1,CH3の内部領域の面積の合計が、ドレイン電極膜SDMと接触するコンタクトホールCH2の内部領域の面積より大きい場合も同様の効果が得られると考えられる。
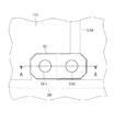
図11は、第1の実施形態にかかる層間載せ換え部C3の平面図である。下方に延びるドレイン電極膜SDMの線は点灯試験用トランジスタTrにつながる上部縦配線であり、上方に延びるゲート電極膜GMの線はゲート接続線GL2である。コンタクトホールCH1,CH3,CH4はコンタクトホールCH2のそれぞれ左方向、右方向、下方向に隣接する。コンタクトホールの平面的形状は長方形である。コンタクトホールは左右方向の辺の長さは略等しいが、上下方向の辺の長さはコンタクトホールCH4のみ長くなっている。これは、コンタクトホールCH4はスルーホールTHとしての役目がありドライバICの端子と接続する必要があるからである。コンタクトホールCH2はゲート電極膜GMに接触し、そのゲート電極膜GMはコンタクトホールCH2を囲む領域を持ち、その領域はゲート接続線GL2につながっている。コンタクトホールCH1,CH3,CH4はドレイン電極膜SDMに接触し、そのドレイン電極膜SDMは平面的にコンタクトホールCH1,CH3,CH4をそれぞれ囲む領域を持っている。コンタクトホールCH4を囲む領域は上部縦配線につながっている。コンタクトホールCH1,CH3を囲む領域はドレイン導電層の配線によりコンタクトホールCH4を囲む領域とつながっている。
具体的にはゲート電極膜GMのコンタクトホールCH2を囲む領域は平面的にコンタクトホールCH2より一回り大きい長方形の領域をなし、その上辺中央部がゲート接続線GL2につながっている。ドレイン電極膜SDMのコンタクトホールCH1,CH3,CH4をそれぞれ囲む領域は平面的に各コンタクトホールより一回り大きく一部の角が面取りされた長方形の領域をなしている。コンタクトホールCH4を囲む領域は、その下辺中央で下部縦配線とつながり、その上辺でコンタクトホールCH2を囲む領域と隣接し、その左右の辺でコンタクトホールCH1,CH3を囲む領域に向かう配線とつながっている。コンタクトホールCH2を囲む領域は、その左辺でコンタクトホールCH1を囲む領域の右辺と、その右辺でコンタクトホールCH3を囲む領域の左辺と隣接している。
層間載せ換え部の表面には4つのコンタクトホールCH1〜CH4及びそれを接続する領域にわたって導電膜SCの領域が形成されている。具体的には、導電膜SCの領域は、平面的に上述の各コンタクトホールCH1〜CH4をそれぞれ囲む領域をつないで覆うように存在している。その周りの領域の表面には、有機絶縁膜FPSがあらわれている。
図12は、図11のA3−A3切断線における断面図である。図13は、図11のB3−B3切断線における断面図である。図12及び図13からわかるように、層間載せ換え部C3においては、基板SUB上にゲート電極膜GM、ゲート絶縁膜GI、ドレイン電極膜SDM、無機絶縁膜PAS、有機絶縁膜FPSが順次積層されている。さらに、ゲート電極膜GM上に存在するコンタクトホールCH2はテーパ形状であり、有機絶縁膜FPS、無機絶縁膜PAS及びゲート絶縁膜GIを貫通しゲート電極膜GMまで達している。ドレイン電極膜SDM上に存在するコンタクトホールCH1,CH3,CH4もテーパ形状であり、有機絶縁膜FPS、無機絶縁膜PASを貫通しドレイン電極膜SDMまで達している。導電膜SCは、有機絶縁膜FPSに形成されたコンタクトホールCH1〜CH4の内部と、有機絶縁膜FPSの上面のコンタクトホールCH2とコンタクトホールCH1,CH3,CH4との間を接続する領域を含むように形成されている。
この構造により、ゲート電極膜GMとドレイン電極膜SDMとを接続する領域としてコンタクトホールCH2とコンタクトホールCH1,CH3,CH4とをそれぞれ結ぶ部分の3つが得られるため、その上に形成される導電膜SCのひっかき傷等による断線の恐れを軽減することができる。さらに、ゲート電極膜GMに接触するコンタクトホールCH2にドレイン電極膜SDMに接触する複数のコンタクトホールCH1,CH3,CH4を隣接させることで、ルート複数化に伴うコンタクトホールの数と配線の長さの増加を抑え省スペースな構成としている。さらに層間載せ換え部C3ではコンタクトホールCH2に対しコンタクトホールCH1,CH3,CH4が隣接する方向をある方向とそれに直交する方向とすることで、より広い方向からの傷に耐えられるようにしている。また1つの方向を長手方向(左右方向)、直交する方向を短手方向(上下方向)とし、それらの方向にコンタクトホールを隣接させることで、両方の部分が一度に断線する可能性をさらに減少させることができる。
次に、アレイ基板TSの製造工程について説明する。図14〜図17は、本発明の実施形態にかかるアレイ基板TSの製造工程を示す図である。本図の左側が画素領域DA上のトランジスタ領域の、右側は端子部周辺配線領域TLA上にあるゲート導電層に達するスルーホールのそれぞれ断面図である。
はじめに基板SUB上にMoCr/AlCdなどを成膜し、フォトリソグラフィによりゲート電極膜GMを形成する。次に、窒化シリコンを成膜しゲート絶縁膜GIの層を形成する。続いてアモルファスシリコンなどの材料を含んだ層である半導体層Siを成膜後、フォトリソグラフィによりこの層をパターニングする。次に、MoCrなどを成膜し、フォトリソグラフィによりトランジスタのソース線、ドレイン線を含むドレイン電極膜SDMを形成する。さらにその上方に窒化シリコンを成膜し無機絶縁膜PASの層を形成する。図14は、この段階におけるアレイ基板TSの様子を示す図である。
次に、図14が示す状態のアレイ基板TS上に感光性有機樹脂膜等を塗布し、露光、現像後、アニールを行う。これにより、有機絶縁膜FPSが形成される。図15は、この段階におけるアレイ基板TSの様子を示す図である。露光をする際に、端子部周辺配線領域TLAでは必要に応じハーフトーン露光を行うことで、有機絶縁膜FPSの厚さが薄い領域を設けることができる。本図においては上述のスルーホール周辺部をハーフトーン露光し、有機絶縁膜FPSの層厚を薄くしている。
層間載せ換え部C1,C2,C3においては、コンタクトホールCH以外の領域についてハーフトーン露光を行い、有機絶縁膜FPSの膜厚を薄くしている。
次に、図15に示す状態のアレイ基板TSの有機絶縁膜FPSをマスクとして無機絶縁膜PAS及びゲート絶縁膜GIを電極膜に達するまでエッチングする。エッチングの手法としては、フルオロカーボン系のガスを用いかつエッチングした箇所がテーパ形状となる方法を用いる。図16は、この段階におけるアレイ基板TSの様子を示す図である。本図では、ドレイン電極膜SDMの上方に有機絶縁膜FPSが無い領域(左側の画素領域DA参照)では無機絶縁膜PASがドレイン電極膜SDMに達するまでエッチングされ、ゲート電極膜GMの上方に有機絶縁膜FPSもしくはドレイン電極膜SDMが無い領域(右側の端子部周辺配線領域TLAのスルーホール参照)では無機絶縁膜PAS及びゲート絶縁膜GIがゲート電極膜GMに達するまでエッチングされる。
さらに、図16に示す状態のアレイ基板TSに対し導電膜SCの材料となる物質、例えばITO(Indium Tin Oxide)により導電膜SCを形成し、フォトリソグラフィによりパターニングすることによりアレイ基板TSが完成する。図17は完成したアレイ基板TSを示す図である。ここで、ITOは透明導電膜を形成することができる。画素領域DAの画素回路内では上記導電膜は薄膜トランジスタと接続される画素電極として形成される。
なお、これらの工程においては有機絶縁膜FPSをマスクとして無機絶縁膜PAS及びゲート絶縁膜GIのエッチングを行うことで、フォトリソグラフィの回数を少なくしている。具体的には有機絶縁膜を形成する前に無機絶縁膜PAS及びゲート絶縁膜GIに対しフォトリソグラフィを行う工程を省いている。これにより製造コストの削減をはかることができる。また、有機絶縁膜は無機絶縁膜に比べ厚く形成することが容易であり、これにより液晶表示装置のアレイ基板TSにおける容量カップリングの低減を容易に実現することができる。一方、有機絶縁膜FPSは無機絶縁膜PASに比べて柔らかく、ひっかき傷等にも弱い性質がある。それによりその上方にある導電膜SCにもひっかき傷が発生しやすい傾向がある。
[第2の実施形態]
第2の実施形態にかかる表示装置は、第1の実施形態の層間載せ換え部C1,C2,C3の構造を換えたものである。全体構造(図1〜図5参照)及びアレイ基板TSの製造工程(図14〜図17参照)は第1の実施形態と本質的に同様であるため、第2の実施形態における層間載せ換え部C1,C2,C3の構造について、第1の実施形態との相違点を中心に記載する。
図18は、第2の実施形態にかかる層間載せ換え部C1の平面図である。上方に延びるドレイン電極膜SDMの線は点灯試験用トランジスタTrにつながる下部縦配線であり、左右に延びるゲート電極膜GMの線は点灯試験用信号線TELである。コンタクトホールCH1はコンタクトホールCH2の左方向に隣接している。コンタクトホールCH3はコンタクトホールCH1の右上方向かつコンタクトホールCH2の左上方向に隣接している。コンタクトホールCH4はコンタクトホールCH2の下方向に点灯試験用信号線TELを挟んで隣接している。コンタクトホールの平面的形状は円形である。コンタクトホールCH1,CH4はゲート電極膜GMと接触し、そのゲート電極膜GMは平面的にコンタクトホールCH1,CH4をそれぞれ囲む領域を持ち、その領域は点灯試験用信号線TELにつながっている。コンタクトホールCH2,CH3はドレイン電極膜SDMと接触し、そのドレイン電極膜SDMは平面的にコンタクトホールCH2,CH3をそれぞれ囲む領域を持ち、その2つの領域がつながるとともに、下部縦配線にもつながっている。
具体的にはコンタクトホールCH1,CH4を囲むゲート電極膜GMの領域はそれぞれ平面的に一部の角が面取りされた長方形の領域をなし、コンタクトホールCH1を囲む領域の下辺及びコンタクトホールCH4を囲む領域の上辺が点灯試験用信号線TELにつながっている。コンタクトホールCH2,CH3を囲むドレイン電極膜SDMの領域は平面的に一部の角が面取りされた長方形の領域をなし、コンタクトホールCH3を囲む領域はその上辺中央部分で下部縦配線とつながり、その下辺の左半分でコンタクトホールCH1を囲む領域と隣接し、その下辺の右半分でコンタクトホールCH2を囲む領域とつながっている。コンタクトホールCH2を囲む領域はその下辺で点灯試験用信号線TELの領域と、その左辺でコンタクトホールCH1を囲む領域の右辺と隣接している。
層間載せ換え部の表面には4つのコンタクトホールCH1〜CH4及びそれを接続する領域にわたって導電膜SCの領域が形成されている。具体的には、導電膜SCの領域は、平面的に上述の各コンタクトホールCH1〜CH4をそれぞれ囲む長方形の領域をつないで覆うように存在している。その周りの表面には、有機絶縁膜FPSがあらわれている。
図19は、図18のB4−B4切断線における断面図である。また図19のA4−A4切断線における断面は、図7と同様である。図7及び図19からわかるように、層間載せ換え部C1においては、基板SUB上にゲート電極膜GM、ゲート絶縁膜GI、ドレイン電極膜SDM、無機絶縁膜PAS、有機絶縁膜FPSが順次積層されている。さらに、ゲート電極膜GM上に存在するコンタクトホールCH1,CH4はテーパ形状であり、有機絶縁膜FPS、無機絶縁膜PAS及びゲート絶縁膜GIを貫通しゲート電極膜GMまで達している。ドレイン電極膜SDM上に存在するコンタクトホールCH2,CH3もテーパ形状であり、有機絶縁膜FPS、無機絶縁膜PASを貫通しドレイン電極膜SDMまで達している。導電膜SCは、有機絶縁膜FPSに形成されたコンタクトホールCH1〜CH4の内部と、有機絶縁膜FPSの上面のコンタクトホールCH1とコンタクトホールCH2との間、コンタクトホールCH2とコンタクトホールCH4との間、そして図示しないがコンタクトホールCH1とコンタクトホールCH3との間を接続する領域に形成されている。
この構造により、ゲート電極膜GMとドレイン電極膜SDMとを接続する領域としてコンタクトホールCH1とコンタクトホールCH2とを結ぶ部分、コンタクトホールCH1とコンタクトホールCH3とを結ぶ部分及びコンタクトホールCH2とコンタクトホールCH4とを結ぶ部分の3つが得られるため、その上に形成される導電膜SCのひっかき傷等による断線の恐れを軽減することができる。さらに、ドレイン電極膜SDMに接触するコンタクトホールCH2にゲート電極膜GMに接触する複数のコンタクトホールCH1,CH4を隣接させ、また、ゲート電極膜GMに接触するコンタクトホールCH1にドレイン電極膜SDMに接触する複数のコンタクトホールCH2,CH3を隣接させることで、ルート複数化に伴うコンタクトホールの数や配線の長さの増加を抑え省スペースな構成としている。
さらに層間載せ換え部C1ではコンタクトホールCH2に対しコンタクトホールCH1,CH3が隣接する方向をある方向とそれに直交する方向とすることで、上述の1つの傷による断線の可能性を減少させつつ、平行する2つの傷によって断線する可能性も低くすることができる。また上記ある方向を長手方向(左右方向)、直交する方向を短手方向(上下方向)とし、それらの方向にコンタクトホールを隣接させることで、断線の可能性をさらに低下させることができる。
図20は、第2の実施形態にかかる層間載せ換え部C2の平面図である。上方に延びるドレイン電極膜SDMの線は点灯試験用トランジスタTrにつながる下部縦配線であり、左右に延びるゲート電極膜GMの線は点灯試験用信号線TELである。コンタクトホールCH1はコンタクトホールCH2の下方向に隣接している。コンタクトホールCH3はコンタクトホールCH2の上方向に点灯試験用信号線TELを挟んで隣接している。コンタクトホールCH4はコンタクトホールCH3の上方向に隣接している。コンタクトホールの平面的形状は円形である。コンタクトホールCH1,CH3はゲート電極膜GMと接触し、そのゲート電極膜GMは平面的にコンタクトホールCH1,CH3をそれぞれ囲む領域を持ち、その領域は点灯試験用信号線TELにつながっている。コンタクトホールCH2,CH4はドレイン電極膜SDMと接触し、そのドレイン電極膜SDMは平面的にコンタクトホールCH2,CH4をそれぞれ囲む領域を持ち、その2つの領域は下部縦配線につながっている。
具体的にはコンタクトホールCH1,CH3を囲むゲート電極膜GMの領域はそれぞれ平面的に一部の角が面取りされた長方形の領域をなし、コンタクトホールCH1を囲む領域はその左辺のゲート導電層の配線によって、コンタクトホールCH3を囲む領域はその下辺により直接、点灯試験用信号線TELにつながっている。コンタクトホールCH2,CH4を囲むドレイン電極膜SDMの領域は平面的に長方形の領域をなし、そのそれぞれの右辺が下部縦配線とつながっている。コンタクトホールCH1を囲む領域の上辺はコンタクトホールCH2を囲む領域の下辺と隣接する。コンタクトホールCH2を囲む領域の上辺は点灯試験用信号線TELと、左辺はゲート導電層の上記配線と隣接している。コンタクトホールCH3を囲む領域はその上辺でコンタクトホールCH4を囲む領域の下辺と、その右辺で下部縦配線と隣接している。
層間載せ換え部C2の表面には4つのコンタクトホールCH1〜CH4及びそれを接続する領域にわたって導電膜SCの領域が形成されている。具体的には、導電膜SCの領域は、平面的に上述の各コンタクトホールCH1〜CH4をそれぞれ囲む領域をつないで覆うように存在している。その周りの表面には、有機絶縁膜FPSがあらわれている。
図21は、図20のA5−A5切断線における断面図である。図21からわかるように、層間載せ換え部C2においては、基板SUB上にゲート電極膜GM、ゲート絶縁膜GI、ドレイン電極膜SDM、無機絶縁膜PAS、有機絶縁膜FPSが順次積層されている。さらに、ゲート電極膜GM上に存在するコンタクトホールCH1,CH3はテーパ形状であり、有機絶縁膜FPS、無機絶縁膜PAS及びゲート絶縁膜GIを貫通しゲート電極膜GMまで達している。ドレイン電極膜SDM上に存在するコンタクトホールCH2,CH4もテーパ形状であり、有機絶縁膜FPS、無機絶縁膜PASを貫通しドレイン電極膜SDMまで達している。導電膜SCは、有機絶縁膜FPSに形成されたコンタクトホールCH1〜CH4の内部と、有機絶縁膜FPSの上面のコンタクトホールCH1とコンタクトホールCH2との間、コンタクトホールCH2とコンタクトホールCH3との間、そしてコンタクトホールCH3とコンタクトホールCH4との間を接続する領域に形成されている。
この構造により、ゲート電極膜GMとドレイン電極膜SDMとを接続する領域としてコンタクトホールCH1とコンタクトホールCH2とを結ぶ部分、コンタクトホールCH2とコンタクトホールCH3とを結ぶ部分及びコンタクトホールCH3とコンタクトホールCH4とを結ぶ部分の3つが得られるため、その上に形成される導電膜SCのひっかき傷等による断線の恐れを軽減することができる。さらに、ドレイン電極膜SDMに接触するコンタクトホールCH2にゲート電極膜GMに接触する複数のコンタクトホールCH1,CH3を隣接させ、また、ゲート電極膜GMに接触するコンタクトホールCH3にドレイン電極膜SDMに接触する複数のコンタクトホールCH2,CH4を隣接させることで、ルート複数化に伴うコンタクトホールの数や配線の長さの増加を抑え省スペースな構成としている。ここではコンタクトホール同士が隣接する方向をある方向のみとしている。この場合、1つの直線状の傷によっては全ての部分を切断することはできないため、断線の可能性が低くなる。
図22は、第2の実施形態にかかる層間載せ換え部C3の平面図である。下方に延びるドレイン電極膜SDMの線は点灯試験用トランジスタTrにつながる上部縦配線であり、上方に延びるゲート電極膜GMの線はゲート接続線GL2である。コンタクトホールCH1はコンタクトホールCH2の上方向に隣接している。コンタクトホールCH3はコンタクトホールCH2の下方向に隣接している。コンタクトホールCH4はコンタクトホールCH3の下方向に隣接している。コンタクトホールの平面的形状は長方形である。コンタクトホールは左右方向の辺の長さは略等しいが、上下方向の辺の長さはコンタクトホールCH4のみ長くなっている。これは、コンタクトホールCH4はスルーホールTHとしての役目があるからである。コンタクトホールCH1,CH3はゲート電極膜GMと接触し、そのゲート電極膜GMは平面的にコンタクトホールCH1,CH3をそれぞれ囲む領域を持ち、その領域はゲート接続線GL2につながっている。コンタクトホールCH2,CH4はドレイン電極膜SDMと接触し、そのドレイン電極膜SDMは平面的にコンタクトホールCH2,CH4をそれぞれ囲む領域を持ち、コンタクトホールCH2を囲む領域はコンタクトホールCH4を囲む領域に、コンタクトホールCH4を囲む領域は上部縦配線につながっている。
具体的にはコンタクトホールCH1,CH3を囲むゲート電極膜GMの領域はそれぞれ平面的に各コンタクトホールより一回り大きく一部の角が面取りされた長方形の領域をなし、コンタクトホールCH1,CH3はその左辺で上下方向に延びるゲート接続線GL2につながっている。コンタクトホールCH2,CH4を囲むドレイン電極膜SDMの領域は平面的に各コンタクトホールより一回り大きい長方形の領域をなし、コンタクトホールCH4を囲む領域の下辺が上部縦配線とつながっている。コンタクトホールCH1を囲む領域の下辺はコンタクトホールCH2を囲む領域の上辺と隣接する。コンタクトホールCH2を囲む領域はその下辺でコンタクトホールCH3を囲む領域の上辺と、その左辺でゲート接続線GL2と隣接し、その右辺でCH4に向かうドレイン導電層上の配線とつながっている。コンタクトホールCH3を囲む領域はその下辺でコンタクトホールCH4を囲む領域の上辺と隣接し、その右辺でコンタクトホールCH2に向かう配線と隣接している。
層間載せ換え部C3の表面には4つのコンタクトホールCH1〜CH4及びそれを接続する領域にわたって導電膜SCの領域が形成されている。具体的には、導電膜SCの領域は、平面的に上述の各コンタクトホールCH1〜CH4をそれぞれ囲む長方形の領域をつないで覆うように存在している。その周りの表面には、有機絶縁膜FPSがあらわれている。
図23は、図22のA6−A6切断線における断面図である。図23からわかるように、層間載せ換え部C3においては、基板SUB上にゲート電極膜GM、ゲート絶縁膜GI、ドレイン電極膜SDM、無機絶縁膜PAS、有機絶縁膜FPSが順次積層されている。さらに、ゲート電極膜GM上に存在するコンタクトホールCH1,CH3はテーパ形状であり、有機絶縁膜FPS、無機絶縁膜PAS及びゲート絶縁膜GIを貫通しゲート電極膜GMまで達している。ドレイン電極膜SDM上に存在するコンタクトホールCH2,CH4もテーパ形状であり、有機絶縁膜FPS、無機絶縁膜PASを貫通しドレイン電極膜SDMまで達している。導電膜SCは、有機絶縁膜FPSに形成されたコンタクトホールCH1〜CH4の内部と、有機絶縁膜FPSの上面のコンタクトホールCH1とコンタクトホールCH2との間、コンタクトホールCH2とコンタクトホールCH3との間、そしてコンタクトホールCH3とコンタクトホールCH4との間を接続する領域に形成されている。
この構造により、ゲート電極膜GMとドレイン電極膜SDMとを接続する領域としてコンタクトホールCH1とコンタクトホールCH2とを結ぶ部分、コンタクトホールCH2とコンタクトホールCH3とを結ぶ部分及びコンタクトホールCH3とコンタクトホールCH4とを結ぶ部分の3つが得られるため、その上に形成される導電膜SCのひっかき傷等による断線の恐れを軽減することができる。さらに、ドレイン電極膜SDMに接触するコンタクトホールCH2にゲート電極膜GMに接触する複数のコンタクトホールCH1,CH3を隣接させ、また、ゲート電極膜GMに接触するコンタクトホールCH3にドレイン電極膜SDMに接触する複数のコンタクトホールCH2,CH4を隣接させることで、ルート複数化に伴うコンタクトホールの数や配線の長さの増加を抑え省スペースな構成としている。ここではコンタクトホール同士が隣接する方向をある方向のみとしている。この場合、1つの直線状の傷によっては全ての部分を切断することはできないため、断線の可能性が低くなる。
図26は、第2の実施形態にかかる層間載せ換え部C1の変形例の平面図である。上下方向に延びるドレイン電極膜SDMの線は点灯試験用トランジスタTrにつながる下部縦配線である。また、該ドレイン電極膜SDMの線の下端よりも下側において左右に延びるゲート電極膜GMの線は点灯試験用信号線TELである。コンタクトホールCH3はコンタクトホールCH2の下方向に点灯試験用信号線TELを挟んで隣接している。コンタクトホールCH1はコンタクトホールCH2の左上方向に隣接している。コンタクトホールCH1は具体的にはコンタクトホールCH2の左側の縁とコンタクトホールCH3の左側の縁とを結ぶ共通接線Tに対し左側に離れて存在している。各コンタクトホールCH1〜CH3の平面的形状は円形である。コンタクトホールCH1,CH3はゲート電極膜GMと接触し、そのゲート電極膜GMは平面的にコンタクトホールCH1,CH3をそれぞれ囲む領域を持ち、その領域は点灯試験用信号線TELにつながっている。コンタクトホールCH2はドレイン電極膜SDMと接触し、そのドレイン電極膜SDMは平面的にコンタクトホールCH2を囲む領域を持ち、下部縦配線にもつながっている。
具体的にはコンタクトホールCH1を平面的に囲むゲート電極膜GMの領域はその右上の角が面取りされた長方形の領域をなし、コンタクトホールCH1を囲む領域はその下辺左側につながったゲート導電層の配線の領域によって、点灯試験用信号線TELにつながっている。コンタクトホールCH3を平面的に囲むゲート電極膜GMの領域は長方形の領域をなし、その領域の上辺は点灯試験用信号線TELにつながっている。コンタクトホールCH2を平面的に囲むドレイン電極膜SDMの領域は長方形の領域をなし、その領域はその上辺右側部分で下部縦配線とつながっている。さらにコンタクトホールCH2を囲む領域は、その上辺中央および上辺左側部分でコンタクトホールCH1を囲む領域の下辺と隣接し、その下辺で点灯試験用信号線TELと隣接し、その左辺でコンタクトホールCH1を囲む領域と点灯試験用信号線TELとを接続するゲート導電層の配線の領域に隣接している。さらに下部縦配線は、コンタクトホールCH1を囲む領域の右辺および右上の角に隣接している。下部縦配線はコンタクトホールCH1を囲む領域の右上の角に隣接する部分では屈曲しており、それ以外の部分は直線状に上下方向に延びている。
層間載せ換え部の表面には3つのコンタクトホールCH1〜CH3及びそれを接続する領域にわたって導電膜SCの領域が形成されている。具体的には、導電膜SCの領域は、平面的に上述の各コンタクトホールCH1〜CH3をそれぞれ囲む長方形の領域をつないで覆うように存在している。その周りの表面には、有機絶縁膜FPSがあらわれている。
図27は、図26のA7−A7切断線における断面図である。図27からわかるように、層間載せ換え部C1においては、基板SUB上にゲート電極膜GM、ゲート絶縁膜GI、ドレイン電極膜SDM、無機絶縁膜PAS、有機絶縁膜FPSが順次積層されている。さらに、ゲート電極膜GM上に存在するコンタクトホールCH1,CH3はテーパ形状であり、有機絶縁膜FPS、無機絶縁膜PAS及びゲート絶縁膜GIを貫通しゲート電極膜GMまで達している。ドレイン電極膜SDM上に存在するコンタクトホールCH2もテーパ形状であり、有機絶縁膜FPS、無機絶縁膜PASを貫通しドレイン電極膜SDMまで達している。導電膜SCは、有機絶縁膜FPSに形成されたコンタクトホールCH1〜CH3の内部と、有機絶縁膜FPSの上面のコンタクトホールCH2とコンタクトホールCH3との間、そして図示しないがコンタクトホールCH1とコンタクトホールCH2との間を接続する領域に形成されている。
これまで本発明の実施形態について説明してきたが、本発明は以上に説明した形態に限定されるものではない。例えば、本発明の実施形態ではIPS方式の液晶表示装置であるが、本発明はTN方式の液晶表示装置、VA方式の液晶表示装置及び有機ELパネルを用いた表示装置等にも適用が可能である。それらにおいてもドライバIC周辺などに複数の導電層に存在する配線どうしを電気的に接続するための層間載せ換え部が必要であり、その構造の前提となるアレイ基板TSの導電層及び絶縁層の積層順等が上記方式等の違いによって異なるわけではないからである。
本発明の実施形態にかかるアレイ基板のレイアウトを示す平面図である。 本発明の実施形態にかかるアレイ基板とフィルタ基板の構成を示す図である。 本発明の実施形態にかかるアレイ基板のレイアウトの部分平面図である。 図3の端子部周辺配線領域の部分平面図である。 層間載せ換え部周辺の部分平面図である。 第1の実施形態にかかる層間載せ換え部C1の平面図である。 図6のA1−A1切断線における断面図である。 図6のB1−B1切断線における断面図である。 第1の実施形態にかかる層間載せ換え部C2の平面図である。 図9のB2−B2切断線における断面図である。 第1の実施形態にかかる層間載せ換え部C3の平面図である。 図11のA3−A3切断線における断面図である。 図11のB3−B3切断線における断面図である。 本発明の実施形態にかかるアレイ基板の製造工程を示す図である。 本発明の実施形態にかかるアレイ基板の製造工程を示す図である。 本発明の実施形態にかかるアレイ基板の製造工程を示す図である。 本発明の実施形態にかかるアレイ基板の製造工程を示す図である。 第2の実施形態にかかる層間載せ換え部C1の平面図である。 図18のB4−B4切断線における断面図である。 第2の実施形態にかかる層間載せ換え部C2の平面図である。 図20のA5−A5切断線における断面図である。 第2の実施形態にかかる層間載せ換え部C3の平面図である。 図22のA6−A6切断線における断面図である。 従来の層間載せ換え部を示す平面図である。 図24のA−A切断線における断面図である。 第2の実施形態にかかる層間載せ換え部C1の変形例の平面図である。 図26のA7−A7切断線における平面図である。
符号の説明
TS アレイ基板、FS フィルタ基板、DA 画素領域、DLA ドレイン線引き回し領域、GLA ゲート線引き回し領域、TA 端子部、TLA 端子部周辺配線領域、TP 点灯試験用信号パッド、TC 接続端子、GL,GL1,GL2 ゲート接続線、TH スルーホール、TSL,TEL 点灯試験用信号線、C1,C2,C3 層間載せ換え部、Tr 点灯試験用トランジスタ、CH,CH1、CH2,CH3,CH4 コンタクトホール、SUB 基板、GM ゲート電極膜、SDM ドレイン電極膜、GI ゲート絶縁膜、PAS 無機絶縁膜、FPS 有機絶縁膜、Si 半導体膜、 SC 導電膜、T 共通接線。

Claims (7)

  1. 第1の電極膜が形成される第1の導電層と、
    前記第1の導電層上に設けられる第1の絶縁層と、
    前記第1の絶縁層上に設けられ第2の電極膜が形成される第2の導電層と、
    前記第2の導電層上に設けられる第2の絶縁層と、
    前記第2の絶縁層及び前記第1の絶縁層を貫通して前記第1の電極膜に至る1または複数の第1の孔と、
    前記第2の絶縁層を貫通して前記第2の電極膜に至る1または複数の第2の孔と、を含み、
    前記第1の孔と前記第2の孔はあわせて少なくとも3つ以上であり、前記第1の孔及び前記第2の孔の前記少なくとも3つを接続する前記第2の絶縁層上の領域に導電膜が形成される、
    ことを特徴とする表示装置。
  2. 前記少なくとも3つに含まれるとともに、前記第1の孔及び前記第2の孔のうち一方である少なくとも1つの孔のそれぞれは、前記少なくとも3つに含まれるとともに、前記第1の孔及び前記第2の孔のうち他方である少なくとも2つの孔と第1の方向または前記第1の方向に直交する第2の方向で隣接する、
    ことを特徴とする請求項1記載の表示装置。
  3. 前記少なくとも3つに含まれるとともに、前記第1の孔及び前記第2の孔のうち一方である少なくとも1つの孔のそれぞれは、前記少なくとも3つに含まれるとともに、前記第1の孔及び前記第2の孔のうち他方である少なくとも2つの孔と前記第1の方向及び前記第2の方向のそれぞれで隣接する、
    ことを特徴とする請求項2記載の表示装置。
  4. 第1の基板と、
    前記第1の基板の端部であって一辺に沿って延びる領域を露呈させ残りの領域を覆うように設けられる第2の基板と、をさらに含み、
    前記延伸する領域には前記第1の孔及び前記第2の孔が存在し、
    前記第1の方向は前記延伸する領域の長手方向であり、
    前記第2の方向は前記延伸する領域の短手方向である、
    ことを特徴とする請求項2記載の表示装置。
  5. 前記第2の絶縁層は、材料の異なる複数の膜から形成される、
    ことを特徴とする請求項1に記載の表示装置。
  6. 前記第2の絶縁層は、有機絶縁膜を含む、
    ことを特徴とする請求項5に記載の表示装置。
  7. 第1の電極膜が形成される第1の導電層と、
    前記第1の導電層上に設けられる第1の絶縁層と、
    前記第1の絶縁層上に設けられ第2の電極膜が形成される第2の導電層と、
    前記第2の導電層上に設けられる第2の絶縁層と、
    前記第2の絶縁層及び前記第1の絶縁層を貫通して前記第1の電極膜に至る1または複数の第1の孔と、
    前記第2の絶縁層を貫通して前記第2の電極膜に至る1または複数の第2の孔と、を含み、
    前記第1の孔の面積の合計は前記第2の孔の面積の合計と異なり、前記第1の孔及び前記第2の孔の内部領域ならびに前記第1の孔及び前記第2の孔の全てを接続する前記第2の絶縁層上の領域に導電膜が形成される、
    ことを特徴とする表示装置。
JP2008182089A 2008-07-11 2008-07-11 表示装置 Active JP5339273B2 (ja)

Priority Applications (1)

Application Number Priority Date Filing Date Title
JP2008182089A JP5339273B2 (ja) 2008-07-11 2008-07-11 表示装置

Applications Claiming Priority (1)

Application Number Priority Date Filing Date Title
JP2008182089A JP5339273B2 (ja) 2008-07-11 2008-07-11 表示装置

Publications (2)

Publication Number Publication Date
JP2010020190A true JP2010020190A (ja) 2010-01-28
JP5339273B2 JP5339273B2 (ja) 2013-11-13

Family

ID=41705134

Family Applications (1)

Application Number Title Priority Date Filing Date
JP2008182089A Active JP5339273B2 (ja) 2008-07-11 2008-07-11 表示装置

Country Status (1)

Country Link
JP (1) JP5339273B2 (ja)

Cited By (1)

* Cited by examiner, † Cited by third party
Publication number Priority date Publication date Assignee Title
US9099359B2 (en) 2011-08-03 2015-08-04 Japan Display Inc. Display device and method for manufacturing display device

Citations (5)

* Cited by examiner, † Cited by third party
Publication number Priority date Publication date Assignee Title
JPH11237641A (ja) * 1997-12-05 1999-08-31 Samsung Electronics Co Ltd 液晶表示装置及びその製造方法並びに不良検査方法
JP2004294807A (ja) * 2003-03-27 2004-10-21 Advanced Display Inc 液晶表示装置及びその製造方法
JP2004310024A (ja) * 2002-11-19 2004-11-04 Samsung Electronics Co Ltd 液晶表示装置及びその検査方法
JP2007027387A (ja) * 2005-07-15 2007-02-01 Toshiba Matsushita Display Technology Co Ltd 表示装置
JP2008064961A (ja) * 2006-09-06 2008-03-21 Mitsubishi Electric Corp 配線構造、及び表示装置

Patent Citations (5)

* Cited by examiner, † Cited by third party
Publication number Priority date Publication date Assignee Title
JPH11237641A (ja) * 1997-12-05 1999-08-31 Samsung Electronics Co Ltd 液晶表示装置及びその製造方法並びに不良検査方法
JP2004310024A (ja) * 2002-11-19 2004-11-04 Samsung Electronics Co Ltd 液晶表示装置及びその検査方法
JP2004294807A (ja) * 2003-03-27 2004-10-21 Advanced Display Inc 液晶表示装置及びその製造方法
JP2007027387A (ja) * 2005-07-15 2007-02-01 Toshiba Matsushita Display Technology Co Ltd 表示装置
JP2008064961A (ja) * 2006-09-06 2008-03-21 Mitsubishi Electric Corp 配線構造、及び表示装置

Cited By (1)

* Cited by examiner, † Cited by third party
Publication number Priority date Publication date Assignee Title
US9099359B2 (en) 2011-08-03 2015-08-04 Japan Display Inc. Display device and method for manufacturing display device

Also Published As

Publication number Publication date
JP5339273B2 (ja) 2013-11-13

Similar Documents

Publication Publication Date Title
US20230333422A1 (en) Display device
JP5392670B2 (ja) 液晶表示装置及びその製造方法
KR101484022B1 (ko) 액정표시장치용 어레이 기판 및 이의 제조 방법
CN102967977B (zh) 像素阵列基板
US20120218486A1 (en) Display substrate, method of manufacturing the same and display panel having the display substrate
JP6497876B2 (ja) 液晶表示パネル、及びその製造方法
CN102473368A (zh) 有源矩阵基板和有源矩阵型显示装置
CN102088025A (zh) 薄膜晶体管基板及其制造方法
WO2009081633A1 (ja) アクティブマトリクス基板、これを備えた液晶表示装置、及びアクティブマトリクス基板の製造方法
WO2017213180A1 (ja) 表示装置及びその製造方法
KR20130020068A (ko) 표시장치 및 그 제조방법
US9626014B2 (en) Touch display panel and manufacturing method thereof
CN102540600B (zh) 液晶显示装置及其制造方法
WO2018003795A1 (ja) 表示装置
KR20090049542A (ko) 박막트랜지스터 어레이 기판의 제조 방법 및 표시장치
JP2011017821A (ja) 液晶表示パネル及びその製造方法
JP2009151285A (ja) 液晶表示装置及びその製造方法
JP2007192968A (ja) 液晶表示装置
JP5339273B2 (ja) 表示装置
JP2009282473A (ja) 表示装置
KR20060068442A (ko) 표시장치용 박막트랜지스터 기판과 그 제조방법
JP6621673B2 (ja) 液晶表示装置及びその製造方法
JP2007093859A (ja) 液晶装置および電子機器
JP5500537B2 (ja) 液晶表示装置及びその製造方法
KR20130018056A (ko) 액정표시장치

Legal Events

Date Code Title Description
A711 Notification of change in applicant

Free format text: JAPANESE INTERMEDIATE CODE: A712

Effective date: 20110112

A621 Written request for application examination

Free format text: JAPANESE INTERMEDIATE CODE: A621

Effective date: 20110428

A977 Report on retrieval

Free format text: JAPANESE INTERMEDIATE CODE: A971007

Effective date: 20120919

A131 Notification of reasons for refusal

Free format text: JAPANESE INTERMEDIATE CODE: A131

Effective date: 20120925

A521 Request for written amendment filed

Free format text: JAPANESE INTERMEDIATE CODE: A523

Effective date: 20121126

A131 Notification of reasons for refusal

Free format text: JAPANESE INTERMEDIATE CODE: A131

Effective date: 20130319

A521 Request for written amendment filed

Free format text: JAPANESE INTERMEDIATE CODE: A523

Effective date: 20130520

TRDD Decision of grant or rejection written
A01 Written decision to grant a patent or to grant a registration (utility model)

Free format text: JAPANESE INTERMEDIATE CODE: A01

Effective date: 20130709

A61 First payment of annual fees (during grant procedure)

Free format text: JAPANESE INTERMEDIATE CODE: A61

Effective date: 20130730

R150 Certificate of patent or registration of utility model

Ref document number: 5339273

Country of ref document: JP

Free format text: JAPANESE INTERMEDIATE CODE: R150

R250 Receipt of annual fees

Free format text: JAPANESE INTERMEDIATE CODE: R250

R250 Receipt of annual fees

Free format text: JAPANESE INTERMEDIATE CODE: R250

R250 Receipt of annual fees

Free format text: JAPANESE INTERMEDIATE CODE: R250

R250 Receipt of annual fees

Free format text: JAPANESE INTERMEDIATE CODE: R250

R250 Receipt of annual fees

Free format text: JAPANESE INTERMEDIATE CODE: R250

R250 Receipt of annual fees

Free format text: JAPANESE INTERMEDIATE CODE: R250

R250 Receipt of annual fees

Free format text: JAPANESE INTERMEDIATE CODE: R250

R250 Receipt of annual fees

Free format text: JAPANESE INTERMEDIATE CODE: R250

S111 Request for change of ownership or part of ownership

Free format text: JAPANESE INTERMEDIATE CODE: R313117

R350 Written notification of registration of transfer

Free format text: JAPANESE INTERMEDIATE CODE: R350

R250 Receipt of annual fees

Free format text: JAPANESE INTERMEDIATE CODE: R250

S111 Request for change of ownership or part of ownership

Free format text: JAPANESE INTERMEDIATE CODE: R313117

R250 Receipt of annual fees

Free format text: JAPANESE INTERMEDIATE CODE: R250

R350 Written notification of registration of transfer

Free format text: JAPANESE INTERMEDIATE CODE: R350