JP2010019765A - 検出方法、検出用試料セルおよび検出用キット - Google Patents

検出方法、検出用試料セルおよび検出用キット Download PDF

Info

Publication number
JP2010019765A
JP2010019765A JP2008182209A JP2008182209A JP2010019765A JP 2010019765 A JP2010019765 A JP 2010019765A JP 2008182209 A JP2008182209 A JP 2008182209A JP 2008182209 A JP2008182209 A JP 2008182209A JP 2010019765 A JP2010019765 A JP 2010019765A
Authority
JP
Japan
Prior art keywords
substance
fluorescence
detection
fluorescent
fluorescent label
Prior art date
Legal status (The legal status is an assumption and is not a legal conclusion. Google has not performed a legal analysis and makes no representation as to the accuracy of the status listed.)
Granted
Application number
JP2008182209A
Other languages
English (en)
Other versions
JP5450993B2 (ja
Inventor
Takashi Otsuka
尚 大塚
Current Assignee (The listed assignees may be inaccurate. Google has not performed a legal analysis and makes no representation or warranty as to the accuracy of the list.)
Fujifilm Corp
Original Assignee
Fujifilm Corp
Priority date (The priority date is an assumption and is not a legal conclusion. Google has not performed a legal analysis and makes no representation as to the accuracy of the date listed.)
Filing date
Publication date
Application filed by Fujifilm Corp filed Critical Fujifilm Corp
Priority to JP2008182209A priority Critical patent/JP5450993B2/ja
Publication of JP2010019765A publication Critical patent/JP2010019765A/ja
Application granted granted Critical
Publication of JP5450993B2 publication Critical patent/JP5450993B2/ja
Active legal-status Critical Current
Anticipated expiration legal-status Critical

Links

Images

Landscapes

  • Investigating, Analyzing Materials By Fluorescence Or Luminescence (AREA)

Abstract

【課題】被検出物質の量を検出する検出方法において、一分子レベルでの高感度検出を可能とする。
【解決手段】金属層12を含むセンサ部14に試料Sを供給し、励起光Loを照射することにより、センサ部14上に増強した光電場Dを発生せしめ、蛍光標識を励起し、この励起に起因して生じる光の量に基づいて、被検出物質Aの量を検出する検出方法において、蛍光標識として、複数の蛍光色素分子fと1以上の蛍光増強微粒子Mを、複数の蛍光色素分子fから生じる蛍光を透過する透光材料16により包含してなる蛍光物質Fを用いる。そして、この蛍光増強微粒子Mと、上記光電場D、金属層12、または近傍にある他の蛍光増強微粒子Mとの相互作用等により、蛍光標識から生じる蛍光Lfを増強する
【選択図】図1

Description

本発明は、試料中の被検出物質を検出する検出方法、検出用試料セルおよび検出用キットに関するものである。
バイオ測定等において、蛍光法は高感度かつ容易な測定法として広く用いられている。蛍光法とは、特定波長の光に励起されて蛍光を発する被検出物質を含むと考えられる試料に、上記特定波長の励起光を照射し、このとき発せられる蛍光を検出することによって定性的または定量的に被検出物質の存在を確認する方法である。また、被検出物質自身が蛍光材料ではない場合、この被検出物質を有機蛍光色素等の蛍光標識で標識し、その後同様にして蛍光を検出することにより、その標識の存在をもって被検出物質の存在を確認する方法である。
上記蛍光法において、試料を流しながら特定の被検出物質のみを効率よく検出できる等の理由から、以下に示す2つの方法により被検出物質をセンサ部表面に固定し、その後蛍光検出を行う手法が一般的である。このような手法の1つは、例えば被検出物質が抗原である場合に、センサ部表面に固定された1次抗体に、抗原を特異的に結合させ、次いで、蛍光標識が付与された、抗原と特異的に結合する2次抗体を、さらに上記抗原に結合させることにより、1次抗体―抗原―2次抗体という結合状態を形成し、2次抗体に付与されている蛍光標識からの蛍光を検出する、所謂サンドイッチ法である。また、もう1つは、例えば被検出物質が抗原である場合に、センサ部表面に固定された1次抗体に、抗原と蛍光標識が付与された2次抗体(前述の2次抗体と異なり、1次抗体と特異的に結合する)とを、競合的に1次抗体と結合させ、競合的に結合した2次抗体に付与されている蛍光標識からの蛍光を検出する、所謂競合法である。
また、蛍光検出においてS/N比を向上できる等の理由から、上記のような方法によって間接的にセンサ部に固定された蛍光標識を、エバネッセント光により励起するエバネッセント蛍光法が提案されている。エバネッセント蛍光法は、励起光をセンサ部裏面から入射し、センサ部表面に染み出すエバネッセント光により蛍光標識を励起して、その蛍光標識から生じる蛍光を検出するものである。
一方、エバネッセント蛍光法において、感度を向上させるため、プラズモン共鳴による電場増強の効果を利用する方法が、特許文献1、非特許文献1などに提案されている。この表面プラズモン増強蛍光法は、プラズモン共鳴を生じさせるため、センサ部に金属層を設け、この金属層に表面プラズモンを生じさせ、その電場増強作用によって、蛍光信号を増大させてS/N比を向上させるものである。
また、エバネッセント蛍光法において、表面プラズモン増強蛍光法と同様に、センサ部の電場を増強する効果を有する方法として、光導波モードによる電場増強効果を利用する方法が非特許文献2に提案されている。この光導波モード増強蛍光分光法(OWF:Optical waveguide mode enhanced fluorescence spectroscopy)は、センサ部に金属層と、誘電体などからなる光導波層とを順次形成し、この光導波層に光導波モードを生じさせ、その電場増強効果によって、蛍光信号を増強させるものである。
また、特許文献2および非特許文献3には、上記に示した蛍光法のように蛍光標識からの蛍光を検出するのではなく、その蛍光が金属層に新たに表面プラズモンを誘起することによって生じる放射光(SPCE: Surface Plasmon-Coupled Emission)を検出する方法が提案されている。
以上のように、バイオ測定等においては、被検出物質を検出するための方法として、励起光の照射により、プラズモン共鳴や光導波モードを生じさせ、これらによって増強された電場で蛍光標識を励起させ、この蛍光標識の励起に起因して生じる光を検出する種々の方法が提案されている。
しかしながら、上記のような方法では分子の個数に換算すると未だ10個レベルであり、一分子の検出には程遠いのが現状である。
そこで、非特許文献4に示されているように、一分子レベルでの検出が可能である金属プローブを用いたラマン分光法が注目されている。これは、金属プローブ先端に光を入射して、この先端に局在プラズモンを生じさせ、これにより基板とプローブの間に生じる局所的な電場増強場を利用するものである。これにより、プローブ直下にある分子によるラマン過程の散乱断面積を実効的に増大し、理論的には入射光強度の数10倍から10倍の増強度が得られると考えられている(非特許文献4 pp.277 2.2.1節)。
特開平10−307141号公報 米国特許出願公開第2005/0053974号明細書 W.Knoll他、Analytical Chemistry 77(2005), p.2426-2431 2007年春季 応用物理学会 予稿集 No.3,P.1378 Thorsten Liebermann Wolfgang Knoll, "Surface-plasmon field-enhanced fluorescence spectroscopy" Colloids and Surfaces A 171(2000)115-130 井上康志、河田聡,分光研究,第51巻,第6号,p.276−285(2002)
しかしながら、ラマン信号は、溶媒などの被検出物質が置かれている状態及び環境に大きく左右され、また夾雑物の振動もスペクトルに現れるため、定性分析としては有用であるが定量性は期待できない。また、金属プローブによる局所的な強電場の幅はせいぜい数十nm程度であって測定できる領域が小さいため、金属プローブの走査が必要となり測定が面倒である。さらには、一般的にラマン分光装置は、大型かつ高価であり操作性も良くない。
本発明は上記問題に鑑みてなされたものであり、ラマン分光法より容易かつ低コストの検出方法によって、一分子レベルでの高感度検出を可能とし、かつ広い検出範囲を有する検出方法を提供することを目的とするものである。
さらに、本発明は上記検出方法に用いられる検出用試料セルおよび検出用キットを提供することを目的とする。
上記課題を解決するため、本発明による検出方法は、誘電体プレートの一面に、この誘電体プレートに隣接する金属層を含む積層構造からなるセンサ部を備えるセンサチップを用い、
センサ部に試料を接触させることにより、試料に含有される被検出物質の量に応じた量の蛍光標識結合物質を、センサ部上に結合させ、
センサ部に励起光を照射することにより、センサ部上に増強した光電場を発生せしめ、
増強した光電場により、蛍光標識結合物質の蛍光標識を励起し、この励起に起因して生じる光の量に基づいて、被検出物質の量を検出する検出方法において、
蛍光標識として、複数の蛍光色素分子および1以上の蛍光増強微粒子を、複数の蛍光色素分子から生じる蛍光を透過する透光材料により包含してなる蛍光物質を用いることを特徴とするものである。
ここで、「金属層を含む積層構造」とは、金属層を含み少なくとも1以上の層からなる構造を意味するものとする。つまり、上記積層構造は、金属層のみでもよい。なお、ここで言う「層」とは、必ずしも一面を覆うものである必要はなく、例えば、微小開孔を有するものや粗密のあるものであってもよい。
「蛍光標識結合物質」は、被検出物質の量に応じた量だけセンサ部上に結合する蛍光標識された結合物質を意味するものとする。例えば、サンドイッチ法によるアッセイを行う場合には、被検出物質と特異的に結合する結合物質と蛍光標識とから構成され、競合法によるアッセイを行う場合には、被検出物質と競合する結合物質と蛍光標識とから構成される。
蛍光標識の「励起に起因して生じる光」とは、蛍光標識が励起することにより直接的または間接的に生じる光であって、その光の発生量と励起した蛍光標識の数量との間に相関性を有するものを意味するものとする。
「被検出物質の量を検出する」とは、被検出物質の存在の有無の検出を含み、定性的な量のみならず、定量的な量を検出することも意味するものとする。
「光電場」とは、励起光の照射により生じるエバネッセント光もしくは近接場光に起因する電場を意味するものとする。
「増強した光電場を生じさせる」とは、光電場を増強させることによって、増強した光電場を形成することを意味するものとする。なお、光電場を増強させる方法は、プラズモン共鳴の励起による増強であってもよいし、光導波モードの励起による増強であってもよい。
蛍光物質の透光材料により包含される蛍光色素分子の数は、1個でもよいが、複数であることがより好ましい。なお、蛍光物質が複数の蛍光色素分子を備えるものである場合には、少なくとも1つの蛍光色素分子が透光材料により包まれていればよく、他の蛍光色素分子の一部が透光材料の外部に露出していてもよい。
「蛍光増強微粒子」とは、この蛍光増強微粒子と、上記光電場、金属層、または近傍にある他の蛍光増強微粒子との相互作用等により、蛍光標識から生じる蛍光を増強するものを意味するものとする。
さらに、本発明による検出方法において、蛍光増強微粒子は、散乱性微粒子であることが好ましい。
また、蛍光増強微粒子は、金属微粒子であることが好ましく、金属ナノロッドであることがより好ましい。
そして、蛍光増強微粒子の粒径は、10〜200nmであることが好ましい。
ここで、金属微粒子の「粒径」とは、微粒子の最大径を意味するものとする。
「ナノロッド」とは、形状がロッド状(棒状)のナノ微粒子であって、縦軸と横軸との長さの比(アスペクト比)が概ね1〜20であるものを意味するものとする。
さらに、「蛍光標識結合物質の蛍光標識を励起し、この励起に起因して生じる光の量に基づいて、被検出物質の量を検出する」方法としては、蛍光標識からの蛍光を検出するものであってもよいし、その蛍光が金属層に新たに表面プラズモンを誘起することによって生じる放射光を検出するものであってもよい。具体的には、以下の方法(1)〜(4)が挙げられる。
(1)励起光の照射により金属層にプラズモンを励起し、プラズモンによって増強した光電場を発生せしめ、蛍光標識の励起に起因して生じる光として、この励起によって蛍光標識から生じる蛍光を検出する方法。
(2)励起光の照射により金属層にプラズモンを励起し、プラズモンによって増強した光電場を発生せしめ、蛍光標識の励起に起因して生じる光として、この励起によって蛍光標識から生じる蛍光が金属層に新たにプラズモンを誘起することにより、誘電体プレートに対し上記一面と対向する他面側へ放射される、新たに誘起されたプラズモンからの放射光を検出する方法。
(3)センサチップとして、積層構造が光導波層を備えるものを用い、励起光の照射により光導波層に光導波モードを励起し、光導波モードによって増強した光電場を発生せしめ、蛍光標識の励起に起因して生じる光として、この励起によって蛍光標識から生じる蛍光を検出する方法。
(4)センサチップとして、積層構造が光導波層を備えるものを用い、励起光の照射により光導波層に光導波モードを励起し、光導波モードによって増強した光電場を発生せしめ、蛍光標識の励起に起因して生じる光として、この励起によって蛍光標識から生じる蛍光が金属層に新たにプラズモンを誘起することにより、誘電体プレートに対し上記一面と対向する他面側へ放射される、新たに誘起されたプラズモンからの放射光を検出する方法。
なお、(1)および(2)において、プラズモンの励起は、金属層を金属膜とし、金属膜と基板との界面に基板裏面から全反射角度以上の角度で励起光を入射し、金属膜表面に表面プラズモンを励起するものであってもよい。一方、プラズモンの励起は、金属層を、励起光の波長よりも小さい周期の凹凸を表面に有する金属微細構造体、あるいは励起光の波長よりも小さいサイズの複数の金属ナノロッドにより構成し、励起光の照射により金属微細構造体あるいは金属ナノロッドに局在プラズモンを励起するものであってもよい。
さらに、本発明による検出用試料セルは、上記に記載の検出方法においてセンサチップとして使用される検出用試料セルであって、
液体試料が流下される流路を有する基台と、
流路の上流側に設けられた流路に液体試料を注入するための注入口と、
流路の下流側に設けられた、注入口から注入された液体試料を下流側に流すための空気孔と、
注入口と空気孔との間の流路に設けられたセンサチップ部であって、流路の内壁面の一部として設けられた誘電体プレート、および誘電体プレートの試料接触面の所定領域に設けられたセンサ部を備えるセンサチップ部とを備え、
センサ部が、誘電体プレートに隣接する金属層を含む積層構造からなることを特徴とするものである。
そして、本発明による検出用試料セルにおいて、蛍光標識結合物質をセンサ部上に固定するための第1の結合物質であって、センサ部上に固定されているものを備えることが好ましい。
また、被検出物質と特異的に結合する第2の結合物質、および被検出物質と競合して第1の結合物質と特異的に結合する第3の結合物質のうちいずれか一方の結合物質と、この一方の結合物質が修飾された蛍光物質とからなる蛍光標識結合物質であって、センサ部より上流側の流路内に配置されている蛍光標識結合物質を備えることが好ましい。
なお、本発明による検出用試料セルは、上記の蛍光標識結合物質が、第2の結合物質と蛍光標識とからなる場合にはサンドイッチ法によるアッセイを行うのに好適なものとなり、第3の結合物質と蛍光標識とからなる場合には競合法によるアッセイを行うのに好適なものとなる。
そして、積層構造は、光導波層を備えることが好ましい。
さらに、本発明による検出用キットは、上記に記載の検出方法において使用される検出用キットであって、
液体試料が流下される流路を有する基台と、流路の上流側に設けられた流路に液体試料を注入するための注入口と、流路の下流側に設けられた、注入口から注入された液体試料を下流側に流すための空気孔と、注入口と空気孔との間の流路に設けられたセンサチップ部であって、流路の内壁面の一部として設けられた誘電体プレート、および誘電体プレートの試料接触面の所定領域に設けられたセンサ部を備えるセンサチップ部と、蛍光標識結合物質をセンサ部上に固定するための、センサ部上に固定された第1の結合物質とを備え、センサ部が、誘電体プレートに隣接する金属層を含む積層構造からなる、センサチップとして使用される検出用試料セル、および
液体試料と同時もしくは液体試料の流下後に流路内に流下される標識用溶液であって、被検出物質と特異的に結合する第2の結合物質、および被検出物質と競合して第1の結合物質と特異的に結合する第3の結合物質のうちのいずれか一方の結合物質と、この一方の結合物質が修飾された蛍光物質とからなる蛍光標識結合物質を含む標識用溶液を備えてなることを特徴とするものである。
なお、本発明による検出用キットは、標識用溶液に含まれる蛍光標識結合物質が、第2の結合物質と蛍光標識とからなるものを備えている場合にはサンドイッチ法によるアッセイを行うのに好適なものとなり、第3の結合物質と蛍光標識とからなるものを備えている場合には競合法によるアッセイを行うのに好適なものとなる。
そして、本発明による検出用キットにおいて、積層構造は、金属層上に光導波層を備えることが好ましい。
ここで、検出用試料セルおよび検出用キットにおいて、「蛍光物質」は、上記と同様に、複数の蛍光色素分子および1以上の蛍光増強微粒子を、複数の蛍光色素分子から生じる蛍光を透過する透光材料により包含してなるものである。
本発明による蛍光検出方法では、蛍光増強微粒子が、蛍光標識である蛍光物質中の蛍光色素分子の近傍に存在する状態で検出を行っている。したがって、この蛍光増強微粒子と、上記光電場、金属層、または近傍にある他の蛍光増強微粒子との相互作用等により、蛍光標識から生じる蛍光を増強することができる。そして、蛍光標識の励起に起因して生じる光を上記蛍光の増強によって、直接的に或は間接的に増強することができる。この結果、S/Nのよい安定した信号を検出することができ、被検出物質の有無および/または量を精度よく検出することが可能となる。
以下、本発明の実施形態について図面を用いて説明するが、本発明はこれに限られるものではない。
「検出方法および検出装置」
<第1の実施形態>
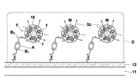
本発明の検出方法は、例えば図1に示すように、誘電体プレート11の一面に金属層12を含むセンサ部14を有してなるセンサチップ10を用い、センサ部14に試料を接触させることにより、該試料に含有される被検出物質Aの量に応じた量の蛍光標識結合物質BFを、該センサ部14上に結合させ、センサ部14に励起光Loを照射し、励起光Loの照射によりセンサ部14上の光電場を増強させ、該増強された光電場D内における、蛍光標識結合物質BFの蛍光標識の励起に起因して生じる光の量に基づいて、被検出物質Aの量を検出する検出方法であって、蛍光標識として、複数の蛍光色素分子fおよび1以上の蛍光増強微粒子Mを、複数の蛍光色素分子fから生じる蛍光を透過する透光材料16により包含してなる蛍光物質Fを用いることを特徴とするものである。
また、本発明の検出装置1は、上記検出方法を実施するためのものであって、センサチップ10を収容する収容部19と、センサ部14に励起光Loを照射する励起光照射光学系20と、励起光Loの照射により生じる、被検出物質Aに応じた量の光を検出する光検出手段30とを備えている。
本発明は、励起光Loの照射によりセンサ部14上に増強した光電場Dを生じさせ、その増強した光電場Dにおいて蛍光標識が励起されることによって生じる光を検出するものである。しかしながら、光電場Dを増強させる方法は、表面プラズモン共鳴あるいは局在プラズモン共鳴によるものであってもよいし、光導波モードの励起によるもの(第4の実施形態参照)であってもよい。また、蛍光標識から生じる蛍光Lfを検出してもよいし、その蛍光Lfが金属層12に新たに表面プラズモンを誘起することによって生じる放射光Lpを検出してもよい(第3の実施形態参照)。具体的な態様については、以下の各実施形態で説明する。なお、本実施形態の検出方法および装置は、表面プラズモン共鳴により光電場Dを増強させ、増強された光電場Dにおいて励起された蛍光Lfを検出する蛍光検出方法および装置である。
本検出方法では、誘電体プレート11およびその一面の所定領域に金属層12が設けられてなるセンサ部14を備えたセンサチップ10を用いる。
センサチップ10は、ガラス板などの誘電体プレート11の一表面の所定領域に金属層12として金属膜が成膜されたものである。誘電体プレート11は、例えば透明樹脂やガラス等の透明材料から形成されたものである。誘電体プレート11は樹脂から形成されたものが好ましく、この場合は、ポリメチルメタクリレート(PMMA)、ポリカーボネート(PC)、シクロオレフィンを含む非晶性ポリオレフィン(APO)等の樹脂を用いることがより好ましい。金属膜12は、所定領域に開口を有するマスクを誘電体プレート11の一表面に形成し、既知の蒸着法で成膜形成することができる。金属膜12の厚みは、金属膜12の材料と、励起光Loの波長により表面プラズモンが強く励起されるように適宜定めることが好ましい。例えば、励起光Loとして780nmに中心波長を有するレーザ光を用い、金属膜12として金(Au)膜を用いる場合、金属膜12の厚みは50nm±20nmが好適である。さらに好ましくは、47nm±10nmである。なお、金属膜12は、Au、Ag、Cu、Al、Pt、Ni、Ti、およびこれらの合金からなる群より選択される少なくとも1種の金属を主成分とするものが好ましい。なお、「主成分」とは、含量90質量%以上の成分と定義する。
蛍光標識結合物質BFは、被検出物質Aの量に応じた量だけセンサ部14上に結合する蛍光標識された結合物質である。そして、蛍光標識結合物質BFは、図1で示すように、サンドイッチ法によるアッセイを行う場合には、被検出物質Aと特異的に結合する第1の結合物質B2と蛍光標識とから構成されるものであり、後記する競合法によるアッセイを行う場合には、被検出物質Aと競合する第3の結合物質と蛍光標識とから構成されるものである。より具体的には、センサチップ10として、センサ部14に被検出物質Aと特異的に結合する第1の結合物質B1が固定されてなるものを用いた場合、サンドイッチ法では、被検出物質Aと特異的に結合する第2の結合物質B2と、この結合物質が修飾された蛍光標識とからなる蛍光標識結合物質BFが用いられる。一方、同様の場合において競合法では、被検出物質と競合して第1の結合物質と特異的に結合する第3の結合物質と、この結合物質が修飾された蛍光標識とからなる蛍光標識結合物質が用いられる。被検出物質Aが抗原である場合、第1の結合物質として所謂1次抗体を用いることができる。
蛍光物質Fは、図1の一部に拡大して示すように、複数の蛍光色素分子fおよび1以上の蛍光増強微粒子Mを、該複数の蛍光色素分子fから生じる蛍光を透過する透光材料16により包含してなるものである。蛍光物質Fは、以下のようにして作製することができる。
まず、上記の蛍光増強微粒子Mを内包する透光材料16を形成する方法について2つの例を説明する。第1の方法は、透光材料16をSiO2被膜から形成するものであり、大きく分けて次の(1)〜(3)の工程からなる。
(1)金微粒子となる金コロイドの合成
(2)金コロイド表面分散剤の置換(クエン酸→シロキサン)
5×=10−4molの金コロイド水溶液500ml(ミリ・リットル)に、APS((3-Aminopropyl)trimethoxysilane)水溶液(2.5ml、1mmol)を添加し、15分間強攪拌することにより、金コロイド表面のクエン酸を置換する。
(3)金コロイド表面のSiO2修飾
pH10〜11に調整したsodium silicate 0.54重量%水溶液20mlを工程(2)の金コロイド水溶液に添加し、強攪拌する。24時間経過すると、厚さが約4nmのSiO2被膜が形成される。この溶液を遠心分離により30mlまで濃縮した溶液に、170mlのエタノールを添加する。さらに0.6mlのNH4OH(28%)を滴下し、80μl(マイクロ・リットル)のTES(テトラエトキシシラン)を添加し、24時間ゆっくり攪拌すると、厚さ20nmのSiO2被膜からなる透光材料16が形成される。
次に第2の方法として、透光材料16をポリマー被覆から形成する場合について説明する。この方法は、大きく分けて次の(1)〜(2)の工程からなる。
(1)金微粒子となる金ナノ粒子のDMFへの再分散
平均粒径が約30nmのクエン酸安定化金ナノ粒子を最大約360pmol(=7×10−11重量%)含む水分散液を1ml用意し、これを遠心分離にかけた後、上澄み0.95mlを捨てる。残った暗赤色、粘稠性の沈殿物を1mlのDMF(N,N-dimethylformamide)に再分散させる。なお、過剰のクエン酸イオンは粒子のカプセル化を阻害する。また、小粒径の粒子を用いる場合は、DMFを加える前に水で洗浄した方が良い。
(2)金ナノ粒子のカプセル化
上記(1)の工程で得られた、平均粒径が約30nmのクエン酸安定化金ナノ粒子を約648pmol(=7×10−11重量%)含むDMF分散液1mlに、ポリスチレン-ポリアクリル酸ブロック共重合体(ポリスチレンが約100量体、ポリアクリル酸が約13量体)のDMF溶液(約10−2g/ml) 10μlを加え、シリンジポンプにより8.3μl/minの流量で水200μlを加えて激しく撹拌する。10分撹拌すると溶液の色が徐々に紫色に変化するので、そこで1重量%のドデカンチオールDMF溶液5μlを加え、24時間撹拌する。その後、さらにシリンジポンプにより、2ml/hの流量で水3mlを加える。
次に透析により24時間かけてDMFを除去する。次いで撹拌しながら72μlのEDC溶液(水に対して0.1重量%:24nmol)を一気に添加し、30分撹拌したところで144μlのEDODEA溶液(水に対して0.1重量%:96nmol)を一気に添加し、撹拌する。
その後、透析により24時間かけて試薬を除去し、次いで4000Gで30分間遠心分離を行い、体積で80%に相当する上澄みを捨てる。次に捨てた上澄みと同体積の水を加えて同様に遠心分離を行う。この遠心分離から遠心分離までの操作を3回以上繰り返すことにより、ポリスチレン-ポリアクリル酸ブロック共重合体の架橋物からなる被膜が金ナノ粒子(金微粒子)の周りに透光材料16として形成される。
そして、上記の工程で作成した蛍光増強微粒子Mを包含する蛍光物質Fに蛍光色素分子fを含浸させる。この工程は以下の通りである。上記の工程で作成した蛍光増強微粒子Mを包含する蛍光物質Fを調整して0.1%Solid in phosphate(ポリスチレン溶液:pH7.0)を作製する。
次に、蛍光色素分子(林原生物化学研究所、NK−2014、励起波長:780nm)0.3mgの酢酸エチル溶液(1mL)を作製する。
上記ポリスチレン溶液と蛍光色素溶液を混合し、エバポレートしながら含浸を行った後、遠心分離(15000rpm、4℃、20分を2回)を行い、上清を除去する。
以上の工程により、蛍光色素分子fおよび1以上の蛍光増強微粒子Mを、蛍光色素分子fから生じる蛍光を透過する機能を有するポリスチレンにより内包してなる蛍光物質Fを得ることができる。このような手順で、ポリスチレン粒子に蛍光色素分子fを含浸させて作製された蛍光物質Fの粒径はポリスチレン粒子の粒径と同一(上記例ではφ150nm)となる。
蛍光物質Fは、複数の蛍光色素分子fを内包するものであるため、従来の蛍光色素分子f単体を蛍光標識として用いる場合と比較すると、発光する蛍光量を大幅に増加することができる。また、蛍光物質Fは、拡散時間の点から粒径が5300nm以下のものが好ましい。また、蛍光量およびセンサ部上への最密充填密度の観点および、表面プラズモンの擾乱の観点から100nm〜700nmのものがさらに好ましく、130nm〜500nmのものが特に好ましい。透光材料16としては、具体的には、ポリスチレンやSiO2などが挙げられるが、蛍光色素分子fを内包でき、かつ、蛍光色素分子fからの蛍光Lfを透過させて外部に放出できるものであれば特に制限されない。
蛍光増強微粒子Mは、上記光電場、金属層、または近傍にある他の蛍光増強微粒子との相互作用等により、蛍光Lfを増強するものである。蛍光増強微粒子Mは、特に限定されるものではないが、散乱性材料からなる散乱性微粒子であることが好ましい。散乱性微粒子としては、例えば、量子ドット等の無機微粒子や散乱性ポリマー等からなる有機微粒子が挙げられる。さらに、蛍光増強微粒子Mは、金属微粒子であることが好ましく、金属ナノロッドであることがより好ましい。金属ナノロッドの場合には、複数の微粒子を充填するときに、充填率を上げることができるためである。金属微粒子の粒径は、局在プラズモンを効果的に誘起することから、励起光Liの波長より小さいことが好ましく、40〜200nmが特に好ましい。なお、ここで言う粒径とは微粒子の最大径を意味する。
なお、本実施形態においては、センサチップ10上に液体試料Sを保持する試料保持部13が備えられ、センサチップ10と試料保持部13により液体試料Sを保持可能な箱状セルが構成されている。なお、センサチップ10上に表面張力で留まる程度の微量な液体試料を測定する場合には、試料保持部13を備えない態様であってもよい。
励起光照射光学系20は、励起光Loを出力する半導体レーザ(LD)等からなる光源21と、誘電体プレート11に一面が接触するように配置されたプリズム22とを備えている。プリズム22は、誘電体プレート11と金属膜12との界面で励起光Loが全反射するように誘電体プレート11内に励起光Loを導光するものである。なお、プリズム22と誘電体プレート11とは、屈折率マッチングオイルを介して接触されている。光源21は、プリズム22の他の一面からセンサチップ10の試料接触面で励起光Loが全反射角以上で、かつ金属膜12で表面プラズモン共鳴する特定の角度で入射するように配置されている。さらに、光源21とプリズム22との間に必要に応じて導光部材を配置してもよい。なお、励起光Loは、表面プラズモンを誘起するようにp偏光で界面に対して入射させる。
光検出器30としては、CCD、PD(フォトダイオード)、フォトマルチプライア、c−MOS等を適宜用いることができる。
収容部19は、センサチップ10を収容する際に、センサチップ10のセンサ部14がプリズム22上に配置され、光検出器30で蛍光が検出できるよう構成されている。収容部19に対しセンサチップ10は、図中矢印X方向に出し入れすることができる。
以下、本実施形態における検出方法および検出装置の作用を説明する。
ここでは、一例として、試料Sに含まれる被検出物質として抗原Aを検出する場合について説明する。
センサチップ10として、金属膜12上に、抗原Aと特異的に結合する第1の結合物質として1次抗体B1が修飾されているものを用意する。
まず、試料保持部13中に検査対象である試料Sを流し、センサチップ10の金属膜12上に試料Sを接触させる。次いで同様に、抗原Aと特異的に結合する第2の結合物質である2次抗体B2と、蛍光標識Fとからなる蛍光標識結合物質BFとを含む溶液を流す。この場合、金属膜12に表面修飾される1次抗体B1と、蛍光標識結合物質BFの2次抗体B2とは、被検出物質である抗原Aに対してそれぞれ別の部位(エピトープ)に結合するものを用いる。なお、蛍光標識Fとして、蛍光色素分子fと1の蛍光増強微粒子Mとを内包する蛍光物質Fを用いている(図1)。試料S中に抗原Aが存在すれば、1次抗体B1に抗原Aが特異的に結合し、さらに抗原Aに蛍光標識結合物質BFの2次抗体B2が結合して、サンドイッチが形成される。その後、結合物と、未反応の蛍光標識結合物質BFを分離するため、バッファ溶液を流し、未反応の蛍光標識結合物質を排除する。
以上の工程はセンサチップ10を検出装置1の収容部19にセットする前に行ってもよいし、セット後に行ってもよい。また、被検出物質(抗原A)への標識のタイミングは特に制限されず、被検出物質(抗原A)を第1の結合物質(1次抗体B1)に結合させる前に、予め試料に蛍光標識を添加しておいてもよい。
本実施形態では、蛍光色素分子fと1の蛍光増強微粒子Mとを内包する蛍光物質Fを蛍光標識として用いている。そして、センサチップ10の誘電体プレート11の所定領域に向けて、励起光照射光学系20により励起光Loを照射する。励起光照射光学系20により励起光Loが誘電体プレート11と金属膜12との界面に対して全反射角以上の特定の入射角度で入射されることにより、金属膜上12の試料S中にエバネッセント光が滲み出し、このエバネッセント光によって金属膜12中に表面プラズモンが励起される。この表面プラズモンにより金属膜12表面に増強された光電場Dが形成される。このとき、増強された光電場Dによって、その蛍光物質F中の蛍光色素分子fが励起されて、蛍光Lfが発生する。ここで、表面プラズモンによる電場増強の効果により蛍光Lfは増強されたものとなる。そして、この蛍光Lfを光検出器30により検出することにより、蛍光標識結合物質BFと結合した被検出物質Aの有無および/または量を検出することができる。
さらに、本発明においては、蛍光物質F内に蛍光増強微粒子Mが存在することにより、効率よく蛍光色素分子fから蛍光Lfを生じせしめるため、通常の表面プラズモン蛍光法等に比して、より高感度に蛍光Lfを検出することができる。このような蛍光増強微粒子Mの蛍光量増大への寄与は、大きく分けて図2A〜図2Dに示す4つの効果によるものである。
(1)蛍光増強微粒子Mに散乱されたエバネッセント光の散乱光による効果
図2Aに示すように、蛍光増強微粒子Mによる散乱光SLを二次的な励起光として用いることにより、蛍光色素分子fをさらに効率的に照明することができる。前述したように光電場Dは、センサ部14の表面から離れるにしたがって、急激に減衰する。したがって、センサ部14の表面から離れた蛍光色素分子fは、励起するに充分な光を吸収することができない。つまり、蛍光増強微粒子Mは、このような蛍光色素分子fを励起する二次的な励起光として、上記の散乱光を生じせしめることにより、蛍光量増大に寄与する。
(2)蛍光増強微粒子Mの表面近傍に生じる近接場光による効果
図2Bに示すように、例えば蛍光増強微粒子Mが金属微粒子である場合には、光電場Dと金属微粒子Mとの相互作用により、局在プラズモンが生じ、その結果、この局在プラズモンによって増強された近接場光NLが金属微粒子Mの周囲に染み出すこととなる。そして、蛍光増強微粒子Mの近傍にある蛍光色素分子fが、この近接場光NLに励起されることとなる。つまり、蛍光増強微粒子Mは、このような近接場光NLを生じせしめることにより、蛍光量増大に寄与する。なお、励起光Loの波長に応じて局在プラズモンを誘起できるように、金属微粒子Mの粒径は適宜選択することができる。
(3)蛍光増強微粒子Mと金属層12との間に生じるホットスポットHS1による効果
図2Cに示すように、例えば蛍光増強微粒子Mが金属微粒子である場合には、金属微粒子Mの近傍に金属膜12が存在するとき、金属微粒子M−金属膜12間の隙間にホットスポットHS1が生じる。「ホットスポット」とは、微小構造の物質に静電気力が集中(電界集中)する結果形成される局所的な強い電場領域である。したがって、このホットスポットHS1内に存在する蛍光色素分子fからの蛍光Lfを増強することができる。つまり、蛍光増強微粒子Mは、このようなホットスポットHS1を生じせしめることにより、蛍光量増大に寄与する。
(4)複数の蛍光増強微粒子Mの間に生じるホットスポットHS2による効果
図2Dに示すように、例えば蛍光増強微粒子Mが金属微粒子である場合には、複数の金属微粒子Mが近傍に存在するとき、金属微粒子M−金属微粒子Mの隙間にホットスポットHS2が生じる。したがって、このホットスポットHS2内に存在する蛍光色素分子fからの蛍光Lfを増強することができる。つまり、蛍光増強微粒子Mは、このようなホットスポットHS2を生じせしめることにより、蛍光量増大に寄与する。
さらに、上記(1)〜(4)の効果による相乗効果も、実際には蛍光量増大に寄与する。両ホットスポットHS1・HS2と上記(2)の局在プラズモンとが同時に生じた場合には、上記(2)の局在プラズモンによって増強された電場が集中し、巨大な電場が形成されるとともに、それによって相手側の局在プラズモンをさらに強く誘起し合うという相乗効果が生じるため、他の場合(例えば粒子が単独で存在する場合や非金属の粒子が近接する場合)に較べ格段に強く増強された光電場Dが形成される。
以上により、本発明に係る方法によれば、金属微粒子−金属微粒子間の隙間もしくは金属微粒子−金属膜間の隙間に生じるホットスポット等の効果によって、蛍光標識から生じる蛍光を増強することができる。この結果、ラマン分光法より容易かつ低コストの蛍光法を用いても、一分子レベルでの高感度検出が可能となる。一方、本発明に係る方法によれば、複数の蛍光増強微粒子Mを検出部上に広く分散させているため、上記ホットスポットは広い範囲にわたり形成させることができる。この結果、増強された光電場が金属プローブの先端付近に限られるラマン分光法に比べて、広い範囲にわたる測定を短時間で行うことが可能となる。
さらに、本実施形態のように、センサ部14の表面に金属層12を有している場合には、この金属層12による蛍光色素分子fの金属消光の影響が強くなるため、金属層12と蛍光色素分子fとの距離を精密に制御する必要がある。金属消光の影響の程度は、金属が半無限の厚さを持つ平面なら距離の3乗に反比例して、金属が無限に薄い平板なら距離の4乗に反比例して、また、金属が微粒子なら距離の6乗に反比例して小さくなる。従って、金属層12と蛍光色素分子fとの間の距離は少なくとも数nm以上、より好ましくは10nm以上確保しておくことが好ましい。このような制御は、一般的にはポリマー膜、SiO膜、SAM膜もしくはCMD膜のようなバリア層を金属層上に設けることにより行われているが、面倒かつ煩雑であり実用にはあまり向いていない。しかしながら、本発明において、蛍光物質Fが、蛍光色素分子fを充分多く含有する場合には、金属層12上に金属消光防止のための膜を設けなくても、必然的に金属層12と多くの蛍光色素分子fとの距離をある程度離間させることができる。これにより従来、金属消光防止のために必要であったCMD膜およびSAM膜を形成する手間をなくすことができ、非常に簡便な方法で効果的に金属消光を防止すると共に、安定して蛍光信号を検出することができる。
(設計変更例)
上述第1の実施形態においては励起光Loとして、界面に所定の角度θで入射する平行光を入射するものとしたが、励起光としては、図3に模式的に示すような、角度θを中心に角度幅Δθを持つファンビーム(集束光)を用いてもよい。ファンビームの場合、プリズム122とプリズム上の金属膜112との界面に対して、角度θ―Δθ/2〜θ+Δθ/2の範囲の入射角度で入射することになり、この角度範囲内に共鳴角があれば、金属膜112に表面プラズモンを励起することができる。金属膜上への試料供給の前後において、金属膜上の媒質の屈折率が変化し、そのために表面プラズモンが生じる共鳴角が変化する。したがって、上述の実施形態のように平行光を励起光として用いる場合、共鳴角が変化するたびに平行光の入射角度を調整する必要がある。しかし、図3に示すような、界面に入射する入射角度に幅を持たせたファンビームを用いることにより、入射角度の調整をすることなく、共鳴角の変化に対応することができる。なお、ファンビームは入射角度による強度変化が少ないフラットな分布を持つものであることがより好ましい。また、以上のことは後述する第2〜第5の実施形態においても同様である。
<第2の実施形態>
第2の実施形態である検出方法および装置について図4を参照して説明する。図4は第2の実施形態の検出装置の概略構成を示す全体図である。本実施形態の検出方法および検出装置は、局在プラズモン共鳴により光電場を増強させ、増強された光電場において励起された蛍光を検出する検出方法および装置である。なお、以下においては、第1の実施形態と同じ構成要素には同じ参照符号を付してある。
図4に示す蛍光検出装置2は、用いられるセンサチップ10’と、励起光照射光学系20’とが上述の第1の実施形態の蛍光検出装置1とは異なる。
センサチップ10’は誘電体プレート11上に設けられる金属層12’として、励起光の照射を受けて所謂局在プラズモンを生じる、表面に励起光Loの波長よりも小さい凹凸構造を有する金属微細構造体、あるいは、励起光の波長よりも小さいサイズの複数の金属ナノロッドを備えている。このような局在プラズモンを生じさせる金属層12’を備えた場合には、励起光Loを金属層12’と誘電体プレート11との界面に全反射するように入射させる必要はない。したがってここでは、励起光照射光学系20’は、誘電体プレート11上方から励起光Loを照射するよう構成されている。
励起光照射光学系20’は、励起光Loを出力する半導体レーザ(LD)等からなる光源21と、励起光Loを反射してセンサチップ10’へ導光するハーフミラー23とを備えている。ハーフミラー23は、励起光Loを反射し、蛍光Lfを透過するものである。
センサチップ10’の具体例を図5A〜Cに斜視図で示し説明する。
図5Aに示すセンサチップ10Aは、誘電体プレート11と、該誘電体プレート11の所定領域上にアレイ状に固着された複数の金属粒子73aからなる金属微細構造体73で構成されている。金属粒子73aの配列パターンは適宜設計できるが、略規則的であることが好ましい。かかる構成では、金属粒子73aの平均的な径及びピッチが励起光Loの波長よりも小さく設計される。
図5Bに示すセンサチップ10Bは、誘電体プレート11と、該誘電体プレートの上の所定領域に設けられた、金属細線74aが格子状にパターン形成された金属パターン層からなる金属微細構造体74で構成されている。金属パターン層のパターンは適宜設計でき、略規則的であることが好ましい。かかる構成では、金属細線74aの平均的な線幅及びピッチが励起光Loの波長よりも小さく設計される。
図5Cに示すセンサチップ10Cは特開2007−171003号公報に記載のような、Alなどの金属76の陽極酸化の過程で形成される金属酸化物体77の複数の微細孔77a内に成長させた複数のマッシュルーム状の金属75aからなる金属微細構造体75により構成されている。ここでは金属酸化物体77が誘電体プレートに相当する。この金属微細構造体75は、金属体(Al等)の一部を陽極酸化して金属酸化物体(Al2O3等)とし、陽極酸化の過程で形成される金属酸化物体77の複数の微細孔77a内に各々金属75aをメッキ等により成長させて得ることができる。
図5Cに示す例では、マッシュルーム状の金属75aの頭部が粒子状であり、サンプルプレート表面から見れば、金属微粒子が配列されたような構造になっている。かかる構成では、マッシュルーム状の金属75aの頭部が凸部であり、その平均的な径およびピッチが励起光Loの波長よりも小さく設計される。
なお、励起光の照射を受けて局在プラズモンを生じる金属層12’としては、その他、特開2006−322067号公報、特開2006-250924号公報などに記載の金属体を陽極酸化して得られる微細構造体を利用した種々の形態の金属微細構造体を用いることができる。
さらには、局在プラズモンを生じさせる金属層は、表面が粗面化された金属膜により構成されていてもよい。粗面化方法としては、酸化還元等を利用した電気化学的な方法等が挙げられる。また、金属層を、サンプルプレート上に配置された複数の金属ナノロッドにより構成してもよい。金属ナノロッドのサイズは、短軸長さが3nm〜50nm程度、長軸長さが25nm〜1000nm程度であり、長軸長さを励起光の波長よりも小さいサイズとする。金属ナノロッドについては、例えば特開2007-139612号公報に記載されている。
なお、金属層12’として用いられる、金属微細構造体あるいは金属ナノロッドとしては、Au、Ag、Cu、Al、Pt、Ni、Ti、およびこれらの合金からなる群より選択される少なくとも1種の金属を主成分とするものが好ましい。
蛍光検出装置2を用いた本実施形態の蛍光検出方法について説明する。
センサチップを用意し、抗原―抗体反応をさせる工程は、第1の実施形態と同様であるため、説明を省略する。以下の実施形態においても同様とする。
本実施形態では、蛍光色素分子fと1の蛍光増強微粒子Mとを内包する蛍光物質Fを蛍光標識として用いている。そして、センサチップ10’の誘電体プレート11の所定領域に向けて励起光照射光学系20により励起光Loを照射する。光源21から出射された励起光Loはハーフミラー23により反射されてセンサチップ10’の試料接触面上に入射される。この励起光Loの照射により、金属層12’の表面で局在プラズモンが励起される。この局在プラズモンにより金属層12’上に増強された光電場Dが形成される。そして、増強された光電場内にある、蛍光物質F中の蛍光色素分子fが励起されて蛍光Lfが発生する。この蛍光Lfを光検出器30により検出をすることにより、蛍光標識結合物質と結合した被検出物質の有無および/または量を検出することができる。
本実施形態においても、蛍光物質F内に蛍光増強微粒子Mが存在することにより、効率よく蛍光色素分子fから蛍光Lfを生じせしめるため、通常の表面プラズモン蛍光法等に比して、より高感度に蛍光Lfを検出することができ、第1の実施形態と同様の効果を得ることが可能である。
<第3の実施形態>
第3の実施形態の検出方法および装置について図6を参照して説明する。図6は第3の実施形態の検出装置の概略構成を示す全体図である。本実施形態の検出方法および装置は、表面プラズモン共鳴により光電場を増強させ、増強された光電場において励起された蛍光が金属層に新たにプラズモンを誘起することにより、誘電体プレートに対して金属層形成面と反対の面側へ放射される、新たに誘起されたプラズモンからの放射光を検出するものである。
図6に示す放射光検出装置3は、第1の実施形態の蛍光検出装置と光検出器の配置が異なる。本放射光検出装置3においては、蛍光が金属層に新たに表面プラズモンを誘起することによって、誘電体プレートに対して金属層形成面と反対の面側へ放射される、新たに誘起されたプラズモンからの放射光Lpを検出するように、光検出器30が配置されている。
検出装置3を用いた本実施形態の放射光検出方法について説明する。
本実施形態では、蛍光色素分子fと1の蛍光増強微粒子Mとを内包する蛍光物質Fを蛍光標識として用いている。そして、第1の実施形態と同様に、励起光照射光学系20により励起光Loを照射する。励起光照射光学系20により励起光Loが誘電体プレート11と金属膜12との界面に対して全反射角以上の特定の入射角度で入射されることにより、金属膜上12の試料S中にエバネッセント光が滲み出し、このエバネッセント光によって金属膜12中に表面プラズモンが励起される。この表面プラズモンにより金属膜12表面に増強された光電場Dが形成される。そして、増強された光電場Dにある、蛍光物質F中の蛍光色素分子fが励起されて蛍光Lfが発生する。このとき、表面プラズモンによる電場増強の効果により蛍光は増強される。金属膜12上で生じたこの蛍光Lfが、金属膜12に表面プラズモンを新たに誘起し、この表面プラズモンによりセンサチップ10の金属膜形成面と反対側へ特定の角度で放射光Lpが射出される。光検出器30によって、この放射光Lpを検出することにより、蛍光標識結合物質と結合した被検出物質の有無および/または量を検出することができる。
放射光Lpは蛍光が金属膜の特定の波数の表面プラズモンと結合する際に生じるものであり、蛍光の波長に応じてその結合する波数は定まり、その波数に応じて放射光の出射角度が定まる。通常励起光Loの波長と蛍光の波長とは異なることから、蛍光により励起される表面プラズモンは、励起光Loにより生じた表面プラズモンとは異なる波数のものとなり、励起光Loの入射角度とは異なる角度で放射光Lpは放射される。
本実施形態においても、蛍光物質F内に蛍光増強微粒子Mが存在することにより、効率よく蛍光色素分子fから蛍光Lfを生じせしめ、この増強された蛍光Lfに起因する放射光Lpを検出するので、第1の実施形態と同様の効果を得ることができる。
さらに、本実施形態では、センサ表面で生じる蛍光に起因する光をセンサ裏面側から検出するので、蛍光Lfが光吸収の大きい溶媒を通過する距離を数十nm程度と削減することができる。したがって、例えば血液における光吸収をほぼ無視することができ、血液を遠心分離し赤血球などの着色成分を除去したり、血球フィルタを通して血清あるいは血漿状態にしたりするという前処理を行うことなく測定が可能となる。
<第4の実施形態>
第4の実施形態の検出方法および装置について図7を参照して説明する。図7は第4の実施形態の検出装置の概略構成を示す全体図である。本実施形態の検出方法および装置は、金属層上に光導波層を備えたセンサチップを用い、励起光の照射により光導波層に光導波モードを励起し、光導波モードにより光電場を増強させ、増強された光電場において励起された蛍光を検出する検出方法および装置である。
図7に示す検出装置4の構成は、第1の実施形態の検出装置の構成と同じであるが、用いられるセンサチップが異なり、このセンサチップの違いにより、電場増強のメカニズムが異なる。
センサチップ10”は金属層12a上に光導波層12bを備えている。光導波層12bの層厚は、特に制限されることはなく、光導波モードが誘起されるように、励起光Loの波長、入射角度および光導波層12bの屈折率等を考慮して定めることができる。例えば、上記と同様に励起光Loとして780nmに中心波長を有するレーザ光を用い、光導波層12bとして1層のシリコン酸化膜からなるものを用いる場合には、500〜600nm程度が好ましい。なお、光導波層12bは、1層以上の誘電体等の光導波材料からなる内部光導波層を含む積層構造であってもよく、この積層構造は、金属層側から順に内部光導波層および内部金属層の交互積層構造であることが好ましい。
蛍光検出装置4を用いた本実施形態の蛍光検出方法について説明する。
本実施形態では、蛍光色素分子fと1の蛍光増強微粒子Mとを内包する蛍光物質Fを蛍光標識として用いている。そして、第1の実施形態と同様に、励起光照射光学系20により励起光Loを照射する。励起光照射光学系20により励起光Loが誘電体プレート11と金属層12aとの界面に対して全反射角以上の特定の入射角度で入射されることにより、金属層12a上にエバネッセント光が滲み出し、このエバネッセント光が光導波層12bの光導波モードと結合し、光導波モードが励起されることにより、光導波層12b上に増強された光電場Dが形成される。そして、増強された光電場にある、蛍光物質F中の蛍光色素分子fが励起されて蛍光Lfが発生する。このとき、表面プラズモンによる電場増強の効果により蛍光は増強されたものとなる。光検出器30によって、この蛍光Lfを検出することにより、蛍光標識結合物質と結合した被検出物質の有無および/または量を検出することができる。
本実施形態においても、蛍光物質F内に蛍光増強微粒子Mが存在することにより、効率よく蛍光色素分子fから蛍光Lfを生じせしめるため、通常の表面プラズモン蛍光法等に比して、より高感度に蛍光Lfを検出することができ、第1の実施形態と同様の効果を得ることができる。
さらに、光導波モードの励起により生じる増強された光電場Dは、通常の表面プラズモン蛍光法により生じる増強された光電場と比較して表面からの距離に伴う電場減衰の程度が緩やかであることから、蛍光標識として、複数の蛍光色素分子fを内包する径の大きな蛍光物質Fを用いた場合、通常の表面プラズモン蛍光法による電場増強を用いるよりも大きな蛍光量増加効果を得ることができる。
<第5の実施形態>
第5の実施形態の検出方法および装置について図8を参照して説明する。図8は第5の実施形態の検出装置の概略構成示す全体図である。本実施形態の検出方法および装置は、金属層上に光導波層を備えたセンサチップを用い、励起光の照射により光導波層に光導波モードを励起し、光導波モードにより電場を増強させ、増強された電場において励起された蛍光が金属層に新たにプラズモンを誘起することにより、誘電体プレートの金属層形成面と反対の面側から放射される、新たに誘起されたプラズモンからの放射光を検出する検出方法および装置である。
図8に示す本実施形態の検出装置5は、第3の実施形態の検出装置3と同様の構成であり、本実施形態の検出方法において用いられるセンサチップは第4の実施形態の検出方法で用いられるセンサチップと同様である。
検出装置5を用いた本実施形態の蛍光検出方法について説明する。
本実施形態では、蛍光色素分子fと1の蛍光増強微粒子Mとを内包する蛍光物質Fを蛍光標識として用いている。そして、第1の実施形態と同様に、励起光照射光学系20により励起光Loを照射する。励起光照射光学系20により励起光Loが誘電体プレート11と金属層12aとの界面に対して全反射角以上の特定の入射角度で入射されることにより、金属層12a上にエバネッセント光が滲み出し、このエバネッセント光が光導波層12bの光導波モードと結合し、光導波モードが励起されることにより、光導波層12b上に増強された光電場Dが形成される。そして、増強された光電場Dにある、蛍光物質F中の蛍光色素分子fが励起されて蛍光Lfが発生する。このとき、表面プラズモンによる電場増強の効果により蛍光Lfは増強されたものとなる。光導波層12b上で生じたこの蛍光Lfが、金属膜12に表面プラズモンを新たに誘起し、この表面プラズモンによりセンサチップ10”の金属膜形成面と反対側へ特定の角度で放射光Lpが射出される。光検出器30によって、この放射光Lpを検出することにより、蛍光標識Fが標識された被検出物質の有無および/または量を検出することができる。
本実施形態においても、蛍光物質F内に蛍光増強微粒子Mが存在することにより、効率よく蛍光色素分子fから蛍光Lfを生じせしめ、この増強された蛍光に起因する放射光Lpを検出するので、第1の実施形態と同様の効果を得ることができる。
また、本実施形態では、センサ表面で生じる蛍光に起因する光をセンサ裏面側から検出するので、蛍光Lfが光吸収の大きい溶媒を通過する距離を数十nm程度と削減することができ、第2の実施形態と同様の効果を得ることができる。
さらに、光導波モードの励起により増強された光電場を用いていることから、第4の実施形態と同様に蛍光量増加効果を得ることができる。
なお、上記第1〜第5の実施形態においては、蛍光標識として、図9に示すように、さらに、透光材料16の表面に蛍光を透過する厚みの金属被膜Mcが設けられたものを用いてもよい。金属被膜Mcは、透光材料16の全表面を覆うものであってもよいし、全表面を覆うものでなく、一部表面が露出するように設けられたものであってもよい。金属被膜Mcの材料としては、上述の金属層と同様の金属材料を用いることができる。
蛍光物質Fの表面に金属被膜Mcを備えた場合、センサチップ10・10’の金属層12・12’に発生した表面プラズモンまたは局在プラズモン、あるいはセンサチップ10”の光導波層12bに発生した光導波モードが、蛍光物質Fの金属被膜Mcのウィスパリング・ギャラリー・モードにカップリングし、蛍光物質F内の蛍光色素分子fをさらに高効率に励起できる。なお、ウィスパリング・ギャラリー・モードとは、ここで用いられるφ5300nm以下程度の蛍光物質Fのような微小球の球表面に局在し、周回する電磁波モードである。
蛍光物質Fへの金属被膜方法の一例を以下に示す。
まず、前述手順により蛍光物質を作製し、その表面にポリエチレンイミン(PEI)(エポミン、日本触媒社)を修飾する。
次に、粒子表面のPEIに粒径15nmのPdナノ粒子(平均粒径19nm、徳力本社)を吸着させる。
Pdナノ粒子が吸着したポリスチレン粒子を無電解金メッキ液(HAuCl4、小島化学薬品社)に浸漬させることで、Pdナノ粒子を触媒とする無電界メッキを利用して、ポリスチレン粒子表面に金膜を作製する。
「検出用試料セル」
本発明の検出方法のセンサチップとして使用される検出用試料セルについて説明する。
<第1の実施形態の検出用試料セル>
図10Aは、第1の実施形態の検出用試料セル50の構成を示す平面図、図10Bは検出用試料セル50の側断面図である。
検出用試料セル50は、誘電体プレートからなる基台51と、基台51上に液体試料Sを保持し、液体試料Sの流路52を形成するスペーサ53と、試料Sを注入する注入口54aおよび流路52を流下した試料を排出する排出口となる空気孔54bを備えたガラス板からなる上板54とから構成され、流路52の注入口54aと空気孔54bとの間の試料接触面となる基台51の所定領域上にそれぞれ設けられた金属層58a、59aからなるセンサ部58、59が備えられている。また、注入口54aから流路52に至る箇所にはメンブレンフィルター55が備えられ、流路52下流の空気孔54bに接続する部分には廃液だめ56が形成されている。
本実施形態においては、基台51が誘電体プレートから構成され、センサ部の誘電体プレートを兼ねているが、基台としては、センサ部が構成される部分のみ誘電体プレートで構成されたものを用いてもよい。検出用試料セル50は、上述した第1〜第3のいずれの実施形態の検出装置および方法におけるセンサチップとして、使用することができる。また、検出用試料セル50は、被検出物質に応じて、該被検出物質と特異的に結合する第1の結合物質をセンサ部に適宜固定して使用することができる。さらに、被検出物質と特異的に結合する第2の結合物質、および被検出物質と競合して第1の結合物質と特異的に結合する第3の結合物質のうちいずれか一方の結合物質と、この一方の結合物質が修飾された蛍光物質とからなる蛍光標識結合物質であって、センサ部より上流側の流路内に配置されている蛍光標識結合物質を備えることができる。
本実施形態に係る検出用試料セルでは、蛍光色素分子fと1の蛍光増強微粒子Mとを内包する蛍光物質Fを蛍光標識として予め備えているため、本発明に係る検出装置および方法における効果と同様に、蛍光標識の励起に起因して生じる光を容易に増強することができる。この結果、本実施形態に係る検出用試料セルを用いて被検出物質の検出を行うことによって、S/Nのよい安定した信号を検出することができ、被検出物質の有無および/または量を精度よく検出することが容易に可能となる。
<第2実施形態の検出用試料セル>
図11は、サンドイッチ法によるアッセイに適した第2の実施形態の検出用試料セルの側断面を示すものである。本実施形態の検出用試料セル50Aにおいては、標識2次抗体吸着エリア57と、第1のセンサ部58と、第2のセンサ部59とが、基台51上に流路52上流側から順に設けられている。ここで、標識2次抗体吸着エリア57には、被検出物質である抗原と特異的に結合する2次抗体(第2の結合物質)B2と、該2次抗体B2が表面修飾された蛍光物質Fとからなる標識2次抗体BF(蛍光標識結合物質)が物理吸着によって配置されている。そして、第1のセンサ部58には、被検出物質である抗原と特異的に結合する1次抗体(第1の結合物質)B1が固定されている。また、第2のセンサ部59には、被検出物質である抗原Aとは結合せず標識2次抗体BFと特異的に結合する1次抗体B0が固定されている。本例では、流路52内に2つのセンサ部を設けた例を挙げているが、センサ部は1つのみであってもよい。なお、蛍光物質Fは、蛍光色素分子fと1の蛍光増強微粒子Mとを内包するものである。
基台51上の第1のセンサ部58および第2のセンサ部59にはそれぞれ金属層として、金(Au)膜58aおよび59aが形成されている。第1のセンサ部58のAu膜58a上にはさらに1次抗体B1が固定され、第2のセンサ部59のAu膜59a上にはさらに1次抗体B1とは異なる1次抗体B0が固定されている。互いに異なる1次抗体が設けられている点以外は、第1のセンサ部58と第2のセンサ部59は同一の構成である。第2のセンサ部59に固定されている1次抗体B0は抗原Aとは結合せず、標識2次抗体BFと直接結合するものである。これにより、流路を流れた標識2次抗体BFの量、活性など反応に関する変動要因と、励起光照射光学系20、金(Au)膜58aおよび59a、液体試料Sなど光電場増強度に関する変動要因とを検出し、較正に利用することができる。なお、第2のセンサ部には1次抗体B0ではなく、既知量の標識物質が予め固定されていてもよい。標識物質は2次抗体B2により表面修飾された蛍光物質Fと同種のものであってもよいし、波長、サイズの異なる蛍光物質Fであってもよい。さらには金属微粒子などであってもよい。この場合、励起光照射光学系20、金膜58a、59a、液体試料Sなど表面プラズモン増強度に関する変動要因のみを検出し、較正に利用することができる。第2のセンサ部59に標識2次抗体BF、既知量の標識物質のどちらを固定するかは、較正目的および方法によって適宜定めればよい。
検出用試料セル50Aは、上述した第1〜第3のいずれの実施形態の検出装置および方法においても、センサチップとして使用することができる。検出用試料セル50は、収容部19において、励起光照射光学系20および光検出器30に相対的にX方向に移動可能とされており、第1のセンサ部58からの蛍光もしくは放射光の検出測定の後、第2のセンサ部59を検出位置に移動させて第2のセンサ部59からの蛍光もしくは放射光の検出を行うように構成されている。
本発明の検出方法において、本実施形態の検出用試料セル50Aを用い、血液(全血)中に被検出物質である抗原を含むか否について、サンドイッチ法によるアッセイを行う手順について図12を参照して説明する。
step1:注入口54aから検査対象である血液(全血)Soを注入する。ここでは、この血液So中に被検出物質である抗原Aが含まれている場合について説明する。図12中において血液Soは網掛け領域で示している。
step2:血液Soはメンブレンフィルター55により濾過され、赤血球、白血球などの大きな分子が残渣となる。
step3:メンブレンフィルター55で血球分離された血液S(血漿)が毛細管現象で流路52に染み出す。または反応を早め、検出時間を短縮するために、空気孔54bにポンプを接続し、血漿Sをポンプの吸引、押し出し操作によって流下させてもよい。図12中において血漿Sは斜線領域で示している。
step4:流路52に染み出した血漿Sと流路52内に配置された標識2次抗体BFとが混ぜ合わされ、血漿S中の抗原Aが標識2次抗体BFと結合する。
step5:血漿Sは流路52に沿って空気孔54b側へと徐々に流れ、標識2次抗体BFと結合した抗原Aが、第1のセンサ部58上に固定されている1次抗体B1と結合し、抗原Aが1次抗体B1と標識2次抗体BFで挟み込まれたいわゆるサンドイッチが形成される。
step6:抗原Aと結合しなかった標識2次抗体BFの一部は第2のセンサ部59上に固定されている1次抗体B0と結合する。さらに抗原Aまたは1次抗体B0と結合しなかった標識2次抗体BFがセンサ部上に残っている場合があっても、後続の血漿Sが洗浄の役割を担い、プレート上に浮遊および非特異吸着していた標識2次抗体BFを洗い流す。
このように、血液Soを注入口54aから注入し、第1のセンサ部58上に抗原Aが1次抗体B1と標識2次抗体BFで挟まれたサンドイッチが形成されるまでのstep1からStep6の後、第1のセンサ部58からの蛍光信号或いは放射光信号(以下、検出信号)を検出することにより、抗原の有無および/またはその濃度を検出することができる。その後、第2のセンサ部59からの検出信号を検出できるように試料セルをX方向に移動させ、第2のセンサ部59からの検出信号を検出する。標識2次抗体BFと結合する1次抗体B0を固定している第2のセンサ部59からの検出信号は、標識2次抗体BFの流下した量、活性などの反応条件を反映した蛍光信号であると考えられ、この検出信号をリファレンスとして、第1のセンサ部58からの検出信号を補正することにより、より精度の高い検出結果を得ることができる。また、既述の通り、第2のセンサ部59に既知量の標識物質(蛍光物質、金属微粒子)をあらかじめ固定した場合であっても、同様に、第2のセンサ部59からの光信号をリファレンスとして第1のセンサ部58からの検出信号を補正することができる。
本実施形態に係る検出用試料セルでも、蛍光色素分子fと1の蛍光増強微粒子Mとを内包する蛍光物質Fを蛍光標識として予め備えている。したがって、本実施形態においても、第1実施形態の検出用試料セルと同様の効果を得ることができる。
<第3実施形態の検出用試料セル>
図13は、競合法によるアッセイに適した第3の実施形態の検出用試料セルを示すものである。本実施形態の検出用試料セル50Bにおいては、標識2次抗体吸着エリア57’と、第1のセンサ部58’と、第2のセンサ部59’とが、基台51上に流路52上流側から順に設けられている。ここで、標識2次抗体吸着エリア57’には、被検出物質である抗原とは結合せず後述の1次抗体C1と特異的に結合する2次抗体C3(第3の結合物質)と、該2次抗体C3が表面修飾された蛍光物質Fとからなる標識2次抗体CF(蛍光標識結合物質)が物理吸着によって配置されている。そして、第1のセンサ部58’には、被検出物質である抗原および2次抗体C3と特異的に結合する1次抗体C1(第1の結合物質)が固定されている。また、第2のセンサ部59’には、被検出物質である抗原とは結合せず標識2次抗体CFと特異的に結合する1次抗体C0が固定されている。本例では、流路52内に2つのセンサ部を設けた例を挙げているが、センサ部は1つのみであってもよい。なお、蛍光物質Fは、蛍光色素分子fと1の蛍光増強微粒子Mとを内包するものである。
基台51上の第1のセンサ部58’および第2のセンサ部59’にはそれぞれ金属層として、金(Au)膜58aおよび59aが形成されている。第1のセンサ部58’のAu膜58a上にさらに1次抗体C1が固定され、第2のセンサ部59’のAu膜59a上にさらに1次抗体C1とは異なる1次抗体C0が固定されている。互いに異なる1次抗体が設けられている点以外は、第1のセンサ部58’と第2のセンサ部59’は同一の構成である。抗原Aと標識2次抗体CFとは、第1のセンサ部58’に固定されている1次抗体C1に競合的に結合するものである。第2のセンサ部59’に固定されている1次抗体C0は抗原Aとは結合せず、標識2次抗体CFと直接結合するものである。これにより、流路を流れた標識2次抗体CFの量、活性など反応に関する変動要因と励起光照射光学系20、金(Au)膜58aおよび59a、液体試料Sなど光電場増強度に関する変動要因を検出し、較正に利用することができる。なお、第2のセンサ部には1次抗体C0ではなく、既知量の標識物質が予め固定されていてもよい。標識物質は2次抗体により表面修飾された蛍光物質と同種のものであってもよいし、波長、サイズの異なる蛍光物質であってもよい。この場合、励起光照射光学系20、金(Au)膜58aおよび59a、液体試料Sなど表面プラズモン増強度に関する変動要因のみを検出し、較正に利用することができる。第2のセンサ部59’に標識2次抗体CF、既知量の標識物質のどちらを固定するかは較正目的および方法によって適宜、選択することができる。
検出用試料セル50Bは、既述の検出用試料セル50Aと同様に、上述した第1〜第3のいずれの実施形態の検出装置および方法においても、センサチップとして使用することができる。
本発明の検出方法において、本実施形態の検出用試料セル50Bを用い、血液(全血)中に被検出物質である抗原を含むか否について、サンドイッチ法によるアッセイを行う手順について図14を参照して説明する。
step1:注入口54aから検査対象である血液(全血)Soを注入する。ここでは、この血液So中に被検出物質である抗原Aが含まれている場合について説明する。図14において血液Soは網掛け領域で示している。
step2:血液Soはメンブレンフィルター55により濾過され、赤血球、白血球などの大きな分子が残渣となる。
step3:メンブレンフィルター55で血球分離された血液S(血漿)が毛細管現象で流路52に染み出す。または反応を早め、検出時間を短縮するために、空気孔54bにポンプを接続し、血漿Sをポンプの吸引、押し出し操作によって流下させてもよい。図14において血漿Sは斜線領域で示している。
step4:流路52に染み出した血漿Sと流路52内に配置された標識2次抗体CFとが混ぜ合わされる。
step5:血漿Sは流路52に沿って空気孔54b側へと徐々に流れ、抗原Aと標識2次抗体CFとが競合して、第1のセンサ部58’上に固定されている1次抗体C1と結合する。
step6:第1のセンサ部58’上の1次抗体C1と結合しなかった標識2次抗体CFの一部は、第2のセンサ部59’上に固定されている1次抗体C0と結合する。さらに1次抗体C1またはC0と結合していない標識2次抗体CFがセンサ部上に残っている場合があっても、後続の血漿Sが洗浄の役割を担い、プレート上に浮遊および非特異吸着していた標識2次抗体CFを洗い流す。
このように、血液を注入口から注入し、センサ部58’上の1次抗体C1に抗原Aおよび標識2次抗体CFが競合的に結合するまでのstep1からStep6の後、第1のセンサ部58’および第2のセンサ部59’からの検出信号を検出することにより、抗原の有無および/またはその濃度を検出することができる。その後、第2のセンサ部59’からの検出信号を検出できるように検出用試料セルをX方向に移動させ、第2のセンサ部59’からの検出信号を検出し、この検出信号をリファレンスとして、第1のセンサ部58’からの検出信号を補正することにより、より精度の高い検出結果を得ることができる。
競合法においては上記のように、被検出物質Aの濃度が高ければ、1次抗体C1と結合する2標識2次抗体CFの量が少なくなり、金属層上の蛍光物質Fの数が少なくなるため蛍光強度が小さくなる。一方、被検出物質Aの濃度が低ければ、1次抗体C1と結合する標識2次抗体CFの量が多くなり、金属膜上の蛍光物質Fの数が多くなるため蛍光強度が大きくなる。競合法は被検出物質にエピトープが一つあれば測定が可能であることから、低分子量の物質の検出に適している。
本実施形態に係る検出用試料セルでも、蛍光色素分子fと1の蛍光増強微粒子Mとを内包する蛍光物質Fを蛍光標識として予め備えている。したがって、本実施形態においても、第1実施形態の検出用試料セルと同様の効果を得ることができる。
(検出用試料セルの設計変更例)
図15は、光導波モードによる光電場増強を利用する検出方法および装置に用いる検出用試料セルの断面図である。この検出用試料セルは、図10に示した第1の実施形態の検出用試料セルの構成と略同一であるが、それぞれのセンサ部の金属層58a、59a上にさらに光導波層58b、59bを備えている点で異なる。この検出用試料セルは、光導波層58b、59b上に上記のような抗体を適宜固定することにより、検出装置および方法の第4・第5の実施形態でのセンサチップとして使用することができる。
「検出用キット」
本発明の検出方法に使用される検出用キットについて説明する。図16は検出用キット60の構成を示す模式図である。
本発明に係る検出用キット60は、検出用試料セル61と、液体試料と同時もしくは液体試料の流下後に流路内に流下される標識用溶液63とを備えている。ここで、標識用溶液63は、抗原Aと特異的に結合する2次抗体B2(第2の結合物質)と、この2次抗体B2が修飾された蛍光物質Fとからなる標識2次抗体BF(蛍光標識結合物質)を含むものである。
検出用試料セル61は、検出用試料セル内に、蛍光増強微粒子Mが含まれる標識2次抗体BFが物理吸着した標識2次抗体吸着エリアを備えていない点でのみ上述の第2の実施形態の検出用試料セル50Aと異なり、その他は検出用試料セル50Aと略同一の構成である。
本発明の検出方法において、本実施形態の検出用キット60を用い、血液(全血)中に被検出物質である抗原を含むか否について、サンドイッチ法によるアッセイを行う手順について図17を参照して説明する。
step1:注入口54aから検査対象である血液(全血)Soを注入する。ここでは、この血液So中に被検出物質である抗原Aが含まれている場合について説明する。図17において血液Soは網掛け領域で示している。
step2:血液Soはメンブレンフィルター55により濾過され、赤血球、白血球などの大きな分子が残渣となる。引き続き、メンブレンフィルター55で血球分離された血液S(血漿)が毛細管現象で流路52に染み出す。または反応を早め、検出時間を短縮するために、空気孔にポンプを接続し、血漿Sをポンプの吸引、押し出し操作によって流下させてもよい。図17において血漿Sは斜線領域で示している。
step3:血漿Sは流路52に沿って空気孔54b側へと徐々に流れ、血漿S中の抗原Aが、第1のセンサ部58上に固定されている1次抗体B1と結合する。
step4:標識2次抗体BFを含む標識用溶液63を注入口54aから注入する。
step5:標識2次抗体BFが毛細管現象により流路52に染み出す。または反応を早め、検出時間を短縮するために、空気孔にポンプを接続し、標識用溶液63をポンプの吸引、押し出し操作によって流下させてもよい。
step6:標識2次抗体BFが徐々に下流側に流れ、標識2次抗体BFが抗原Aと結合し、抗原Aが1次抗体B1と結合することにより、抗原Aが1次抗体B1と標識2次抗体BFで挟み込まれたいわゆるサンドイッチが形成される。抗原Aと結合しなかった標識2次抗体BFの一部は、第2のセンサ部59上に固定されている1次抗体B0と結合する。さらに、抗原Aまたは1次抗体B0と結合しなかった標識2次抗体BFがセンサ部上に残っている場合があっても、後続の血漿が洗浄の役割を担い、プレート上に浮遊および非特異吸着していた標識2次抗体BFを洗い流す。
このように、血液を注入口から注入し、抗原が1次抗体および2次抗体と結合するまでのstep1からStep6の後、検出装置において、蛍光物質F内に蛍光増強微粒子Mが存在することによる蛍光量の増大効果を利用し、第1のセンサ部58からの検出信号を検出することにより、抗原の有無および/またはその濃度を高感度に検出することができる。その後、第2のセンサ部59からの検出信号を検出できるように検出用試料セル61をX方向に移動させ、同様に、センサ部上に蛍光標識結合物質を引き寄せ、第2のセンサ部59からの検出信号を検出する。標識2次抗体BFと結合する1次抗体B0を固定している第2のセンサ部59からの検出信号は標識2次抗体の流下した量、活性などの反応条件を反映した検出信号であると考えられ、この検出信号をリファレンスとして、第1のセンサ部からの検出信号を補正することにより、より精度の高い検出結果を得ることができる。また、第2のセンサ部59に既知量の標識物質(蛍光物質、金属微粒子)をあらかじめ固定しておき、第2のセンサ部59からの蛍光信号をリファレンスとして第1のセンサ部からの検出信号を補正してもよい。
蛍光物質への2次抗体修飾方法および標識用溶液の作製方法の一例を説明する。
前述の手順で作製した蛍光物質溶液(蛍光物質の直径φ150nm、励起波長780nm)に50mM MESバッファおよび、5.0mg/mLの抗hCGモノクローナル抗体(Anti−hCG 5008 SP−5、Medix Biochemica社)溶液を加えて撹拌する。これにより蛍光物質への抗体の修飾がなされる。
次に、400mg/mLのWSC(品番01−62−0011、和光純薬)水溶液を加え室温で攪拌する。
さらに、2mol/L Glycine水溶液を添加し撹拌した後、遠心分離にて、粒子を沈降させる。
最後に、上清を取り除き、PBS(pH7.4)を加え、超音波洗浄機により、表面修飾された蛍光物質を再分散させる。さらに遠心分離を行い、上清を除いた後、1%BSAのPBS(pH7.4)溶液500μL加え、表面修飾された蛍光物質を再分散させて標識用溶液とする。
本実施形態に係る検出用キットでは、蛍光色素分子fと1の蛍光増強微粒子Mとを内包する蛍光物質Fを蛍光標識として予め備えているため、本発明に係る検出装置および方法における効果と同様に、蛍光標識の励起に起因して生じる光を増強することができる。この結果、本実施形態に係る検出用試料キットを用いて被検出物質の検出を行うことによって、S/Nのよい安定した信号を検出することができ、被検出物質の有無および/または量を精度よく検出することが可能となる。
(検出用キットの設計変更例)
本発明に係る検出用キットは、付属の検出用試料セルとして、光導波層を有する図13に示す検出用試料セルを用いることにより、競合法によるアッセイを行う検出装置および方法に好適なものとなる。
また、本発明に係る検出用キットは、付属の検出用試料セルとして、光導波層を有する図15に示す検出用試料セルを用いることにより、光導波モードによる電場増強を利用する検出装置および方法に好適なものとなる。
本発明の第1の実施形態による検出装置を示す概略構成図(SPF) センサ部近傍の蛍光増強効果の様子を示す概略図(その1) センサ部近傍の蛍光増強効果の様子を示す概略図(その2) センサ部近傍の蛍光増強効果の様子を示す概略図(その3) センサ部近傍の蛍光増強効果の様子を示す概略図(その4) 励起光照射光学系の設計変更例を示す図 本発明の第2実施形態による蛍光検出装置を示す概略構成図(LPF) 本発明の第2実施形態による蛍光検出装置に用いられるセンサチップのセンサ部を示す概略構成図 本発明の第3実施形態による検出装置を示す概略構成図(SPCE) 本発明の第4実施形態による検出装置を示す概略構成図(導波―蛍光) 本発明の第5実施形態による検出装置を示す概略構成図(導波―放射光) 金属被膜を有する蛍光物質を示す模式図 本発明の第1の実施形態の試料セルを示す(A)平面図および(B)側断面図 本発明の第2の実施形態の試料セルを示す側断面図 第2の実施形態の試料セルを用いたサンドイッチ法によるアッセイ手順を示す図 本発明の第3の実施形態の試料セルを示す側断面図 第3の実施形態の試料セルを用いた競合法によるアッセイ手順を示す図 試料セルの設計変更例を示す側断面図 本発明の1実施形態の検出用キットの構成を示す模式図 検出用キットを用いたサンドイッチ法によるアッセイ手順を示す図 従来例における検出方法を示す概念図
符号の説明
1、2、3、4、5 検出装置
10、10’、10” センサチップ
11 誘電体プレート
12 金属層(金属膜)
12’ 金属層(金属微細構造体)
13 試料保持部
14 センサ部
16 透光材料
19 センサチップ収容部
20、20’ 励起光照射光学系
21 光源
22 プリズム
30 光検出器
50、50A、50B、61 試料セル
51 誘電体プレート
52 流路
53 スペーサ
54 上板
54a 注入口
54b 空気孔
55 メンブレンフィルター
57 標識2次抗体吸着エリア
58、59 センサ部
60 検出用キット
63 検出用キットの標識用溶液
A 抗原(被検出物質)
B1、C1 1次抗体(第1の結合物質)
B2 2次抗体(第2の結合物質)
BF、CF 標識2次抗体(蛍光標識結合物質)
C3 2次抗体(第3の結合物質)
D 光電場
F 蛍光物質
f 蛍光色素分子
Lo 励起光
Lf 蛍光
Lp 放射光
LS 散乱光
M 蛍光増強微粒子
Mc 金属被膜

Claims (15)

  1. 誘電体プレートの一面に、該誘電体プレートに隣接する金属層を含む積層構造からなるセンサ部を備えるセンサチップを用い、
    前記センサ部に試料を接触させることにより、該試料に含有される被検出物質の量に応じた量の蛍光標識結合物質を、前記センサ部上に結合させ、
    前記センサ部に励起光を照射することにより、該センサ部上に増強した光電場を発生せしめ、
    該増強した光電場により、前記蛍光標識結合物質の蛍光標識を励起し、該励起に起因して生じる光の量に基づいて、前記被検出物質の量を検出する検出方法において、
    前記蛍光標識として、複数の蛍光色素分子および1以上の蛍光増強微粒子を、該複数の蛍光色素分子から生じる蛍光を透過する透光材料により包含してなる蛍光物質を用いることを特徴とする検出方法。
  2. 前記蛍光増強微粒子が、散乱性微粒子であることを特徴とする請求項1に記載の検出方法。
  3. 前記蛍光増強微粒子が、金属微粒子であることを特徴とする請求項2に記載の検出方法。
  4. 前記蛍光増強微粒子が、金属ナノロッドであることを特徴とする請求項3に記載の検出方法。
  5. 前記蛍光増強微粒子の粒径が、10〜200nmであることを特徴とする請求項1から4いずれかに記載の検出方法。
  6. 前記励起光の照射により前記金属層にプラズモンを励起し、該プラズモンによって前記増強した光電場を発生せしめ、
    前記蛍光標識の励起に起因して生じる前記光として、該励起によって該蛍光標識から生じる蛍光を検出することを特徴とする請求項1から5いずれかに記載の検出方法。
  7. 前記励起光の照射により前記金属層にプラズモンを励起し、該プラズモンによって前記増強した光電場を発生せしめ、
    前記蛍光標識の励起に起因して生じる前記光として、該励起によって該蛍光標識から生じる蛍光が前記金属層に新たにプラズモンを誘起することにより、前記誘電体プレートに対し前記一面と対向する他面側へ放射される、前記新たに誘起されたプラズモンからの放射光を検出することを特徴とする請求項1から5いずれかに記載の検出方法。
  8. 前記センサチップとして、前記積層構造が光導波層を備えるものを用い、
    前記励起光の照射により前記光導波層に光導波モードを励起し、該光導波モードによって前記増強した光電場を発生せしめ、
    前記蛍光標識の励起に起因して生じる前記光として、該励起によって該蛍光標識から生じる蛍光を検出することを特徴とする請求項1から5いずれかに記載の検出方法。
  9. 前記センサチップとして、前記積層構造が光導波層を備えるものを用い、
    前記励起光の照射により前記光導波層に光導波モードを励起し、該光導波モードによって前記増強した光電場を発生せしめ、
    前記蛍光標識の励起に起因して生じる前記光として、該励起によって該蛍光標識から生じる蛍光が前記金属層に新たにプラズモンを誘起することにより、前記誘電体プレートに対し前記一面と対向する他面側へ放射される、前記新たに誘起されたプラズモンからの放射光を検出することを特徴とする請求項1から5いずれかに記載の検出方法。
  10. 請求項1から9いずれかに記載の検出方法において前記センサチップとして使用される検出用試料セルであって、
    液体試料が流下される流路を有する基台と、
    前記流路の上流側に設けられた該流路に前記液体試料を注入するための注入口と、
    前記流路の下流側に設けられた、前記注入口から注入された前記液体試料を該下流側に流すための空気孔と、
    前記注入口と前記空気孔との間の前記流路に設けられたセンサチップ部であって、前記流路の内壁面の一部として設けられた誘電体プレート、および該誘電体プレートの試料接触面の所定領域に設けられたセンサ部を備えるセンサチップ部とを備え、
    前記センサ部が、前記誘電体プレートに隣接する金属層を含む積層構造からなることを特徴とする検出用試料セル。
  11. 前記蛍光標識結合物質を前記センサ部上に固定するための第1の結合物質であって、前記センサ部上に固定されているものを備えることを特徴とする請求項10に記載の検出用試料セル。
  12. 前記被検出物質と特異的に結合する第2の結合物質、および前記被検出物質と競合して前記第1の結合物質と特異的に結合する第3の結合物質のうちいずれか一方の結合物質と、該一方の結合物質が修飾された前記蛍光物質とからなる蛍光標識結合物質であって、前記センサ部より上流側の前記流路内に配置されている前記蛍光標識結合物質を備えることを特徴とする請求項11に記載の検出用試料セル。
  13. 前記積層構造が、光導波層を備えることを特徴とする請求項10から12いずれかに記載の検出用試料セル。
  14. 請求項1から9いずれかに記載の検出方法において使用される検出用キットであって、
    液体試料が流下される流路を有する基台と、前記流路の上流側に設けられた該流路に前記液体試料を注入するための注入口と、前記流路の下流側に設けられた、前記注入口から注入された前記液体試料を該下流側に流すための空気孔と、前記注入口と前記空気孔との間の前記流路に設けられたセンサチップ部であって、前記流路の内壁面の一部として設けられた誘電体プレート、および該誘電体プレートの試料接触面の所定領域に設けられたセンサ部を備えるセンサチップ部と、前記蛍光標識結合物質を前記センサ部上に固定するための、該センサ部上に固定された第1の結合物質とを備え、前記センサ部が、前記誘電体プレートに隣接する金属層を含む積層構造からなる、前記センサチップとして使用される検出用試料セル、および
    前記液体試料と同時もしくは前記液体試料の流下後に前記流路内に流下される標識用溶液であって、前記被検出物質と特異的に結合する第2の結合物質、および前記被検出物質と競合して前記第1の結合物質と特異的に結合する第3の結合物質のうちのいずれか一方の結合物質と、該一方の結合物質が修飾された前記蛍光物質とからなる蛍光標識結合物質を含む前記標識用溶液を備えてなることを特徴とする検出用キット。
  15. 前記積層構造が、光導波層を備えることを特徴とする請求項14に記載の検出用キット。
JP2008182209A 2008-07-14 2008-07-14 検出方法、検出用試料セルおよび検出用キット Active JP5450993B2 (ja)

Priority Applications (1)

Application Number Priority Date Filing Date Title
JP2008182209A JP5450993B2 (ja) 2008-07-14 2008-07-14 検出方法、検出用試料セルおよび検出用キット

Applications Claiming Priority (1)

Application Number Priority Date Filing Date Title
JP2008182209A JP5450993B2 (ja) 2008-07-14 2008-07-14 検出方法、検出用試料セルおよび検出用キット

Publications (2)

Publication Number Publication Date
JP2010019765A true JP2010019765A (ja) 2010-01-28
JP5450993B2 JP5450993B2 (ja) 2014-03-26

Family

ID=41704816

Family Applications (1)

Application Number Title Priority Date Filing Date
JP2008182209A Active JP5450993B2 (ja) 2008-07-14 2008-07-14 検出方法、検出用試料セルおよび検出用キット

Country Status (1)

Country Link
JP (1) JP5450993B2 (ja)

Cited By (9)

* Cited by examiner, † Cited by third party
Publication number Priority date Publication date Assignee Title
JP2010048756A (ja) * 2008-08-25 2010-03-04 Fujifilm Corp 検出方法、検出装置、検出用試料セルおよび検出用キット
WO2011096394A1 (ja) * 2010-02-02 2011-08-11 コニカミノルタホールディングス株式会社 アナライト検出プローブおよびこれを用いたアナライトの検出方法
WO2012132384A1 (ja) * 2011-03-31 2012-10-04 富士フイルム株式会社 局在プラズモン増強蛍光粒子、局在プラズモン増強蛍光検出用担体、局在プラズモン増強蛍光検出装置および蛍光検出方法
JP2013002986A (ja) * 2011-06-17 2013-01-07 Fujifilm Corp 蛍光検出装置、蛍光検出用の試料セルおよび蛍光検出方法
JPWO2012008258A1 (ja) * 2010-07-14 2013-09-09 コニカミノルタ株式会社 蛍光検出装置およびこれを用いた蛍光検出方法
CN106370832A (zh) * 2016-11-09 2017-02-01 苏州呼医疗科技有限公司 智能呼气分子诊断系统
CN106442955A (zh) * 2016-11-09 2017-02-22 苏州呼医疗科技有限公司 智能呼气分子诊断系统的反射式光学检测装置
JPWO2017082043A1 (ja) * 2015-11-11 2018-08-30 コニカミノルタ株式会社 光学式検体検出システム
US11604188B2 (en) 2018-03-16 2023-03-14 Panasonic Intellectual Property Management Co., Ltd. Detection apparatus, detection substrate, and detection method

Citations (11)

* Cited by examiner, † Cited by third party
Publication number Priority date Publication date Assignee Title
JPH07174693A (ja) * 1991-06-08 1995-07-14 Hewlett Packard Co <Hp> 生体分子検出方法および装置
JP2001513198A (ja) * 1997-02-20 2001-08-28 ザ リージェンツ オブ ザ ユニバーシティ オブ カリフォルニア プラズモン共鳴粒子、方法、および装置
JP2004069397A (ja) * 2002-08-02 2004-03-04 Nec Corp 分析チップおよび分析装置
WO2005002045A1 (en) * 2003-06-27 2005-01-06 Sige Semiconductor (U.S.), Corp. Integrated power amplifier circuit
JP2005189085A (ja) * 2003-12-25 2005-07-14 Canon Chemicals Inc 光学プローブ及びその製造方法
WO2005078415A1 (ja) * 2004-02-13 2005-08-25 Omron Corporation 表面プラズモン共鳴センサー
WO2005095927A1 (ja) * 2004-03-31 2005-10-13 Omron Corporation 局在プラズモン共鳴センサ及び検査装置
JP2006010515A (ja) * 2004-06-25 2006-01-12 Aisin Seiki Co Ltd 蛍光強度検出装置
JP2007502716A (ja) * 2003-08-18 2007-02-15 エモリー ユニバーシティー 表面増強ラマン分光法(sers)活性複合体ナノ粒子、前記の製造の方法及び前記の使用の方法
JP2008145309A (ja) * 2006-12-12 2008-06-26 Fujifilm Corp 表面プラズモン増強蛍光センサ
JP4851367B2 (ja) * 2007-03-05 2012-01-11 富士フイルム株式会社 ローカルプラズモン増強蛍光センサ

Patent Citations (11)

* Cited by examiner, † Cited by third party
Publication number Priority date Publication date Assignee Title
JPH07174693A (ja) * 1991-06-08 1995-07-14 Hewlett Packard Co <Hp> 生体分子検出方法および装置
JP2001513198A (ja) * 1997-02-20 2001-08-28 ザ リージェンツ オブ ザ ユニバーシティ オブ カリフォルニア プラズモン共鳴粒子、方法、および装置
JP2004069397A (ja) * 2002-08-02 2004-03-04 Nec Corp 分析チップおよび分析装置
WO2005002045A1 (en) * 2003-06-27 2005-01-06 Sige Semiconductor (U.S.), Corp. Integrated power amplifier circuit
JP2007502716A (ja) * 2003-08-18 2007-02-15 エモリー ユニバーシティー 表面増強ラマン分光法(sers)活性複合体ナノ粒子、前記の製造の方法及び前記の使用の方法
JP2005189085A (ja) * 2003-12-25 2005-07-14 Canon Chemicals Inc 光学プローブ及びその製造方法
WO2005078415A1 (ja) * 2004-02-13 2005-08-25 Omron Corporation 表面プラズモン共鳴センサー
WO2005095927A1 (ja) * 2004-03-31 2005-10-13 Omron Corporation 局在プラズモン共鳴センサ及び検査装置
JP2006010515A (ja) * 2004-06-25 2006-01-12 Aisin Seiki Co Ltd 蛍光強度検出装置
JP2008145309A (ja) * 2006-12-12 2008-06-26 Fujifilm Corp 表面プラズモン増強蛍光センサ
JP4851367B2 (ja) * 2007-03-05 2012-01-11 富士フイルム株式会社 ローカルプラズモン増強蛍光センサ

Cited By (14)

* Cited by examiner, † Cited by third party
Publication number Priority date Publication date Assignee Title
JP2010048756A (ja) * 2008-08-25 2010-03-04 Fujifilm Corp 検出方法、検出装置、検出用試料セルおよび検出用キット
JPWO2011096394A1 (ja) * 2010-02-02 2013-06-10 コニカミノルタホールディングス株式会社 アナライト検出プローブおよびこれを用いたアナライトの検出方法
WO2011096394A1 (ja) * 2010-02-02 2011-08-11 コニカミノルタホールディングス株式会社 アナライト検出プローブおよびこれを用いたアナライトの検出方法
JP2015129773A (ja) * 2010-02-02 2015-07-16 コニカミノルタ株式会社 アナライト検出プローブ
JPWO2012008258A1 (ja) * 2010-07-14 2013-09-09 コニカミノルタ株式会社 蛍光検出装置およびこれを用いた蛍光検出方法
JP2012211799A (ja) * 2011-03-31 2012-11-01 Fujifilm Corp 局在プラズモン増強蛍光粒子、局在プラズモン増強蛍光検出用担体、局在プラズモン増強蛍光検出装置および蛍光検出方法
WO2012132384A1 (ja) * 2011-03-31 2012-10-04 富士フイルム株式会社 局在プラズモン増強蛍光粒子、局在プラズモン増強蛍光検出用担体、局在プラズモン増強蛍光検出装置および蛍光検出方法
JP2013002986A (ja) * 2011-06-17 2013-01-07 Fujifilm Corp 蛍光検出装置、蛍光検出用の試料セルおよび蛍光検出方法
JPWO2017082043A1 (ja) * 2015-11-11 2018-08-30 コニカミノルタ株式会社 光学式検体検出システム
US10648914B2 (en) 2015-11-11 2020-05-12 Konica Minolta, Inc. Optical sample detection system
CN106370832A (zh) * 2016-11-09 2017-02-01 苏州呼医疗科技有限公司 智能呼气分子诊断系统
CN106442955A (zh) * 2016-11-09 2017-02-22 苏州呼医疗科技有限公司 智能呼气分子诊断系统的反射式光学检测装置
CN106442955B (zh) * 2016-11-09 2023-05-16 苏州一呼医疗科技有限公司 智能呼气分子诊断系统的反射式光学检测装置
US11604188B2 (en) 2018-03-16 2023-03-14 Panasonic Intellectual Property Management Co., Ltd. Detection apparatus, detection substrate, and detection method

Also Published As

Publication number Publication date
JP5450993B2 (ja) 2014-03-26

Similar Documents

Publication Publication Date Title
JP5152917B2 (ja) 検出方法、検出用試料セルおよび検出用キット
JP5301894B2 (ja) 検出方法
JP5143668B2 (ja) 検出方法、検出用試料セルおよび検出用キット
JP5190945B2 (ja) 検出方法、検出装置、検出用試料セルおよび検出用キット
JP5450993B2 (ja) 検出方法、検出用試料セルおよび検出用キット
JP5180703B2 (ja) 検出方法、検出用試料セルおよび検出用キット
JP5160985B2 (ja) 検出方法、検出装置、検出用試料セルおよび検出用キット
EP2110658B1 (en) Optical signal detection method, sample cell and kit
US8107071B2 (en) Method for detecting molecular analysis light, and apparatus and sample plate for use with the same
US8106368B2 (en) Fluorescence detecting method
JP2010043934A (ja) 検出方法、検出用試料セル、検出用キット及び検出装置
JP2010038624A (ja) 検出方法及び検出装置
JP2010145272A (ja) プラズモン励起センサを用いたアッセイ法
JP2009258034A (ja) 表面プラズモン放射光検出方法および装置、表面プラズモン放射光検出用試料セルおよびキット
JP5315381B2 (ja) 蛍光検出装置、蛍光検出用の試料セルおよび蛍光検出方法
JP2009236709A (ja) 表面プラズモンセンシング方法および表面プラズモンセンシング装置
WO2012132384A1 (ja) 局在プラズモン増強蛍光粒子、局在プラズモン増強蛍光検出用担体、局在プラズモン増強蛍光検出装置および蛍光検出方法
JP2009080011A (ja) 蛍光検出方法
JP2009192259A (ja) センシング装置
JP5563789B2 (ja) 検出方法
JP2009128136A (ja) 蛍光検出方法
JP2006003217A (ja) センサチップ及びそれを用いたセンサ装置
JP5655125B2 (ja) 蛍光検出方法
He et al. Study of cell adhesion and migration by using a plasmon-enhanced total internal reflection fluorescence microscope
JP2013053902A (ja) 表面プラズモン励起増強蛍光分光法を利用して蛍光量を測定する定量分析方法ならびにそれに用いられる定量分析用キットおよびアナライト解離抑制剤

Legal Events

Date Code Title Description
A621 Written request for application examination

Free format text: JAPANESE INTERMEDIATE CODE: A621

Effective date: 20110126

A977 Report on retrieval

Free format text: JAPANESE INTERMEDIATE CODE: A971007

Effective date: 20120829

A131 Notification of reasons for refusal

Free format text: JAPANESE INTERMEDIATE CODE: A131

Effective date: 20120904

A521 Request for written amendment filed

Free format text: JAPANESE INTERMEDIATE CODE: A523

Effective date: 20121105

A131 Notification of reasons for refusal

Free format text: JAPANESE INTERMEDIATE CODE: A131

Effective date: 20130305

TRDD Decision of grant or rejection written
A01 Written decision to grant a patent or to grant a registration (utility model)

Free format text: JAPANESE INTERMEDIATE CODE: A01

Effective date: 20131203

A61 First payment of annual fees (during grant procedure)

Free format text: JAPANESE INTERMEDIATE CODE: A61

Effective date: 20131226

R150 Certificate of patent or registration of utility model

Ref document number: 5450993

Country of ref document: JP

Free format text: JAPANESE INTERMEDIATE CODE: R150

Free format text: JAPANESE INTERMEDIATE CODE: R150

R250 Receipt of annual fees

Free format text: JAPANESE INTERMEDIATE CODE: R250

R250 Receipt of annual fees

Free format text: JAPANESE INTERMEDIATE CODE: R250

R250 Receipt of annual fees

Free format text: JAPANESE INTERMEDIATE CODE: R250

R250 Receipt of annual fees

Free format text: JAPANESE INTERMEDIATE CODE: R250

R250 Receipt of annual fees

Free format text: JAPANESE INTERMEDIATE CODE: R250

R250 Receipt of annual fees

Free format text: JAPANESE INTERMEDIATE CODE: R250

R250 Receipt of annual fees

Free format text: JAPANESE INTERMEDIATE CODE: R250

R250 Receipt of annual fees

Free format text: JAPANESE INTERMEDIATE CODE: R250

R250 Receipt of annual fees

Free format text: JAPANESE INTERMEDIATE CODE: R250