JP2010019152A - 潜熱蓄熱システム - Google Patents

潜熱蓄熱システム Download PDF

Info

Publication number
JP2010019152A
JP2010019152A JP2008179892A JP2008179892A JP2010019152A JP 2010019152 A JP2010019152 A JP 2010019152A JP 2008179892 A JP2008179892 A JP 2008179892A JP 2008179892 A JP2008179892 A JP 2008179892A JP 2010019152 A JP2010019152 A JP 2010019152A
Authority
JP
Japan
Prior art keywords
latent heat
heat storage
storage material
storage system
trigger spring
Prior art date
Legal status (The legal status is an assumption and is not a legal conclusion. Google has not performed a legal analysis and makes no representation as to the accuracy of the status listed.)
Granted
Application number
JP2008179892A
Other languages
English (en)
Other versions
JP5073600B2 (ja
Inventor
Yuichi Hirata
雄一 平田
Takeo Sato
雄生 佐藤
Current Assignee (The listed assignees may be inaccurate. Google has not performed a legal analysis and makes no representation or warranty as to the accuracy of the list.)
Chuo Hatsujo KK
Chuo Spring Co Ltd
Original Assignee
Chuo Hatsujo KK
Chuo Spring Co Ltd
Priority date (The priority date is an assumption and is not a legal conclusion. Google has not performed a legal analysis and makes no representation as to the accuracy of the date listed.)
Filing date
Publication date
Application filed by Chuo Hatsujo KK, Chuo Spring Co Ltd filed Critical Chuo Hatsujo KK
Priority to JP2008179892A priority Critical patent/JP5073600B2/ja
Publication of JP2010019152A publication Critical patent/JP2010019152A/ja
Application granted granted Critical
Publication of JP5073600B2 publication Critical patent/JP5073600B2/ja
Expired - Fee Related legal-status Critical Current
Anticipated expiration legal-status Critical

Links

Images

Landscapes

  • Lubrication Of Internal Combustion Engines (AREA)

Abstract

【課題】潜熱蓄熱材の体積変化を吸収可能な潜熱蓄熱システムを提供することを課題とする。
【解決手段】潜熱蓄熱システム1は、トリガーばね部材2と、潜熱蓄熱材3と、トリガーばね部材2と潜熱蓄熱材3とを収容する収容室7を液密的に区画すると共に、潜熱蓄熱材3の体積変化に応じて変形しにくいケース本体4と、ケース本体4が変形しにくい分を補って潜熱蓄熱材3の体積変化に応じて動くことにより収容室7の体積を変化させる可動壁部500を持つ体積変化吸収装置5と、を有するケース6と、を備えてなる。トリガーばね部材2を変形させ、潜熱蓄熱材3の過冷却状態を解除し、潜熱蓄熱材3から放出される潜熱によりエンジン91の暖機を促進する。
【選択図】図3

Description

本発明は、潜熱蓄熱材から放出される潜熱によりエンジンの暖機を促進する潜熱蓄熱システムに関する。
潜熱蓄熱材は、過冷却状態において、潜熱を蓄熱している。過冷却状態は、潜熱蓄熱材に外部から何らかの刺激を与えることにより、解除される。過冷却状態が解除されると、潜熱蓄熱材は、蓄熱していた潜熱を放出する。特許文献1には、当該潜熱を利用して、エンジンの暖機を促進する潜熱蓄熱システムが開示されている。
図20に、同文献記載の潜熱蓄熱システムの斜視図を示す。図20に示すように、潜熱蓄熱システム100は、ケース101と、磁界発生部102と、を備えている。ケース101は、ステンレス鋼製である。ケース101は、エンジンのシリンダブロックのウォータージャケット内に配置されている。ケース101の内部には、液密的に収容室が区画されている。収容室には、トリガーばね部材と、潜熱蓄熱材と、が収容されている。具体的には、潜熱蓄熱材は、酢酸ナトリウム3水和物(CHCOONa・3H0)である。
エンジン始動時においては、磁界発生部102の磁気吸引力により、トリガーばね部材を弾性変形させる。トリガーばね部材の当該変形により、収容室の潜熱蓄熱材に刺激を与え、潜熱蓄熱材から潜熱を放出させる。潜熱は、ケース101の壁部を介して、ウォータージャケット内を流れる冷却水を加熱する。加熱された冷却水により、エンジンの暖機を促進する。
特開2007−263045号公報
ところで、エンジン始動前の過冷却状態において、潜熱蓄熱材(酢酸ナトリウム3水和物)は、液状(ゲル状を含む)を呈している。エンジン暖機時に過冷却状態が解除されると、潜熱蓄熱材は、液相から固相に相変化する。エンジン暖機後においては、エンジンの燃焼熱により、冷却水の温度は上昇する。このため、高温の冷却水により、潜熱蓄熱材は加熱される。潜熱蓄熱材の温度が融点を超えると、潜熱蓄熱材は固相から液相に相変化する。このように、潜熱蓄熱材の状態は、温度により、液相から固相、あるいは固相から液相に相変化する。そして、潜熱蓄熱材が液相から固相、あるいは固相から液相に相変化する際、潜熱蓄熱材の体積は変化する。
また、固相あるいは液相の単相状態においても、潜熱蓄熱材の体積は、温度変化に伴い変化する。すなわち、温度上昇に伴い、潜熱蓄熱材の体積は大きくなる。一方、温度下降に伴い、潜熱蓄熱材の体積は小さくなる。
しかしながら、ケース101は、ステンレス鋼製である。言い換えると、ケース101は、剛性が高い。このため、収容室の体積は、変化しにくい。したがって、潜熱蓄熱材の体積が変化しても、収容室の体積は、当該変化に追随して変化しにくい。よって、潜熱蓄熱材の体積変化により、潜熱蓄熱材からケース101に、圧力(負圧を含む。)が加わってしまう。
ここで、ケース101に圧力が加わるのを抑制するためには、潜熱蓄熱材の体積変化に追随して、収容室の体積が変化しやすければよい。すなわち、ケース101を、例えば剛性の低い樹脂やゴムなど、変形しやすい材料により、作製すればよい。ところが、潜熱蓄熱システム100は、エンジンの周りに配置される。具体的には、潜熱蓄熱システム100は、冷却水回路やオイル回路などに配置される。このため、潜熱蓄熱システム100には、エンジンからの振動が入力されやすい。したがって、仮に、ケース101が変形しやすいと、エンジンの振動により、ケース101が、冷却水回路やオイル回路において、不規則に、変形あるいは振動してしまうおそれがある。このように、ケース101には、形状保持性が要求される。
本発明の潜熱蓄熱システムは、上記課題に鑑みて完成されたものである。したがって、本発明は、潜熱蓄熱材の体積変化を吸収可能な潜熱蓄熱システムを提供することを目的とする。
(1)上記課題を解決するため、本発明の潜熱蓄熱システムは、弾性的に変形するトリガーばね部材と、過冷却状態を解除することにより潜熱を放出する潜熱蓄熱材と、該トリガーばね部材と該潜熱蓄熱材とを収容する収容室を液密的に区画すると共に、該潜熱蓄熱材の体積変化に応じて変形しにくいケース本体と、該ケース本体が変形しにくい分を補って該潜熱蓄熱材の体積変化に応じて動くことにより該収容室の体積を変化させる可動壁部を持つ体積変化吸収装置と、を有するケースと、を備えてなり、該トリガーばね部材を変形させ、該潜熱蓄熱材の該過冷却状態を解除し、該潜熱蓄熱材から放出される該潜熱によりエンジンの暖機を促進することを特徴とする(請求項1に対応)。ここで、可動壁部が「動く」とは、移動すること、または変形すること、または移動しながら変形することをいう。
本発明の潜熱蓄熱システムによると、ケースに体積変化吸収装置が配置されている。体積変化吸収装置の可動壁部は、自身が動くことにより、潜熱蓄熱材の体積変化に追随して、収容室の体積を変化させることができる。すなわち、相変化による潜熱蓄熱材の体積変化を、収容室の体積を変化させることにより、吸収することができる。また、固相あるいは液相における温度変化に伴う潜熱蓄熱材の体積変化を、収容室の体積を変化させることにより、吸収することができる。
このように、本発明の潜熱蓄熱システムによると、潜熱蓄熱材の体積変化を吸収することができる。このため、潜熱蓄熱材の体積変化によりケース本体が変形しにくいにもかかわらず、潜熱蓄熱材からケース本体に、圧力(負圧を含む。)が加わるおそれが小さい。したがって、収容室の液密性が劣化しにくい。また、収容室の内圧が変化しにくい。このため、トリガーばね部材の性能が内圧変化による影響を受けにくい。
なお、収容室に、潜熱蓄熱材と共に、空気などのガスが封入されている場合(勿論、収容室にガスが全く存在しない場合も、(1)の構成に含まれる。)は、温度変化に伴うガスの体積変化に追随して、収容室の体積を変化させることができる。すなわち、潜熱蓄熱材のみならず、ガスの体積変化までも、吸収することができる。
(1−1)好ましくは、上記(1)の構成において、前記ケースは、前記潜熱蓄熱材を前記収容室に注入する注入口と、該注入口から該収容室に該潜熱蓄熱材を注入する際、該収容室のガスを該ケース外部に逃がすリーク口と、を有する構成とする方がよい。本構成によると、潜熱蓄熱材をケースの収容室に注入する際、リーク口を介して収容室から空気などのガスを抜くことができる。このため、潜熱蓄熱材の注入を、簡単に行うことができる。
(1−2)好ましくは、上記(1)の構成において、前記ケースは、前記エンジンの暖機時においては前記潜熱蓄熱材から該エンジンを循環する冷却水に熱移動可能なように、該エンジンの暖機後においては該冷却水から該潜熱蓄熱材に熱移動可能なように、該エンジンの冷却水回路に配置されている構成とする方がよい。
本構成によると、エンジンの暖機時においては、冷却水を熱媒体として、潜熱蓄熱材の潜熱によりエンジンを暖めることができる。一方、エンジンの暖機後においては、冷却水を熱媒体として、エンジンの燃焼熱により潜熱蓄熱材を暖めることができる。
(1−3)好ましくは、上記(1)の構成において、前記ケースは、前記エンジンの暖機時においては前記潜熱蓄熱材から該エンジンを循環するオイルに熱移動可能なように、該エンジンの暖機後においては該オイルから該潜熱蓄熱材に熱移動可能なように、該エンジンのオイル回路に配置されている構成とする方がよい。
本構成によると、エンジンの暖機時においては、オイル(潤滑油)を熱媒体として、潜熱蓄熱材の潜熱によりエンジンを暖めることができる。一方、エンジンの暖機後においては、オイルを熱媒体として、エンジンの燃焼熱により潜熱蓄熱材を暖めることができる。
(2)好ましくは、上記(1)の構成において、前記可動壁部は、前記収容室において、前記トリガーばね部材から最も離間した部位付近に配置されている構成とする方がよい(請求項2に対応)。ここで、「トリガーばね部材から最も離間した部位」とは、収容室内を通る経路において、トリガーばね部材から最も離間した部位をいう。
潜熱蓄熱材の過冷却状態は、トリガーばね部材を起点に解除される。すなわち、トリガーばね部材付近の潜熱蓄熱材の過冷却状態が解除されると、微小な固相の核が生成する。当該核が隣接する潜熱蓄熱材に接触することで、核周囲の潜熱蓄熱材の過冷却状態が次々と解除される。このようにして、収容室全体の潜熱蓄熱材の過冷却状態が、連鎖反応的に解除される。言い換えると、収容室全体の潜熱蓄熱材が、トリガーばね部材を起点に、液相から固相に連鎖反応的に相変化する。
ここで、仮に、トリガーばね部材付近に可動壁部を配置すると(この場合も、勿論(1)の構成に含まれる。)、言い換えると一番最初に潜熱蓄熱材の過冷却状態が解除される部位付近に可動壁部を配置すると、過冷却状態が解除される際、真っ先に可動壁部付近の潜熱蓄熱材が固化してしまうことになる。このため、収容室の残りの部位における、潜熱蓄熱材の体積変化を、吸収しにくくなる。すなわち、トリガーばね部材から可動壁部を離間させるほど、収容室における、潜熱蓄熱材の体積変化を吸収しやすい部位が大きくなる。
この点、本構成によると、トリガーばね部材から最も離間した部位付近、言い換えると一番最後に潜熱蓄熱材の過冷却状態が解除される部位付近に、可動壁部が配置されている。すなわち、収容室において、潜熱蓄熱材が一番最後に液相から固相に相変化する部位付近に、可動壁部が配置されている。このため、収容室の全体に亘って、円滑に潜熱蓄熱材の体積変化を吸収することができる。
(3)好ましくは、上記(1)の構成において、前記トリガーばね部材は、複数配置されており、前記可動壁部は、前記収容室において、複数の該トリガーばね部材からの距離が略等しい部位付近に配置されている構成とする方がよい(請求項3に対応)。ここで、「複数のトリガーばね部材からの距離が略等しい部位」とは、収容室内を通る経路において、複数のトリガーばね部材からの距離が略等しい部位をいう。
本構成によると、複数のトリガーばね部材からの距離が略等しい部位付近、言い換えると収容室全体において、比較的遅く潜熱蓄熱材の過冷却状態が解除される部位付近に、可動壁部を配置することができる。このため、円滑に潜熱蓄熱材の体積変化を吸収することができる。
また、過冷却状態解除の起点となるトリガーばね部材が、収容室に複数配置されている。このため、迅速に潜熱蓄熱材の過冷却状態を解除することができる。また、複数のトリガーばね部材のうち、少なくとも一つのトリガーばね部材が変形しさえすれば、潜熱蓄熱材の過冷却状態を解除することができる。このため、潜熱蓄熱システムの動作信頼性が高くなる。
(4)好ましくは、上記(3)の構成において、前記可動壁部は、前記収容室において、複数の前記トリガーばね部材から最も離間した部位付近に配置されている構成とする方がよい(請求項4に対応)。ここで、「複数のトリガーばね部材から最も離間した部位」とは、収容室内を通る経路において、複数のトリガーばね部材から最も離間した部位をいう。
本構成によると、上記(2)の構成の場合と同様に、複数のトリガーばね部材から最も離間した部位付近、言い換えると一番最後に潜熱蓄熱材の過冷却状態が解除される部位付近に、可動壁部を配置することができる。このため、収容室の全体に亘って、円滑に潜熱蓄熱材の体積変化を吸収することができる。
(5)好ましくは、上記(1)の構成において、前記可動壁部は、前記収容室において、前記エンジン暖機後に、前記潜熱蓄熱材が最も早く固相から液相に相変化する部位付近に配置されている構成とする方がよい(請求項5に対応)。
本構成によると、エンジン暖機後に、潜熱蓄熱材が最も早く固相から液相に相変化する部位付近、言い換えると潜熱蓄熱材の体積が最初に変化する部位付近に、可動壁部が配置されている。このため、可動壁部は、潜熱蓄熱材の相変化の早い段階から最後に至るまで、潜熱蓄熱材の体積変化を吸収し続けることができる。すなわち、収容室の全体に亘って、円滑に潜熱蓄熱材の体積変化を吸収することができる。
(5−1)好ましくは、上記(5)の構成において、前記ケース本体は、前記エンジンの下方に配置されるオイルパンの上部に配置されており、前記ケース本体の上面には、該エンジンから該オイルパンに戻ってくるオイルが一時的に滞留するオイル貯留用凹部が配置されており、前記可動壁部の少なくとも一部は、該オイル貯留用凹部に収容されている構成とする方がよい。
本構成によると、エンジン暖機後において、エンジンから戻ってくる高温のオイルが、オイル貯留用凹部に一時的に滞留する。このため、可動壁部付近の潜熱蓄熱材を、より迅速に加熱することができる。すなわち、可動壁部付近の潜熱蓄熱材を、より迅速に固相から液相に相変化させることができる。
(6)好ましくは、上記(1)ないし(5)のいずれかの構成において、前記収容室には、80℃以上100℃以下の温度において、該収容室全体の体積を100%として、ガスが3%以上収容されている構成とする方がよい(請求項6に対応)。
ここで、ガスの体積を確定する前提となる収容室の温度範囲を、80℃以上100℃以下としたのは、80℃未満の場合、発核の核となる微小な未溶解物が部分的に残存している場合があり、潜熱蓄熱材の状態が不安定な場合があるからである。一方、100℃超過の場合、100℃が水の沸点に相当し、潜熱蓄熱材の状態が安定しない場合があるからである。
また、ガスの体積を3%以上としたのは、3%未満の場合、ガスは液体や固体と比較して収縮あるいは膨張容易なので、ガスからケース本体に、大きな圧力(負圧を含む。)が加わるおそれが小さいからである。
(7)好ましくは、上記(1)ないし(6)のいずれかの構成において、前記体積変化吸収装置は、ピストン部材、ベローズ部材、弾性部材から選ばれる少なくとも一つである構成とする方がよい(請求項7に対応)。
ピストン部材の可動壁部は、収容室の室内−室外方向に往復動することにより、収容室の体積を変化させることができる。ベローズ部材の可動壁部は、収容室の室内−室外方向に伸縮することにより、収容室の体積を変化させることができる。弾性部材の可動壁部は、収容室の室内−室外方向に弾性変形することにより、収容室の体積を変化させることができる。
これらの部材は、いずれも構造が簡単である。このため、これらの部材のうち、少なくとも一つを体積変化吸収装置として用いると、本構成によると、体積変化吸収装置延いては潜熱蓄熱システムの構造が簡単になる。
本発明によると、潜熱蓄熱材の体積変化を吸収可能な潜熱蓄熱システムを提供することができる。
以下、本発明の潜熱蓄熱システムを車両のエンジン暖機用として具現化した実施の形態について説明する。
<第一実施形態>
[オイル回路]
まず、オイル回路について簡単に説明する。オイル回路は、オイルパン、オイルストレーナ、オイルポンプ、オイルフィルタ、オイルギャラリ等を備えている。オイルパンには、オイルが貯留されている。オイルパン内のオイルは、オイルポンプにより、オイルストレーナから吸い上げられる。吸い上げられたオイルは、オイルフィルタで濾過され、シリンダブロックのオイルギャラリに圧送される。
オイルギャラリに圧送されたオイルの一部は、クランクジャーナル部を潤滑し、クランクシャフト内の油路を通過し、クランクピン部を潤滑し、コンロッドのオイルジェットから噴出され、シリンダやピストンピンを潤滑する。オイルギャラリに圧送されたオイルの他部は、シリンダヘッドに送られる。オイルは、ロッカシャフト内を通過し、ロッカアームやカムシャフトなどの摺動部を潤滑する。各部を潤滑したオイルは、再びオイルパンに戻される。車両には、このようなオイル回路が形成されている。本実施形態の潜熱蓄熱システムは、当該オイル回路のオイルパンに配置されている。
[オイルパンの構成]
次に、本実施形態の潜熱蓄熱システムが配置されているオイルパンの構成について簡単に説明する。図1に、本実施形態の潜熱蓄熱システムとオイルパンとの合体斜視図を示す。図2に、同潜熱蓄熱システムとオイルパンとの分解斜視図を示す。図3に、同潜熱蓄熱システムの透過上面図を示す。
図1〜図3に示すように、本実施形態の潜熱蓄熱システム1は、オイルパン90に収容されている。オイルパン90は、エンジン91の下方に配置されている。上述したように、オイルパン90は、オイル回路の一部を構成している。オイルパン90は、上方に開口する浅底の皿状を呈している。オイルパン90の前縁からは、後方に向かって、ブラケット900Fが突設されている。ブラケット900Fには、ボルト挿通孔901Fが穿設されている。ブラケット900Fの下面には、ナット902Fが溶接されている。オイルパン90の後縁からは、前方に向かって、ブラケット900Rが突設されている。ブラケット900Rには、ボルト挿通孔901Rが穿設されている。ブラケット900Rの下面には、ナット902Rが溶接されている。
[潜熱蓄熱システムの構成]
次に、本実施形態の潜熱蓄熱システムの構成について説明する。潜熱蓄熱システム1は、二つのトリガーばね部材2と、潜熱蓄熱材3と、ケース6と、を備えている。以下、部材ごとに説明する。
(ケース)
ケース6は、ケース本体4と、二つのピストン部材5と、を備えている。ケース本体4は、天板40と、凹部材41と、を備えている。天板40は、ステンレス鋼製であって、長方形板状を呈している。天板40の右縁からは、左方に向かってストレーナ挿通切欠部400が形成されている。天板40の前後両縁付近には、各々、ボルト挿通孔401F、401Rが穿設されている。
凹部材41は、ステンレス鋼製であって、上方に開口する直方体箱状を呈している。凹部材41の開口は、天板40により、液密的に封止されている。凹部材41の開口縁と、天板40下面と、の間には、水素化NBR(ニトリルゴム)製のOリング(図略)が介装されている。凹部材41と天板40とにより、ケース本体4の内部には、本体側収容室42が区画されている。凹部材41の右壁からは、左方に向かって、ストレーナ挿通凹部410が形成されている。ストレーナ挿通凹部410と、天板40のストレーナ挿通切欠部400と、は上下方向に対向している。
凹部材41の前壁からは、後方に向かって、ブラケット収容凹部411Fが形成されている。ブラケット収容凹部411Fには、オイルパン90のブラケット900Fが収容されている。凹部材41の後壁からは、前方に向かって、ブラケット収容凹部411Rが形成されている。ブラケット収容凹部411Rには、オイルパン90のブラケット900Rが収容されている。一対のブラケット収容凹部411F、411Rと、天板40の一対のボルト挿通孔401F、401Rと、は上下方向に対向している。なお、凹部材41の内面には、後述するように、トリガーばね部材2を固定するための、基部が配置されている。
ボルト920Fは、天板40のボルト挿通孔401F、ブラケット900Fのボルト挿通孔901Fを貫通し、ナット902Fにねじ止めされている。ボルト920Rは、天板40のボルト挿通孔401R、ブラケット900Rのボルト挿通孔901Rを貫通し、ナット902Rにねじ止めされている。これらボルト920F、920Rにより、天板40すなわち潜熱蓄熱システム1は、オイルパン90内部の上方部分に固定されている。オイルストレーナは、天板40のストレーナ挿通切欠部400と、凹部材41のストレーナ挿通凹部410と、を貫通し、オイルパン90内部に挿入されている。
(トリガーばね部材)
二つのトリガーばね部材2は、共に、本体側収容室42に収容されている。二つのトリガーばね部材2のうち、一方のトリガーばね部材2は、凹部材41の左壁に配置されている。二つのトリガーばね部材2のうち、他方のトリガーばね部材2は、凹部材41の右壁に配置されている。二つのトリガーばね部材2の構成、動きは、同様である。そこで、以下、凹部材41の左壁に配置されたトリガーばね部材2についてのみ説明する。当該説明は、凹部材41の右壁に配置されたトリガーばね部材2についての説明を、兼ねるものである。
図4に、本実施形態の潜熱蓄熱システムのトリガーばね部材の斜視図を示す。図5に、同トリガーばね部材の梁部の固定端付近の分解斜視図を示す。図6に、同トリガーばね部材の梁部の固定端とばね本体との接続部分の拡大斜視図を示す。図7に、同トリガーばね部材の梁部の自由端付近の分解斜視図を示す。
図4〜図7に示すように、凹部材41の左壁内面には、一対の基部412F、412Rが配置されている。一対の基部412F、412Rは、直方体ブロック状を呈している。一対の基部412F、412Rは、前後方向に所定間隔だけ離間して、配置されている。一つの基部412F、412Rの上面には、各々、ボルト固定孔413F、413Rが凹設されている。
トリガーばね部材2は、ばね本体20と、梁部21と、振動子22と、壁側取付部材23と、収容室側取付部材24と、を備えている。壁側取付部材23は、ステンレス鋼製であって、直方体状を呈している。壁側取付部材23は、凹部材41の左壁内面に沿って配置されている。壁側取付部材23の前面からは、前方に向かって、取付片230Fが突設されている。取付片230Fは、基部412Fの上方に配置されている。取付片230Fには、ボルト挿通孔231Fが穿設されている。ボルト挿通孔231Fは、基部412Fのボルト固定孔413Fの上方に連なっている。壁側取付部材23の後面からは、後方に向かって、取付片230Rが突設されている。取付片230Rは、基部412Rの上方に配置されている。取付片230Rには、ボルト挿通孔231Rが穿設されている。ボルト挿通孔231Rは、基部412Rのボルト固定孔413Rの上方に連なっている。壁側取付部材23には、梁部収容孔232と、四つのボルト固定孔233と、が穿設されている。これら梁部収容孔232、四つのボルト固定孔233は、壁側取付部材23を左右方向に貫通している。梁部収容孔232は、壁側取付部材23の右面(あるいは左面)略中央に配置されている。四つのボルト固定孔233は、壁側取付部材23の右面(あるいは左面)四隅付近に配置されている。
ボルト921Fは、ワッシャリング922F、ボルト挿通孔231Fを貫通し、ボルト固定孔413Fにねじ止めされている。ボルト921Rは、ワッシャリング922R、ボルト挿通孔231Rを貫通し、ボルト固定孔413Rにねじ止めされている。これらボルト921F、921Rにより、壁側取付部材23すなわち潜熱蓄熱システム1は、凹部材41に固定されている。
収容室側取付部材24は、ステンレス鋼製であって、長方形板状を呈している。収容室側取付部材24は、壁側取付部材23の右側に配置されている。壁側取付部材23と収容室側取付部材24との間には、後述するばね本体20が介装されている。収容室側取付部材24には、凸部収容孔242と、四つのボルト挿通孔243と、が穿設されている。これら凸部収容孔242、四つのボルト挿通孔243は、収容室側取付部材24を左右方向に貫通している。凸部収容孔242は、収容室側取付部材24の右面(あるいは左面)略中央に配置されている。四つのボルト挿通孔243は、収容室側取付部材24の右面(あるいは左面)四隅付近に配置されている。
ばね本体20は、ステンレス鋼製であって、長方形の薄板状を呈している。ばね本体20は、壁側取付部材23と収容室側取付部材24との間に、介装されている。ばね本体20の右面には、円形の凸部200が形成されている。凸部200は、収容室側取付部材24の凸部収容孔242の、径方向内側に収容されている。凸部200の略中央には、梁部固定孔202が穿設されている。梁部固定孔202の前後両側には、各々三列ずつ、溝部201が形成されている。溝部201は、上下方向に延在している。合計六列の溝部201は、前後方向に略平行に並んでいる。ばね本体20には、四つのボルト挿通孔203が穿設されている。四つのボルト挿通孔203は、ばね本体20を左右方向に貫通している。四つのボルト挿通孔203は、ばね本体20の右面(あるいは左面)四隅付近に配置されている。
収容室側取付部材24の凸部収容孔242と、ばね本体20の凸部200と、壁側取付部材23の梁部収容孔232と、は左右方向に対向している。また、収容室側取付部材24の四つのボルト挿通孔243と、ばね本体20の四つのボルト挿通孔203と、壁側取付部材23の四つのボルト固定孔233と、は左右方向に対向している。四本のボルト923は、四つのボルト挿通孔243および四つのボルト挿通孔203を貫通し、四つのボルト固定孔233にねじ止めされている。これら四本のボルト923により、ばね本体20が、壁側取付部材23と収容室側取付部材24との間に、挟持、固定されている。
梁部21は、ステンレス鋼製であって、丸棒状を呈している。すなわち、梁部21の短手方向(左右方向に対して略直交する面方向)断面は、略真円状を呈している。梁部21のばね定数は、ばね本体20のばね定数よりも、大きい。梁部21は、左右方向に延在している。梁部21は、固定端210と、自由端211と、を備えている。固定端210は、ばね本体20の梁部固定孔202に固定されている。具体的には、ばね本体20の左右両側には、一対のナット924が配置されている。固定端210は、梁部固定孔202と一対のナット924とを、一方のナット924−梁部固定孔202−他方のナット924の順に、貫通している。一対のナット924で左右方向からばね本体20を挟持することにより、固定端210は、ばね本体20の梁部固定孔202に固定されている。
振動子22は、ステンレス鋼製であって、直方体状を呈している。振動子22は、梁部21の自由端211付近に、配置されている。振動子22は、梁部21に対して、脱着可能である。また、振動子22は、梁部21に対して、加除可能である。なお、本実施形態においては、四つの振動子22を梁部21に配置している。また、振動子22は、梁部21の長手方向(左右方向)に、移動可能である。振動子22には、梁部挿通孔220と、横ねじ固定孔221と、が穿設されている。梁部挿通孔220は、振動子22を左右方向に貫通している。梁部挿通孔220には、梁部21が挿通されている。横ねじ固定孔221は、振動子22の上面に凹設されている。横ねじ固定孔221は、梁部挿通孔220の左右方向中央部分に連通している。すなわち、横ねじ固定孔221と梁部挿通孔220とは、上下逆のT字状に連なっている。横ねじ固定孔221には、上方から横ねじ925が挿入される。横ねじ固定孔221と梁部挿通孔220とのT字接続部において、横ねじ925の先端は梁部21の外周面に圧接する。横ねじ925が梁部21に圧接することにより、振動子22は梁部21に堅固に固定されている。
(ピストン部材)
二つのピストン部材5は、共に、ケース本体4の天板40の上面に配置されている。二つのピストン部材5のうち、一方のピストン部材5は、天板40の前方右側に配置されている。二つのピストン部材5のうち、他方のピストン部材5は、天板40の後方、左右方向略中央に配置されている。二つのピストン部材5の構成、動きは、同様である。そこで、以下、天板40の前方右側に配置されたピストン部材5についてのみ説明する。当該説明は、天板40の後方、左右方向略中央に配置されたピストン部材5についての説明を、兼ねるものである。
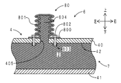
図8に、本実施形態の潜熱蓄熱システムのピストン部材付近の断面斜視図を示す。図9に同潜熱蓄熱システムのピストン部材付近の分解斜視図を示す。図8、図9に示すように、ピストン部材5は、ピストン本体50と、シリンダ部材51と、端板52と、を備えている。
シリンダ部材51は、ステンレス鋼製であって、直方体状を呈している。シリンダ部材51は、天板40に溶接されている。具体的には、天板40には貫通孔405が穿設されている。シリンダ部材51は、当該貫通孔405を塞ぐように、天板40に配置されている。シリンダ部材51には、ピストン本体移動室510と、連通孔511と、が区画されている。ピストン本体移動室510の内部空間は、左右方向に延在する円柱状を呈している。ピストン本体移動室510は、右方に開口している。連通孔511は、ピストン本体移動室510の左端と、天板40の貫通孔405と、をL字状に連通している。
ピストン本体50は、ヘッド部500と、シャフト部501と、を備えている。ヘッド部500は、ステンレス鋼製であって、短軸円柱状を呈している。ヘッド部500は、本発明の可動壁部に含まれる。ヘッド部500は、ピストン本体移動室510に収容されている。ヘッド部500は、ピストン本体移動室510内を左右方向に往復動可能である。ヘッド部500の外周面には、二列のリング溝が周設されている。二列のリング溝には、各々、水素化NBR製のOリング502が環装されている。ピストン本体移動室510におけるヘッド部500左端面よりも左側部分には、ピストン側収容室512が配置されている。当該ピストン側収容室512と、連通孔511と、貫通孔405と、本体側収容室42とにより、ケース6に収容室7が形成されている。収容室7の体積は、ピストン本体移動室510内をヘッド部500が動くことにより、変化する。収容室7には、後述する潜熱蓄熱材3が収容されている。並びに、収容室7には、収容室7全体の体積を100%として、空気が3%収容されている(ただし、80℃以上100℃以下の場合)。シャフト部501は、小径丸棒状を呈している。シャフト部501は、ヘッド部500の右端面に取り付けられている。シャフト部501は、ヘッド部500から右方に延在している。
端板52は、ステンレス鋼製であって、長方形板状を呈している。端板52は、シリンダ部材51の右端面に、スクリュー520を介して、固定されている。端板52は、ピストン本体移動室510の右端開口を封止している。端板52の略中央には、シャフト部挿通孔521が穿設されている。シャフト部挿通孔521には、シャフト部501が、左右方向に往復動可能に、挿通されている。
(潜熱蓄熱材)
潜熱蓄熱材3は、収容室7に液密的に収容されている。潜熱蓄熱材3は、酢酸ナトリウム3水和物(CHCOONa・3H0)である。潜熱蓄熱材3の融点は、58℃である。潜熱蓄熱材3は、−20℃〜−30℃程度の温度でも、過冷却状態を保持することができる。潜熱蓄熱材3は、融点以下の温度で、かつ過冷却状態でない場合、固相を呈している。潜熱蓄熱材3は、融点以下の温度で、かつ過冷却状態の場合、液相(ゲル状を含む)を呈している。潜熱蓄熱材3は、融点を越える温度で、液相を呈している。
[潜熱蓄熱システムの動き]
次に、本実施形態の潜熱蓄熱システム1の動きについて説明する。エンジン91始動前においては、収容室7の潜熱蓄熱材3は、過冷却状態である。潜熱蓄熱材3は、液状を呈している。
エンジン91を始動させると、始動に伴い、エンジン91は特有の方向に振動する。なお、本実施形態では、説明の便宜上、エンジン91始動時において、エンジン91は、前後方向に振動するものと仮定する。ここで、トリガーばね部材2の固有振動数は、エンジン91の振動数(例えば、5〜15Hz程度)に略共振するように、調整されている。このため、エンジン91の振動に伴い、ケース6つまりばね本体20に対して、梁部21および振動子22も、相対的に振動する。
図10に、図3の枠X内の拡大図を示す。図11に、本実施形態の潜熱蓄熱システムの過冷却状態(液相)におけるピストン部材付近の断面図を示す。図12に、同潜熱蓄熱システムの過冷却状態解除後(固相)におけるピストン部材付近の断面図を示す。図10においては、無振動時のトリガーばね部材2を太線で、前方振動時のトリガーばね部材2を細線(実線)で、後方振動時のトリガーばね部材2を細線(点線)で、それぞれ示す。
図10に示すように、エンジン91の振動に伴い、梁部21および振動子22は、梁部21の固定端210を中心に、前後方向に揺動する。すなわち、梁部21および振動子22は、ばね本体20の凸部200の略中心を支点として、前後方向に振動する。このため、梁部21および振動子22の振動に伴い、凸部200は変形する。凸部200が変形すると、溝部201(図6参照)の溝幅が拡縮する。当該拡縮により、溝部201近傍の潜熱蓄熱材3の過冷却状態が解除される。そして、過冷却状態の解除後に、微小な固相の核が生成する。当該核が隣接する潜熱蓄熱材3に接触することで、核周囲の潜熱蓄熱材3の過冷却状態が次々と解除される。このようにして、収容室7に収容された潜熱蓄熱材3の過冷却状態が、ばね本体20を起点に、連鎖反応的に解除される。言い換えると、収容室7に収容された潜熱蓄熱材3は、ばね本体20を起点に、連鎖反応的に、液相から固相に相変化する。相変化に伴い、潜熱蓄熱材3の体積は小さくなる。このため、図11→図12に示すように、ピストン部材5のピストン本体50は、自動的に左方に移動する。したがって、ピストン側収容室512の体積は小さくなる。このように、潜熱蓄熱材3が、液相から固相に相変化する場合は、潜熱蓄熱材3の体積が小さくなるのに追従して、ピストン側収容室512つまり収容室7の体積が自動的に小さくなる。
過冷却状態の解除に伴い、潜熱蓄熱材3からは潜熱が放出される。潜熱は、ケース本体4の壁部を介して、オイルパン90のオイルを加熱する。潜熱により加熱されたオイルは、オイル回路を循環する。当該オイルにより、エンジン91の各部が速やかに暖められる。すなわち、エンジン91の暖機が促進される。過冷却状態解除後の潜熱蓄熱材3は、固相を呈している。
エンジン91の暖機が完了し、通常運転状態になると、エンジン91の温度は、燃焼熱により上昇する。そして、エンジン91の温度は、潜熱蓄熱材3の融点を上回る。このため、通常運転時においては、潜熱蓄熱材3の融点よりも高温のオイルが、エンジン91からオイルパン90に戻ってくる。具体的には、図3に点線円で示すように、オイルは、エンジン91から、オイルパン90の合計五箇所のリターン部Rに流れ落ちる。ここで、左右方向中央の二つのリターン部Rには、二つのピストン部材5が配置されている。このため、ピストン部材5のピストン側収容室512、および連通孔511、ケース本体4の貫通孔405、および本体側収容室42の貫通孔405付近に滞留している潜熱蓄熱材3は、高温のオイルにより、真っ先に加熱される。このため、潜熱蓄熱材3は、リターン部Rに近い部分から、固相から液相に相変化する。相変化に伴い、潜熱蓄熱材3の体積は大きくなる。このため、図12→図11に示すように、ピストン部材5のピストン本体50は、自動的に右方に移動する。すなわち、ピストン側収容室512の体積は大きくなる。このように、潜熱蓄熱材3が、固相から液相に相変化する場合は、潜熱蓄熱材3の体積が大きくなるのに追従して、ピストン側収容室512つまり収容室7の体積が自動的に大きくなる。最終的には、潜熱蓄熱材3は、収容室7の全体に亘って、融点を超える温度にまで加熱される。このため、潜熱蓄熱材3は、収容室7の全体に亘って、固相から液相に相変化する。
通常運転時においては、収容室7全体の潜熱蓄熱材3が固相から液相に相変化した後も、オイルの温度はさらに上昇し続ける。このため、潜熱蓄熱材3は、液相に相変化した後も、さらにオイルにより加熱される。したがって、潜熱蓄熱材3の体積は、大きくなる。この場合、図11に示すように、ピストン部材5のピストン本体50は、自動的に右方に移動する。すなわち、ピストン側収容室512の体積は大きくなる。このように、潜熱蓄熱材3が、液相において熱膨張する場合は、潜熱蓄熱材3の体積が大きくなるのに追従して、ピストン側収容室512つまり収容室7の体積が自動的に大きくなる。
エンジン91を停止すると、エンジン91の温度は、外気温に応じて低下する。このため、オイルパン90のオイルや潜熱蓄熱材3の温度も低下する。したがって、潜熱蓄熱材3の体積は小さくなり、ピストン部材5のピストン本体50は左方に移動する。ここで、潜熱蓄熱材3の温度が融点を下回っても、潜熱蓄熱材3は液相から固相に変化しない。すなわち、潜熱蓄熱材3は、潜熱を蓄熱したまま、過冷却液体(過冷却状態)として保持される。
以上説明したように、本実施形態の潜熱蓄熱システム1の潜熱蓄熱材3は、エンジン91始動時において、潜熱を放出し(液相→固相に相変化し)、エンジン91の暖機を促進する。続いて、通常走行時において、エンジン91により加熱され、固相→液相に相変化する。並びに、液相のまま熱膨張する。続いて、エンジン91停止後において、潜熱蓄熱材3は、外気温に応じて冷却され、過冷却液体となる。そして、再びエンジン91始動時において、潜熱蓄熱材3は、潜熱を放出し、エンジン91の暖機を促進する。
[作用効果]
次に、本実施形態の潜熱蓄熱システム1の作用効果について説明する。本実施形態の潜熱蓄熱システム1によると、ケース6にピストン部材5が配置されている。ピストン部材5のヘッド部500は、自身が動くことにより、潜熱蓄熱材3の体積変化に追随して、ピストン側収容室512の体積を変化させることができる。すなわち、相変化による潜熱蓄熱材3の体積変化を、ピストン側収容室512の体積を変化させることにより、吸収することができる。また、固相あるいは液相における温度変化に伴う潜熱蓄熱材3の体積変化を、ピストン側収容室512の体積を変化させることにより、吸収することができる。
このように、本実施形態の潜熱蓄熱システム1によると、潜熱蓄熱材3の体積変化を吸収することができる。このため、潜熱蓄熱材3の体積変化によりケース本体4が変形しにくいにもかかわらず、潜熱蓄熱材3からケース本体4に、圧力(負圧を含む。)が加わるおそれが小さい。このため、収容室7の液密性が劣化しにくい。
また、本実施形態の潜熱蓄熱システム1によると、収容室7には、収容室7全体の体積を100%として、空気が3%収容されている。このため、温度変化に伴う空気の体積変化に追随して、収容室7の体積を変化させることができる。すなわち、潜熱蓄熱材3のみならず、空気の体積変化までも、吸収することができる。
また、本実施形態の潜熱蓄熱システム1によると、図3に示すように、ピストン部材5つまりヘッド部500がリターン部Rに配置されている。すなわち、ヘッド部500が、収容室7において、エンジン91暖機後に、潜熱蓄熱材3が最も早く固相から液相に相変化する部位付近に配置されている。このため、ヘッド部500は、潜熱蓄熱材3の相変化の早い段階から動くことができる。すなわち、ヘッド部500は、潜熱蓄熱材3の相変化の早い段階から最後に至るまで、潜熱蓄熱材3の体積変化を吸収し続けることができる。したがって、収容室7の全体に亘って、円滑に潜熱蓄熱材3の体積変化を吸収することができる。また、本実施形態の潜熱蓄熱システム1によると、収容室7の内圧が変化しにくい。このため、内圧変化による影響を、トリガーばね部材2が受けにくい。
また、本実施形態の潜熱蓄熱システム1によると、過冷却状態解除の起点となるトリガーばね部材2が、収容室7に二つ配置されている。このため、迅速に潜熱蓄熱材3の過冷却状態を解除することができる。また、二つのトリガーばね部材2のうち、少なくとも一つのトリガーばね部材2が変形しさえすれば、潜熱蓄熱材3の過冷却状態を解除することができる。このため、潜熱蓄熱システム1の動作信頼性が高くなる。
<第二実施形態>
本実施形態の潜熱蓄熱システムと、第一実施形態の潜熱蓄熱システムと、の相違点は、ケース本体の天板に、オイル貯留用凹部が配置されている点である。したがって、ここでは相違点についてのみ説明する。
図13に、本実施形態の潜熱蓄熱システムの透過上面図を示す。なお、図3と対応する部位については、同じ符号で示す。図13に示すように、天板40には、二つのオイル貯留用凹部406が凹設されている。二つのオイル貯留用凹部406は、リターン部Rに配置されている。二つのオイル貯留用凹部406には、二つのピストン部材5が収容されている。また、二つのオイル貯留用凹部406には、図13にハッチングで示すように、エンジンからオイルパン90に戻ってきた高温のオイルOが、一時的に貯留されている。二つのピストン部材5の構成、動きは、同様である。そこで、以下、天板40の前方右側に配置されたピストン部材5についてのみ説明する。当該説明は、天板40の後方、左右方向略中央に配置されたピストン部材5についての説明を、兼ねるものである。
図14に、同潜熱蓄熱システムのピストン部材付近の断面斜視図を示す。なお、図8と対応する部位については、同じ符号で示す。図14に示すように、オイル貯留用凹部406には、ピストン部材5の下方部分が収容されている。ピストン部材5の下方部分は、高温のオイルOに浸漬している。
本実施形態の潜熱蓄熱システム1は、構成が共通する部分に関しては、第一実施形態の潜熱蓄熱システムと、同様の作用効果を有する。また、本実施形態の潜熱蓄熱システム1によると、エンジンで加熱された高温のオイルOに、ピストン部材5の下方部分、つまりヘッド部500の下方部分が、浸漬している。このため、エンジン暖機後に、ヘッド部500付近の潜熱蓄熱材3を、いち早く固相から液相に相変化させることができる。したがって、ヘッド部500を、エンジン暖機後の早い段階から動かすことができる。
<第三実施形態>
本実施形態の潜熱蓄熱システムと、第一実施形態の潜熱蓄熱システムと、の相違点は、ピストン部材が一つだけ配置されている点である。したがって、ここでは相違点についてのみ説明する。
図15に、本実施形態の潜熱蓄熱システムの透過上面図を示す。なお、図3と対応する部位については、同じ符号で示す。図15に示すように、ピストン部材5は、天板40上面の右上隅に、一つだけ配置されている。ピストン部材5のヘッド部500は、収容室7において、二つのトリガーばね部材2から最も離間した部位付近に配置されている。収容室7における、一方のトリガーばね部材2からピストン部材5のヘッド部500までの距離L1と、他方のトリガーばね部材2からピストン部材5のヘッド部500までの距離L2と、は略等しくなるように設定されている。
本実施形態の潜熱蓄熱システム1は、構成が共通する部分に関しては、第一実施形態の潜熱蓄熱システムと、同様の作用効果を有する。また、本実施形態の潜熱蓄熱システム1によると、二つのトリガーばね部材2からの距離L1、L2が略等しい部位付近であって、かつ二つのトリガーばね部材2から最も離間した部位付近、言い換えると一番最後に潜熱蓄熱材3の過冷却状態が解除される部位付近に、ピストン部材5のヘッド部500が配置されている。すなわち、収容室7において、潜熱蓄熱材3が一番最後に液相から固相に相変化する部位付近に、ピストン部材5のヘッド部500が配置されている。このため、収容室7の全体に亘って、円滑に潜熱蓄熱材3の体積変化を吸収することができる。
<第四実施形態>
本実施形態の潜熱蓄熱システムと、第一実施形態の潜熱蓄熱システムと、の相違点は、ピストン部材の代わりにベローズ部材が配置されている点である。したがって、ここでは相違点についてのみ説明する。
図16に、本実施形態の潜熱蓄熱システムの過冷却状態(液相)におけるベローズ部材付近の断面図を示す。なお、図11と対応する部位については、同じ符号で示す。図17に、同潜熱蓄熱システムの過冷却状態解除後(固相)におけるベローズ部材付近の断面図を示す。なお、図12と対応する部位については、同じ符号で示す。
図16、図17に示すように、ベローズ部材80は、全体として下方に開口する袋状を呈している。ベローズ部材80の内部には、ベローズ側収容室804が区画されている。ベローズ側収容室804、貫通孔405、本体側収容室42により、収容室7が形成されている。
ベローズ部材80は、金属製であって、フランジ部800と、伸縮部801と、を備えている。フランジ部800はリング状であって、天板40の貫通孔405を囲んでいる。フランジ部800は、ボルト802、ナット803により、天板40に固定されている。フランジ部800下面と天板40上面との間には、水素化NBR製のOリング(図略)が介装されている。
伸縮部801は、蛇腹円筒状を呈している。伸縮部801は、本発明の可動壁部に含まれる。伸縮部801は、フランジ部800の上方に配置されている。伸縮部801は、上下方向に伸縮可能である。すなわち、ベローズ側収容室804は、上下方向に体積変化可能である。
相変化や熱膨張などにより潜熱蓄熱材3が体積変化すると、当該体積変化に追随して伸縮部801が伸縮する。このため、ベローズ側収容室804、つまり収容室7の体積を変化させることができる。
本実施形態の潜熱蓄熱システム1は、構成が共通する部分に関しては、第一実施形態の潜熱蓄熱システムと、同様の作用効果を有する。また、ベローズ部材80はピストン部材よりも部品構成が簡単である。このため、動作信頼性が高い。また、ピストン部材のように、ピストン側収容室とヘッド部との間のシール性を考慮する必要がない。このため、メンテナンスが容易である。
<第五実施形態>
本実施形態の潜熱蓄熱システムと、第一実施形態の潜熱蓄熱システムと、の相違点は、ピストン部材の代わりに弾性部材が配置されている点である。したがって、ここでは相違点についてのみ説明する。
図18に、本実施形態の潜熱蓄熱システムの過冷却状態(液相)における弾性部材付近の断面図を示す。なお、図11と対応する部位については、同じ符号で示す。図19に、同潜熱蓄熱システムの過冷却状態解除後(固相)における弾性部材付近の断面図を示す。なお、図12と対応する部位については、同じ符号で示す。
図18、図19に示すように、弾性部材81は、ゴム製であって円形の膜状を呈している。弾性部材81は、本発明の可動壁部に含まれる。弾性部材81は、天板40の貫通孔405を封止している。具体的には、弾性部材81は、貫通孔405の口縁に、加硫接着されている。弾性部材81は、弾性的に、上下方向に凹凸変形可能である。
相変化や熱膨張などにより潜熱蓄熱材3が体積変化すると、当該体積変化に追随して弾性部材81が凸状あるいは凹状に弾性変形する。このため、収容室7の体積を変化させることができる。
本実施形態の潜熱蓄熱システム1は、構成が共通する部分に関しては、第一実施形態の潜熱蓄熱システムと、同様の作用効果を有する。また、弾性部材81はピストン部材よりも部品構成が簡単である。このため、動作信頼性が高い。また、ピストン部材のように、ピストン側収容室とヘッド部との間のシール性を考慮する必要がない。このため、メンテナンスが容易である。
<その他>
以上、本発明の潜熱蓄熱システムの実施の形態について説明した。しかしながら、実施の形態は上記形態に特に限定されるものではない。当業者が行いうる種々の変形的形態、改良的形態で実施することも可能である。
例えば、ケース本体4に、潜熱蓄熱材3を本体側収容室42に注入する注入口と、本体側収容室42の空気をケース本体4外部に逃がすリーク口と、を配置してもよい。こうすると、潜熱蓄熱材3を本体側収容室42に注入する際、リーク口を介して本体側収容室42から空気を抜くことができる。このため、潜熱蓄熱材3の注入を、簡単に行うことができる。
また、上記実施形態においては、潜熱蓄熱システム1をオイルパン90に配置したが、潜熱蓄熱システム1をオイル回路を構成する各部材(オイルポンプ、オイルフィルタ、オイルギャラリ等)付近に配置してもよい。
また、潜熱蓄熱システム1をエンジン91の冷却水回路に配置してもよい。具体的には、潜熱蓄熱システム1を、冷却水回路を構成する各部材(ウォータージャケット、ウォーターポンプ、ウォーターパイプ等)付近に配置してもよい。こうすると、潜熱蓄熱材3と冷却水との間で、熱交換を行うことができる。すなわち、冷却水を加熱することにより、エンジン91の暖機を促進することができる。
また、ケース本体4に、液密性を確保したまま、窓部を配置してもよい。例えば、ケース本体4の天板40や凹部材41に長方形状の窓枠を開設し、水素化NBR製などのシールリングを介して、当該窓枠に強化ガラスを嵌め込んでもよい。こうすると、ケース本体4外部から本体側収容室42を視認することができる。このため、ケース本体4外部から、潜熱蓄熱材3の状態やトリガーばね部材2の作動などをチェックすることができる。
また、ケース本体4に対するトリガーばね部材2の配置数、配置場所も特に限定しない。また、オイル回路あるいは冷却水回路に対する潜熱蓄熱システム1の配置数、配置場所も特に限定しない。また、ケース本体4に対するピストン部材5、ベローズ部材80、弾性部材81の配置数、配置場所も特に限定しない。
また、潜熱蓄熱材3の種類も特に限定しない。酢酸ナトリウム3水和物(CHCOONa・3H0)の他、チオ硫酸ナトリウム5水和物(Na・5HO)、パラフィン(C2246)などを用いてもよい。また、相変化温度を調整するために、潜熱蓄熱材3に融点調整剤を添加してもよい。また、上記実施形態においては、ボルト920F、920Rによりケース本体4をオイルパン90に固定したが、ケース本体4をオイルパン90に溶接してもよい。また、トリガーばね部材2の種類も特に限定しない。電気式あるいは磁気式のアクチュエータにより駆動するトリガーばね部材を用いてもよい。
また、第二実施形態におけるオイル貯留用凹部406の形状も特に限定しない。オイル貯留用凹部406は、例えば、天板40上面を蛇行する溝状であってもよい。また、第四実施形態においては、ベローズ部材80をボルト802、ナット803により、天板40に固定した。しかしながら、ベローズ部材80を溶接により天板40に固定してもよい。
また、上記実施形態においては、液相から固相に変化する際に体積が小さくなり、固相から液相に変化する際に体積が大きくなる潜熱蓄熱材3を用いたが(図11、図12、図16〜図19参照)、液相から固相に変化する際に体積が大きくなり、固相から液相に変化する際に体積が小さくなる潜熱蓄熱材を用いてもよい。
第一実施形態の潜熱蓄熱システムとオイルパンとの合体斜視図である。 同潜熱蓄熱システムとオイルパンとの分解斜視図である。 同潜熱蓄熱システムの透過上面図である。 同潜熱蓄熱システムのトリガーばね部材の斜視図である。 同トリガーばね部材の梁部の固定端付近の分解斜視図である。 同トリガーばね部材の梁部の固定端とばね本体との接続部分の拡大斜視図である。 同トリガーばね部材の梁部の自由端付近の分解斜視図である。 同潜熱蓄熱システムのピストン部材付近の断面斜視図である。 同潜熱蓄熱システムのピストン部材付近の分解斜視図である。 図3の枠X内の拡大図である。 同潜熱蓄熱システムの過冷却状態におけるピストン部材付近の断面図である。 同潜熱蓄熱システムの過冷却状態解除後におけるピストン部材付近の断面図である。 第二実施形態の潜熱蓄熱システムの透過上面図である。 同潜熱蓄熱システムのピストン部材付近の断面斜視図である。 第三実施形態の潜熱蓄熱システムの透過上面図である。 第四実施形態の潜熱蓄熱システムの過冷却状態におけるベローズ部材付近の断面図である。 同潜熱蓄熱システムの過冷却状態解除後におけるベローズ部材付近の断面図である。 第五実施形態の潜熱蓄熱システムの過冷却状態における弾性部材付近の断面図である。 同潜熱蓄熱システムの過冷却状態解除後における弾性部材付近の断面図である。 従来の潜熱蓄熱システムの斜視図である。
符号の説明
1:潜熱蓄熱システム、2:トリガーばね部材、3:潜熱蓄熱材、4:ケース本体、5:ピストン部材、6:ケース、7:収容室。
20:ばね本体、21:梁部、22:振動子、23:壁側取付部材、24:収容室側取付部材、40:天板、41:凹部材、42:本体側収容室、50:ピストン本体、51:シリンダ部材、52:端板、80:ベローズ部材、81:弾性部材(可動壁部)、90:オイルパン、91:エンジン。
200:凸部、201:溝部、202:梁部固定孔、203:ボルト挿通孔、210:固定端、211:自由端、220:梁部挿通孔、221:固定孔、230F:取付片、230R:取付片、231F:ボルト挿通孔、231R:ボルト挿通孔、232:梁部収容孔、233:ボルト固定孔、242:凸部収容孔、243:ボルト挿通孔、400:ストレーナ挿通切欠部、401F:ボルト挿通孔、401R:ボルト挿通孔、405:貫通孔、406:オイル貯留用凹部、410:ストレーナ挿通凹部、411F:ブラケット収容凹部、411R:ブラケット収容凹部、412F:基部、412R:基部、413F:ボルト固定孔、413R:ボルト固定孔、500:ヘッド部(可動壁部)、501:シャフト部、502:Oリング、510:ピストン本体移動室、511:連通孔、512:ピストン側収容室、520:スクリュー、521:シャフト部挿通孔、800:フランジ部、801:伸縮部(可動壁部)、802:ボルト、803:ナット、804:ベローズ側収容室、900F:ブラケット、900R:ブラケット、901F:ボルト挿通孔、901R:ボルト挿通孔、902F:ナット、902R:ナット、920F:ボルト、920R:ボルト、921F:ボルト、921R:ボルト、922F:ワッシャリング、922R:ワッシャリング、923:ボルト、924:ナット、O:オイル、R:リターン部。

Claims (7)

  1. 弾性的に変形するトリガーばね部材と、
    過冷却状態を解除することにより潜熱を放出する潜熱蓄熱材と、
    該トリガーばね部材と該潜熱蓄熱材とを収容する収容室を液密的に区画すると共に、該潜熱蓄熱材の体積変化に応じて変形しにくいケース本体と、該ケース本体が変形しにくい分を補って該潜熱蓄熱材の体積変化に応じて動くことにより該収容室の体積を変化させる可動壁部を持つ体積変化吸収装置と、を有するケースと、
    を備えてなり、
    該トリガーばね部材を変形させ、該潜熱蓄熱材の該過冷却状態を解除し、該潜熱蓄熱材から放出される該潜熱によりエンジンの暖機を促進する潜熱蓄熱システム。
  2. 前記可動壁部は、前記収容室において、前記トリガーばね部材から最も離間した部位付近に配置されている請求項1に記載の潜熱蓄熱システム。
  3. 前記トリガーばね部材は、複数配置されており、
    前記可動壁部は、前記収容室において、複数の該トリガーばね部材からの距離が略等しい部位付近に配置されている請求項1に記載の潜熱蓄熱システム。
  4. 前記可動壁部は、前記収容室において、複数の前記トリガーばね部材から最も離間した部位付近に配置されている請求項3に記載の潜熱蓄熱システム。
  5. 前記可動壁部は、前記収容室において、前記エンジン暖機後に、前記潜熱蓄熱材が最も早く固相から液相に相変化する部位付近に配置されている請求項1に記載の潜熱蓄熱システム。
  6. 前記収容室には、80℃以上100℃以下の温度において、該収容室全体の体積を100%として、ガスが3%以上収容されている請求項1ないし請求項5のいずれかに記載の潜熱蓄熱システム。
  7. 前記体積変化吸収装置は、ピストン部材、ベローズ部材、弾性部材から選ばれる少なくとも一つである請求項1ないし請求項6のいずれかに記載の潜熱蓄熱システム。
JP2008179892A 2008-07-10 2008-07-10 潜熱蓄熱システム Expired - Fee Related JP5073600B2 (ja)

Priority Applications (1)

Application Number Priority Date Filing Date Title
JP2008179892A JP5073600B2 (ja) 2008-07-10 2008-07-10 潜熱蓄熱システム

Applications Claiming Priority (1)

Application Number Priority Date Filing Date Title
JP2008179892A JP5073600B2 (ja) 2008-07-10 2008-07-10 潜熱蓄熱システム

Publications (2)

Publication Number Publication Date
JP2010019152A true JP2010019152A (ja) 2010-01-28
JP5073600B2 JP5073600B2 (ja) 2012-11-14

Family

ID=41704312

Family Applications (1)

Application Number Title Priority Date Filing Date
JP2008179892A Expired - Fee Related JP5073600B2 (ja) 2008-07-10 2008-07-10 潜熱蓄熱システム

Country Status (1)

Country Link
JP (1) JP5073600B2 (ja)

Cited By (2)

* Cited by examiner, † Cited by third party
Publication number Priority date Publication date Assignee Title
WO2011125231A1 (ja) * 2010-04-07 2011-10-13 トヨタ自動車株式会社 車両用制動装置
CN110397541A (zh) * 2018-04-25 2019-11-01 丰田自动车株式会社 车辆用预热系统

Citations (2)

* Cited by examiner, † Cited by third party
Publication number Priority date Publication date Assignee Title
JP2007056694A (ja) * 2005-08-22 2007-03-08 Toyota Motor Corp 内燃機関の暖機装置
JP2007182834A (ja) * 2006-01-10 2007-07-19 Toyota Motor Corp シリンダブロックの冷却構造

Patent Citations (2)

* Cited by examiner, † Cited by third party
Publication number Priority date Publication date Assignee Title
JP2007056694A (ja) * 2005-08-22 2007-03-08 Toyota Motor Corp 内燃機関の暖機装置
JP2007182834A (ja) * 2006-01-10 2007-07-19 Toyota Motor Corp シリンダブロックの冷却構造

Cited By (3)

* Cited by examiner, † Cited by third party
Publication number Priority date Publication date Assignee Title
WO2011125231A1 (ja) * 2010-04-07 2011-10-13 トヨタ自動車株式会社 車両用制動装置
CN110397541A (zh) * 2018-04-25 2019-11-01 丰田自动车株式会社 车辆用预热系统
CN110397541B (zh) * 2018-04-25 2021-05-18 丰田自动车株式会社 车辆用预热系统

Also Published As

Publication number Publication date
JP5073600B2 (ja) 2012-11-14

Similar Documents

Publication Publication Date Title
JP5073600B2 (ja) 潜熱蓄熱システム
JP4345754B2 (ja) 蓄熱装置及びエンジン
US6546738B2 (en) Stirling refrigerator
JP2011012650A (ja) オイルジェット
CN102337957B (zh) 一种新型液冷摩托车冷却器
JP4978198B2 (ja) スターリングエンジン
CN117211942B (zh) 一种摇臂自动循环水冷结构
JP2010007542A (ja) 潜熱蓄熱システム
JPH0315798Y2 (ja)
JP2013083221A (ja) 内燃機関のピストン
JP2013083220A (ja) 内燃機関のピストン
RU2182235C1 (ru) Устройство для предпусковой подачи масла в систему смазки двигателя внутреннего сгорания
JP4737643B2 (ja) エンジン用マウント装置
WO2020189440A1 (ja) エンジン
JP6051888B2 (ja) エンジン
JPS58104347A (ja) スタ−リング機関のシ−ルロツド
KR200165688Y1 (ko) 냉각장치의 리저버 탱크
JP2009127518A (ja) ピストン機関及びスターリングエンジン
CN103187684A (zh) 一种半导体泵涌大功率激光器冷却隔热装置
KR20200069928A (ko) 차량용 피스톤 냉각 장치 및 이의 제작방법
JP2007113414A (ja) 潜熱蓄熱装置及びエンジン
JP2006188956A (ja) ピストン機関
WO2019225640A1 (ja) スターリングエンジン
JPH08246833A (ja) エンジン発電機の潤滑油供給装置
JP2006207540A (ja) 機関油供給装置

Legal Events

Date Code Title Description
A621 Written request for application examination

Free format text: JAPANESE INTERMEDIATE CODE: A621

Effective date: 20110603

A977 Report on retrieval

Free format text: JAPANESE INTERMEDIATE CODE: A971007

Effective date: 20120322

A131 Notification of reasons for refusal

Free format text: JAPANESE INTERMEDIATE CODE: A131

Effective date: 20120327

A521 Request for written amendment filed

Free format text: JAPANESE INTERMEDIATE CODE: A523

Effective date: 20120522

TRDD Decision of grant or rejection written
A01 Written decision to grant a patent or to grant a registration (utility model)

Free format text: JAPANESE INTERMEDIATE CODE: A01

Effective date: 20120821

A01 Written decision to grant a patent or to grant a registration (utility model)

Free format text: JAPANESE INTERMEDIATE CODE: A01

A61 First payment of annual fees (during grant procedure)

Free format text: JAPANESE INTERMEDIATE CODE: A61

Effective date: 20120822

R150 Certificate of patent or registration of utility model

Ref document number: 5073600

Country of ref document: JP

Free format text: JAPANESE INTERMEDIATE CODE: R150

Free format text: JAPANESE INTERMEDIATE CODE: R150

FPAY Renewal fee payment (event date is renewal date of database)

Free format text: PAYMENT UNTIL: 20150831

Year of fee payment: 3

R250 Receipt of annual fees

Free format text: JAPANESE INTERMEDIATE CODE: R250

R250 Receipt of annual fees

Free format text: JAPANESE INTERMEDIATE CODE: R250

LAPS Cancellation because of no payment of annual fees