JP2010018353A - 散薬分割装置 - Google Patents
散薬分割装置 Download PDFInfo
- Publication number
- JP2010018353A JP2010018353A JP2009240147A JP2009240147A JP2010018353A JP 2010018353 A JP2010018353 A JP 2010018353A JP 2009240147 A JP2009240147 A JP 2009240147A JP 2009240147 A JP2009240147 A JP 2009240147A JP 2010018353 A JP2010018353 A JP 2010018353A
- Authority
- JP
- Japan
- Prior art keywords
- powder
- pitch
- annular groove
- powder medicine
- rotary table
- Prior art date
- Legal status (The legal status is an assumption and is not a legal conclusion. Google has not performed a legal analysis and makes no representation as to the accuracy of the status listed.)
- Granted
Links
- 239000000843 powder Substances 0.000 title claims abstract description 73
- 239000003814 drug Substances 0.000 title abstract description 11
- 230000007246 mechanism Effects 0.000 claims abstract description 23
- 238000007790 scraping Methods 0.000 claims description 36
- 238000001514 detection method Methods 0.000 claims description 5
- 238000004806 packaging method and process Methods 0.000 description 23
- 238000009825 accumulation Methods 0.000 description 4
- 230000005540 biological transmission Effects 0.000 description 4
- 238000000034 method Methods 0.000 description 4
- 238000004140 cleaning Methods 0.000 description 3
- 230000003287 optical effect Effects 0.000 description 3
- 238000010586 diagram Methods 0.000 description 1
- 239000008187 granular material Substances 0.000 description 1
- 238000012856 packing Methods 0.000 description 1
- 239000002245 particle Substances 0.000 description 1
- 230000002093 peripheral effect Effects 0.000 description 1
- 230000001360 synchronised effect Effects 0.000 description 1
Images
Landscapes
- Supply Of Fluid Materials To The Packaging Location (AREA)
- Basic Packing Technique (AREA)
- Medical Preparation Storing Or Oral Administration Devices (AREA)
Abstract
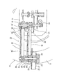
【解決手段】環状凹溝11が設けられた回転テーブル10と、環状凹溝内の散薬を掻き取るための分割掻き取り機構20とを備え、環状凹溝内に散薬を振り撒いた後、回転テーブルを所定のピッチで回転させると共に、分割掻き取り機構によって、環状凹溝内の散薬を堰き止め、当該堰き止められた散薬を回転テーブルの径方向に掻き取る散薬分割装置であって、環状凹溝内に振り撒かれた散薬の高さが所定の高さを超えているか否かを検出するためのセンサSを備え、センサSによる検出結果に応じて、回転テーブルの回転ピッチを補正して、最終的な回転ピッチを決定するように構成されている。
【選択図】 図1
Description
11…環状凹溝
20…分割掻き取り機構
S…センサ(光電センサ)
C…コントローラ
Claims (1)
- 環状凹溝が設けられた回転テーブルと、前記環状凹溝内の散薬を掻き取るための分割掻き取り機構とを備え、前記環状凹溝内に散薬を振り撒いた後、前記回転テーブルを所定のピッチで回転させると共に、前記分割掻き取り機構によって、前記環状凹溝内の散薬を堰き止め、当該堰き止められた散薬を前記回転テーブルの径方向に掻き取る散薬分割装置であって、
前記環状凹溝内に振り撒かれた散薬の高さが所定の高さを超えているか否かを検出するためのセンサを備え、
前記センサによる検出結果に応じて、前記回転テーブルの回転ピッチを補正して、最終的な回転ピッチを決定することを特徴とする散薬分割装置。
Priority Applications (1)
| Application Number | Priority Date | Filing Date | Title |
|---|---|---|---|
| JP2009240147A JP5127071B2 (ja) | 2009-10-19 | 2009-10-19 | 散薬分割装置 |
Applications Claiming Priority (1)
| Application Number | Priority Date | Filing Date | Title |
|---|---|---|---|
| JP2009240147A JP5127071B2 (ja) | 2009-10-19 | 2009-10-19 | 散薬分割装置 |
Related Parent Applications (1)
| Application Number | Title | Priority Date | Filing Date |
|---|---|---|---|
| JP2004050880A Division JP4420441B2 (ja) | 2004-02-26 | 2004-02-26 | 散薬分割装置及びこの散薬分割装置を備えた回転式分包機 |
Publications (2)
| Publication Number | Publication Date |
|---|---|
| JP2010018353A true JP2010018353A (ja) | 2010-01-28 |
| JP5127071B2 JP5127071B2 (ja) | 2013-01-23 |
Family
ID=41703654
Family Applications (1)
| Application Number | Title | Priority Date | Filing Date |
|---|---|---|---|
| JP2009240147A Expired - Lifetime JP5127071B2 (ja) | 2009-10-19 | 2009-10-19 | 散薬分割装置 |
Country Status (1)
| Country | Link |
|---|---|
| JP (1) | JP5127071B2 (ja) |
Cited By (1)
| Publication number | Priority date | Publication date | Assignee | Title |
|---|---|---|---|---|
| KR20160089344A (ko) * | 2013-11-22 | 2016-07-27 | 가부시키가이샤 유야마 세이사쿠쇼 | 약제 불출 장치 |
Citations (3)
| Publication number | Priority date | Publication date | Assignee | Title |
|---|---|---|---|---|
| JPS59112701U (ja) * | 1983-12-22 | 1984-07-30 | 湯山 正二 | 分包機における粉粒体の定量分割装置 |
| JPH02127204A (ja) * | 1988-11-07 | 1990-05-15 | Tokyo Shokai:Kk | 粉粒体の分割装置 |
| JP3131153B2 (ja) * | 1995-07-05 | 2001-01-31 | 株式会社湯山製作所 | 散薬分割装置 |
-
2009
- 2009-10-19 JP JP2009240147A patent/JP5127071B2/ja not_active Expired - Lifetime
Patent Citations (3)
| Publication number | Priority date | Publication date | Assignee | Title |
|---|---|---|---|---|
| JPS59112701U (ja) * | 1983-12-22 | 1984-07-30 | 湯山 正二 | 分包機における粉粒体の定量分割装置 |
| JPH02127204A (ja) * | 1988-11-07 | 1990-05-15 | Tokyo Shokai:Kk | 粉粒体の分割装置 |
| JP3131153B2 (ja) * | 1995-07-05 | 2001-01-31 | 株式会社湯山製作所 | 散薬分割装置 |
Cited By (4)
| Publication number | Priority date | Publication date | Assignee | Title |
|---|---|---|---|---|
| KR20160089344A (ko) * | 2013-11-22 | 2016-07-27 | 가부시키가이샤 유야마 세이사쿠쇼 | 약제 불출 장치 |
| KR102285227B1 (ko) * | 2013-11-22 | 2021-08-04 | 가부시키가이샤 유야마 세이사쿠쇼 | 약제 불출 장치 |
| KR20210097223A (ko) * | 2013-11-22 | 2021-08-06 | 가부시키가이샤 유야마 세이사쿠쇼 | 약제 불출 장치 |
| KR102401482B1 (ko) * | 2013-11-22 | 2022-05-24 | 가부시키가이샤 유야마 세이사쿠쇼 | 약제 불출 장치 |
Also Published As
| Publication number | Publication date |
|---|---|
| JP5127071B2 (ja) | 2013-01-23 |
Similar Documents
| Publication | Publication Date | Title |
|---|---|---|
| EP2345580B1 (en) | Medicine packing unit and packing control method thereof | |
| EP3592649B1 (en) | Dosing device for feeding an infusion product | |
| CN204223264U (zh) | 一种纸尿裤的下排装置 | |
| JP2023073268A (ja) | 薬剤分包装置 | |
| JP5127071B2 (ja) | 散薬分割装置 | |
| JP4420441B2 (ja) | 散薬分割装置及びこの散薬分割装置を備えた回転式分包機 | |
| FR2537946A1 (fr) | Dispositif pour le rearrangement d'objets en forme de disque, par exemple de biscuits | |
| JP2010070204A (ja) | 散薬掻出装置及び薬剤包装装置 | |
| JP6207482B2 (ja) | 散薬掻出機構および散薬分包機 | |
| JP6418583B2 (ja) | 散薬供給装置 | |
| JP6226330B2 (ja) | 散薬供給装置 | |
| JP4468498B2 (ja) | 散薬分割装置の調整方法 | |
| JP6226332B2 (ja) | 散薬供給装置 | |
| CN116605477B (zh) | 一种缺陷烟包的剔除方法、装置和系统 | |
| JP5164253B2 (ja) | 包装機及び包装方法 | |
| JP5373943B2 (ja) | 包装機及び包装方法 | |
| JP6725780B2 (ja) | 粉粒体の定量フィーダ装置およびその制御方法 | |
| JP2023009979A (ja) | 散薬包装装置 | |
| CN102556446A (zh) | 一种灌装机的排包装置 | |
| JPH04352601A (ja) | 回転式分包機における粉粒体分割装置 | |
| CN210665524U (zh) | 一种齿盘进料瓶盖检测装置 | |
| CN203545287U (zh) | 吸收性物品的制造装置 | |
| CN108327978A (zh) | 一种用于肥皂包装的具有筛选功能的包装设备 | |
| JP3859793B2 (ja) | 分包機 | |
| JP4276224B2 (ja) | 分包機 |
Legal Events
| Date | Code | Title | Description |
|---|---|---|---|
| A131 | Notification of reasons for refusal |
Free format text: JAPANESE INTERMEDIATE CODE: A131 Effective date: 20120217 |
|
| A521 | Request for written amendment filed |
Free format text: JAPANESE INTERMEDIATE CODE: A523 Effective date: 20120410 |
|
| TRDD | Decision of grant or rejection written | ||
| A01 | Written decision to grant a patent or to grant a registration (utility model) |
Free format text: JAPANESE INTERMEDIATE CODE: A01 Effective date: 20121026 |
|
| A01 | Written decision to grant a patent or to grant a registration (utility model) |
Free format text: JAPANESE INTERMEDIATE CODE: A01 |
|
| A61 | First payment of annual fees (during grant procedure) |
Free format text: JAPANESE INTERMEDIATE CODE: A61 Effective date: 20121029 |
|
| R150 | Certificate of patent or registration of utility model |
Ref document number: 5127071 Country of ref document: JP Free format text: JAPANESE INTERMEDIATE CODE: R150 Free format text: JAPANESE INTERMEDIATE CODE: R150 |
|
| FPAY | Renewal fee payment (event date is renewal date of database) |
Free format text: PAYMENT UNTIL: 20151109 Year of fee payment: 3 |
|
| S533 | Written request for registration of change of name |
Free format text: JAPANESE INTERMEDIATE CODE: R313533 |
|
| R350 | Written notification of registration of transfer |
Free format text: JAPANESE INTERMEDIATE CODE: R350 |
|
| R250 | Receipt of annual fees |
Free format text: JAPANESE INTERMEDIATE CODE: R250 |
|
| R250 | Receipt of annual fees |
Free format text: JAPANESE INTERMEDIATE CODE: R250 |
|
| R250 | Receipt of annual fees |
Free format text: JAPANESE INTERMEDIATE CODE: R250 |
|
| R250 | Receipt of annual fees |
Free format text: JAPANESE INTERMEDIATE CODE: R250 |
|
| R250 | Receipt of annual fees |
Free format text: JAPANESE INTERMEDIATE CODE: R250 |
|
| R250 | Receipt of annual fees |
Free format text: JAPANESE INTERMEDIATE CODE: R250 |
|
| R250 | Receipt of annual fees |
Free format text: JAPANESE INTERMEDIATE CODE: R250 |
|
| R250 | Receipt of annual fees |
Free format text: JAPANESE INTERMEDIATE CODE: R250 |
|
| R250 | Receipt of annual fees |
Free format text: JAPANESE INTERMEDIATE CODE: R250 |
|
| EXPY | Cancellation because of completion of term |
