JP2010017815A - ロボットハンド - Google Patents

ロボットハンド Download PDF

Info

Publication number
JP2010017815A
JP2010017815A JP2008181402A JP2008181402A JP2010017815A JP 2010017815 A JP2010017815 A JP 2010017815A JP 2008181402 A JP2008181402 A JP 2008181402A JP 2008181402 A JP2008181402 A JP 2008181402A JP 2010017815 A JP2010017815 A JP 2010017815A
Authority
JP
Japan
Prior art keywords
clamping
pair
opening
closing
robot hand
Prior art date
Legal status (The legal status is an assumption and is not a legal conclusion. Google has not performed a legal analysis and makes no representation as to the accuracy of the status listed.)
Granted
Application number
JP2008181402A
Other languages
English (en)
Other versions
JP5311005B2 (ja
Inventor
Yasuhiko Fukuchi
泰彦 福地
Nobuhiro Shibazaki
暢宏 柴崎
Hiroshi Saito
浩 齋藤
Hiroaki Imaizumi
浩昭 今泉
Wataru Inamura
渡 稲村
Current Assignee (The listed assignees may be inaccurate. Google has not performed a legal analysis and makes no representation or warranty as to the accuracy of the list.)
IHI Corp
Original Assignee
IHI Corp
Priority date (The priority date is an assumption and is not a legal conclusion. Google has not performed a legal analysis and makes no representation as to the accuracy of the date listed.)
Filing date
Publication date
Application filed by IHI Corp filed Critical IHI Corp
Priority to JP2008181402A priority Critical patent/JP5311005B2/ja
Publication of JP2010017815A publication Critical patent/JP2010017815A/ja
Application granted granted Critical
Publication of JP5311005B2 publication Critical patent/JP5311005B2/ja
Active legal-status Critical Current
Anticipated expiration legal-status Critical

Links

Images

Landscapes

  • Automatic Assembly (AREA)
  • Manipulator (AREA)

Abstract

【課題】1つのアクチュエータを作動させることで複数の対象物を同時に挟持できるロボットハンドを提供する。
【解決手段】第1および第2の対象物2,3をそれぞれ挟持する第1および第2の挟持部5,7を備える。第1および第2の挟持部5,7は、開閉駆動される共通のフレーム9に設けられる。第1および第2の挟持部5、7は、フレーム9の閉動作によりそれぞれ第1および第2の対象物2,3を挟むように動作する。第2の挟持部7は、第2の対象物3を弾性力で挟持する弾性力付与機構11を有し、第1の挟持部5が第1の対象物2を挟持している状態において、第2の対象物3と第2の挟持部7との間で前記弾性力が作用するようになっている。
【選択図】図1

Description

本発明は、搬送ロボットのロボットハンドに関する。
搬送ロボットは、取出位置にある対象物を別の位置まで搬送する産業用ロボットであり、対象物を把持するためのロボットハンドを有する。複数の対象物を高能率で搬送する搬送ロボットが、例えば特許文献1に記載されている。
特許文献1の搬送ロボットを図5に示す。図5では、搬送ロボットは多関節ロボットである。図5において、多関節ロボットにロボットハンド30が設けられている。
多関節ロボットは、図5の例では、次のように構成されている。基台21上にロボット胴22が縦軸回りに旋回駆動可能に設けられ、更に、この旋回胴22の上端にロボット第1アーム23が水平軸心回りに俯仰回転駆動可能に設けられている。また、ロボット第1アーム23の先端域にはロボット第2アーム24が水平軸心回りに揺動回転駆動可能に設けられ、ロボット第1、第2アーム23、24の駆動モータM1、M2が第1アーム23の基端の両側に設けられている。さらに、ロボット第2アーム24の揺動回転時に、同アーム24にバランス作用を与えるバランサ25がロボット第1アーム23の後方に配設されている。そして、ロボット第2アーム24の先端にはロボット手首26が設けられ、このロボット手首26はロボット第2アーム24の後端に搭載された駆動モータ群M3〜M5によって3つの動作自由度を備えている。
ロボットハンド30は、図5の例では、ロボット手首26に取り付けられている。特許文献1では、ロボットハンド30が複数(4つ)の袋受容指34を有することで、複数の対象物(袋物ワーク)を同時に搬送できるようになっている。
特開平7−132477号公報
しかし、ロボットハンドで複数の対象物を同時に把持するには、複数のアクチュエータを設け、各アクチュエータの作動により各対象物を把持(挟持)するようにしている。特許文献1においても、同様に複数のアクチュエータを用いて複数の対象物(袋物ワーク)を把持・挟持している。
このようにアクチュエータの数が増えると、構造が複雑化し、ハンドロボットの重量の増加を招いてしまう。
そこで、本発明の目的は、1つのアクチュエータを作動させることで複数の対象物を同時に挟持できるロボットハンドを提供することにある。
上記目的を達成するため、本発明によると、取出位置にある対象物を挟持して別の位置まで搬送する搬送ロボットのロボットハンドであって、
第1および第2の対象物をそれぞれ挟持する第1および第2の挟持部を備え、
第1および第2の挟持部は、開閉駆動される共通のフレームに設けられ、
第1および第2の挟持部は、前記フレームの閉動作によりそれぞれ第1および第2の対象物を挟むように動作し、
第2の挟持部は、第2の対象物を弾性力で挟持する弾性力付与機構を有し、
第1の挟持部が第1の対象物を挟持している状態において、第2の対象物と第2の挟持部との間で前記弾性力が作用するようになっている、ことを特徴とするロボットハンドが提供される。
上述した本発明のロボットハンドでは、第1および第2の対象物をそれぞれ挟持する第1および第2の挟持部を備え、第1および第2の挟持部は、開閉駆動される共通のフレームに設けられることで、第1および第2の挟持部は、前記フレームの閉動作によりそれぞれ第1および第2の対象物を挟むように動作するので、共通のフレームを閉動作させることで、複数の対象物を同時に挟持できる。即ち、1つのアクチュエータで共通のフレームを開閉することで複数の対象物を挟持することができる。従って、単純な構造で、しかも重量の増加を招くことなく、複数の対象物を同時に挟持することができる。
特に、第2の挟持部は、第2の対象物を弾性力で挟持する弾性力付与機構を有し、第1の挟持部が第1の対象物を挟持している状態において、第2の対象物と第2の挟持部との間で前記弾性力が作用するようになっているので、第1および第2の対象物をそれぞれ適切な力で挟持することができる。
本発明の好ましい実施形態によると、弾性力付与機構は、バネまたはゴムの変形により前記弾性力を、第2の対象物と第2の挟持部との間で作用させる。
このように、弾性力付与機構は、バネまたはゴムを利用するものであってよい。
第1の挟持部、第2の挟持部および共通のフレームの具体的構成は、次のものであってよい。
第1の挟持部は、第1の対象物を挟んで把持する1対の開閉部からなり、
第2の挟持部は、第2の対象物を挟んで把持する1対の開閉部からなり、
前記共通のフレームは開閉駆動される1対の開閉フレーム部からなり、
第1の挟持部の前記1対の開閉部の一方と、第2の挟持部の前記1対の開閉部の一方とは、前記1対の開閉フレーム部の一方に設けられ、第1の挟持部の前記1対の開閉部の他方と、第2の挟持部の前記1対の開閉部の他方とは、前記1対の開閉フレーム部の他方に設けられ、前記弾性力付与機構は、第2の挟持部の前記1対の開閉部の少なくとも一方に設けられている。
本発明の好ましい実施形態によると、第1および第2の挟持部は、所定の方向に同軸に配列されている。
このように、第1および第2の挟持部は、所定の方向に同軸に配列されているので、同軸に組まれた第1および第2の対象物を同時に挟持することができる。
好ましくは、第2の挟持部において第2の対象物と接触する部分は、ゴムで形成されている。
このように、第2の挟持部において第2の対象物と接触する部分は、ゴムで形成されているので、ゴムと第2の対象物との間の摩擦力により第2の対象物をより確実に把持できるとともに、このゴムを前記弾性力付与機構とすることもできる。
本発明の好ましい実施形態によると、第1および第2の対象物は、それぞれ同じ回転機械の構成部品であって、
第1の対象物は、前記回転機械の静止部であり、第2の対象物は前記回転機械の回転部であり、
前記静止部と前記回転部とが組まれた状態で、前記静止部と前記回転部とがそれぞれ第1の挟持部と第2の挟持部とに挟持される。
このように、本発明のロボットハンドは、回転機械の前記静止部と前記回転部とが同軸に組まれた状態で、前記静止部と前記回転部とを把持する場合に適用可能である。
上述した本発明によると、単純な構造で、しかも重量の増加を招くことなく、複数の対象物を同時に挟持することができる。しかも、複数の対象物をそれぞれ適切な力で挟持することができる。
本発明を実施するための最良の実施形態を図面に基づいて説明する。なお、各図において共通する部分には同一の符号を付し、重複した説明を省略する。
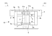
図1は、本発明の実施形態によるロボットハンド10の構成図である。ロボットハンド10は、複数の対象物2、3を同時に把持できるものであり、取出位置にある対象物2、3を別の位置へ搬送する搬送ロボットに取り付けられる。例えば、図1において、搬送ロボットの取付部4にロボットハンド10が取り付けられてよい。
ロボットハンド10は、第1の挟持部5、第2の挟持部7、フレーム9、単一のアクチュエータ(図示せず)、および、弾性力付与機構11を備える。
複数の対象物2、3は、図1の例では、第1および第2の対象物2、3である。本実施形態では、第1および第2の対象物2、3は、それぞれ同じ回転機械の構成部品である。この場合、第1の対象物2は、前記回転機械の静止部であり、第2の対象物3は前記回転機械の回転部である。例えば、回転機械は、電動モータであってよく、電動モータの静止部2はステータであり、回転部3は電動モータのロータ(回転軸)である。
図1では、第1および第2の対象物2、3は、前記取出位置にあり、支持具6により支持されている。
第1の挟持部5は、第1の対象物2を挟持する。第1の挟持部5は、第1の対象物2を挟んで把持する1対の開閉部5a,5bからなる。同様に、第2の挟持部7は、第2の対象物3を挟持する。第2の挟持部7は、第2の対象物3を挟んで把持する1対の開閉部7a,7bからなる。第1および第2の挟持部5、7は、所定の方向(図1の上下方向)に同軸に配列・整列されている。本実施形態では、前記回転部3と前記静止部2とが同軸に組まれた状態で(図1の例では、電動モータのロータ3がステータ2を貫通している状態で)、前記回転部3と前記静止部2とがそれぞれ第2の挟持部7と第1の挟持部5とに挟持されるようになっている。なお、前記同軸の軸は、回転部3の軸である。
本実施形態では、第2の挟持部7において第2の対象物3と接触して対象物3に挟持力を作用させる部分は、ゴムで形成されている。第1の挟持部5においても第1の対象物2と接触して対象物3に挟持力を作用させる部分は、ゴムで形成されていてよい。
なお、第1の挟持部5は、鉛直方向(図1の上下方向)に第1の対象物2と係合するようになっている。
フレーム9は、開閉駆動される。第1および第2の挟持部5、7は、この共通のフレーム9に設けられる。即ち、第1および第2の挟持部5、7は、フレーム9の閉動作によりそれぞれ第1および第2の対象物2、3を挟むように動作する。図1は、フレーム9の閉動作により第1および第2の対象物2、3を第1および第2の挟持部5、7で挟持した状態を示し、図2は、フレーム9が開いている状態を示す。
共通のフレーム9は開閉駆動される1対の開閉フレーム部9a、9bからなる。1対の開閉フレーム部9a、9bの一方には、第1の挟持部5の1対の開閉部5a,5bの一方と、第2の挟持部7の1対の開閉部7a,7bの一方とが設けられる。1対の開閉フレーム部9a、9bの他方には、第1の挟持部5の1対の開閉部5a,5bの他方と、第2の挟持部7の1対の開閉部7a,7bの他方とが設けられる。
1対の開閉フレーム部9a、9bは、開閉動作をするために、例えば、搬送ロボットに設けられたガイドレール(図示せず)に沿って往復移動自在となっている。また、開閉フレーム部9a、9bは、往復移動自在に搬送ロボットに設けられた支持部(図示せず)に支持されている。
単一のアクチュエータにより、フレーム9が開閉駆動される。アクチュエータは、例えば、空圧または油圧によるシリンダ装置であってよい。この場合、シリンダ装置において、シリンダが1対の開閉フレーム部9a、9bの一方に固定され、シリンダ内部を往復運動するピストンの先端部が、1対の開閉フレーム部9a、9bの他方に固定されてよい。アクチュエータは、搬送ロボットの前記取付部4に設けられてよい。
また、アクチュエータが、電動サーボモータである場合には、例えば、サーボモータにより回転駆動されるピニオンと、このピニオンを間に挟んで該ピニオンに噛み合う1対のラックと、が設けられ、1対のラックの一方が1対の開閉フレーム部9a、9bの一方に固定され、1対のラックの他方が1対の開閉フレーム部9a、9bの他方に固定され、これにより、サーボモータの回転により1対の開閉フレーム9が開閉される。
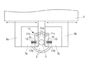
弾性力付与機構11は、第2の対象物3を弾性力で挟持するための機構であり、第2の挟持部7に設けられる。弾性力付与機構11を図3、図4に示す。図3は、図1のIII−III線矢視による第2の挟持部7付近の拡大図である。図4は、図2のIV−IV線矢視による第2の挟持部7付近の拡大図である。図3、図4のように、弾性力付与機構11は、開閉部7a,7bに設けられ、第2の対象物3を挟む挟持方向およびその反対方向に移動可能な可動部11aと、可動部11aを前記挟持方向に付勢する弾性体11b(この例では、バネ11b)と、可動部11aの運動方向を前記挟持方向とその逆方向に規制する方向規制部11c(この例では、ピン11c)と、を有する。図3、図4の例では、可動部11aには、開閉部7a,7bの本体に固定されたピン11cが貫通しており、可動部11aはピン11cを中心に前記挟持方向(の成分を持つ方向)とその逆方向に揺動(回転)可能になっている。また、図3、図4の例では、バネ11bは、コイルバネである。このコイルバネ11bは、開閉部7a,7bに設けられた窪み部13と、可動部11aに設けられた窪み部15とに収容される。これら窪み部13、15の深さ方向は、前記挟持方向となっている。また、コイルバネ11bの両端は、それぞれ窪み部13、15に底面に固定されてよい。なお、図3ではバネ11bは圧縮されており、図4ではバネ11bの長さは自然長であってよい。
弾性力付与機構11により、第1の挟持部5が第1の対象物2を挟持している状態において、第2の対象物3と第2の挟持部7との間で前記弾性力が作用するようになっている。即ち、フレーム9が閉じる方向に移動することで、弾性力付与機構11(即ち、可動部11a)が第2の対象物3と接触して第2の対象物3との間で力を及ぼし合い、これにより、弾性体11bが縮む方向に変形する。従って、この弾性体11bの弾性力により、第2の対象物3を第2の挟持部7で挟持することができる。
なお、ロボットハンド10は、第1または第2の挟持部5、7が、第1または第2の対象物2、3を挟持する力を検知する力センサ(図示せず)を有するのがよい。例えば、力センサは、第1または第2の挟持部5、7に組み込まれた圧電センサやひずみゲージ式センサであってよい。また、アクチュエータが、電動サーボモータである場合には、力センサは、サーボモータのトルクを検知するものであってよい。
このような力センサを設けることで、各対象物2、3が各挟持部5、7から落下してしまったことを検知できる。また、フレーム9を閉じる時に、力センサにより検知された力に基づいて、制御装置(図示せず)が前記アクチュエータを制御することでフレーム9の移動を停止させてよい。これにより、各対象物2、3に適切な値の挟持力が作用している状態とすることができる。
上述したロボットハンド10は、多関節ロボットなどの搬送ロボットに取り付けられて、搬送ロボットにより3次元的に移動させられてよい。例えば、ロボットハンド10は、搬送ロボットにより鉛直方向、第1水平方向、および、第1水平方向とは異なる第2水平方向に移動させられてよい。また、ロボットハンド10は、搬送ロボットにより所定の軸を中心に旋回させられてもよい。なお、多関節ロボットは、例えば特許文献1に記載されている。
上述した本発明のロボットハンド10によると、第1の対象物2を挟持する第1および第2の挟持部5、7を備え、第1および第2の挟持部5、7は、開閉駆動される共通のフレーム9に設けられることで、第1および第2の挟持部5、7は、フレーム9の閉動作によりそれぞれ第1および第2の対象物2、3を挟むように動作するので、共通のフレーム9を閉動作させることで、複数の対象物2、3を同時に挟持できる。即ち、1つのアクチュエータで共通のフレーム9を開閉することで複数の対象物2、3を挟持することができる。従って、単純な構造で、しかも重量の増加を招くことなく、複数の対象物2、3を同時に挟持することができる。
特に、第2の挟持部7は、弾性力で第2の対象物3を挟持する弾性力付与機構11を有し、第1の挟持部5が第1の対象物2を挟持している状態において、第2の対象物3と第2の挟持部7との間で前記弾性力が作用するようになっているので、第1および第2の対象物2、3をそれぞれ適切な力で挟持することができる。
また、第1および第2の挟持部5、7は、所定の方向(図1の上下方向)に同軸に配列されているので、同軸に組まれた第1および第2の対象物2、3を同時に挟持することができる。
さらに、第2の挟持部7において第2の対象物3と接触する部分(可動部11aの接触面)は、ゴムで形成されているので、ゴムと第2の対象物3との間の摩擦力により第2の対象物3をより確実に把持できる。
本発明は上述した実施の形態に限定されず、本発明の要旨を逸脱しない範囲で種々変更を加え得ることは勿論である。
例えば、上述の実施形態では、バネ11bはコイルバネであったが、バネ11bは板バネであってもよい。
また、上述の実施形態では、弾性力付与機構11は、バネ11bを弾性体11bとして利用してものであったが、バネ11bの代わりにゴムを弾性体11bとして利用するものであってもよい。ゴムを弾性体11bとした場合には、上述の可動部11aや方向規制部11cを省略し、ゴム11bが第2の対象物3に直接接触するようにゴム11bを第2の挟持部7に固定してよい。この場合、当該ゴム11bと第2の対象物3との間の摩擦力により第2の対象物3をより確実に把持することもできる。
上述の実施形態では、方向規制部11cは、可動部11aが揺動するように可動部11aの運動方向を規制したが、方向規制部11cは、可動部11aが前記挟持方向とその逆方向に直線運動するように可動部11aの運動方向を規制するガイドであってもよい。
また、上述の実施形態では、第1および第2の挟持部5、7のうち第2の挟持部7に弾性力付与機構11を設けたが、第1の挟持部5にも弾性力付与機構11を設けてもよい。即ち、第1の挟持部5を第2の挟持部7と同様の構成としてもよい。
上述の実施形態では、第2の挟持部7における1対の開閉部7a,7bの両方に弾性力付与機構11を設けたが、1対の開閉部7a,7bの一方にのみ弾性力付与機構11を設けてもよい。
上述の実施形態では、2つの挟持部5、7を共通のフレーム9に設けたが、3つ以上の挟持部を共通のフレーム9に設けてもよい。この場合、各挟持部は第1または第2の挟持部5、7と同様の構成であってよく、すべての挟持部に弾性力付与機構11を設けてもよい。
本発明の実施形態によるロボットハンドの構成図であり、複数の対象物を挟持している状態を示す。 図1のロボットハンドにおけるフレームが開いている状態を示す。 図1のIII−III線矢視による挟持部付近を示す部分拡大図である。 図2のIV−IV線矢視による挟持部付近を示す部分拡大図である。 特許文献1の多関節ロボットの構成図である。
符号の説明
2 第1の対象物、3 第2の対象物、4 搬送ロボットの取付部、5 第1の挟持部、5a,5b 開閉部、6 支持具、7 第2の挟持部、7a,7b 開閉部、9 フレーム、9a,9b 10 ロボットハンド、開閉フレーム部、11 弾性力付与機構、11a 可動部、11b 弾性体(バネ)、11c 方向規制部(ピン)、13,15 窪み部、

Claims (6)

  1. 取出位置にある対象物を挟持して別の位置まで搬送する搬送ロボットのロボットハンドであって、
    第1および第2の対象物をそれぞれ挟持する第1および第2の挟持部を備え、
    第1および第2の挟持部は、開閉駆動される共通のフレームに設けられ、
    第1および第2の挟持部は、前記フレームの閉動作によりそれぞれ第1および第2の対象物を挟むように動作し、
    第2の挟持部は、第2の対象物を弾性力で挟持する弾性力付与機構を有し、
    第1の挟持部が第1の対象物を挟持している状態において、第2の対象物と第2の挟持部との間で前記弾性力が作用するようになっている、ことを特徴とするロボットハンド。
  2. 弾性力付与機構は、バネまたはゴムの変形により前記弾性力を、第2の対象物と第2の挟持部との間で作用させる、ことを特徴とする請求項1に記載のロボットハンド。
  3. 第1の挟持部は、第1の対象物を挟んで把持する1対の開閉部からなり、
    第2の挟持部は、第2の対象物を挟んで把持する1対の開閉部からなり、
    前記共通のフレームは開閉駆動される1対の開閉フレーム部からなり、
    第1の挟持部の前記1対の開閉部の一方と、第2の挟持部の前記1対の開閉部の一方とは、前記1対の開閉フレーム部の一方に設けられ、第1の挟持部の前記1対の開閉部の他方と、第2の挟持部の前記1対の開閉部の他方とは、前記1対の開閉フレーム部の他方に設けられ、前記弾性力付与機構は、第2の挟持部の前記1対の開閉部の少なくとも一方に設けられている、ことを特徴とする請求項1または2に記載のロボットハンド。
  4. 第1および第2の挟持部は、所定の方向に同軸に配列されている、ことを特徴とする請求項1〜3のいずれか一項に記載のロボットハンド。
  5. 第2の挟持部において第2の対象物と接触する部分は、ゴムで形成されている、ことを特徴とする、請求項1〜4のいずれか一項に記載のロボットハンド。
  6. 第1および第2の対象物は、それぞれ同じ回転機械の構成部品であって、
    第1の対象物は、前記回転機械の静止部であり、第2の対象物は前記回転機械の回転部であり、
    前記静止部と前記回転部とが同軸に組まれた状態で、前記静止部と前記回転部とがそれぞれ第1の挟持部と第2の挟持部とに挟持される、ことを特徴とする請求項1〜5のいずれか一項に記載のロボットハンド。
JP2008181402A 2008-07-11 2008-07-11 ロボットハンド Active JP5311005B2 (ja)

Priority Applications (1)

Application Number Priority Date Filing Date Title
JP2008181402A JP5311005B2 (ja) 2008-07-11 2008-07-11 ロボットハンド

Applications Claiming Priority (1)

Application Number Priority Date Filing Date Title
JP2008181402A JP5311005B2 (ja) 2008-07-11 2008-07-11 ロボットハンド

Publications (2)

Publication Number Publication Date
JP2010017815A true JP2010017815A (ja) 2010-01-28
JP5311005B2 JP5311005B2 (ja) 2013-10-09

Family

ID=41703192

Family Applications (1)

Application Number Title Priority Date Filing Date
JP2008181402A Active JP5311005B2 (ja) 2008-07-11 2008-07-11 ロボットハンド

Country Status (1)

Country Link
JP (1) JP5311005B2 (ja)

Cited By (3)

* Cited by examiner, † Cited by third party
Publication number Priority date Publication date Assignee Title
CN102430905A (zh) * 2011-08-26 2012-05-02 北京理工大学 一种绕线轮自动夹持装置及方法
WO2015075778A1 (ja) * 2013-11-19 2015-05-28 株式会社安川電機 ロボットシステム
WO2023223411A1 (ja) * 2022-05-17 2023-11-23 株式会社Fuji ワーク自動搬送機

Citations (9)

* Cited by examiner, † Cited by third party
Publication number Priority date Publication date Assignee Title
JPS56114688A (en) * 1980-02-07 1981-09-09 Sintokogio Ltd Method of holding body
JPH0526287U (ja) * 1991-09-20 1993-04-06 新キヤタピラー三菱株式会社 チヤツク装置
JPH06328384A (ja) * 1993-05-20 1994-11-29 Suzuki Motor Corp ハンド装置
JPH08197474A (ja) * 1995-01-23 1996-08-06 Sony Corp チャック装置
JPH1155966A (ja) * 1997-07-30 1999-02-26 Minolta Co Ltd 把持装置
JP2000141267A (ja) * 1998-11-11 2000-05-23 Mitsubishi Electric Corp 産業ロボットの把手装置
JP2001105374A (ja) * 1999-09-30 2001-04-17 Aloka Co Ltd 試験管搬送装置
JP2002370188A (ja) * 2001-06-18 2002-12-24 Ricoh Co Ltd 形状変形型のロボットハンド及びこれによる把持方法
JP2004154909A (ja) * 2002-11-07 2004-06-03 Ricoh Co Ltd 物品把持装置用弾性モジュール及び物品把持装置

Patent Citations (9)

* Cited by examiner, † Cited by third party
Publication number Priority date Publication date Assignee Title
JPS56114688A (en) * 1980-02-07 1981-09-09 Sintokogio Ltd Method of holding body
JPH0526287U (ja) * 1991-09-20 1993-04-06 新キヤタピラー三菱株式会社 チヤツク装置
JPH06328384A (ja) * 1993-05-20 1994-11-29 Suzuki Motor Corp ハンド装置
JPH08197474A (ja) * 1995-01-23 1996-08-06 Sony Corp チャック装置
JPH1155966A (ja) * 1997-07-30 1999-02-26 Minolta Co Ltd 把持装置
JP2000141267A (ja) * 1998-11-11 2000-05-23 Mitsubishi Electric Corp 産業ロボットの把手装置
JP2001105374A (ja) * 1999-09-30 2001-04-17 Aloka Co Ltd 試験管搬送装置
JP2002370188A (ja) * 2001-06-18 2002-12-24 Ricoh Co Ltd 形状変形型のロボットハンド及びこれによる把持方法
JP2004154909A (ja) * 2002-11-07 2004-06-03 Ricoh Co Ltd 物品把持装置用弾性モジュール及び物品把持装置

Cited By (4)

* Cited by examiner, † Cited by third party
Publication number Priority date Publication date Assignee Title
CN102430905A (zh) * 2011-08-26 2012-05-02 北京理工大学 一种绕线轮自动夹持装置及方法
WO2015075778A1 (ja) * 2013-11-19 2015-05-28 株式会社安川電機 ロボットシステム
JPWO2015075778A1 (ja) * 2013-11-19 2017-03-16 株式会社安川電機 ロボットシステム
WO2023223411A1 (ja) * 2022-05-17 2023-11-23 株式会社Fuji ワーク自動搬送機

Also Published As

Publication number Publication date
JP5311005B2 (ja) 2013-10-09

Similar Documents

Publication Publication Date Title
CN100526026C (zh) 能防止形位退化的欠驱动机械手指装置
JP6571583B2 (ja) ロボット用把持装置
JP5717797B2 (ja) 物品を搬送するためのロボットハンド、ロボットハンドを備えたロボットおよびロボットシステム、ならびにロボットハンドの制御方法
KR101964253B1 (ko) 로봇 핸드 및 로봇
JP5105147B2 (ja) ロボットおよび制御方法
CN103917338B (zh) 机器人手和机器人
CN105150231B (zh) 七连杆并联捏握复合自适应机器人手指装置
CN104889998B (zh) 具有包络与夹持功能的欠驱动机器人手指装置
CN114641380B (zh) 用于机器人夹持器的夹持器装置及其操作方法
WO2022143665A1 (zh) 一种指根可转位的两爪柔性机械手
JP2021502263A5 (ja)
CN213562666U (zh) 一种具有平夹自适应复合夹取功能的变胞机械手
CN212287675U (zh) 欠驱动夹持器
CN107984484B (zh) 末端精确补偿直线平夹自适应机器人手指装置
JP4983245B2 (ja) ロボットおよび制御方法
JP5311005B2 (ja) ロボットハンド
JP2011212813A (ja) ロボットハンド
KR101454779B1 (ko) 백래쉬와 제어 특성을 개선한 그리퍼
KR101839317B1 (ko) 케이블 장력으로 구동 가능한 엔드 이펙터와 이를 포함하는 병렬형 케이블 로봇
CN111216155A (zh) 简易型双臂协同机械手
JP6080724B2 (ja) ワーク移動機構
JP2010023120A (ja) ロボットハンドとこれを用いた対象物の把持方法
CN113696204A (zh) 欠驱动夹持器、机器人及夹取物体的方法
JP5492168B2 (ja) 把持機構
JP2008049418A (ja) 産業用ロボットのハンド装置

Legal Events

Date Code Title Description
A621 Written request for application examination

Free format text: JAPANESE INTERMEDIATE CODE: A621

Effective date: 20110526

A131 Notification of reasons for refusal

Free format text: JAPANESE INTERMEDIATE CODE: A131

Effective date: 20120822

A977 Report on retrieval

Free format text: JAPANESE INTERMEDIATE CODE: A971007

Effective date: 20120831

A521 Written amendment

Free format text: JAPANESE INTERMEDIATE CODE: A523

Effective date: 20121019

A02 Decision of refusal

Free format text: JAPANESE INTERMEDIATE CODE: A02

Effective date: 20130305

A521 Written amendment

Free format text: JAPANESE INTERMEDIATE CODE: A523

Effective date: 20130405

A911 Transfer of reconsideration by examiner before appeal (zenchi)

Free format text: JAPANESE INTERMEDIATE CODE: A911

Effective date: 20130507

TRDD Decision of grant or rejection written
A01 Written decision to grant a patent or to grant a registration (utility model)

Free format text: JAPANESE INTERMEDIATE CODE: A01

Effective date: 20130605

A61 First payment of annual fees (during grant procedure)

Free format text: JAPANESE INTERMEDIATE CODE: A61

Effective date: 20130618

R151 Written notification of patent or utility model registration

Ref document number: 5311005

Country of ref document: JP

Free format text: JAPANESE INTERMEDIATE CODE: R151

R250 Receipt of annual fees

Free format text: JAPANESE INTERMEDIATE CODE: R250

R250 Receipt of annual fees

Free format text: JAPANESE INTERMEDIATE CODE: R250