JP2010017713A - 流体浄化装置 - Google Patents
流体浄化装置 Download PDFInfo
- Publication number
- JP2010017713A JP2010017713A JP2009237412A JP2009237412A JP2010017713A JP 2010017713 A JP2010017713 A JP 2010017713A JP 2009237412 A JP2009237412 A JP 2009237412A JP 2009237412 A JP2009237412 A JP 2009237412A JP 2010017713 A JP2010017713 A JP 2010017713A
- Authority
- JP
- Japan
- Prior art keywords
- fluid
- unit
- treated
- photocatalyst
- adsorbent
- Prior art date
- Legal status (The legal status is an assumption and is not a legal conclusion. Google has not performed a legal analysis and makes no representation as to the accuracy of the status listed.)
- Granted
Links
Images
Landscapes
- Disinfection, Sterilisation Or Deodorisation Of Air (AREA)
- Catalysts (AREA)
- Ventilation (AREA)
Abstract
【解決手段】被処理流体中の汚染物質を分解するための光触媒ユニット2と、被処理流体中の汚染物質を吸着する吸着剤フィルタユニット3とを含み、被処理流体の流動方向に対し光触媒ユニット2を吸着剤フィルタユニット3の上流側に配置し、且つ更に、吸着剤フィルタユニットの下流側に配置した除塵フィルタユニット9を含むようにする。被処理流体を光触媒ユニット又は吸着剤ユニットへ選択的に導入する切り換え手段11、12,13、14を含むことにより、いっそうの効果を挙げることができる。
【選択図】図5
Description
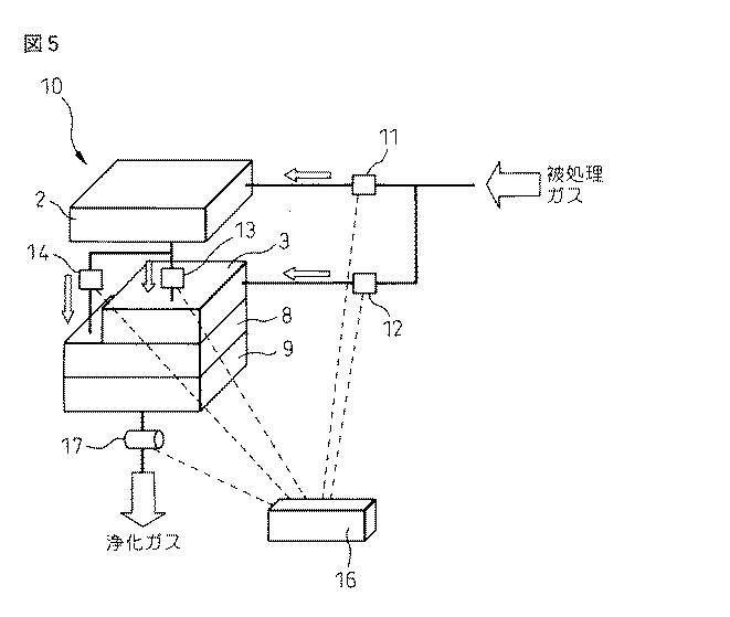
この態様の装置1は、光触媒ユニット2、吸着剤フィルタユニット3、流体移送手段のユニット8、及び除塵フィルタユニット9をこの順に配列し一体化して構成されており、被処理流体が光触媒ユニット2側から装置1に入り、浄化された流体が除塵フィルタユニット9から出てゆく。このような装置1は、例えば、クリーンルームの壁面又は天井面等、あるいは半導体デバイスなどの生産設備の壁面又は天井面等に設けられ、被処理流体としてのクリーンルーム内の空気を清浄にするのに使用することができる。設置場所の制約により各ユニットを一体化するのが困難な場合などには、それらを隣接せずに離して設置することも可能である。
(付記1)被処理流体から汚染物質を除去してそれを浄化する装置であって、被処理流体中の汚染物質を分解可能な光触媒及びこの光触媒を励起するための励起光源を有する光触媒ユニットと、被処理流体中の汚染物質を吸着し得る吸着剤フィルタユニットとを含み、被処理流体の流動方向に対し光触媒ユニットを吸着剤フィルタユニットの上流側に配置し、且つ更に、吸着剤フィルタユニットの下流側に配置した除塵フィルタユニットを含むことを特徴とする流体浄化装置。
(付記2)前記被処理流体を前記光触媒ユニット又は前記吸着剤ユニットへ選択的に導入する切り換え手段を更に含む、付記1記載の流体浄化装置。
(付記3)被処理流体から汚染物質を除去してそれを浄化する装置であって、被処理流体中の汚染物質を分解可能な光触媒及びこの光触媒を励起するための励起光源を有する光触媒ユニットと、被処理流体中の汚染物質を吸着し得る吸着剤フィルタユニットとを含み、被処理流体の流動方向に対し光触媒ユニットを吸着剤フィルタユニットの上流側に配置し、且つ更に、被処理流体を光触媒ユニット又は吸着剤ユニットへ選択的に導入する切り換え手段を含むことを特徴とする流体浄化装置。
(付記4)前記被処理流体が前記光触媒ユニットでの光触媒作用による除去に適した汚染物質を含むとき、当該被処理流体を前記光触媒ユニットに導入し、前記被処理流体が前記吸着剤ユニットでの吸着による除去に適した汚染物質を含むとき、当該被処理流体を吸着剤フィルタユニットに導入する、付記2又は3記載の流体浄化装置。
(付記5)前記被処理流体が前記光触媒ユニットでの光触媒作用による除去に適した汚染物質を含むとき、前記光触媒ユニットで処理したガスに前記吸着剤ユニットをバイパスさせる、付記4記載の流体浄化装置。
(付記6)前記被処理流体中の汚染物質の濃度が低いときはそれを選択的に前記光触媒ユニットで浄化し、前記被処理流体中の汚染物質の濃度が中レベルのときはそれを選択的に前記吸着剤フィルタユニットで浄化し、前記被処理流体中の汚染物質の濃度が高いときは前記光触媒ユニットと前記吸着剤フィルタユニットの両方でそれを浄化する、付記2又は3記載の流体浄化装置。
(付記7)浄化した流体中に前記汚染物質が検出された場合において、前記被処理流体を選択的に前記光触媒ユニットで浄化していたときは前記吸着剤フィルタユニットでも当該被処理流体を浄化するよう当該流体浄化装置の運転を切り換え、前記被処理流体を選択的に前記吸着剤フィルタユニットで浄化していたときは前記光触媒ユニットでも当該被処理ガスを浄化するよう当該流体浄化装置の運転を切り換え、前記光触媒ユニットと前記吸着剤フィルタユニットの両方で前記被処理流体を浄化していたときは当該流体を循環させて当該流体浄化装置において再度浄化処理する、付記6記載の流体浄化装置。
(付記8)当該流体浄化装置で除去しようとする汚染物質が1種類であり、前記被処理流体中の当該汚染物質の濃度が高いときは前記光触媒ユニットと前記吸着剤フィルタユニットの両方で当該被処理流体を浄化し、当該汚染物質の濃度が低いときは前記光触媒ユニットと前記吸着剤フィルタユニットのどちらか一方で当該被処理流体を浄化する、付記2又は3記載の流体浄化装置。
(付記9)前記光触媒ユニットと前記吸着剤フィルタユニットの両方で浄化を行っていた場合において、前記浄化を受けた被処理流体中に前記汚染物質が検出されたとき、当該被処理流体を循環させる、付記8記載の流体浄化装置。
(付記10)前記光触媒ユニットと前記吸着剤フィルタユニットのどちらか一方で浄化を行っていた場合において、当該浄化を受けた被処理流体中に前記汚染物質が検出されたとき、当該被処理流体を循環させるか、浄化を行っていなかった方のユニットも浄化に使用するか、あるいは当該被処理流体を循環させて且つ浄化を行っていなかった方のユニットも浄化に使用する、付記8記載の流体浄化装置。
(付記11)前記切り換え手段が自動式の手段である、付記2又は3記載の流体浄化装置。
(付記12)前記切り換え手段が手動式の手段である、付記2又は3記載の流体浄化装置。
(付記13)前記被処理流体を移送するための流体移送手段を更に含む、付記2記載の流体浄化手段。
(付記14)前記流体移送手段が前記吸着剤フィルタユニットと前記除塵フィルタユニットとの間に位置する、付記13記載の流体浄化装置。
(付記15)前記被処理流体を移送するための流体移送手段を更に含む、付記3記載の流体浄化手段。
(付記16)前記吸着剤フィルタユニットの下流側に配置した除塵フィルタユニットを更に含み、且つ、前記流体移送手段が前記吸着剤フィルタユニットと当該除塵フィルタユニットとの間に位置している、付記15記載の流体浄化装置。
2 光触媒ユニット
3 吸着剤フィルタユニット
8 流体移送手段のユニット
9 除塵フィルタユニット
11、12、13、14、18、19 バルブ
15、17 汚染物質濃度測定モニタ
16 制御部
Claims (10)
- 被処理流体から汚染物質を除去してそれを浄化する装置であって、被処理流体中の汚染物質を分解可能な光触媒及びこの光触媒を励起するための励起光源を有する光触媒ユニットと、被処理流体中の汚染物質を吸着し得る吸着剤フィルタユニットとを含み、被処理流体の流動方向に対し光触媒ユニットを吸着剤フィルタユニットの上流側に配置し、且つ更に、吸着剤フィルタユニットの下流側に配置した除塵フィルタユニットを含むことを特徴とする流体浄化装置。
- 前記被処理流体を前記光触媒ユニット又は前記吸着剤ユニットへ選択的に導入する切り換え手段を更に含む、請求項1記載の流体浄化装置。
- 被処理流体から汚染物質を除去してそれを浄化する装置であって、被処理流体中の汚染物質を分解可能な光触媒及びこの光触媒を励起するための励起光源を有する光触媒ユニットと、被処理流体中の汚染物質を吸着し得る吸着剤フィルタユニットとを含み、被処理流体の流動方向に対し光触媒ユニットを吸着剤フィルタユニットの上流側に配置し、且つ更に、被処理流体を光触媒ユニット又は吸着剤ユニットへ選択的に導入する切り換え手段を含むことを特徴とする流体浄化装置。
- 前記被処理流体が前記光触媒ユニットでの光触媒作用による除去に適した汚染物質を含むとき、当該被処理流体を前記光触媒ユニットに導入し、前記被処理流体が前記吸着剤ユニットでの吸着による除去に適した汚染物質を含むとき、当該被処理流体を吸着剤フィルタユニットに導入する、請求項2又は3記載の流体浄化装置。
- 前記被処理流体が前記光触媒ユニットでの光触媒作用による除去に適した汚染物質を含むとき、前記光触媒ユニットで処理したガスに前記吸着剤ユニットをバイパスさせる、請求項4記載の流体浄化装置。
- 前記被処理流体中の汚染物質の濃度が低いときはそれを選択的に前記光触媒ユニットで浄化し、前記被処理流体中の汚染物質の濃度が中レベルのときはそれを選択的に前記吸着剤フィルタユニットで浄化し、前記被処理流体中の汚染物質の濃度が高いときは前記光触媒ユニットと前記吸着剤フィルタユニットの両方でそれを浄化する、請求項2又は3記載の流体浄化装置。
- 浄化した流体中に前記汚染物質が検出された場合において、前記被処理流体を選択的に前記光触媒ユニットで浄化していたときは前記吸着剤フィルタユニットでも当該被処理流体を浄化するよう当該流体浄化装置の運転を切り換え、前記被処理流体を選択的に前記吸着剤フィルタユニットで浄化していたときは前記光触媒ユニットでも当該被処理ガスを浄化するよう当該流体浄化装置の運転を切り換え、前記光触媒ユニットと前記吸着剤フィルタユニットの両方で前記被処理流体を浄化していたときは当該流体を循環させて当該流体浄化装置において再度浄化処理する、請求項6記載の流体浄化装置。
- 当該流体浄化装置で除去しようとする汚染物質が1種類であり、前記被処理流体中の当該汚染物質の濃度が高いときは前記光触媒ユニットと前記吸着剤フィルタユニットの両方で当該被処理流体を浄化し、当該汚染物質の濃度が低いときは前記光触媒ユニットと前記吸着剤フィルタユニットのどちらか一方で当該被処理流体を浄化する、請求項2又は3記載の流体浄化装置。
- 前記光触媒ユニットと前記吸着剤フィルタユニットの両方で浄化を行っていた場合において、前記浄化を受けた被処理流体中に前記汚染物質が検出されたとき、当該被処理流体を循環させる、請求項8記載の流体浄化装置。
- 前記光触媒ユニットと前記吸着剤フィルタユニットのどちらか一方で浄化を行っていた場合において、当該浄化を受けた被処理流体中に前記汚染物質が検出されたとき、当該被処理流体を循環させるか、浄化を行っていなかった方のユニットも浄化に使用するか、あるいは当該被処理流体を循環させて且つ浄化を行っていなかった方のユニットも浄化に使用する、請求項8記載の流体浄化装置。
Priority Applications (1)
| Application Number | Priority Date | Filing Date | Title |
|---|---|---|---|
| JP2009237412A JP5126192B2 (ja) | 2009-10-14 | 2009-10-14 | 流体浄化装置 |
Applications Claiming Priority (1)
| Application Number | Priority Date | Filing Date | Title |
|---|---|---|---|
| JP2009237412A JP5126192B2 (ja) | 2009-10-14 | 2009-10-14 | 流体浄化装置 |
Related Parent Applications (1)
| Application Number | Title | Priority Date | Filing Date |
|---|---|---|---|
| JP2002356796A Division JP4447213B2 (ja) | 2002-12-09 | 2002-12-09 | 流体浄化装置 |
Publications (3)
| Publication Number | Publication Date |
|---|---|
| JP2010017713A true JP2010017713A (ja) | 2010-01-28 |
| JP2010017713A5 JP2010017713A5 (ja) | 2010-03-11 |
| JP5126192B2 JP5126192B2 (ja) | 2013-01-23 |
Family
ID=41703104
Family Applications (1)
| Application Number | Title | Priority Date | Filing Date |
|---|---|---|---|
| JP2009237412A Expired - Fee Related JP5126192B2 (ja) | 2009-10-14 | 2009-10-14 | 流体浄化装置 |
Country Status (1)
| Country | Link |
|---|---|
| JP (1) | JP5126192B2 (ja) |
Cited By (3)
| Publication number | Priority date | Publication date | Assignee | Title |
|---|---|---|---|---|
| CN104857849A (zh) * | 2015-05-27 | 2015-08-26 | 成都虹华环保科技股份有限公司 | 一种带有检测功能的有机废气处理装置 |
| CN105727706A (zh) * | 2016-04-14 | 2016-07-06 | 佛山市电建电力设备有限公司 | 一种应用于工业有机废气VOCs处理设备的控制系统 |
| JP2019170725A (ja) * | 2018-03-28 | 2019-10-10 | 大阪瓦斯株式会社 | 空気浄化ユニット |
Citations (6)
| Publication number | Priority date | Publication date | Assignee | Title |
|---|---|---|---|---|
| JPH05317627A (ja) * | 1992-05-15 | 1993-12-03 | Toshiba Corp | 空気清浄器 |
| JPH0631133A (ja) * | 1992-07-14 | 1994-02-08 | Matsushita Electric Ind Co Ltd | 空気浄化方法および空気清浄装置 |
| JPH1089739A (ja) * | 1996-09-11 | 1998-04-10 | Samsung Electron Co Ltd | 半導体装置製造用のクリーンルーム |
| JPH10296042A (ja) * | 1997-02-28 | 1998-11-10 | Ebara Corp | クリーンルームにおける気体清浄方法及びその装置 |
| JP2000237538A (ja) * | 1999-02-18 | 2000-09-05 | Sharp Corp | 光触媒空気浄化装置 |
| JP2001304640A (ja) * | 2000-04-18 | 2001-10-31 | Nec Kansai Ltd | 空気からのガス状有機物除去方法及びそのシステム |
-
2009
- 2009-10-14 JP JP2009237412A patent/JP5126192B2/ja not_active Expired - Fee Related
Patent Citations (6)
| Publication number | Priority date | Publication date | Assignee | Title |
|---|---|---|---|---|
| JPH05317627A (ja) * | 1992-05-15 | 1993-12-03 | Toshiba Corp | 空気清浄器 |
| JPH0631133A (ja) * | 1992-07-14 | 1994-02-08 | Matsushita Electric Ind Co Ltd | 空気浄化方法および空気清浄装置 |
| JPH1089739A (ja) * | 1996-09-11 | 1998-04-10 | Samsung Electron Co Ltd | 半導体装置製造用のクリーンルーム |
| JPH10296042A (ja) * | 1997-02-28 | 1998-11-10 | Ebara Corp | クリーンルームにおける気体清浄方法及びその装置 |
| JP2000237538A (ja) * | 1999-02-18 | 2000-09-05 | Sharp Corp | 光触媒空気浄化装置 |
| JP2001304640A (ja) * | 2000-04-18 | 2001-10-31 | Nec Kansai Ltd | 空気からのガス状有機物除去方法及びそのシステム |
Cited By (3)
| Publication number | Priority date | Publication date | Assignee | Title |
|---|---|---|---|---|
| CN104857849A (zh) * | 2015-05-27 | 2015-08-26 | 成都虹华环保科技股份有限公司 | 一种带有检测功能的有机废气处理装置 |
| CN105727706A (zh) * | 2016-04-14 | 2016-07-06 | 佛山市电建电力设备有限公司 | 一种应用于工业有机废气VOCs处理设备的控制系统 |
| JP2019170725A (ja) * | 2018-03-28 | 2019-10-10 | 大阪瓦斯株式会社 | 空気浄化ユニット |
Also Published As
| Publication number | Publication date |
|---|---|
| JP5126192B2 (ja) | 2013-01-23 |
Similar Documents
| Publication | Publication Date | Title |
|---|---|---|
| US7740810B2 (en) | Photocatalyst protection | |
| WO1998007503A1 (fr) | Procede et appareil permettant de purifier un gaz contenant des contaminants | |
| JP2008302348A (ja) | 排ガス処理監視装置、排ガス処理装置及び排ガス処理監視方法 | |
| KR20090035048A (ko) | 오염 측정 장치, 오염 분석 장치 및 오염물 제거 방법 | |
| JP5126192B2 (ja) | 流体浄化装置 | |
| JP4447213B2 (ja) | 流体浄化装置 | |
| JP2006255529A (ja) | 光触媒フィルタ、光触媒フィルタユニット、クリーンルーム、空気浄化装置、製造装置、並びに空気浄化方法 | |
| US20120027657A1 (en) | Control system for uv-pco air purifier | |
| CN115430227B (zh) | 半导体制造厂房中的外气处理装置及其净化空气的方法 | |
| WO2001048813A1 (fr) | Procede et dispositif pouvant empecher l'oxydation a la surface d'un substrat | |
| CN202387370U (zh) | 环境中低浓度挥发性有机化合物净化装置 | |
| CN101380480A (zh) | 无尘室室内循环空气净化设备 | |
| JP2001338853A (ja) | 半導体の製造方法 | |
| JP2011177691A (ja) | 空気浄化装置 | |
| JP2004329499A (ja) | 空気清浄装置及びこれを使用した空気清浄方法 | |
| CN208493763U (zh) | 空气净化设备 | |
| JPH11290653A (ja) | ガス状汚染物質の除去方法及び除去装置 | |
| JP3089444U (ja) | 空気清浄機 | |
| JP2991963B2 (ja) | 基材又は基板表面の汚染防止方法と装置 | |
| JP3346677B2 (ja) | 基材又は基板表面の汚染防止方法と装置 | |
| JPH11285623A (ja) | 気体の清浄化方法及び装置 | |
| JP2009208055A (ja) | 光触媒フィルタユニット | |
| KR20100081480A (ko) | 요오드 타입 편광 필름의 제조를 위한 클린룸의 공조 시스템 | |
| KR100373843B1 (ko) | 챔버내 오염물 포집장치 | |
| Chuang et al. | Ultra-pure air (UPA) for AMC control in nano-processing environment |
Legal Events
| Date | Code | Title | Description |
|---|---|---|---|
| A521 | Request for written amendment filed |
Free format text: JAPANESE INTERMEDIATE CODE: A523 Effective date: 20100104 |
|
| A977 | Report on retrieval |
Free format text: JAPANESE INTERMEDIATE CODE: A971007 Effective date: 20110422 |
|
| A131 | Notification of reasons for refusal |
Free format text: JAPANESE INTERMEDIATE CODE: A131 Effective date: 20120612 |
|
| A521 | Request for written amendment filed |
Free format text: JAPANESE INTERMEDIATE CODE: A523 Effective date: 20120809 |
|
| TRDD | Decision of grant or rejection written | ||
| A01 | Written decision to grant a patent or to grant a registration (utility model) |
Free format text: JAPANESE INTERMEDIATE CODE: A01 Effective date: 20121002 |
|
| A01 | Written decision to grant a patent or to grant a registration (utility model) |
Free format text: JAPANESE INTERMEDIATE CODE: A01 |
|
| A61 | First payment of annual fees (during grant procedure) |
Free format text: JAPANESE INTERMEDIATE CODE: A61 Effective date: 20121015 |
|
| R150 | Certificate of patent or registration of utility model |
Ref document number: 5126192 Country of ref document: JP Free format text: JAPANESE INTERMEDIATE CODE: R150 Free format text: JAPANESE INTERMEDIATE CODE: R150 |
|
| FPAY | Renewal fee payment (event date is renewal date of database) |
Free format text: PAYMENT UNTIL: 20151109 Year of fee payment: 3 |
|
| S531 | Written request for registration of change of domicile |
Free format text: JAPANESE INTERMEDIATE CODE: R313531 |
|
| R350 | Written notification of registration of transfer |
Free format text: JAPANESE INTERMEDIATE CODE: R350 |
|
| LAPS | Cancellation because of no payment of annual fees |
