JP2010017643A - 手動式パウダースプレー器具及びそれを用いた手動式パウダースプレー容器 - Google Patents

手動式パウダースプレー器具及びそれを用いた手動式パウダースプレー容器 Download PDF

Info

Publication number
JP2010017643A
JP2010017643A JP2008179780A JP2008179780A JP2010017643A JP 2010017643 A JP2010017643 A JP 2010017643A JP 2008179780 A JP2008179780 A JP 2008179780A JP 2008179780 A JP2008179780 A JP 2008179780A JP 2010017643 A JP2010017643 A JP 2010017643A
Authority
JP
Japan
Prior art keywords
air flow
powder spray
manual
powder
manual powder
Prior art date
Legal status (The legal status is an assumption and is not a legal conclusion. Google has not performed a legal analysis and makes no representation as to the accuracy of the status listed.)
Granted
Application number
JP2008179780A
Other languages
English (en)
Other versions
JP5331985B2 (ja
Inventor
Kenji Nakamura
憲司 中村
Koji Nakamura
興司 中村
Current Assignee (The listed assignees may be inaccurate. Google has not performed a legal analysis and makes no representation or warranty as to the accuracy of the list.)
Individual
Original Assignee
Individual
Priority date (The priority date is an assumption and is not a legal conclusion. Google has not performed a legal analysis and makes no representation as to the accuracy of the date listed.)
Filing date
Publication date
Application filed by Individual filed Critical Individual
Priority to JP2008179780A priority Critical patent/JP5331985B2/ja
Publication of JP2010017643A publication Critical patent/JP2010017643A/ja
Application granted granted Critical
Publication of JP5331985B2 publication Critical patent/JP5331985B2/ja
Expired - Fee Related legal-status Critical Current
Anticipated expiration legal-status Critical

Links

Images

Classifications

    • BPERFORMING OPERATIONS; TRANSPORTING
    • B05SPRAYING OR ATOMISING IN GENERAL; APPLYING FLUENT MATERIALS TO SURFACES, IN GENERAL
    • B05BSPRAYING APPARATUS; ATOMISING APPARATUS; NOZZLES
    • B05B11/00Single-unit hand-held apparatus in which flow of contents is produced by the muscular force of the operator at the moment of use
    • B05B11/01Single-unit hand-held apparatus in which flow of contents is produced by the muscular force of the operator at the moment of use characterised by the means producing the flow
    • B05B11/06Gas or vapour producing the flow, e.g. from a compressible bulb or air pump
    • B05B11/061Gas or vapour producing the flow, e.g. from a compressible bulb or air pump characterised by the means producing the gas or vapour pressure
    • BPERFORMING OPERATIONS; TRANSPORTING
    • B05SPRAYING OR ATOMISING IN GENERAL; APPLYING FLUENT MATERIALS TO SURFACES, IN GENERAL
    • B05BSPRAYING APPARATUS; ATOMISING APPARATUS; NOZZLES
    • B05B11/00Single-unit hand-held apparatus in which flow of contents is produced by the muscular force of the operator at the moment of use
    • B05B11/01Single-unit hand-held apparatus in which flow of contents is produced by the muscular force of the operator at the moment of use characterised by the means producing the flow
    • B05B11/06Gas or vapour producing the flow, e.g. from a compressible bulb or air pump
    • B05B11/062Gas or vapour producing the flow, e.g. from a compressible bulb or air pump designed for spraying particulate material

Landscapes

  • Containers And Packaging Bodies Having A Special Means To Remove Contents (AREA)

Abstract

【課題】化粧品、医薬品等のパウダーを噴射する際に、空気流用の管路が詰まることがなく、常時噴射口からパウダーを噴射することができる手動式パウダースプレー器具、及び、場所を取らないで収納し携帯できる小型の手動式パウダースプレー容器を提供する。
【解決手段】本発明の手動式パウダースプレー器具は、手動により生成した空気流に化粧品、医薬品等のパウダーを混入させて噴射口から噴射するスプレー部を備える手動式パウダースプレー器具であって、前記スプレー部が空気流を通過させる空気流管路と前記パウダーを吸引する吸引管路とを有しており、該吸引管路が前記空気流管路に連通して連通口を形成し、その連通口の反対側の空気流管路内壁の上方に空間を有する内壁空間部が形成されていることを特徴とする。
【選択図】図2

Description

本発明は、手動により生成した空気流に化粧品、医薬品等のパウダーを混入させて噴射させる手動式パウダースプレー器具及びそれを用いた手動式パウダースプレー容器に関する。
化粧品パウダーに用いられるスプレー器具は、空気流源からの空気流を使用してパウダーを噴霧するものが知られている。このスプレー器具は、化粧用のタルカムパウダー32が容器28に収納されており、該容器の上部の栓30に設けられた小さな孔31の上方に設けた弁27を引き金40で開放させて、通路26が前記通路21と連通することで、前記パウダー32を前記空気流中に混入させて噴射させるものである(特許文献1参照)。
手動により生成した空気流に化粧品、医薬品等のパウダーを混入させて噴射するパウダースプレー器具としては、図8に示す手動式吸入器が知られている。粉薬の入ったガラス容器aの開口部に、金属製細管dが固着された金属製蓋bが嵌められ、その金属製細管dと金属製蓋bには複数の細孔l、mが設けられており、前記金属製細管dの先端にはノズルhが、後端にはゴム管eを介して吸入弁gを備えた球状ゴムfが設けられている。球状ゴムを圧縮することで金属製細管d中の空気流通孔を高速な空気流がノズルに向かって流れ、ガラス瓶中の空気圧が低下することにより、粉薬が空気流に乗って前記複数の細孔l、mからノズルに向かって噴射される。なお、図示されていないが、球状ゴムfがゴム管eと連結する部位に逆止弁が設けられている(特許文献2参照)。
米国特許第2153419号明細書 英国特許第545565号明細書
ところで、特許文献1のパウダー用スプレー器具は、空気流源、引き金40等から構成されているので、大きさが大型であるために収納する広い場所が必要であり、また、携帯して手軽に移動できるものではない。
一方、特許文献2の手動式吸入器は、ガラス瓶中の粉薬をノズルから勢いよく噴射させるのに、空気流を生成する球状ゴム、逆止弁、金属製細管d及び複数の細孔l、mを用いて空気流に粉薬を混入しているために、粉薬が金属製細管d、複数の細孔l、m等に詰まり粉薬が噴射できない虞がある。この詰まる理由は後に詳述する。
そこで、本発明者は特許文献2のパウダーがノズルに詰まるのを回避するために、試作器として図7に示す構造の手動式パウダースプレー器具20の開発を行った。
図7は試作器の手動式パウダースプレー器具20の要部縦断面図である。
図7に示すように、この手動式パウダースプレー器具20は、外套部8、スプレー部5、管路口5b、噴射口5c、逆止弁2及びポンプ部1から構成されている。そして、スプレー部5が外套部8の頭部に嵌合されており、このスプレー部5と球状ゴム等の弾性部材からなるポンプ部1との間に逆止弁2が設けられている。
手動によりポンプ部1を押すと、流速の速い空気が逆止弁管路2a、管路口5b、空気流管路5aを通って噴射口5cからパウダーが噴射される。前記空気流管路5aの途中には、パウダーを吸引する吸引管路9aが直角に交叉して取り付けられており、空気流が吸引管路9a上を流れると、容器に貯蔵されているパウダーが混入して噴射口5cから噴射される。
前記空気流管路5aが詰まるのを避けるために、空気流管路5aを末広がりの形状にすると共に、空気流管路5aの管路口5bの直径を大きくしてある。そのことにより空気流管路5aの詰まりが回避できるか否かを試みた。
ところが、この試作用パウダースプレー器具20は、何回も使用していると突然に空気流管路5aが詰まり噴射口5cからパウダーを噴射することができなくなる現象が発生することが分かった。そこで、パウダーが詰まる場所を調べた結果、空気流管路5aの中央付近から右方向になだらかに徐々に傾斜しながら、吸引管路9aが垂直に取り付けられた管路口5b近傍までの間で、管路底部にパウダーが凝集して詰まっていることが分かった。なお、試作器に用いた前記噴射口5cの直径は1.1mmで、前記直角に交叉する噴射口側の管路の直径は0.7mmであることから、空気流管路5aが非常に細いものである。
そして、上記特許文献2に記載のパウダースプレー器具も、パウダーが通る管路が空気流の通過する管路に連通しており、前記試作器と同じ構造であるから、パウダーが詰まる虞があるものと推定される。
それ故に、本発明は上記した問題点を鑑みてなされたものであり、化粧品、医薬品等のパウダーを噴射する際に、空気流管路が詰まることがなく、常時噴射口からパウダーを噴射することができる手動式パウダースプレー器具、及び、場所を取らないで収納し携帯できる小型の手動式パウダースプレー容器を提供することを目的とする。
本発明者は、その原因としてパウダーが以下に述べる現象が発生することで凝集して詰まるものと考えた。
ポンプ部1を手で押すと空気が逆止弁管路2a、空気流管路5aを流れ、その流速の速い空気流にパウダー管路9a、9a′の空気が吸引されて、該パウダー管路9a、9a′内の内部圧力が低圧状態になり、パウダー容器10内のパウダーが該管路を通って上昇し、流速の速い空気流に混入して噴射口5cから噴射される。しかし、前記ポンプ部1から手が離されると、上記空気流の流れが停止して、その瞬間には、前記パウダー管路9a、9a′内の内部圧力が低圧状態であるために、噴射口5cから空気が吸引されて空気の流れが逆流となり、空気流に混入したパウダーが空気流管路5aからパウダー管路9a、9a′へと戻されるために、空気流管路5aの底部にパウダーが堆積する。そのパウダーが堆積した状態が長期にわたって続くと、親水性であるパウダーが空気中の水分により凝集して前記底部にこびり付いてしまう。
前記底部にこびり付いた状態でパウダースプレー器具が何回も使用されると、使用する度ごとにパウダーが空気流管路5aの底部の凝集パウダーの上に堆積し続けることになり、そのような状態が長期にわたって続くと、前記空気流管路5aの径が小さくなり突然に空気流管路5aが詰まってしまうものと推測される。
本発明者は、詰まる原因が上記の現象が発生するためと考え、空気流の流れが停止する瞬間に、空気流管路5aの底部にパウダーが堆積するのを防止することを、鋭意研究に努めた結果、本発明を完成したものである。
上記課題を解決するために、請求項1に係る発明の手動式パウダースプレー器具は、手動により生成した空気流に化粧品、医薬品等のパウダーを混入させて噴射するスプレー部を備える手動式パウダースプレー器具であって、前記スプレー部が空気流を通過させる空気流管路と前記パウダーを吸引する吸引管路とを有しており、該吸引管路が前記空気流管路に連通して連通口を形成し、その連通口の反対側の空気流管路内壁の上方に空間を有する内壁空間部が形成されていることを特徴とする。
同様に、請求項2に係る発明の手動式パウダースプレー器具は、前記スプレー部が円柱形状である円柱部と、それに繋がる円錐形状の円錐部と、その円錐部の頭部に繋がる細い円柱形状である細径円柱部からなることを特徴とする。
請求項3に係る発明の手動式パウダースプレー器具は、前記吸引管路が前記空気流管路に直角に連通していることを特徴とする。
請求項4に係る発明の手動式パウダースプレー器具は、前記吸引管路が前記空気流管路に鋭角又は鈍角に連通していることを特徴とする。
請求項5に係る発明の手動式パウダースプレー器具は、前記内壁空間部が円柱状の形状であることを特徴とする。
請求項6に係る発明の手動式パウダースプレー器具は、前記吸引管路の形状が前記噴射口に向かって末広がり状であることを特徴とする。
請求項7に係る発明の手動式パウダースプレー器具は、前記空気流管路の噴射口側入口の面積に対する前記内壁空間部の体積の割合が、好ましくは3.91〜5.29の範囲、より好ましくは4.37〜4.83の範囲にあることを特徴とする。
請求項8に係る発明の手動式パウダースプレー器具は、前記空気流管路にポンプ部が連通して配置する位置が直線状であることを特徴とする。
請求項9に係る発明の手動式パウダースプレー器具は、前記空気流管路にポンプ部が連通して配置する位置が垂直状であることを特徴とする。
請求項10に係る発明の手動式パウダースプレー器具は、前記ポンプ部を筒状カバーが上から覆っていることを特徴とする。
請求項11に係る発明の手動式パウダースプレー容器は、パウダーを収納するパウダー容器の上に、空気流に化粧品、医薬品等のパウダーを混入させて噴射させる手動式パウダースプレー器具を支持する外筒部が嵌合されてなる手動式パウダースプレー容器であって、前記スプレー部が空気流を通過させる空気流管路と前記パウダーを吸引する吸引管路とを有しており、該吸引管路が前記空気流管路に連通して連通口を形成し、その連通口の反対側の空気流管路内壁の上方に空間を有する内壁空間部が形成されていることを特徴とする。
請求項12に係る発明の手動式パウダースプレー容器は、前記内壁空間部が円柱状の形状であることを特徴とする。
請求項13に係る発明の手動式パウダースプレー容器は、前記吸引管路の形状が前記噴射口に向かって末広がり状であることを特徴とする。
請求項14に係る発明の手動式パウダースプレー容器は、前記空気流管路の管路口の面積に対する前記内壁空間部の体積の割合が、好ましくは3.91〜5.29の範囲、より好ましくは4.37〜4.83の範囲にあることを特徴とする。
請求項15に係る発明の手動式パウダースプレー容器は、前記空気流管路にポンプ部が連通して配置する位置が直線状であることを特徴とする。
請求項16に係る発明の手動式パウダースプレー容器は、前記空気流管路にポンプ部が連通して配置する位置が垂直状であることを特徴とする。
本発明の手動式パウダースプレー器具は内壁空間部を備えることで、スプレー器具を使用する度ごとに空気流管路にパウダーが堆積するのを防ぐことができ、パウダーが凝集して詰まる虞が解消された。
本発明の前記内壁空間部は連通口の反対側の空気流管路内壁の上方に空間を有する内壁空間部が形成する簡単な構成のものであるので、その構成のものを形成する加工が容易なので、短時間に低コストでパウダースプレー器具を作製することができる。
本発明の手動式パウダースプレー容器は、パウダー容器の上に手動式パウダースプレー器具を支持する外筒部を嵌合するものなので、その形状が小型化できると共に場所を取らないで収納し携帯できるものである。特に、ポンプ部を筒状カバーで上から覆うことで、より一層携帯しやすくなり、また、ポンプ部の損傷を回避することができる。
本発明の手動式パウダースプレー器具を実施形態に沿って以下に図面を参照しながら詳細に説明する。
図1、図2及び3は本発明の第1の実施形態を示す。
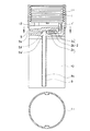
図1は本発明の手動式パウダースプレー器具を用いた手動式パウダースプレー容器30の斜視図である。ところで、該手動式パウダースプレー容器30は図7で示した試作器の手動式パウダースプレー器具20と同じ構造であり、そして、図2に示す本発明の手動式パウダースプレー器具20は、内壁空間部を有する点を除いて、図7に示す試作器の手動式パウダースプレー器具20と同じ構造であるので、本発明の手動式パウダースプレー器具を同じ符号を用いて説明する。
前記手動式パウダースプレー容器30は、パウダーを収納するパウダー容器の上に、空気流に化粧品、医薬品等のパウダーを混入させて噴射させる手動式パウダースプレー器具20を支持する外筒部8が嵌合されている。
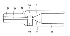
図2は本発明の手動式パウダースプレー器具20の第1の実施形態を示す要部縦断図である。
前記スプレー部5は、空気流にパウダーを混入させて噴射するもので、その外観形状が、円柱形状である円柱部5dと、それに繋がる円錐形状の円錐部5dと、その円錐部5dの頭部に繋がる細い円柱形状である細径円柱部5eから構成されている。
前記スプレー部5の右側には、ポンプ部1に逆流するのを防止する逆止弁2が設けられており、該逆止弁2は、逆止弁管路2a、ボール弁2b及びスプリングが嵌入されているスプリング管路2cから構成されている。そして、前記逆止弁2の右側には球状ゴムからなるポンプ部1の開口先端部を挟持するための溝が設けられ、それの左側には先端が円錐形の円筒部2dが形成されており、該逆止弁2の管路2aにポンプ部1が連通して配置する位置が直線状である。
前記スプレー部5は、前記逆止弁2の円錐形状の円筒部2dがスプレー部5の円柱部5dに嵌合されており、その中心軸に沿って該逆止弁2の逆止弁管路2a、スプリング管路2c、空気流管路5aそして噴射口5cが形成されており、ポンプ部1で生成された空気流は、上記各管路を通って噴射口5cから噴射される。前記スプリング管路2cの噴射口5c側の空気流管路5aは、噴射口5cに向かって徐々にその径が末広がり状に広がっている。
前記スプレー部5には、吸引管路9a′が空気流管路5a直角に連通し、その連通口の反対側の空気流管路内壁の上方に空間を有する内壁空間部5Xが形成されている。内壁空間部5Xは円柱状の形状である。
なお、第1〜3の実施の形態は、吸引管路9a′が空気流管路5aに連通する角度を直角として説明しているが、直角に限定されるものではなく、連通する角度が鋭角又は鈍角であっても良い。
外筒部8は手動式パウダースプレー器具20を支持してパウダー容器10に嵌合するものである。前記外筒部8の下方端部はパウダー容器10の肩部10bに嵌合されており、該外筒部8の上方頭部の左右の穴には前記手動式パウダースプレー器具20が挿入されて嵌合されている。更に、支持部材6の上方には前記スプレー部5を挿入して嵌合する穴が左右方向に形成されていて、その穴の中間部の下方に筒状部材6bが下方に突出して形成されている。
前記筒状部材6bはパウダーを吸引する吸引管9を挟持するものである。そして、前記支持部材6の下方には、ガスケット7を介してパウダー容器10の首部10aが袴部6aで挟持されている。
前記逆止弁2の左側には先端が円錐形の円筒部2dが形成されていて、その中心軸に沿ってポンプ部1で圧縮された空気が通過する逆止弁管路2aがくり抜かれており、その逆止弁管路2aより径が大きいスプリング管路2cが連通しており、そのスプリング管路2cにボール弁2b及びスプリングが収納されている。
図3は前記スプレー部5の縦断面拡大図である。この図は図6の実施例のスプレー部5と同じ形状のものであるが、図2に示したスプレー部5は、その形状と異なるものである。図3の管路9a′は円錐部5dの右側に設けられているのに対して、図2のそれは細径円柱部5eに設けられている点で相違するが、手動式パウダースプレー器具を作製する際に、どこの位置に管路9a′を設けるかは全体の構造からみて設計しやすい位置を選定すればよい。
図2及び図3を参照してスプレー部5の構成を説明する。
前記逆止弁2の先端が円錐形状の円筒部2dは、スプレー部5の円柱部5dとその先端部の円錐形の外筒部5fで嵌合されており、該スプレー部5はその円錐形の外筒部5fにより前記管路2a′の径が絞られて細くなっており、その細い径の管路はスプレー部5の中心軸に沿って空気流管路5aと連通されており、噴射口5cに向かって徐々に空気流管路5aの径が末広がりで広がっている。
このように拡径することで噴射口5cから噴射されるパウダーを広い領域に飛散させることができる。
本発明のパウダースプレー器具20は、空気流管路5aの内壁上に空間を有する内壁空間部5Xが形成さている点で、試作器のパウダースプレー器具20の構成と相違している。
上記したように、前記スプレー部5には、パウダーを吸引する吸引管9のパウダー管路9aに連通するパウダー管路9a′が穿設して設けられており、そして、そのパウダー管路9a′が空気流管路5aに連通して連通口を形成し、その連通口の反対側の空気流管路5aの内壁の上方に空間を有する内壁空間部5Xが形成されている。
ここで、前記スプレー部5が内壁空間部5Xを有することで、流速の速い空気流が停止する瞬間に、空気流管路5aの底部にパウダーが堆積されない理由を説明する。
ポンプ部1を手で押すと空気が空気流管路5aを流れ、その流速の速い空気流にパウダー管路9a、9a′の空気が吸引されて、該パウダー管路9a、9a′内の内部圧力が低圧状態になるために、パウダー容器10内のパウダーが該管路を通って上昇し、流速の速い空気流に混入して噴射口5cから噴射される。それと同時に、内壁空間部5X中の空気が流速の速い空気流に吸引され、該内壁空間部5Xの内部圧力も低圧状態になる。
前記ポンプ部1から手が離されると、上記空気流の流れが停止する。その瞬間には、前記パウダー管路9a、9a′内の内部圧力及び前記内壁空間部5Xの内部圧力が低圧状態であるために、噴射口5cから空気が吸引されて空気の流れが逆流となり、その逆流の空気流は、空気流管路5aから管路口5bを通過して、内壁空間部5Xの上壁を通ってパウダー管路9a、9a′へ流れるために、該空気流に混入されているパウダーは、空気流管路5aの底部に堆積することがない。
図5は本発明の手動式パウダースプレー容器30の第2の実施形態を示す要部縦断面図である。
図2に示すように、第1の実施形態は、前記ポンプ部1が逆止弁2に直線状に連結されており、ポンプ部1が球状ゴムからなるのに対して、第2の実施形態は、前記ポンプ部1が逆止弁2に垂直状に連結されており、ポンプ部1が蛇腹状弾性体からなることが相違している。それ以外の構造は第1の実施形態の構造と同じであるので、同じ符号を付して記載してある。
また、第1の実施形態の構造と相違する連結状態とポンプ部1を以下に説明するが、それ以外の構造の説明は省略する。
外筒部8は手動式パウダースプレー器具20を支持してパウダー容器10に嵌合するものである。
スプレー部5の右側には、ポンプ部1に逆流するのを防止する逆止弁2を嵌合する円柱部5dが設けられていて、該逆止弁2には、逆止弁管路2a、ボール弁2b及びスプリング2cが設けられている。前記逆止弁管路2aは右側が閉鎖されており、その逆止弁管路2aの垂直上にポンプ部1に連通した中空パイプ1′が挿入されて逆止弁管路2aに連通している。ポンプ部1の形状は蛇腹状であり、その蛇腹状のポンプ部1の内部にはコイルばねが設けられており、該ポンプ部1が押圧されて空気流が生成された後に、このばねの復元力により元の形状に戻る。符号11は筒状カバーであって、ばねが復元するときに外部の空気をポンプ部1に吸入するためのものである。
図6は本発明の手動式パウダースプレー容器30の第3の実施形態を示す要部縦断面図及び横断面図である。
第2の実施形態がポンプ部1にカバーがないのに対して、第3実施形態は、ポンプ部1にカバーを備えていることが相違している。それ以外の構造は第2の実施形態の構造と同じであるので、同じ符号を付して記載してある。従って、第2の実施形態の構造と相違するポンプ部1のカバーを以下に説明するが、それ以外の構造の説明は省略する。
ポンプ部1はパウダー容器10の幅より僅かに小さく、その右下端部にポンプ部1に連通した中空パイプ1′が逆止弁2に挿入されて逆止弁管路2aと連通しており、その左下端部に設けられた支持部材が外筒部8に固定されている。筒状カバー11が前記ポンプ部1を上から覆って配置されており、該筒状カバー11の下端部も前記外筒部8の一部を覆っている。図6に示すように、前記筒状カバー11の内周には中心と対向する位置に凸部材が設けられ、該凸部材が前記外筒部8の外周に設けられた溝部に嵌って摺動するように形成されているので、該筒状カバー11を押圧する際にがたつくことがなく、容易に上下に動かすことができる。また、前記筒状カバー11の中央下端部には吸入弁が設けられている。
上記した第3の実施形態の手動式パウダースプレー容器30は断面形状が球状として説明したが、この形状に限定されるものではなく、楕円状、長方形状等でも可能なものである。上記した第1及び第2の実施形態の手動式パウダースプレー容器30についても同様である。
図4はスプレー部の実施例の縦断面拡大図である。
図4を参照して、実施形態1、実施形態2及び実施形態3に使用するスプレー部5の実施例を説明する。
スプレー部5は長さが24.0mm、噴射口5cの直径が1.1mm、空気流管路5aの管路口5bの直径が0.7mm、内壁空間部5Xの高さが0.55mm、直径が2.0mmである。
前記空気流管路5aの管路口5bの面積は(0.7/2)×π=0.38であり、前記内壁空間部5Xの体積は(2.0/2)×π×0.55=1.73mmである。前記管路口5bの面積に対する前記内壁空間部5Xの体積の割合は4.6である。該割合は好ましくは3.91〜5.29の範囲、より好ましくは4.37〜4.83の範囲であれば、パウダーが空気流管路5aに凝集して詰まることはない。なお、前記割合が3.91より小さいと、逆流の空気流が空気流管路5aから管路口5bを通過して、内壁空間部5Xの上壁を通って流れる流量が少ないために、空気流管路5aの底部に堆積する虞があり、また、5.29より大きいと、噴射するパウダー量が少なくなり好ましくない。それは、噴射するパウダー量は、ポンプ部1を手で押したときの空気流の流量が前記内壁空間部5Xとパウダー管路9a、9a′の吸引される空気量に比例しているので、前記内壁空間部5Xの空気量が大きくなるからである。
本発明の手動式パウダースプレー器具を用いた手動式パウダースプレー容器の斜視図。 本発明の手動式パウダースプレー器具の第1の実施形態を示す要部縦断面図。 スプレー部の縦断面拡大図。 スプレー部の実施例の縦断面拡大図。 本発明の手動式パウダースプレー容器の第2の実施形態を示す要部縦断面図。 本発明の手動式パウダースプレー容器の第3の実施形態を示す要部縦断面図及び横断面図。 試作器の要部縦断面図。 特許文献2の手動式吸入器の縦断面図。
符号の説明
1 ポンプ部
2 逆止弁
2a 逆止弁管路
2b ボール弁
2c スプリング管路
2d 円筒部
5 スプレー部
5a 空気流管路
5b 管路口
5X 内壁空間部
6 支持部材
7 ガスケット
8 外套部
9 パウダー管
9a パウダー管路
11 筒状カバー
20 手動式パウダースプレー器具
30 手動式パウダースプレー容器

Claims (16)

  1. 手動により生成した空気流に化粧品、医薬品等のパウダーを混入させて噴射するスプレー部を備える手動式パウダースプレー器具であって、
    前記スプレー部が空気流を通過させる空気流管路と前記パウダーを吸引する吸引管路とを有しており、該吸引管路が前記空気流管路に連通して連通口を形成し、その連通口の反対側の空気流管路内壁の上方に空間を有する内壁空間部が形成されていることを特徴とする手動式パウダースプレー器具。
  2. 前記スプレー部が円柱形状である円柱部と、それに繋がる円錐形状の円錐部と、その円錐部の頭部に繋がる細い円柱形状である細径円柱部からなることを特徴とする請求項1に記載の手動式パウダースプレー器具。
  3. 前記吸引管路が前記空気流管路に直角に連通していることを特徴とする請求項1に記載の手動式パウダースプレー器具。
  4. 前記吸引管路が前記空気流管路に鋭角又は鈍角に連通していることを特徴とする請求項1に記載の手動式パウダースプレー器具。
  5. 前記内壁空間部が円柱状の形状であることを特徴とする請求項1に記載の手動式パウダースプレー器具。
  6. 前記空気流管路の形状が噴射口に向かって末広がり状であることを特徴とする請求項1に記載の手動式パウダースプレー器具。
  7. 前記空気流管路の管路口の面積に対する前記内壁空間部の体積の割合が、好ましくは3.91〜5.29の範囲、より好ましくは4.37〜4.83の範囲にあることを特徴とする請求項3に記載の手動式パウダースプレー器具。
  8. 前記空気流管路にポンプ部が連通して配置する位置が直線状であることを特徴とする請求項1に記載の手動式パウダースプレー器具。
  9. 前記空気流管路にポンプ部が連通して配置する位置が垂直状であることを特徴とする請求項1に記載の手動式パウダースプレー器具。
  10. 前記ポンプ部を筒状カバーが上から覆っていることを特徴とする請求項8に記載の手動式パウダースプレー器具。
  11. パウダーを収納するパウダー容器の上に、空気流に化粧品、医薬品等のパウダーを混入させて噴射させる手動式パウダースプレー器具を支持する外筒部が嵌合されてなる手動式パウダースプレー容器であって、
    前記スプレー部が空気流を通過させる空気流管路と前記パウダーを吸引する吸引管路とを有しており、該吸引管路が前記空気流管路に連通して連通口を形成し、その連通口の反対側の空気流管路内壁の上方に空間を有する内壁空間部が形成されていることを特徴とする手動式パウダースプレー容器。
  12. 前記内壁空間部が円柱状の形状であることを特徴とする請求項11に記載の手動式パウダースプレー容器。
  13. 前記空気流管路の形状が噴射口に向かって末広がり状であることを特徴とする請求項11又は12に記載の手動式パウダースプレー容器。
  14. 前記空気流管路の管路口の面積に対する前記内壁空間部の体積の割合が、好ましくは3.91〜5.29の範囲、より好ましくは4.37〜4.83の範囲にあることを特徴とする請求項11に記載の手動式パウダースプレー容器。
  15. 前記空気流管路にポンプ部が連通して配置する位置が直線状であることを特徴とする請求項11に記載の手動式パウダースプレー容器。
  16. 前記空気流管路にポンプ部が連通して配置する位置が垂直状であることを特徴とする請求項11に記載の手動式パウダースプレー容器。
JP2008179780A 2008-07-10 2008-07-10 手動式パウダースプレー器具及びそれを用いた手動式パウダースプレー容器 Expired - Fee Related JP5331985B2 (ja)

Priority Applications (1)

Application Number Priority Date Filing Date Title
JP2008179780A JP5331985B2 (ja) 2008-07-10 2008-07-10 手動式パウダースプレー器具及びそれを用いた手動式パウダースプレー容器

Applications Claiming Priority (1)

Application Number Priority Date Filing Date Title
JP2008179780A JP5331985B2 (ja) 2008-07-10 2008-07-10 手動式パウダースプレー器具及びそれを用いた手動式パウダースプレー容器

Publications (2)

Publication Number Publication Date
JP2010017643A true JP2010017643A (ja) 2010-01-28
JP5331985B2 JP5331985B2 (ja) 2013-10-30

Family

ID=41703047

Family Applications (1)

Application Number Title Priority Date Filing Date
JP2008179780A Expired - Fee Related JP5331985B2 (ja) 2008-07-10 2008-07-10 手動式パウダースプレー器具及びそれを用いた手動式パウダースプレー容器

Country Status (1)

Country Link
JP (1) JP5331985B2 (ja)

Cited By (4)

* Cited by examiner, † Cited by third party
Publication number Priority date Publication date Assignee Title
CN102431731A (zh) * 2011-09-28 2012-05-02 余姚市特力喷雾器有限公司 一种喷头结构及安装有该喷头结构的喷粉装置
JP2014004579A (ja) * 2012-06-26 2014-01-16 Samsung Electro-Mechanics Co Ltd パーティクル分散装置
FR3083724A1 (fr) * 2018-07-13 2020-01-17 Albea Services Dispositif de distribution d'une pluralite de produits cosmetiques
JP7634407B2 (ja) 2021-03-31 2025-02-21 株式会社吉野工業所 粉体吐出容器

Citations (3)

* Cited by examiner, † Cited by third party
Publication number Priority date Publication date Assignee Title
GB545565A (en) * 1941-11-07 1942-06-02 Evans Sons Lescher & Webb Ltd Improvements in or relating to hand-operable powder insufflating devices or appliances
JP2008531101A (ja) * 2005-02-23 2008-08-14 オプティノーズ アズ 粉体配送装置
JP2010532709A (ja) * 2007-07-06 2010-10-14 エルブイエムエイチ レシェルシェ ベンチュリスプレー装置、及び美容業及び香水製造業における該装置の利用

Patent Citations (3)

* Cited by examiner, † Cited by third party
Publication number Priority date Publication date Assignee Title
GB545565A (en) * 1941-11-07 1942-06-02 Evans Sons Lescher & Webb Ltd Improvements in or relating to hand-operable powder insufflating devices or appliances
JP2008531101A (ja) * 2005-02-23 2008-08-14 オプティノーズ アズ 粉体配送装置
JP2010532709A (ja) * 2007-07-06 2010-10-14 エルブイエムエイチ レシェルシェ ベンチュリスプレー装置、及び美容業及び香水製造業における該装置の利用

Cited By (4)

* Cited by examiner, † Cited by third party
Publication number Priority date Publication date Assignee Title
CN102431731A (zh) * 2011-09-28 2012-05-02 余姚市特力喷雾器有限公司 一种喷头结构及安装有该喷头结构的喷粉装置
JP2014004579A (ja) * 2012-06-26 2014-01-16 Samsung Electro-Mechanics Co Ltd パーティクル分散装置
FR3083724A1 (fr) * 2018-07-13 2020-01-17 Albea Services Dispositif de distribution d'une pluralite de produits cosmetiques
JP7634407B2 (ja) 2021-03-31 2025-02-21 株式会社吉野工業所 粉体吐出容器

Also Published As

Publication number Publication date
JP5331985B2 (ja) 2013-10-30

Similar Documents

Publication Publication Date Title
CN110582316B (zh) 吸入装置和方法
JP2000511499A (ja) 液体用ディスペンサ装置
KR101010725B1 (ko) 치과용 핸드피스
JP7165432B2 (ja) スプレー缶
US20030024951A1 (en) Pump dispenser and spraying apparatus provided with the same
CN110769882B (zh) 具有多液体喷嘴的吸入装置和方法
US8454360B2 (en) Liquid droplet interproximal cleaning apparatus with gas stream protection
JP5331985B2 (ja) 手動式パウダースプレー器具及びそれを用いた手動式パウダースプレー容器
US7690536B2 (en) Foam dispenser
JP2004503366A (ja) 圧搾噴射器用可変排出噴射ヘッド
PT1311453E (pt) Bocal de enchimento a jacto conico e maquina de enchimento equipada com o referido bocal
JP6843423B2 (ja) 口腔洗浄装置用のノズル装置
KR101599519B1 (ko) 액상분사장치
JP2013508051A (ja) 流体投与装置用の投与ヘッド
JP2003520663A5 (ja)
KR101280865B1 (ko) 분사노즐 및 이를 이용한 분사장치
JP2009131367A (ja) エアロゾル吸引器
US20050023295A1 (en) Dosing device with an application top
EP2018225A2 (en) Improvements in and relating to liquid dispensing apparatus
JP2006346611A (ja) 洗浄液噴射装置
CN110650809B (zh) 喷洒装置及其制造方法
JP3165278U (ja) 液体散布装置
JP5325264B2 (ja) スプレー装置
JP2000271514A (ja) 噴霧製品
KR101697629B1 (ko) 반전 반이 구비된 스프레이용 노즐

Legal Events

Date Code Title Description
A625 Written request for application examination (by other person)

Free format text: JAPANESE INTERMEDIATE CODE: A625

Effective date: 20110704

A977 Report on retrieval

Free format text: JAPANESE INTERMEDIATE CODE: A971007

Effective date: 20130321

A131 Notification of reasons for refusal

Free format text: JAPANESE INTERMEDIATE CODE: A131

Effective date: 20130402

A521 Request for written amendment filed

Free format text: JAPANESE INTERMEDIATE CODE: A523

Effective date: 20130529

Free format text: JAPANESE INTERMEDIATE CODE: A821

Effective date: 20130529

RD02 Notification of acceptance of power of attorney

Free format text: JAPANESE INTERMEDIATE CODE: A7422

Effective date: 20130529

TRDD Decision of grant or rejection written
A01 Written decision to grant a patent or to grant a registration (utility model)

Free format text: JAPANESE INTERMEDIATE CODE: A01

Effective date: 20130702

A61 First payment of annual fees (during grant procedure)

Free format text: JAPANESE INTERMEDIATE CODE: A61

Effective date: 20130705

R150 Certificate of patent or registration of utility model

Ref document number: 5331985

Country of ref document: JP

Free format text: JAPANESE INTERMEDIATE CODE: R150

Free format text: JAPANESE INTERMEDIATE CODE: R150

R250 Receipt of annual fees

Free format text: JAPANESE INTERMEDIATE CODE: R250

R250 Receipt of annual fees

Free format text: JAPANESE INTERMEDIATE CODE: R250

R250 Receipt of annual fees

Free format text: JAPANESE INTERMEDIATE CODE: R250

R250 Receipt of annual fees

Free format text: JAPANESE INTERMEDIATE CODE: R250

S111 Request for change of ownership or part of ownership

Free format text: JAPANESE INTERMEDIATE CODE: R313113

R350 Written notification of registration of transfer

Free format text: JAPANESE INTERMEDIATE CODE: R350

R250 Receipt of annual fees

Free format text: JAPANESE INTERMEDIATE CODE: R250

R250 Receipt of annual fees

Free format text: JAPANESE INTERMEDIATE CODE: R250

LAPS Cancellation because of no payment of annual fees