JP2010017080A - 相電流検出装置 - Google Patents
相電流検出装置 Download PDFInfo
- Publication number
- JP2010017080A JP2010017080A JP2009241554A JP2009241554A JP2010017080A JP 2010017080 A JP2010017080 A JP 2010017080A JP 2009241554 A JP2009241554 A JP 2009241554A JP 2009241554 A JP2009241554 A JP 2009241554A JP 2010017080 A JP2010017080 A JP 2010017080A
- Authority
- JP
- Japan
- Prior art keywords
- capacitor
- current
- phase
- motor
- voltage
- Prior art date
- Legal status (The legal status is an assumption and is not a legal conclusion. Google has not performed a legal analysis and makes no representation as to the accuracy of the status listed.)
- Granted
Links
Images
Landscapes
- Rectifiers (AREA)
- Control Of Ac Motors In General (AREA)
- Inverter Devices (AREA)
Abstract
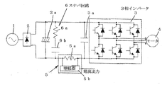
【解決手段】交流電源1を入力とする整流回路2の出力端子間に第1コンデンサ(平滑用コンデンサ)2aを接続し、第1コンデンサ2aと並列に3相インバータ3を接続し、3相インバータ3の出力をモータ4に供給している。そして、3相インバータ3の入力側に並列に第2コンデンサ3aを接続し、第1コンデンサ2aと第2コンデンサ3aとの間に電流検出器5を接続し、電流検出器5よりも電源側に、抵抗6aと第3コンデンサ6bとの直列接続回路(スナバ回路)6を第1コンデンサ2aと並列に接続している。
【選択図】図1
Description
4 モータ
6 スナバ回路
Claims (2)
- PWMインバータ(3)からの出力をモータ(4)に供給してモータ(4)を駆動するモータ駆動装置において、DCリンクの電流および加えるベクトルパターンに基づいてモータ(4)の相電流を検出するものであって、
前記DCリンクの二線間に平滑コンデンサ(2a)を、
前記DCリンクの一線に前記DCリンクの前記電流を検出する電流検出器(5)を、
前記電流検出器よりも前記平滑コンデンサ側で前記平滑コンデンサに並列に接続され、前記インバータ(3)のスイッチングにより発生する前記DCリンクの共振電流を抑制するためのスナバ回路(6)を
それぞれ設けたことを特徴とする相電流検出装置。 - 前記スナバ回路(6)はRC回路(6)である請求項1に記載の相電流検出装置。
Priority Applications (1)
| Application Number | Priority Date | Filing Date | Title |
|---|---|---|---|
| JP2009241554A JP5218371B2 (ja) | 2009-10-20 | 2009-10-20 | 相電流検出装置 |
Applications Claiming Priority (1)
| Application Number | Priority Date | Filing Date | Title |
|---|---|---|---|
| JP2009241554A JP5218371B2 (ja) | 2009-10-20 | 2009-10-20 | 相電流検出装置 |
Related Parent Applications (1)
| Application Number | Title | Priority Date | Filing Date |
|---|---|---|---|
| JP2002298320A Division JP4722372B2 (ja) | 2002-10-11 | 2002-10-11 | 相電流検出装置 |
Publications (2)
| Publication Number | Publication Date |
|---|---|
| JP2010017080A true JP2010017080A (ja) | 2010-01-21 |
| JP5218371B2 JP5218371B2 (ja) | 2013-06-26 |
Family
ID=41702606
Family Applications (1)
| Application Number | Title | Priority Date | Filing Date |
|---|---|---|---|
| JP2009241554A Expired - Lifetime JP5218371B2 (ja) | 2009-10-20 | 2009-10-20 | 相電流検出装置 |
Country Status (1)
| Country | Link |
|---|---|
| JP (1) | JP5218371B2 (ja) |
Cited By (3)
| Publication number | Priority date | Publication date | Assignee | Title |
|---|---|---|---|---|
| WO2017187577A1 (ja) * | 2016-04-27 | 2017-11-02 | 三菱電機株式会社 | インバータ装置 |
| JP2019017231A (ja) * | 2017-07-11 | 2019-01-31 | Tdk株式会社 | 電子機器 |
| EP3160033B1 (en) * | 2015-10-20 | 2022-12-14 | Schneider Electric IT Corporation | Current sensing system for full-bridge pulse-width modulated inverter system |
Citations (3)
| Publication number | Priority date | Publication date | Assignee | Title |
|---|---|---|---|---|
| JPH1032986A (ja) * | 1996-07-12 | 1998-02-03 | Toyo Electric Mfg Co Ltd | インバ−タ装置の保護回路 |
| JP2002084760A (ja) * | 2000-09-07 | 2002-03-22 | Nissan Motor Co Ltd | Pwmインバータの出力電流検出装置 |
| JP2002291260A (ja) * | 2001-03-26 | 2002-10-04 | Mitsubishi Electric Corp | モータ制御装置及びこれを用いた圧縮機 |
-
2009
- 2009-10-20 JP JP2009241554A patent/JP5218371B2/ja not_active Expired - Lifetime
Patent Citations (3)
| Publication number | Priority date | Publication date | Assignee | Title |
|---|---|---|---|---|
| JPH1032986A (ja) * | 1996-07-12 | 1998-02-03 | Toyo Electric Mfg Co Ltd | インバ−タ装置の保護回路 |
| JP2002084760A (ja) * | 2000-09-07 | 2002-03-22 | Nissan Motor Co Ltd | Pwmインバータの出力電流検出装置 |
| JP2002291260A (ja) * | 2001-03-26 | 2002-10-04 | Mitsubishi Electric Corp | モータ制御装置及びこれを用いた圧縮機 |
Cited By (5)
| Publication number | Priority date | Publication date | Assignee | Title |
|---|---|---|---|---|
| EP3160033B1 (en) * | 2015-10-20 | 2022-12-14 | Schneider Electric IT Corporation | Current sensing system for full-bridge pulse-width modulated inverter system |
| WO2017187577A1 (ja) * | 2016-04-27 | 2017-11-02 | 三菱電機株式会社 | インバータ装置 |
| JPWO2017187577A1 (ja) * | 2016-04-27 | 2018-07-19 | 三菱電機株式会社 | インバータ装置 |
| JP2019017231A (ja) * | 2017-07-11 | 2019-01-31 | Tdk株式会社 | 電子機器 |
| US10784774B2 (en) | 2017-07-11 | 2020-09-22 | Tdk Corporation | Switching power supply device |
Also Published As
| Publication number | Publication date |
|---|---|
| JP5218371B2 (ja) | 2013-06-26 |
Similar Documents
| Publication | Publication Date | Title |
|---|---|---|
| CN102577070B (zh) | 相电流检测装置及使用该相电流检测装置的功率转换装置 | |
| CN102326328B (zh) | 电力变换装置及其控制方法 | |
| JP6067105B2 (ja) | 電力変換装置、およびそれを備えたモータ駆動装置、およびそれを備えた送風機、圧縮機、およびそれらを備えた空気調和機、冷蔵庫、ならびに冷凍機 | |
| CN101873057B (zh) | 有源滤波装置以及电力转换装置 | |
| CN108627684B (zh) | 用于检测逆变器的输出电流的设备 | |
| JP5822773B2 (ja) | 電力変換装置 | |
| JP6138276B2 (ja) | 電力変換装置、およびそれを備えたモータ駆動装置、およびそれを備えた送風機、圧縮機、およびそれらを備えた空気調和機、冷蔵庫、ならびに冷凍機 | |
| CN109121454B (zh) | 功率转换装置 | |
| CN105556816B (zh) | 电力转换装置和电力转换装置的控制方法 | |
| JP4722372B2 (ja) | 相電流検出装置 | |
| CN108496302A (zh) | 具有lcl线路和共模滤波器的频率转换器 | |
| JPWO2014049779A1 (ja) | 電力変換装置 | |
| JP2010098820A (ja) | 電力変換装置 | |
| JP5218371B2 (ja) | 相電流検出装置 | |
| ES2696279T3 (es) | Aparato y método para controlar un inversor | |
| CN113016131A (zh) | 马达驱动装置以及使用该马达驱动装置的空调机 | |
| JP6372424B2 (ja) | 電力変換装置および電流検出方法 | |
| JP2017175795A (ja) | 電力変換装置及びその地絡検出方法 | |
| CN103124145B (zh) | 三相整流装置 | |
| CN105075101B (zh) | 电力转换装置及其电动机驱动装置、鼓风机、压缩机、空调机、冰箱、制冷机 | |
| JP5979818B2 (ja) | 電力変換装置 | |
| JP6647421B2 (ja) | 電力変換装置 | |
| JP6573167B2 (ja) | 並列チョッパ装置 | |
| KR20120028429A (ko) | 모터 권선 저항을 이용한 3상 인버터 출력 전류 검출장치 | |
| KR20180088160A (ko) | 전력변환장치 |
Legal Events
| Date | Code | Title | Description |
|---|---|---|---|
| A621 | Written request for application examination |
Free format text: JAPANESE INTERMEDIATE CODE: A621 Effective date: 20091020 |
|
| A131 | Notification of reasons for refusal |
Free format text: JAPANESE INTERMEDIATE CODE: A131 Effective date: 20120228 |
|
| A521 | Request for written amendment filed |
Free format text: JAPANESE INTERMEDIATE CODE: A523 Effective date: 20120501 |
|
| TRDD | Decision of grant or rejection written | ||
| A01 | Written decision to grant a patent or to grant a registration (utility model) |
Free format text: JAPANESE INTERMEDIATE CODE: A01 Effective date: 20130205 |
|
| A61 | First payment of annual fees (during grant procedure) |
Free format text: JAPANESE INTERMEDIATE CODE: A61 Effective date: 20130218 |
|
| FPAY | Renewal fee payment (event date is renewal date of database) |
Free format text: PAYMENT UNTIL: 20160315 Year of fee payment: 3 |
|
| R151 | Written notification of patent or utility model registration |
Ref document number: 5218371 Country of ref document: JP Free format text: JAPANESE INTERMEDIATE CODE: R151 |
|
| FPAY | Renewal fee payment (event date is renewal date of database) |
Free format text: PAYMENT UNTIL: 20160315 Year of fee payment: 3 |
|
| EXPY | Cancellation because of completion of term |
