JP2010016902A - イメージデータ圧縮方法及び復元方法 - Google Patents

イメージデータ圧縮方法及び復元方法 Download PDF

Info

Publication number
JP2010016902A
JP2010016902A JP2009241608A JP2009241608A JP2010016902A JP 2010016902 A JP2010016902 A JP 2010016902A JP 2009241608 A JP2009241608 A JP 2009241608A JP 2009241608 A JP2009241608 A JP 2009241608A JP 2010016902 A JP2010016902 A JP 2010016902A
Authority
JP
Japan
Prior art keywords
data
image
dot
halftone dot
halftone
Prior art date
Legal status (The legal status is an assumption and is not a legal conclusion. Google has not performed a legal analysis and makes no representation as to the accuracy of the status listed.)
Granted
Application number
JP2009241608A
Other languages
English (en)
Other versions
JP4567802B2 (ja
Inventor
Shoichi Kojima
正一 小島
Current Assignee (The listed assignees may be inaccurate. Google has not performed a legal analysis and makes no representation or warranty as to the accuracy of the list.)
Oki Data Infotech Corp
Original Assignee
Oki Data Infotech Corp
Priority date (The priority date is an assumption and is not a legal conclusion. Google has not performed a legal analysis and makes no representation as to the accuracy of the date listed.)
Filing date
Publication date
Application filed by Oki Data Infotech Corp filed Critical Oki Data Infotech Corp
Priority to JP2009241608A priority Critical patent/JP4567802B2/ja
Publication of JP2010016902A publication Critical patent/JP2010016902A/ja
Application granted granted Critical
Publication of JP4567802B2 publication Critical patent/JP4567802B2/ja
Anticipated expiration legal-status Critical
Expired - Fee Related legal-status Critical Current

Links

Images

Landscapes

  • Compression Of Band Width Or Redundancy In Fax (AREA)
  • Image Processing (AREA)
  • Facsimile Image Signal Circuits (AREA)
  • Record Information Processing For Printing (AREA)

Abstract

【課題】 圧縮及び復元することによる画質の劣化が抑制されるイメージデータの圧縮方法及び復元方法を提供する。また、圧縮率が大きいイメージデータの圧縮方法及び復元方法を提供する。
【解決手段】 本発明のイメージデータ圧縮方法は、紙面から読み取ったデジタルイメージに含まれるイメージ要素を抽出し(S02)、イメージ要素の種類に応じた圧縮手法を用いて、抽出された各イメージ要素(51〜53)をデータ圧縮し(S03〜S05)、圧縮した各イメージ要素データ(54〜56)を記憶格納することを特徴とする。
【選択図】 図1

Description

本発明は、イメージデータの圧縮方法と復元方法に関する。
イメージデータを処理するための資源を有効に活用するために、イメージデータを圧縮し、更に復元する方法が広く使用されている。
このようなイメージデータの圧縮方法及び復元方法として、イメージデータに含まれる全てのイメージ要素を1つのアルゴリズムで圧縮し、更に復元するものが知られている。公知のそのイメージデータの圧縮方法及び復元方法では、活字、手書き文字、手書き図面、自由細点、表、イラスト、グラフィック、平網、写真のような様々な種類のイメージ要素を含むイメージデータが、1つのアルゴリズムで圧縮され、又は復元される。
しかし、公知のそのイメージデータの圧縮方法及び復元方法では、イメージデータに含まれる全てのイメージ要素について、イメージデータを圧縮することによる画質の劣化を抑制することは困難である。たとえば、写真から生成されたイメージデータを圧縮・復元したときに画質の劣化が生じにくいアルゴリズムを使用して、文字及び線から生成されたイメージデータを圧縮・復元すると、その文字及び線のエッジは、綺麗に復元されない。逆に、文字及び線から生成されたイメージデータを圧縮・復元したときに画質の劣化が生じにくいアルゴリズムを使用して、写真から生成されたイメージデータを圧縮・復元すると、写真のイメージが崩れる傾向にある。
イメージデータの圧縮方法及び復元方法では、イメージデータを圧縮することによる画質の劣化が抑制されることが望ましい。
更に、公知のそのイメージデータの圧縮方法及び復元方法では、全てのイメージ要素について、圧縮率を向上することと、イメージデータを圧縮することによるイメージデータの劣化を抑制することとを両立することは困難である。写真から生成されたイメージデータに有効なアルゴリズムで、活字、手書き文字、手書き図面、表、イラストのようなイメージ要素から生成されたイメージデータを圧縮及び復元すると、そのイメージ要素のエッジは、醜く復元される。更に、復元された画像のピントが甘くなる。逆に、線画等に有効な手法で処理するとグラフィック、平網、写真等の画質が劣化する。更に、圧縮データのデータ量が増加してしまう。
イメージデータの圧縮方法及び復元方法では、圧縮率が大きく、且つ、イメージデータを圧縮することによる画質の劣化が抑制されることが望ましい。
また、印刷物に描かれている画像から生成されたイメージデータを圧縮し、更に、復元することが一般に、行われている。カラーの印刷物に描かれている画像は、図41に示されているように、画素501から構成されている。画素501のそれぞれは、青版網点502a、赤版網点502b、黄版網点502c、墨版網点502dからなる。青版網点502aは、青版(C版)の網点(Dot)である。赤版網点502bは、赤版(M版)の網点である。黄版網点502cは、黄版(Y版)の網点である。墨版網点502dは、墨版(K版)の網点である。青版網点502a、赤版網点502b、黄版網点502c、墨版網点502dの配置は、図41に示されているものに限られない。青版網点502a、赤版網点502b、黄版網点502c、墨版網点502dは、網点502と総称される。網点502は、図42(a)に示されているように、正方形であることがあり、また、図42(b)に示されているように、他の形状、例えば、円形であることがある。
一の版に含まれる網点502は、図43に示されているように、印刷規則に従ってスクリーン線503の上に規則的に配置されている。スクリーン線503とX軸とは、印刷規則に定められた角度で交わる。その角度は、各版毎に異なる。スクリーン線503は、互いに平行に、更に等間隔に、配置されている。ここで、スクリーン線503の間隔をdsとすると、1/dsは、スクリーン線密度と呼ばれる。スクリーン線密度は、スクリーン線503に垂直な方向に単位長さ、典型的には、1インチの線分を取ったときに、その線分と交わるスクリーン線503の本数である。
網点502は、その中心点が、スクリーン線503の上に有るように、配置される。ここで網点502の中心点とは、網点502が正方形であるときは、その対角線が交わる点である。網点502が円であるときは、網点502の中心点とは、その円の中心をいう。
各網点502の面積は、階調を示している。網点502の面積が大きいほど、人間の眼では、その網点502のある位置の濃度が高いと認識される。
上述されているような配置と形状とを有する網点から構成される画像は、本来的に、冗長度が大きい。
しかし、従来のイメージデータの圧縮方法及び復元方法では、印刷物に描かれている画像が、網点から構成されていることが利用されていない。従来のイメージデータの圧縮方法及び復元方法では、印刷物に描かれている画像が、効果的に圧縮されない。
網点により構成されている画像から生成されたイメージデータを、効果的に圧縮し、復元する方法が提供されることが望ましい。
更に、従来のイメージデータ圧縮方法及び復元方法では、網点は、画像に含まれる他のイメージ要素と区別されることなく圧縮され、復元される。網点そのものは、復元されない。このとき、復元されたイメージデータを拡大し、又は縮小すると、画像全体に対する網点の面積比、即ち、網点パーセントが保存されない。このため、復元されたイメージデータを拡大し、又は縮小すると、色が劣化することがある。更に、復元されたイメージデータを拡大し、又は縮小すると、モアレが発生することがある。
網点により構成されている画像から生成されたイメージデータが、圧縮し、更に復元されたときに、復元されたイメージデータに対して拡大や縮小のような演算が行っても、画質の劣化が発生しないことが望ましい。
また、イメージデータ圧縮方法では、イメージデータの圧縮が、高速に行われることが望ましい。特に、エッジが強調されている画像を示すイメージデータの圧縮が、高速に行われることが望ましい。
また、イメージデータ圧縮方法では、印刷規則に定められた配置を有さない、小さい面積を有する細点から構成されている印刷物から生成されたイメージデータを、効果的に圧縮し、復元するイメージデータの圧縮方法及び復元方法が提供されることが望ましい。
本発明の目的は、圧縮及び復元することによる画質の劣化が抑制されるイメージデータの圧縮方法及び復元方法を提供することにある。
本発明の他の目的は、圧縮率が大きいイメージデータの圧縮方法及び復元方法を提供することにある。
本発明の更に他の目的は、圧縮率が大きく、且つ、圧縮及び復元することによる画質の劣化が抑制されるイメージデータの圧縮方法及び復元方法を提供することにある。
本発明の更に他の目的は、網点から構成されている印刷物から生成されたイメージデータを、効果的に圧縮し、復元するイメージデータの圧縮方法及び復元方法を提供することにある。
本発明の更に他の目的は、イメージデータの圧縮が、高速に行われるイメージデータの圧縮方法を提供することにある。
本発明の更に他の目的は、エッジが強調されている画像を示すイメージデータの圧縮が、高速に行われるイメージデータの圧縮方法を提供することにある。
また、印刷規則に定められた配置を有さない、小さい面積を有する細点から構成されている印刷物から生成されたイメージデータを、効果的に圧縮し、復元するイメージデータの圧縮方法及び復元方法を提供することにある。
その課題を解決するための手段は、下記のように表現される。その表現中に現れる技術的事項には、括弧()つきで、番号、記号等が添記されている。その番号、記号等は、本発明の複数の実施の形態のうちの、少なくとも1つの実施の形態を構成する技術的事項、特に、その実施の形態に対応する図面に表現されている技術的事項に付せられている参照番号、参照記号等に一致している。このような参照番号、参照記号は、請求項記載の技術的事項と実施の形態の技術的事項との対応・橋渡しを明確にしている。このような対応・橋渡しは、請求項記載の技術的事項が実施の形態の技術的事項に限定されて解釈されることを意味しない。
本発明によるイメージデータ圧縮方法は、紙面から読み取ったデジタルイメージ(30)に含まれるイメージ要素(31〜41)を抽出し、イメージ要素(31〜41)の種類に応じた圧縮手法を用いて、抽出された各イメージ要素をデータ圧縮し、圧縮した各イメージ要素データ(54〜56)を記憶装置(3)に記憶格納することを特徴とする。
各イメージ要素(31〜41)はそれぞれ特徴を持っている。その特徴から、各イメージ要素(31〜41)を分別し、抽出することが可能である。抽出されたイメージ要素(31〜41)の種類に対応したアルゴリズムで、イメージ要素データ(51〜53)が圧縮され、復元されることにより、圧縮及び復元による画質の劣化が抑制される。また、圧縮率が向上する。
例えば、エッジを綺麗に復元したいイメージは、エッジに有効な圧縮・復元処理が行われる。グラフィック、平網、写真のような印刷画像を綺麗に復元したいイメージ等には、印刷網点画像に有効な圧縮・復元処理が行われる。規則性を持たずに配置された細かな細点(以下、「自由細点」と呼ばれることがある。)の集合体を、高圧縮でしかも綺麗に復元する為に、自由細点の集合体に有効な圧縮・復元処理が行われる。
各イメージ要素の種類の判別方法として、次のような判別方法が使用され得る。
第1判別方法では、以下の過程により、各イメージ要素の種類が判別される。自由細点の集合体から構成されるイメージ要素は、印刷網点より面積が大きく、且つ、所定の面積より小さい点であり、且つ、印刷網点の規則性がないことから判別される。また、印刷画像は印刷網点の規則性がある細かい点の集合体である。印刷画像は、印刷網点の規則性の存在から、判別される。残りのイメージ要素は全て線画イメージであると判別される。
第2判別方法では、組版要素の違いから各イメージ要素の種類が判別される。活字文字は、字面の特徴を有する。手書き文字は、字面の特徴を有しない。また、印判、印鑑、線画は、自由な線の集合体の特徴、即ち、字面がなく、更に印刷網点もないという特徴を有する。平網は、印刷網点の規則性が存在し、階調が存在しないという特徴を有する。階調網は、印刷網点の規則性が存在し、しかも、網点列に階調が存在するという特徴を有する。写真網は、印刷網点の規則性は存在するが平網、階調網の規則性が存在しないという特徴を有する。これらの特徴から、各イメージ要素の種類が判別される。
第3判別方法では、表示要素の違いから各イメージ要素の種類が判別される。つまり、文章物は、文字列が連続的に配置されているという特徴を有する。漫画物は、イラストと自由な細かい線列と細点が存在するという特徴を有する。また、地図物は、地図の決まった規則性が存在するという特徴を有する。広告物は広告枠が存在し、更に、紙面上での配置に、規則性が存在するという特徴を有する。表物は、罫線で構成された四角形を有するという特徴を有する。写真物は、印刷網点の規則性は存在するが平網、階調網の規則性が存在しないという特徴を有する。これらの特徴から、各イメージ要素の種類が判別される。
当該イメージデータ圧縮方法において、圧縮された各イメージ要素データには、その各イメージ要素データに対応するイメージ要素が紙面中に存していたときの位置情報及び線密度情報が付加されていることが望ましい。
また、当該イメージデータ圧縮方法において、紙面から読み取ったデジタルイメージはカラーイメージであることがある。この場合、イメージ要素の抽出及びイメージ要素のデータ圧縮は、色成分毎に行われることが望ましい。
本発明のイメージデータの復元方法は、紙面から読み取られて圧縮された各イメージ要素データを、当該イメージ要素の種類に応じた復元手法を用いて復元し、復元された各イメージ要素を重ね合わせ合成して、紙面イメージを復元することを特徴とする。
このとき、圧縮された各イメージ要素データに付加されている位置情報及び線密度情報を用いて、イメージ要素の回転、変形、拡大又は縮小する編集処理が施されて、紙面イメージが復元されることが可能である。
また、圧縮された各イメージ要素データは、色成分毎のデータであることがある。この場合、各色成分毎のイメージ要素データが、当該イメージ要素の種類に応じた復元方法を用いて復元され、復元された各色成分毎のイメージ要素を重ね合わせ合成して、イメージが復元されることが望ましい。
本発明によるイメージデータ圧縮方法は、
画像(30)を示すイメージデータ(50)を取得すること(S01)と、
イメージデータ(50)から第1イメージ要素データ(51)を抽出すること(S02)と、
イメージデータ(50)から第2イメージ要素データ(52)を抽出すること(S02)と、
第1イメージ要素データ(51)を圧縮して第1圧縮イメージ要素データ(54)を生成すること(S03)と、
第2イメージ要素データ(54)を圧縮して第2圧縮イメージ要素データ(55)を生成すること(S04)
とを備えている(図1参照)。このとき、第1イメージ要素データ(54)を抽出する第1抽出アルゴリズムと、第2イメージ要素データ(54)を抽出する第2抽出アルゴリズムとは異なる。更に、第1圧縮イメージ要素データ(54)を生成する第1圧縮アルゴリズムと、第2イメージ要素データ(55)を抽出する第2圧縮アルゴリズムとは異なる。
互いに異なる第1抽出アルゴリズムと第2抽出アルゴリズムにより抽出された第1イメージ要素データと第2イメージ要素データとは、互いに異なる特徴を有する。互いに異なる特徴を有する第1イメージ要素データと第2イメージ要素データとが、それぞれ、互いに異なる第1圧縮アルゴリズムと第2圧縮アルゴリズムとにより圧縮される。これにより、圧縮及び復元による画質の劣化が抑制される。また、圧縮率が向上する。
なお、イメージデータ(50)から第1イメージ要素データ(51)と第2イメージ要素データ(52)以外の、他のイメージ要素データが他の抽出アルゴリズムにより抽出されることが可能である。この場合、他のイメージ要素データが、他の圧縮アルゴリズムにより圧縮されて、他の圧縮イメージ要素データが生成される。
当該イメージデータ圧縮方法において、イメージデータ(63a〜63d)を取得すること(S41、S42)は、
カラー画像を示すカラーイメージデータ(62)を取得すること(S41)と、
カラーイメージデータ(62)から、所定の色の成分を示す部分を抽出して、前記イメージデータ(63a〜63d)を生成すること(S42)
とを含むことが望ましい(図32参照)。これにより、画質の劣化が抑制された、カラーイメージデータ(62)の圧縮及び復元方法が提供される。また、圧縮率が向上されたカラーイメージデータ(62)の圧縮及び復元方法が提供される。
また、当該イメージデータ圧縮方法において、第1イメージ要素データ(51)を抽出すること(S02)は、イメージデータ(50)から、第1部分を抽出して第1イメージ要素データ(55)を生成すること(S02)を含むことが望ましい。この第1部分は、前記画像(30)のうちの網点(81)により構成される網点部分(33、36)に対応する。
このとき、第1圧縮イメージ要素データ(55)を生成すること(S04)は、網点(81)の面積に基づいて、第1圧縮イメージ要素データ(55)を生成すること(S04)を含むことが望ましい。
また、当該イメージデータ圧縮方法において、第2イメージ要素データ(51)を抽出することは、イメージデータ(50)から、第2部分を抽出して第2イメージ要素データ(54)を生成すること(S02)を含むことが望ましい。その第2部分は、前記画像(30)のうち、網点(81)でなく、且つ、所定の面積以下の面積を有する自由細点を含む自由細点領域に対応する。
また、第2圧縮イメージ要素データ(54)を生成することは、
前記自由細点領域(70)を複数の矩形領域(71)に区分することと、
前記画像が有する画像パターン(31〜39)のうち、前記矩形領域のそれぞれの内部にあるパターン(73)の形状を認識することと、
前記形状を符号化して前記第2圧縮イメージ要素データ(54)を生成すること
とを含むことが望ましい(図7参照)。
また、前記自由細点は、第1自由細点(1411)と、第2自由細点(1412)とを備えることがある(図37参照)。このとき、第2圧縮イメージ要素データ(54)を生成すること(S03)は、第1自由細点(1411)と第2自由細点(1412)の相対位置に基づいて、第2圧縮イメージ要素データ(54)を生成すること
とを含むことが望ましい(図37参照)。
また、第2圧縮イメージ要素データ(54)を生成することは、
自由細点領域(210)に、自由細点(212)を含む矩形領域(211)を定めることと、
矩形領域(211)の内部の濃度の平均値に基づいて、第2圧縮イメージ要素データデータ(54)を生成すること
とを含むことが望ましい(図45参照)。
当該イメージデータ圧縮方法は、更に、イメージデータ(50)のうち、前記第1イメージ要素データ(51)にも第2イメージ要素データ(52)にも含まれない部分である第3イメージ要素データを抽出すること(S02)を備えることが望ましい。
当該イメージデータ圧縮方法は、更に、前記第1圧縮イメージ要素データ(55)と第2圧縮イメージ要素データ(54)とに基づいて、一括圧縮イメージ要素データ(57)を生成することを備えることが望ましい。
当該イメージデータ圧縮方法において、前記第1圧縮イメージ要素データ(S05)を生成することは、
前記第1イメージ要素データ(53)が示すイメージ要素(110)の階調を走査線(111)に沿って走査しながら検出することと、
前記階調に基づいて前記イメージ要素(110)の輪郭(112)の輪郭位置を算出することと、
前記境界位置に基づいて、第1圧縮イメージ要素データ(56)を生成することとを含むことが望ましい。
本発明によるイメージデータ圧縮方法は、網点(101)が含まれる画像を示すイメージデータ(52)を取得すること(S01、S02)と、
前記網点(101)の面積を算出することと、
前記網点(101)の位置を算出することと、
前記面積と前記位置とに基づいて、圧縮データ(55)を生成すること
とを備える。
当該イメージデータ圧縮方法において、
前記網点(101)は、
第1網点(1010)と、
第2網点(1011 1〜1011 n)を含み、
前記面積は、
前記第1網点の第1面積(S0)と、
前記第2網点の第2面積(S1〜Sn
とを含み、
前記圧縮データ(55)は、前記第1面積(S0)と前記第2面積(S1〜Sn)の面積差に基づいて生成されることが望ましい。
当該イメージデータ圧縮方法において、
前記位置は、
前記第1網点(1010)の第1位置と、
前記第2網点(1011 1〜1011 n)の第2位置
とを含み、
前記圧縮データ(55)は、前記第1位置と前記第2位置の距離に基づいて生成される
イメージデータ圧縮方法。
当該イメージデータ圧縮方法において、
網点が含まれる画像を示すイメージデータ(152)を取得することは、
他の画像を示す他のイメージデータ(150)を取得することと、
前記他の画像の階調に基づいて前記網点を生成し、イメージデータ(152)を生成すること
とを含むことがある。
本発明のイメージデータ圧縮方法は、
画像(31、32、34、35、37、39、41)を示すイメージデータ(53)を取得すること(S01、S02)と、
前記画像(31、32、34、35、37、39、41)の階調を走査線(111)に沿って走査しながら検出することと、
前記階調に基づいて前記画像の輪郭(112)の輪郭位置を算出することと、
前記輪郭位置に基づいて、圧縮データ(56)を生成すること
とを備える。
本発明によるイメージデータ圧縮方法は、所定の面積範囲にある面積を有する自由細点(73、1411〜1414、212)を含む画像(70、210)を示すイメージデータを取得すること(S02)と、
前記自由細点(73、1411〜1414、212)の位置に基づいて、圧縮データ(54)を生成すること(S03)
とを備えている。
このとき、自由細点(1411〜1414)は、第1自由細点(1411)と、第2自由細点(1412)とを含み、更に、圧縮データ(54)を生成すること(S03)は、第1自由細点(1411)と第2自由細点(1412)との相対位置に基づいて、前記圧縮データを生成することを含むことが望ましい(図37参照)。
また、圧縮データ(54)を生成すること(S03)は、画像(210)に、前記自由細点(212)を含む矩形領域(211)を定めることと、
前記矩形領域(211)の内部の濃度の平均値に基づいて、前記圧縮データ(54)を生成すること(S03)
とを含むことが望ましい(図45参照)。
また、前記画像(210)に、前記自由細点(212)を含む矩形領域(211)を定めることと、矩形領域(211)の辺と、自由細点(212)との距離に基づいて、圧縮データ(54)を生成すること(S03)
を含むことが望ましい。
また、圧縮データ(54)を生成することは、画像(70)に矩形領域(71)を定めることと、
自由細点(73)のうちの矩形領域(70)に含まれる部分のパターンの形状を認識することと、
前記形状を符号化して圧縮データ(54)を生成すること
とを含むことが望ましい。
本発明のイメージデータ抽出方法は、網点(81)が含まれる画像(30)を示すイメージデータ(50)を取得することと、
イメージデータ(50)のうち、網点(81)を示す部分(55)を抽出することとを備えている。
このとき、前記抽出することは、前記画像(200)を走査して階調が変化する変化位置(203a〜203c)を検出することと、
変化位置(203a〜203c)の間隔に基づいて、部分(55)を抽出することとを含むことが望ましい(図44参照)
本発明によるイメージデータ加工方法は、印刷規則に従った配置を有する第1網点(131、235)と第2網点(132、232)を含む画像を示すイメージデータ(59)を取得すること(ステップS23)と、
第2網点(132、232)を移動して仮想網点(132’、232’)を定めることと
第1網点(131、231’)と仮想網点(132’、232’)との間に位置する第3網点(132’’、232’’)を発生することと、
仮想網点(132’、232’)を消去すること
とを備えている。ここで仮想網点(132’、232’)の仮想網点位置は、第1網点(131、235)と第2網点(132、232)とを通る直線の上にある。更に、仮想網点(132’、232’)は、第2網点(132、232)に対して第1網点(131、235)から第2網点(132、232)に向かう第1方向にある。仮想網点(132’、232’)の仮想網点面積は、前記第2網点の第2網点面積と同一である。第3網点(132’’、232’’)は、第1網点(131、235)と第2網点(132、232)とを通る直線の上にある。第3網点(132’’)の第3網点位置は、印刷規則に従うように定められている。第3網点(132’’、232’’)の第3網点面積は、仮想網点(132’、232’)の仮想網点位置と、第1網点(131、235)の網点位置と、第3網点(132’’、232’’)の第3網点位置と、第1網点(131、235)の第1網点面積と、仮想網点(132’、232’)の仮想網点面積とから、補間により求められる(図33、34参照)。
本発明のイメージデータ復元方法は、圧縮データ(57)を取得することと、ここで、前記圧縮データ(57)は、
第1圧縮アルゴリズムにより圧縮された第1圧縮イメージ要素データ(54)と
前記第1圧縮アルゴリズムと異なる第2アルゴリズムにより圧縮された第2圧縮イメージ要素データ(55)
とを含み、
第1圧縮イメージ要素データ(54)を復元して第1復元イメージ要素データ(58)を生成することと、
前記第2圧縮イメージ要素データ(55)を復元して第2復元イメージ要素データ(59)を生成することと、
前記第1復元イメージ要素データ(58)と第2復元イメージ要素データ(59)とから、一のイメージを示す復元イメージデータ(61)を生成すること(28)とを備える(図28参照)。
本発明のイメージデータ復元方法は、
第1網点(122)と第2網点(1231)の面積差(ΔS1)を示す面積差データと、前記第1網点(122)と前記第2網点(1231)の距離(x1)を示す距離データとを含む圧縮データ(55)を取得すること(S21)と、
前記面積差データと、前記距離データとに基づいて、前記第1網点(122)と前記第2網点(1231)とを含むように、イメージデータ(59)を復元すること(S23)とを備える。
当該イメージデータ復元方法において、前記イメージデータ(59)は、前記第1網点(122)と前記第2網点(1231)との間に位置する第3網点(1241)を更に含むように復元され、
前記第3網点(1241)の面積は、前記面積差データに基づいて定められることが望ましい。
本発明のイメージデータ復元方法は、
所定の面積範囲にある面積を有する自由細点(212)の位置を示す位置データを含む圧縮データ(54)を取得することと
前記位置に基づいて、自由細点(212)からなる画像(210)を示すイメージデータ(58)を復元すること
とを備えている。
このとき、圧縮データ(54)は、画像(210)に定められた矩形領域(211)の内部の濃度の平均値を含み、
イメージデータ(58)を復元することは、
前記平均値に基づいて、イメージデータ(58)を復元すること
とを含むことが望ましい。
また、前記位置データは、画像(210)に定められた矩形領域(211)の辺(213)と自由細点(212)との距離を備え、
イメージデータ(58)を復元することは、
前記距離に基づいて、イメージデータ(58)を復元すること
を含むことが望ましい。
本発明により、圧縮・復元することによる画質の劣化が抑制されるイメージデータの圧縮方法及び復元方法が提供される。
また、本発明により、圧縮率が大きいイメージデータの圧縮方法及び復元方法が提供される。
また、本発明により、圧縮率が大きく、且つ、イメージデータを圧縮することによる画質の劣化が抑制されるイメージデータの圧縮方法及び復元方法が提供される。
また、本発明により、網点から構成されている印刷物から生成されたイメージデータを、効果的に圧縮し、復元するイメージデータの圧縮方法及び復元方法が提供される。
また、本発明により、イメージデータの圧縮が、高速に行われるイメージデータの圧縮方法が提供される。
また、本発明により、エッジが強調されている画像を示すイメージデータの圧縮が、高速に行われるイメージデータの圧縮方法が提供される。
また、本発明により、印刷規則に定められた配置を有さない、小さい面積を有する細点から構成されている印刷物から生成されたイメージデータを、効果的に圧縮し、復元するイメージデータの圧縮方法及び復元方法が提供される。
図1は、本発明の実施の第1形態のイメージデータ圧縮方法を示すフローチャートである。 図2は、実施の第1形態のイメージデータ圧縮方法及び復元方法が実行されるハードウエア資源10を示す。 図3は、圧縮されるイメージ30を示す。 図4は、自由細点イメージ要素データ51に含まれるイメージ要素を示す。 図5は、印刷網点イメージ要素データ52に含まれるイメージ要素を示す。 図6は、線画イメージ要素データ53に含まれるイメージ要素を示す。 図7は、自由細点パターン圧縮アルゴリズムを説明する図である。 図8は、面積パッチ71が有する各種のパターンを示す図である。 図9は、印刷網点イメージ要素データ52に含まれている画像の一部分を示す。 図10は、印刷網点パターン圧縮アルゴリズムを示すフローチャートである。 図11は、網点の面積を算出する第1方法と、網点の中心点を定める方法とを示す図である。 図12は、網点の面積を算出する第2方法を示す図である。 図13は、スクリーン線を抽出する第1方法を示す図である。 図14は、スクリーン線を抽出する第2方法を示す図である。 図15は、網点811〜814が取り得る配置を示す図である。 図16は、スクリーン線を抽出する第3方法を示す図である。 図17は、スクリーン線角度を算出する方法を示す図である。 図18は、スクリーン線密度を算出する方法を示す図である。 図19は、網点ベクターを算出する方法を示す図である。 図20は、仮想的座標系Q1において、網点1010と、網点1011 1〜1011 nとが配置されている位置を示す図である。 図21は、線画圧縮アルゴリズムで圧縮される画像を示す。 図22は、エッジ112の検出法を示す。 図23は、エッジ112を示す。 図24は、ノイズの検出法を示す。 図25は、輪郭ベクター1151〜1158を示す。 図26は、輪郭線のスムージングの過程を示す。 図27は、輪郭線のスムージングの過程を示す。 図28は、本発明の実施の第1形態のイメージデータ復元方法を示すフローチャートである。 図29は、印刷網点復元アルゴリズムを示すフローチャートである。 図30は、網点が復元される過程を示すフローチャートである。 図31は、線画復元アルゴリズムを示すフローチャートである。 図32は、カラー画像を示すカラー紙面イメージデータを圧縮する過程を示すフローチャートである。 図33は、印刷網点圧縮データモジュールが復元される際に、復元された画像が、復元と同時に拡大される過程を示す。 図34は、印刷網点圧縮データモジュール55が復元される際に、印刷網点で構成される画像が、復元と同時に縮小される過程を示す。 図35は、線画圧縮データモジュール56が復元される際に、復元された画像が、復元と同時に縮小される過程を示す。 図36は、線画圧縮データモジュール56が復元される際に、復元された画像が、復元と同時に拡大される過程を示す。 図37は、自由細点ベクター圧縮アルゴリズムを示す。 図38は、実施の第2形態のイメージデータ圧縮方法を実行するハードウエア資源10’を示す。 図39は、実施の第2形態のイメージデータ圧縮方法を示すフローチャートである。 図40は、実施の第2形態のイメージデータ復元方法を示すフローチャートである。 図41は、画素501の構造を示す。 図42は、網点502の構造を示す。 図43は、網点で構成されている画像を示す。 図44は、網点の集合体の抽出方法を示す。 図45は、自由細点データ化圧縮アルゴリズムを説明するための図である。
以下、添付図面を参照しながら、本発明による実施の形態を説明する。
(実施の第1形態)
実施の第1形態のイメージデータの圧縮方法及び復元方法は、紙面に描かれた画像をスキャナーにより取り込むことによって生成されたイメージデータを圧縮し、更に復元する方法である。
実施の第1形態のイメージデータの圧縮方法及び復元方法は、ハードウエア資源を用いて実行される。そのハードウエア資源10は、図2に示されているように、スキャナ1、CPU2、記憶装置3、記録媒体4、及びバス5を含む。スキャナ1、CPU2、記憶装置3、及び記録媒体4は、バス5に接続されている。スキャナ1は、紙面に描かれたイメージ30を取り込んで、紙面イメージデータ50を生成する。CPU2は、紙面イメージデータ50を圧縮し、又は復元するための演算を実行する。記憶装置3は、紙面イメージデータ50と、実施の第1形態のイメージデータの圧縮方法及び復元方法を実行する過程で生成されたデータを格納する。記録媒体4は、実施の第1形態のイメージデータの圧縮方法及び復元方法に含まれる手順が記載されたプログラムを格納する。CPU2は、そのプログラムに従って動作する。バス5は、スキャナ1、CPU2、記憶装置3、及び記録媒体4の間で交換されるデータを伝送する。
実施の第1形態のイメージデータの圧縮方法及び復元方法では、まず、図1に示されているように、紙面に描かれたイメージ30がスキャナ1により取り込まれ、紙面イメージデータ50が生成される(ステップS01)。
スキャナ1により取り込まれるイメージ30は、モノクロイメージである。イメージ30は、図3に示されているように、ランダムに配置されている見出し31、本文32、写真33、表34、イラスト35、グラフィック36、広告文字37、漫画38、写真見出し39により構成されている。見出し31、本文32、及び広告文字37は、活字により印刷された文字からなる。写真33、グラフィック36は、印刷規則に定められた配置を有する網点群により構成されている。
イメージ30を構成する要素は、以下において、イメージ要素と呼ばれることがある。見出し31、本文32、写真33、表34、イラスト35、グラフィック36、広告文字37、漫画38、写真見出し39は、イメージ要素を構成する。更に、見出し31、本文32、写真33、表34、イラスト35、グラフィック36、広告文字37、及び漫画38の一部分も、イメージ要素を構成し得る。
続いて、紙面イメージデータ50が示す画像30のイメージ要素が抽出され、更に分別される(ステップS02)。
紙面イメージデータ50から、印刷規則に従わずに配置された細かい点に対応する部分が抽出され、自由細点イメージ要素データ51が生成される。印刷規則に従わずに配置された細かい点は、以後、自由細点と記載される。印刷規則に従わずに配置され、所定の面積よりも小さく、且つ、印刷網点の面積よりも大きい領域が、自由細点として抽出される。
図4は、自由細点イメージ要素データ51の内容を示す。図4に示されているように、自由細点イメージ要素データ51は、漫画38の一部であるイメージ要素40を示すデータから構成されている。即ち、紙面イメージデータ50のうち、イメージ要素40に対応する部分が、自由細点イメージ要素データ51として抽出される。
自由細点イメージ要素データ51には、それに含まれているイメージ要素40の位置を示す位置情報が付加される。
更に、紙面イメージデータ50から、イメージ30に含まれる網点群に対応する部分が抽出され、印刷網点イメージ要素データ52が生成される(ステップS04)。その網点群は、印刷規則に定められた配置を有する。網点群が、印刷規則に定められた配置を有することを利用して網点群が抽出され、印刷網点イメージ要素データ52が生成される。
まず、印刷規則に定められた網点の最大面積よりも小さい面積を有する点からなる集合体が、紙面イメージデータ50から抽出される。更に、その集合体が、印刷網点の集合体であるのか否かが判断される。図44は、紙面イメージデータ50から抽出された集合体200を示す。集合体200は、点201から構成されている。
集合体200がx軸方向に伸びる走査線202に沿って走査される。階調の変化から、点201のエッジが検出される。走査線202に沿って走査された結果、ある点201aのエッジ203aが検出されたとする。更に走査線202に沿って集合体200が走査され、他の点201b、201cの左端にあるエッジ203b、203cが、順次に、それぞれ検出されたとする。更にこのとき、エッジ203aとエッジ203bの第1間隔、エッジ203bとエッジ203cの第2間隔が、所定の単位間隔であるならば、点201a、点201b、及び点201cは、網点であると判断される。他の点201についても同様にして、その点が網点であるか否かが判断される。集合体200に含まれている点201の概ね全部が網点であると判断されれば、集合体200は、網点の集合体であると判断される。
前述の単位間隔は、印刷規則に定められているスクリーン線203の密度と、走査線202とスクリーン線203とがとりうる角度により定まる。仮に、集合体200が含む点201が網点であるならば、それらは、スクリーン線203の上に並んで配列されているはずである。このとき、x軸方向に伸びる走査線202とスクリーン線203とがなす角度は、印刷規則により、0°、15°、30°、45°、60°、75°、90°のいずれかに定まる。更に、スクリーン線203の間隔dsも、印刷規則により定められている。走査線202とスクリーン線203とがなす角度のなしうる角度のうち、0°以外の6つの角度のそれぞれに対応して、6つの単位間隔dnorm 1〜dnorm 6が定まり、
norm i=dscosθs i
但し、θs 1=15°,
θs 2=30°,
θs 3=45°,
θs 4=60°,
θs 5=75°,
θs 6=90°.
集合体200に含まれる点201のうちの、任意の一点と、それに隣接する他の点のエッジの間隔が、6つの単位間隔dnorm 1〜dnorm 6のうちの一の単位間隔に概ね等しい場合、集合体200は、網点の集合体であると判断される。
走査線202とスクリーン線203とがなす角度が0°である場合はこの方法では、ある集合体200が網点の集合体であるか否かは判断できない。ただし、走査線202の方向を変更することにより、その集合体200が網点の集合体であるか否かを判断することが可能である。
網点の集合体であると判断された集合体200が抽出され、印刷網点イメージ要素データ52が生成される。
なお、走査線の方向は、x軸方向に限られない。走査線の方向は、他の方向であることも当然に可能である。
図5は、印刷網点イメージ要素データ52の内容を示す。図5に示されているように、印刷網点イメージ要素データ52は、写真33とグラフィック36とを示すデータから構成されている。即ち、紙面イメージデータ50のうち、写真33とグラフィック36とに対応する部分が、印刷網点イメージ要素データ52として抽出される。
印刷網点イメージ要素データ52には、それに含まれている写真33とグラフィック36との位置を示す位置情報が付加される。
更に、紙面イメージデータ50のうち、自由細点イメージ要素データ51としても印刷網点イメージ要素データ52としても抽出されなかった部分が、線画イメージ要素データ53として抽出される(ステップS05)。
図6は、線画イメージ要素データ53の内容を示す。図6に示されているように、線画イメージ要素データ53は、見出し31、本文32、表34、イラスト35、広告文字37、イメージ要素40、及び漫画38の一部であるイメージ要素41とを示すデータから構成されている。イメージ30のうち、コントラストの変化に乏しく、且つ、エッジが明確な部分に対応する部分は、線画イメージ要素データ53に格納される。
図1に示されているように、前述の自由細点イメージ要素データ51は、自由細点パターン圧縮アルゴリズムにより圧縮され、自由細点圧縮データモジュール54が生成される(ステップS03)。自由細点パターン圧縮アルゴリズムでは、圧縮する対象のエリアが、面積パッチに区分される。更に、各面積パッチに含まれるパターンが符号化され、自由細点圧縮データモジュール54が生成される。
以下では、自由細点パターン圧縮アルゴリズムが詳細に説明される。
図7に示されているように、圧縮の対象となる対象エリア70が、面積パッチ71に区分される。面積パッチ71のそれぞれは、縦に4個、横に4個の16個の小領域72で構成されている。面積パッチ71に含まれる小領域72の個数は、縦に4個、横に4個の16個に限られない。例えば、面積パッチ71のそれぞれが、縦に8個、横に8個の16個の小領域72で構成されることも可能である。
更に、それぞれの面積パッチ71が有するパターンが認識される。そのパターンは、面積パッチ71に含まれている小領域72のそれぞれに、イメージ要素73が存在するか否かに基づいて、認識される。
図8は、面積パッチ71が有する各種のパターンの例を示す。図8(a)は、ゼロパターンを有する面積パッチ71を示す。面積パッチ71には、イメージ要素73が存在しない。図8(b)は、右下パターンを有する面積パッチ71を示す。右下パターンとは、面積パッチ71の右下に位置する4つの小領域72に、イメージ要素73が存在するパターンである。図8(c)は、中パターンを有する面積パッチ71を示す。中パターンとは、面積パッチ71の中央に位置する4つの小領域72に、イメージ要素73が存在するパターンである。図8(d)は、右上パターンを有する面積パッチ71を示す。右上パターンは、面積パッチ71の右上に位置する2つの小領域72に、イメージ要素73が存在するパターンである。図8(e)は、右1パターンを有する面積パッチ71を示す。右1パターンとは、面積パッチ71の下から2行目、右から1列目にある小領域72に、イメージ要素73が存在するパターンである。図8(f)は、−右1パターンを有する面積パッチ71を示す。−右1パターンとは、下から2行目、左から1列目にある小領域72に、イメージ要素73が存在するパターンである。
自由細点パターン圧縮アルゴリズムでは、面積パッチ71が有する各種のパターンのそれぞれに対応して、互いに異なる符号が予め定められている。図8(a)〜(f)に示されているパターンのそれぞれに対応して、互いに異なる符号が定められている。
予め定められている符号を使用して、面積パッチ71が有するパターンが符号化される。符号化されたパターンが、圧縮され、自由細点パターン圧縮アルゴリズムが完了する。
自由細点イメージ要素データ51は、上述の自由細点パターン圧縮アルゴリズムにより圧縮され、自由細点圧縮データモジュール54が生成される。
一方、図1に示されているように、印刷網点イメージ要素データ52は、印刷網点圧縮アルゴリズムにより圧縮され、印刷網点圧縮データモジュール55が生成される(ステップS04)。印刷網点圧縮アルゴリズムでは、網点が配列されるスクリーン線の方向と、単位長あたりのスクリーン線の線密度とが算出される。更に、画像に含まれる網点の中心点の相対位置と面積差とを成分とする網点ベクターが算出される。更に、その網点ベクターが符号化される。印刷網点圧縮データモジュール55は、符号化された網点ベクターと、スクリーン線の方向と、単位長あたりのスクリーン線の線密度とを示すデータを含む。
印刷網点圧縮アルゴリズムでは、印刷網点イメージ要素データ52に含まれている画像が網点から構成され、冗長度が大きいことが利用される。これにより、印刷網点イメージ要素データ52が効果的に圧縮される。
以下では、印刷網点パターン圧縮アルゴリズムが詳細に説明される。
印刷網点イメージ要素データ52は、前述されているように、網点で構成された画像を示すデータで構成されている。図9は、印刷網点イメージ要素データ52に含まれている画像の一部分を示す。印刷網点イメージ要素データ52に含まれている網点81は、印刷規則に定められた配置で配置されている。網点81は、スクリーン線82の上に配置されている。
図10は、印刷網点パターン圧縮アルゴリズムを示すフローチャートである。印刷網点パターン圧縮アルゴリズムでは、まず、図10に示されているように、印刷網点イメージ要素データ52に含まれる網点81のそれぞれの面積と中心点の位置とが算出される(ステップS11)。
網点81は、その形状が崩れていることがある。なぜなら、印刷網点イメージ要素データ52は、紙面に印刷されたイメージ30から生成されるからである。網点81は、紙面にイメージ30を印刷する際には、正方形になることを意図して印刷されている。しかし、紙面にイメージ30を印刷する過程で、インクのにじみ等の要因により、網点の形状は崩れる。紙面に印刷されたイメージ30から生成される印刷網点イメージ要素データ52は、形状が崩れた網点81を示すデータで構成されることになる。
形状が崩れた網点81のそれぞれの面積は、以下に述べられている2つの方法のいずれかにより算出される。
面積を算出する第1方法では、まず、図11に示されているように、印刷網点イメージ要素データ52に示されている網点81の輪郭が抽出される。抽出された網点81の輪郭の上に、変曲点が、反時計回り又は時計回りに、順次に定められていく。変曲点とは、網点81の輪郭が伸展する方向が変化する点である。変曲点a〜kが、順次に定められる。
更に、隣接する2つの変曲点を結ぶベクターが定められていく。ベクター83a〜83kが定められる。ベクター83a〜83kは、網点81の輪郭を周回する。ベクター83a〜83kの和は0ベクターである。
続いて、変曲点a〜kを頂点とする多角形に外接し、且つ、一辺の長さが最小である正四角形84が定められる。ここで、正四角形84の4つの頂点を頂点A、頂点B、頂点C、頂点Dとする。網点81の面積は、正四角形84の面積から、正四角形84の内部にあり、且つ、変曲点a〜kを頂点とする多角形の外部にある部分の面積を減じて求められる。即ち、正四角形84の面積から、多角形Acbak、三角形Bdc、三角形eCg、三角形hDi、及び三角形ijkの面積を減じて求められる。
面積を算出する第2方法では、まず、図12に示されているように、走査線85が定められる。走査線85は、X軸方向に伸展するように定められる。走査線85は、他の方向、例えば、Y軸方向に伸展するように定められることも可能である。走査線85は、互いに平行に、且つ、等間隔に配置される。走査線85に沿って網点81が走査される。階調の変化から、網点81の境界86が検出される。境界86の内部の面積が網点81の面積である。
上述の第1方法、第2方法のいずれであっても、任意の形状を有する網点81の面積が算出される。
更に、網点81の中心点の位置が、以下のようにして算出される。まず、図11に示されているように、網点81に外接し、且つ、一辺の長さが最小である正四角形84が定められる。網点81の中心点の位置は、その正四角形84の対角線AC、BDの交点Oであると定められる。このとき、
AO=BO=CO=DO,
が成立する。
ある網点の位置は、その網点の中心点の位置であると定義される。以下において、端に網点の位置と記載した場合、網点の位置は、網点の中心点の位置を意味する。また、ある2つの網点の距離とは、一の網点の中心点と他の網点の中心点の距離を意味する。
更に、図10に示されているように、スクリーン線の抽出が行われる(ステップS12)。スクリーン線は、以下に述べられる3つの方法のいずれかを使用して抽出される。
スクリーン線を抽出する第1方法では、まず、網点81のうち、所定の面積よりも大きい面積を有するものが抽出される。以下では、網点81のうち、所定の面積よりも大きい面積を有するものは、スクリーン線抽出網点と呼ばれる。図13は、スクリーン線抽出網点の中心点97の配置が示されている。スクリーン線抽出網点の中心点97は、概ね、ある方向に配列する。その方向に伸展し、且つ、スクリーン線抽出網点の中心点97を通る直線が、スクリーン線98であると認識される。スクリーン線98の同定には、必要に応じて、最小2乗法が使用される。
スクリーン線を抽出する第2方法では、まず、網点81から、図14に示されているように、4つの網点が抽出される。このとき、抽出される網点の中心点が、実質的に正方形の頂点となるように、その4つの網点は抽出される。抽出された網点81は、以後、網点811〜814と記載される。
図14に示された複数の直線88と、複数の直線89とが、スクリーン線の候補であると認識される。ここで、直線88は、網点811〜814の4つの中心点を頂点とする正方形87の辺871と同一の方向に伸展し、且つ、網点811〜814の中心点を通過する直線である。一方、直線89は、正方形87の対角線872の方向に伸展し、且つ、網点811〜814の中心点を通過する直線89が、スクリーン線の候補であると認識される。
直線88と直線89とがいずれも、スクリーン線の候補と成り得るのは、網点811〜814は、以下の2つの配置のいずれかを有するからである。図15(a)に示されているように、網点811〜814は、2本のスクリーン線90、91に2つずつ位置する場合がある。
また、図15(b)に示されているように、スクリーン線92の上に、網点811〜814のうちの一があり、スクリーン線93の上に、網点811〜814のうちの他の一があり、更に、スクリーン線92、93の間にあるスクリーン線94に、網点811〜814のうちの残りの二がある場合がある。
4つの網点811〜814が抽出されても、その網点811〜814が、図15(a)に示されている配置を有するのか、図15(b)に示されている配置を有するのかは判断できない。そこで、直線88と直線89との両方が、スクリーン線の候補であると認識される。直線88と直線89と、X軸及び/又はY軸がなす角度から、直線88と直線89のいずれが真のスクリーン線であるかが判断される。
スクリーン線を抽出する第3方法では、図16に示されているように、網点81の形状から、スクリーン線が抽出される。網点81は、印刷される際、網点81の輪郭である正方形の辺の伸展する方向、又は、対角線が伸展する方向が、スクリーン線の方向に一致するように印刷されている。印刷された網点81は、ある程度形状が崩れていても、概ね、正方形の形状を有する。スクリーン線を抽出する第3方法では、その正方形の辺815の伸展する方向、又は、対角線816が伸展する方向に伸び、且つ、網点81の中心点を通過する直線が、スクリーン線であると認識される。
更に、図10に示されているように、抽出されたスクリーン線と、X軸とがなすスクリーン線角度θが算出される(ステップS13)。図17に示されているように、点Aと点Cとが、スクリーン線94の上にあるとする。点Cから、点Aを通りX軸に平行な直線95に下ろした垂線の足を点Bとする。スクリーン線角度θは、
θ=tan-1(AB/BC).
スクリーン線角度θは、線分ABの上にあるドット数nABと、線分BCの上にあるドット数nBCとを用いて、(nAB、nBC)と表記されることも可能である。
スクリーン線角度θは、前述の印刷網点圧縮データモジュール55に付加される。印刷網点圧縮データモジュール55から画像が復元される際に、印刷網点圧縮データモジュール55に含まれているスクリーン線角度θが使用される。
更に、図10に示されているように、スクリーン線密度Dが算出される(ステップS14)。スクリーン線密度Dは、以下のようにして算出される。図18に示されているように、ステップS12において抽出されたスクリーン線96に直交する直線を直線BCとしたとき、単位長さあたり、直線BCに交わるスクリーン線96の数が、スクリーン線密度Dとして算出される。スクリーン線密度Dは、スクリーン線96の間隔をdsとしたとき、
D=1/ds
スクリーン線密度Dは、前述の印刷網点圧縮データモジュール55に付加される。印刷網点圧縮データモジュール55から画像が復元される際に、印刷網点圧縮データモジュール55に含まれているスクリーン線密度Dが使用される。
更に、図10に示されているように、網点ベクターが算出される(ステップS15)。図19に示されているようにスクリーン線102の上に配列されている網点101から網点ベクターが算出される過程を以下で説明する。
網点101のうちの一が特徴網点として定められる。その特徴網点について、8次元ベクトルである網点ベクターが求められる。このとき、スクリーン線102のうちの一のスクリーン線について、初めて定められた特徴網点は、基準特徴網点と呼ばれる。定められた特徴網点が、基準特徴網点である場合、その基準特徴網点の位置と面積とは、印刷網点圧縮データモジュール55に付加される。
本実施の形態では、まず、網点1010を特徴網点として、網点ベクターp0が求められる。網点1010は、基準特徴網点であり、その位置と面積とが、印刷網点圧縮データモジュール55に付加される。
続いて、特徴網点の中心点を原点として、x1軸、x2軸、x3軸、x4軸が定められる。x1軸方向は、スクリーン線102と平行な方向である。x2軸方向は、スクリーン線102と垂直な方向である。x3軸方向、x4軸方向は、スクリーン線102と45°の角度をなす方向である。網点1010を原点として、x1軸、x2軸、x3軸、x4軸が定められる。
網点ベクターp0が有する成分のうち、x1軸に関連して定められる2つの成分が求められる。網点ベクターp0が有する成分のうち、x1軸に関連して定められる2つの成分を成分とするベクターは、網点小ベクターp1 0と呼ばれる。同様に、網点ベクターp0が有する成分のうち、それぞれx2軸、x3軸、及びx4軸に関連して定められる2つの成分を成分とするベクターは、それぞれ、網点小ベクターp2 0、網点小ベクターp3 0、網点小ベクターp4 0と呼ばれる。
まず、網点小ベクターp1 0が求められる。網点小ベクターp1 0は、網点101のうちx1軸の上にある網点1011 1〜1011 nの位置と面積とから算出される。
網点小ベクターp1 0を求める際には、まず、仮想的座標系Q1が定められる。その仮想的座標系Q1において、図20に示されているように、特徴点である網点1010は、原点O1に配置される。更に、網点1011 0〜1011 nは、それぞれ点P1 1〜P1 nに配置される。
点P1 1〜P1 nの座標は、以下のように定められる。点P1 1〜P1 nのうちの点P1 iのx座標をx1 i、y座標をy1 iとする。このとき、点P1 iのx座標x1 iは、実空間における網点1011 iと網点1010との距離に等しく定められる。更に、y座標y1 iは、網点1011 iの面積をS1 i、網点1010の面積をS0としたとき、次式:
1 i=S1 i−S0
により定められる。
更に、仮想的座標系Q1における点P1 iの位置ベクトルをq1 jとする。位置ベクトルq1 iは、
1 i=(x1 i、y1 i
として定められる。更に、隣接網点ベクトルa1 iを、
1 i=q1 i−q1 i-1
と定義する。隣接網点ベクトルa1 iは、隣接する2つの網点の位置ベクトルの差である。隣接網点ベクトルa1 iは、
1 i=(Δx1 i、Δy1 i),
ここで、
Δx1 i=x1 i−x1 i-1
Δy1 i=y1 i−y1 i-1
網点小ベクターp0 1は、下記条件を満たす整数kの最小値をk’として、位置ベクトルq1 k'に等しいとして定められる。
条件:
2以上k以下の全ての整数jについて、
|x1 j|≦xmax, …(a)
|y1 j|≦ymax, …(b)
Δx1 j≦xdif, …(c)
Δy1 j≦ydif. …(d)
ここでxmax、ymax、xdif及びydifは、所定の基準値である。
より詳細には、以下のようにして定められる。まず、j=2について、条件(a)から条件(d)が満足されているかが判断される。条件(a)から条件(d)のうちのいずれかが満足されていなければ、網点小ベクターp1 0は、位置ベクトルq1 1として定められる。
続いて、j=3について、条件(a)から条件(d)が満足されているかが判断される。このとき、条件(a)から条件(d)のうちのいずれかが満足されていなければ、網点ベクターp1 0は、位置ベクトルq1 2として定められる。
以下、順次jが増加されながら、条件(a)から条件(d)が満足されているかが判断される。j=k’+1になったときに初めて、条件(a)から条件(d)のいずれかが満足されなくなると、網点小ベクターp1 0は、位置ベクトルqk'であると定められる。
図20に示されている場合については、jが2以上4以下である場合、条件(a)から条件(d)のいずれも満足する。しかし、j=5のとき、
|y1 5|>ymax
となり、条件(b)を満足しない。ゆえに、
k’=4
と定められる。即ち、網点小ベクターp1 0は、
1 0=q1 4
となる。
位置ベクトルqk'に等しい網点小ベクターp1 0は、原点O、即ち、点P0を始点とし、点Pk'を終点とするベクターである。このとき、
1 0=(x1 k'、y1 k'
=(x1 k'、S1 k'−S0).
前述されているように、x1 k'は、網点1010と、網点1011 k'との距離である。更に、S1 k'−S0は、網点1010と網点1011 k'との面積差である。即ち、網点小ベクターp1 0は、網点1010と網点101kとの距離と、網点1010と網点101kとの面積差とを成分とするベクターである。ゆえに、網点小ベクターp1 0には、網点1011〜101k'までの位置と面積との情報が含まれることになる。
同様の演算が、x2軸、x3軸、及びx4軸について行われ、それぞれ網点小ベクターp2 0、網点小ベクターp3 0、網点小ベクターp4 0が求められる。網点小ベクターp2 0は、網点101のうち、x2軸の上にある網点1012 1〜1012 nから算出される。x2軸の上にある網点1012 1〜1012 nから網点小ベクターp2 0が算出される過程は、x1軸の上にある網点1011 1〜1011 nから網点小ベクターp1 0が算出される過程と同様である。
また、網点小ベクターp3 0は、網点101のうち、x3軸の上にある網点1013 1〜1013 nから算出される。x3軸の上にある網点1013 1〜1013 nから網点小ベクターp3 0が算出される過程は、x1軸の上にある網点1011 1〜1011 nから網点小ベクターp1 0が算出される過程と同様である。
網点小ベクターp4 0は、網点101のうち、x4軸の上にある網点1014 1〜1014 nから算出される。x4軸の上にある網点1014 1〜1014 nから網点小ベクターp4 0が算出される過程は、x1軸の上にある網点1011 1〜1011 nから網点小ベクターp1 0が算出される過程と同様である。
網点小ベクターp1 0、網点小ベクターp2 0、網点小ベクターp3 0、及び網点小ベクターp4 0から、網点ベクターp0が求められる。
網点ベクターp0には、x1軸の上にあり、且つ、網点1010と、網点1011との間にある網点の位置、および面積の情報が含まれている。更に、網点ベクターp0には、x2軸の上にあり、且つ、網点1010と、網点1012との間にある網点の位置、および面積の情報が含まれている。更に、網点ベクターp0には、x3軸の上にあり、且つ、網点1010と、網点1013との間にある網点の位置、および面積の情報が含まれている。更に、網点ベクターp0には、x4軸の上にあり、且つ、網点1010と、網点1014との間にある網点の位置、および面積の情報が含まれている。
網点ベクターp0の算出に続いて、網点小ベクターp1 0の終点である他の網点1011 k'が特徴網点として定められ、他の網点ベクターpk'が算出される。以下、+x1軸方向に向かって、順次に、網点ベクターの算出が行われる。
他のスクリーン線についても同様にして網点ベクターの算出が行われる。ベクター印刷網点イメージ要素データ52に含まれる全ての網点について網点ベクターの算出が行われる。
このようにして生成された網点ベクターpは、8次元ベクトルであり、その成分は、
p=(x1、ΔS1、x2、ΔS2、x3、ΔS3、x4、ΔS4
と表現される。但し、
1:特徴網点と、x1軸の上にある他の網点であるx1網点との距離
ΔS1:特徴網点と、前述のx1網点との面積の差
2:特徴網点と、x2軸の上にある他の網点であるx2網点との距離
ΔS3:特徴網点と、前述のx3網点との面積の差
3:特徴網点と、x3軸の上にある他の網点であるx3網点の距離
ΔS3:特徴網点と、前述のx3網点との面積の差
4:特徴網点と、x4軸の上にある他の網点であるx4網点との距離
ΔS4:特徴網点と、前述のx4網点との面積の差
である。
算出された網点ベクターが符号化され、印刷網点圧縮データモジュール55が算出される(ステップS16)。このとき、網点ベクターは、圧縮されながら符号化され、もって圧縮率が高められている。
以上の過程により、印刷網点イメージ要素データ52が印刷網点パターン圧縮アルゴリズムにより圧縮され、印刷網点圧縮データモジュール55が生成される。
一方、図1に示されているように、線画イメージ要素データ53は、線画圧縮アルゴリズムにより圧縮され、線画圧縮データモジュール56が生成される(ステップS05)。線画圧縮アルゴリズムでは、イメージ要素のエッジが検出され、そのエッジの方向を示すベクターが算出される。更に、そのベクターが符号化され、線画圧縮データモジュール56が生成される。
以下では、線画圧縮アルゴリズムが詳細に説明される。
図21に示されている原画像110が線画圧縮アルゴリズムによって圧縮される場合を例にとって、線画圧縮アルゴリズムが説明される。まず、図22に示されているように、走査線111に沿って原画像110が走査され、原画像110の階調が検出される。走査線111は、X軸に平行である。階調の変化量から、原画像110のエッジ112が検出される。エッジ112は、階調が急激に変化する位置にある。
走査線111の方向は、X軸に平行な方向に限られない。走査線111はY軸に平行であることが可能であり、また、他の方向であることも可能である。
このように走査線111に沿って原画像110を走査することによりエッジ112を検出することは、原画像110のエッジ112の検出を高速にする。これは、線画で示されている画像を示すデータの圧縮が高速化される点で好ましい。
図23は、検出されたエッジ112を示す。検出されたエッジ112は、リンクされ、輪郭線が生成される。まず、原点Oに最近接するエッジ1121が選択される。更に、エッジ112のうち、原点Oから最も離れた点を有するエッジ1122が選択される。エッジ1121とエッジ1122とがリンクされ、輪郭線が生成される。
更に、原点Oに2番目に近接するエッジ1123と、原点Oから2番目に離れたエッジ1124が選択される。エッジ1123とエッジ1124とがリンクされ輪郭線が生成される。
他のエッジが存在する場合も、同様にしてリンクされ、輪郭線が生成される。
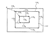
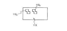
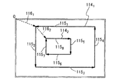
但し、図24に示されているように、エッジ1125とエッジ1126とがリンクされて生成された輪郭線の内部の領域113の面積aが所定の値ηよりも小さい場合、そのエッジ1125とエッジ1126は、ノイズであると判断される。エッジ1125と1126とは、廃棄される。
図25は、生成された輪郭線を示す。輪郭線1141は、エッジ1121とエッジ1122とがリンクされて生成される。輪郭線1142は、エッジ1123とエッジ1124とがリンクされて生成される。
輪郭線1141に沿って、輪郭ベクター1151〜1154が定められる。輪郭線1142に沿って、輪郭ベクター1155〜1158が定められる。更に、輪郭線1141、1142の位置を示す位置ベクター1161、1162がそれぞれ定められる。
輪郭線は、必要に応じてスムージングされ、輪郭ベクターの数が減らされる。
図26に示されているように、輪郭線に沿って、輪郭ベクターOA、AC、CD、及びDBが定められたとする。これは、局部的に凸の輪郭線が定められた場合に対応する。このとき、輪郭ベクターOA、AC、CD、及びDBがそのまま残されるか、それとも輪郭ベクターOA、AC、CD、及びDBが統合され、輪郭ベクターOBのみが残されるかは、以下のようにして定められる。
点Oを通り、X軸に平行な直線116が定められる。点Bから直線116に下ろした垂線の足を点B’とする。このとき、線分ACの長さlACと、線分BB’の長さlBB'とが、
BB'−lAC≦α1, …(e)
を満たすとき、輪郭ベクターOA、AC、CD、及びDBが統合され、輪郭ベクターOBが生成される。α1は、所定の基準値である。条件(e)を満足しない場合、輪郭ベクターOA、AC、CD、及びDBがそのまま残される。条件(e)を満足する場合とは、輪郭線に存在する凸部が、小さい場合である。条件(e)を満足する場合、輪郭線に存在する凸部が小さいと判断され、その凸部は無視される。
輪郭ベクターOA、AC、CD、及びDBがそのまま残されるか、輪郭ベクターOBのみが残されるかは、三角形ACDの面積をSACD、三角形OBB’の面積をSOBB'として、次条件:
OBB'− SACD≦α2 …(f)
により判断されることも可能である。α2は、所定の基準値である。条件(f)を満足するとき、輪郭ベクターOA、AC、CD、及びDBが統合され、輪郭ベクターOBが生成される。条件(f)を満足しないとき、輪郭ベクターOA、AC、CD、及びDBはそのまま残される。条件(f)を満足する場合とは、輪郭線に存在する凸部が、小さい場合である。条件(f)を満足する場合、輪郭線に存在する凸部が小さいと判断され、その凸部は無視される。
また、図27に示されているように、輪郭線に沿って、輪郭ベクターOA、ABが定められたとする。このとき、輪郭ベクターOA、ABがそのまま残されるか、輪郭ベクターOA、ABが輪郭ベクターOBに統合されるかは、以下のようにして定められる。
点Oを通り、X軸に平行な直線117が定められる。点A、点Bから直線117に下ろした垂線の足をそれぞれ、点A’、点B’とする。更に、三角形OAA’の面積をSOAA'、三角形OBB’の面積をSOBB'とする。
OBB'− SOAA'≦α3 …(g)
を満足するとき、輪郭ベクターOA、ABが統合され、輪郭ベクターOBが生成される。条件(g)を満足しないとき、輪郭ベクターOA、ABがそのまま残される。条件(g)を満足するときとは、輪郭線の曲がりが局所的で、小さい場合に相当する。条件(g)を満足する場合には、輪郭線の曲がりは無視される。
以上の過程により生成された輪郭ベクターと位置ベクターとが符号化される。更に、輪郭線の間に存在するイメージ要素の階調を示す階調データが符号化される。このとき、その階調の階調数は、2である場合があり、また、それ以上の数、例えば、256である場合も有り得る。
符号化された輪郭ベクターと階調とは、圧縮された画像データとなる。以上の過程により、線画圧縮アルゴリズムによる画像の圧縮が完了する。線画イメージ要素データ53は、上述の線画圧縮アルゴリズムにより圧縮され、線画圧縮データモジュール56が生成される。
図1に示されているように、自由細点圧縮データモジュール54、印刷網点圧縮データモジュール55、及び線画圧縮データモジュール56は、一つのデータにまとめられ、一括圧縮データモジュール57が生成される(ステップS06)。一括圧縮データモジュール57は、記録媒体に記録されて利用されることが可能である。
以上の過程により、紙面イメージデータ50の圧縮が完了する。なお、自由細点圧縮データモジュール54、印刷網点圧縮データモジュール55、及び線画圧縮データモジュール56が統合されず、別々のファイルとして保存されることも可能である。
続いて、一括圧縮データモジュール57から、元の画像が復元される過程が説明される。まず、図28に示されているように、一括圧縮データモジュール57から、自由細点圧縮データモジュール54、印刷網点圧縮データモジュール55、及び線画圧縮データモジュール56が復元される(ステップS21)。なお、自由細点圧縮データモジュール54、印刷網点圧縮データモジュール55、及び線画圧縮データモジュール56が統合されず、別々のファイルとして保存されている場合は、ステップS21は行われない。
自由細点圧縮データモジュール54は、自由細点パターン復元アルゴリズムによって復元され、自由細点テンポラリデータ58が生成される(ステップS22)。自由細点パターン復元アルゴリズムでは、前述の自由細点パターン圧縮アルゴリズムで行われる変換の逆変換が行われる。
即ち、自由細点圧縮データモジュール54には、前述の面積パッチ71が有するパターンが、符号化され、圧縮されたデータが含まれている。まず、パターンを示す符号が復元され、更に、面積パッチ71が有するパターンが再現される。面積パッチ71が有するパターンが元の通りに並べられて、自由細点テンポラリデータ58が生成される。自由細点テンポラリデータ58には、元のイメージ30のうちの自由細点の部分を示すデータが含まれている。
印刷網点圧縮データモジュール55は、印刷網点復元アルゴリズムによって復元され、印刷網点テンポラリデータ59が生成される(ステップS23)。
前述されているように、印刷網点圧縮データモジュール55には、特徴網点であると定められたときに求められる網点ベクターpが符号化されている。
網点ベクターpは、前述の通り、
p=(x1、ΔS1、x2、ΔS2、x3、ΔS3、x4、ΔS4
と表現される。但し、
1:特徴網点と、x1軸の上にある他の網点であるx1網点との距離
ΔS1:特徴網点と、前述のx1網点との面積の差
2:特徴網点と、x2軸の上にある他の網点であるx2網点との距離
ΔS3:特徴網点と、前述のx3網点との面積の差
3:特徴網点と、x3軸の上にある他の網点であるx3網点との距離
ΔS3:特徴網点と、前述のx3網点との面積の差
4:特徴網点と、x4軸の上にある他の網点であるx4網点との距離
ΔS4:特徴網点と、前述のx4網点との面積の差
である。
図29は、印刷網点復元アルゴリズムを示すフローチャートである。まず、印刷網点圧縮データモジュール55が復号化される(ステップS31)。
復号化された印刷網点圧縮データモジュール55から、スクリーン線密度Dと、スクリーン線角度θとが抽出される(ステップS32)。復元される画像に定められるスクリーン線の方向と本数とが定まる。
復号化された印刷網点圧縮データモジュール55から、基準特徴網点の位置と面積とが抽出される(ステップS33)。
更に、その基準特徴網点について定められた網点ベクターpが抽出される。更に、その網点ベクターpに基づいて、補間により、他の網点の位置と面積が定められる(ステップS34)。
図30は、他の網点の位置と面積が定められる過程を示す。ステップS32において抽出されたスクリーン線密度Dと、スクリーン線角度θとから、スクリーン線121が復元される。
更に、ステップS32において抽出された基準特徴網点122の位置と面積に基づいて、基準特徴網点122が復元される。続いて、基準特徴網点122を原点として、図30に示されているように、x1軸、x2軸、x3軸、x4軸が定められる。
更に、基準特徴網点122について定められている網点ベクターpの成分x1と、ΔS1とから、x1軸の上にある特徴網点1231の中心の点位置と、面積とが定められる。特徴網点1231が復元される。更に、基準特徴網点122と特徴網点1231との位置及び面積に基づいて、それらの間に位置する網点1241の位置と面積とが、成分x1と成分ΔS1とに基づいて、補間により求められる。網点1241の面積は、基準特徴網点122の面積と特徴網点1231の面積との間の範囲にある。網点1241が復元される。
更に、基準特徴網点122について定められている網点ベクターpの成分x2と、ΔS2とから、x2軸の上にある特徴網点1232の位置と、面積とが定められる。特徴網点1232が復元される。基準特徴網点122と特徴網点1232との位置及び面積に基づいて、それらの間に位置する網点1242の位置と面積とが、成分x2と成分ΔS2とに基づいて、補間により求められる。網点1242の面積は、基準特徴網点122の面積と特徴網点1232の面積との間の範囲にある。網点1242が復元される。
更に、基準特徴網点122について定められている網点ベクターpの成分x3と、ΔS3とから、x3軸の上にある特徴網点1233の位置と、面積とが定められる。特徴網点1233が復元される。基準特徴網点122と特徴網点1233との位置及び面積に基づいて、それらの間に位置する網点1243の位置と面積とが、成分x3と成分ΔS3とに基づいて、補間により求められる。網点1243の面積は、基準特徴網点122の面積と特徴網点1233の面積との間の範囲にある。網点1243が復元される。
更に、基準特徴網点122について定められている網点ベクターpの成分x4と、ΔS4とから、x4軸の上にある特徴網点1234の位置と、面積とが定められる。特徴網点1234が復元される。基準特徴網点122と特徴網点1234との位置及び面積に基づいて、それらの間に位置する網点1244の位置と面積とが、成分x4と成分ΔS4とに基づいて、補間により求められる。網点1244の面積は、基準特徴網点122の面積と特徴網点1234の面積との間の範囲にある。網点1244が復元される。
続いて、特徴網点1231について定められた他の網点ベクターから、他の特徴網点と他の網点とが復元される。同様に、基準特徴網点122と同一のスクリーン線121の上にある特徴網点について定められた他の網点ベクターから、他の特徴網点と他の網点とが復元される。
更に、他のスクリーン線121の上にある全ての基準特徴網点について、上述と同様の演算が行われ、他の全ての特徴網点と網点とが復元される。印刷網点で構成されたイメージ要素の復元が完了する(ステップS35)。復元されたイメージ要素は、印刷網点テンポラリデータ59として保存される。
一方、図28に示されているように、線画圧縮データモジュール56は、線画復元アルゴリズムにより復元され、線画テンポラリデータ60が生成される(ステップS24)。
前述されているように、線画圧縮データモジュール56には、輪郭ベクターと、位置ベクターと、輪郭線の間に存在するイメージ要素の階調を示す階調データが符号化されている。まず、輪郭ベクター1151〜1158と、位置ベクター1161、1162が復号化される。輪郭ベクター1151〜1158は、図31に示されているように、位置ベクター1161、1162が示す位置に配置される。配置された輪郭ベクター1151〜1158は、輪郭線1141、1142を構成する。
更に、輪郭線1141、1142の間の領域117が、線画圧縮データモジュール56に符号化された階調データが示す階調で埋められて、線画で構成されたイメージ要素の復元が完了する。復元されたイメージ要素は、線画テンポラリデータ60として保存される。このとき、輪郭線1141、1142の間の領域117は、他のパターンにより埋められることが可能である。輪郭線1141、1142の間の領域117に他のパターンが埋められることにより、特殊な画像処理が可能になる。このとき、領域117に音楽、音声のようなデータを電子透かしとして入れることも可能である。
図28に示されているように、自由細点テンポラリデータ58、印刷網点テンポラリデータ59、及び線画テンポラリデータ60が合成され、復元イメージデータ61が生成される(ステップS25)。復元イメージデータ61は、元の紙面イメージデータ50と概ね同一のイメージを示す。
本実施の形態のイメージデータ圧縮方法と復元方法では、スキャナー等で取り込まれた紙面上のイメージがイメージ要素に分別され、抽出される。更に、各イメージ要素が、それに対応したアルゴリズムで圧縮され、復元される。これにより、圧縮率が向上され、更に、圧縮及び復元による画質の劣化が抑制される。
更に、本実施の形態のイメージデータ圧縮方法と復元方法では、画像に含まれている網点から網点ベクターが生成される。網点が有する冗長度を効果的に活用される。これにより、圧縮率が向上される。
なお、本実施の形態のステップS02において、印刷網点が以下に述べられている過程により抽出され、印刷網点イメージ要素データ52が生成されることが可能である。
まず、紙面イメージデータ50から、印刷規則に定められた印刷網点の最大面積よりも小さい面積を有する点領域の集合体に対応する部分が抽出される。その点領域は、印刷網点である可能性と、印刷網点でない可能性の両方が考えられる。続いて、点領域のそれぞれの中心点の位置が算出される。その算出法は、前述の印刷網点圧縮アルゴリズムにおいて、印刷網点の中心点の位置が算出される方法と同一である。
更に、その点領域の中心点の近傍を通るように、等間隔でスクリーン線を定めることができるか否かが判断される。スクリーン線を定めることができれば、その点領域の集合体は、印刷網点の集合体であると判断される。その点領域の集合体が抽出されて、印刷網点イメージ要素データ52が生成される。
また、本実施の形態において、カラーイメージを圧縮し、更に復元することも可能である。この場合、図32に示されているように、紙面イメージデータが色毎に分版される。
上述のモノクロイメージが圧縮される場合と同様に、紙面に印刷されたカラーイメージが取り込まれて、カラー紙面イメージデータ62が生成される(ステップS41)。
カラー紙面イメージデータ62が、色毎に分版される(ステップS42)。カラー紙面イメージデータ62のうち、シアン色(C)の成分が抽出され、青版紙面イメージデータ63aが生成される。カラー紙面イメージデータ62のうち、マゼンダ色(M)の成分が抽出され、赤版紙面イメージデータ63bが生成される。カラー紙面イメージデータ62のうち、黄色(Y)の成分が抽出され、黄版紙面イメージデータ63cが生成される。カラー紙面イメージデータ62のうち、黒色(K)の成分が抽出され、墨版紙面イメージデータ63dが生成される。即ち、カラー紙面イメージデータ62は、CMYK系に分版される。
青版紙面イメージデータ63a、赤版紙面イメージデータ63b、黄版紙面イメージデータ63c、墨版紙面イメージデータ63dのそれぞれについて、図1に示されたステップS02と同様にして、イメージ要素が抽出され、分別される(ステップS43)。青色紙面イメージデータ63a、赤版紙面イメージデータ63b、黄版紙面イメージデータ63c、墨版紙面イメージデータ63dから、それぞれ、自由細点で構成された画像を示す青版自由細点イメージデータ64a、赤版自由細点イメージデータ64a、黄版自由細点イメージデータ64c、墨版自由細点イメージデータ64dが生成される。
更に、青版紙面イメージデータ63a、赤版紙面イメージデータ63b、黄版紙面イメージデータ63c、墨版紙面イメージデータ63dから、それぞれ、印刷網点で構成された画像を示す青版印刷網点イメージデータ65a、赤版印刷網点イメージデータ65b、黄版印刷網点イメージデータ65c、墨版印刷網点イメージデータ65dが生成される。
更に、青版紙面イメージデータ63a、赤版紙面イメージデータ63b、黄版紙面イメージデータ63c、墨版紙面イメージデータ63dから、それぞれ、エッジの強い画像で構成された画像を示す青版線画イメージデータ66a、赤版線画イメージデータ66b、黄版線画イメージデータ66c、墨版線画イメージデータ66dが生成される。
青版自由細点イメージデータ64a、赤版自由細点イメージデータ64a、黄版自由細点イメージデータ64c、墨版自由細点イメージデータ64dが上述の自由細点パターン圧縮アルゴリズムで圧縮され、青版自由細点テンポラリデータ67a、赤版自由細点テンポラリデータ67b、黄版自由細点テンポラリデータ67c、墨版自由細点テンポラリデータ67dが生成される(ステップS44)。
青版印刷網点イメージデータ65a、赤版印刷網点イメージデータ65b、黄版印刷網点イメージデータ65c、墨版印刷網点イメージデータ65dが上述の印刷網点圧縮アルゴリズムで圧縮され、それぞれ青版印刷網点テンポラリデータ68a、赤版印刷網点テンポラリデータ68b、黄版印刷網点テンポラリデータ68c、墨版印刷網点テンポラリデータ68cが生成される(ステップS45)。
青版線画イメージデータ66a、赤版線画イメージデータ66b、黄版線画イメージデータ66c、墨版線画イメージデータ66dが上述の線画圧縮アルゴリズムで圧縮され、それぞれ、青版線画テンポラリデータ69a、赤版線画テンポラリデータ69b、黄版線画テンポラリデータ69c、墨版線画テンポラリデータ69cが生成される(ステップS46)。
青版自由細点テンポラリデータ67a、赤版自由細点テンポラリデータ67b、黄版自由細点テンポラリデータ67c、墨版自由細点テンポラリデータ67d、青版印刷網点テンポラリデータ68a、赤版印刷網点テンポラリデータ68b、黄版印刷網点テンポラリデータ68c、墨版印刷網点テンポラリデータ68c、青版線画テンポラリデータ69a、赤版線画テンポラリデータ69b、黄版線画テンポラリデータ69c、及び墨版線画テンポラリデータ69cが統合され、一括圧縮データモジュール57’が生成される(ステップS47)。カラー紙面イメージデータ62の圧縮が完了する。
なお、カラー紙面イメージデータ62が、CMYK系ではなく、他の表色系、例えば、赤色(R)、緑色(G)、青色(B)を3原色とするRGB系に分版されることも当然に可能である。
また、本実施の形態では、網点ベクターの算出は、x1軸、x2軸、x3軸、x4軸の全てについてなされるが、x1軸、x2軸、x3軸、x4軸の全てについて網点ベクターpの算出がなされることは、必ずしも必要とされない。但し、本実施の形態のように、x1軸、x2軸、x3軸、x4軸のうちの複数の軸について網点ベクターの算出がなされることは、圧縮率が向上される点で好ましい。
また、本実施の形態において、復元イメージデータ61を生成する際に、イメージの拡大及び縮小を行うことが可能である。この場合、自由細点圧縮データモジュール54が復元されて生成された自由細点テンポラリデータ58に含まれる自由細点は、拡大率αで拡大され、又は、縮小率βで縮小される。
更に、印刷網点テンポラリデータ59には、以下に述べられているように、イメージ要素を拡大し、又は縮小するための演算が施される。
印刷網点テンポラリデータ59に含まれているイメージ要素が拡大される場合を説明する。印刷網点テンポラリデータ59には、図33に示されているように、網点131〜139が含まれているとする。網点131〜139は、それぞれ、点A〜Hに位置するとする。
網点131〜139が含まれているイメージ要素が、点Aを拡大の中心として、拡大率αで拡大される場合を考える。図33に示されているように、まず、拡大の中心点である点Aと、網点132がある点Bとを結ぶ直線上にある点B1に網点132が仮想的に移動される。
このとき、
α=AB1/AB.
仮想的に移動された網点132は、以後、仮想網点132’と記載される。仮想網点132’の面積は、網点132の面積と同じである。仮想網点132’は仮想的に移動された網点であり、実際に、仮想網点132’が配置されるわけではない。
続いて、網点132が移動される方向と反対側に隣接する網点131と、仮想網点132’との間にある点のうち、印刷規則により、網点が存在することが定められている点に、新たな網点が発生される。発生された新たな網点は、網点132’’と記載される。図33に示されている場合では、網点132’’の位置は、網点132の位置に一致する。新たな網点132’’の面積は、網点132が隣接する網点のうち、網点132が移動される方向と反対側にあるものである網点131と、仮想網点132’の面積とを補間することにより定められる。この補間の際には、網点131、仮想網点132’、新たな網点132’’の位置が参照される。
イメージ要素を拡大する演算が施される印刷網点テンポラリデータ59に、新たな網点132’’の面積を示すデータが記録される。このとき、仮想網点132’の面積を示すデータは廃棄される。
他の網点も同様にして仮想的に移動され、更に、新たな網点が発生される。発生された新たな網点の面積を示すデータが、印刷網点テンポラリデータ59に、記録される。網点133が点C1に、網点134が点D1にそれぞれ仮想的に移動され、仮想網点133’、134’が定められる。
このとき、
α=AC1/AC=AD1/AD.
更に、網点133、134と同一の位置に新たな網点133’’、134’’が発生される。
更に、他の網点についても同様の演算が行われ、新たに発生された網点の面積が、順次に、求められてゆく。以上の過程により、イメージ要素の拡大が完了する。
このとき、拡大率αは、部分的に変えられることも可能である。これにより、変形されたイメージ要素の生成が可能になる。
続いて、印刷網点テンポラリデータ59に含まれているイメージ要素が縮小される場合を説明する。印刷網点テンポラリデータ59には、図34に示されているように、網点231〜239が含まれているとする。網点231〜239は、それぞれ、点A〜Hに位置するとする。
網点231〜239が含まれているイメージ要素が、点Aを縮小の中心として、縮小率βで拡大される場合を考える。図34に示されているように、まず、縮小の中心点である点Aと、網点232がある点Bとを結ぶ直線上にある点B1に網点232が仮想的に移動され、仮想網点232’が定められる。
このとき、
β=AB1/AB.
また、仮想網点232’の面積は、網点232の面積と同じである。
続いて、網点232が隣接する網点のうち、網点232が移動される方向と反対側にあるものである網点235と、仮想網点232’との間にある点のうち、印刷規則により網点が存在することが定められている点に、新たな網点が発生される。発生された新たな網点は、網点232’’と記載される。図34に示されている場合では、網点232’’の位置は、網点232の位置に一致する。新たな網点232’’の面積は、網点232が移動される方向と反対側に隣接する網点235と、仮想網点232’の面積とを補間することにより定められる。
この補間の際には、網点235、仮想網点232’、新たな網点232’’の位置が参照される。
イメージ要素を縮小する演算が施される印刷網点テンポラリデータ59に、新たな網点232’’の面積を示すデータが記録される。このとき、仮想網点232’の面積を示すデータは廃棄される。
他の網点も同様にして仮想的に移動され、更に、新たな網点が発生される。発生された新たな網点の面積を示すデータが、印刷網点テンポラリデータ59に、記録される。網点233が点C1に、網点234が点D1にそれぞれ仮想的に移動され、仮想網点233’、234’が定められる。
このとき、
β=AC1/AC=AD1/AD.
更に、網点233、234と同一の位置に新たな網点233’’、234’’が発生される。
更に、他の網点についても同様の演算が行われ、新たに発生された網点の面積が、順次に、求められてゆく。以上の過程により、イメージ要素の縮小が完了する。
このとき、縮小率βは、部分的に変えられることも可能である。これにより、変形されたイメージ要素の作成が可能になる。
また、印刷網点復元アルゴリズムに拡大及び縮小以外の各種演算機能が加えられることにより、他の変形復元が可能である。
更に線画テンポラリデータ60には、以下に述べられているように、イメージ要素を拡大し、又は縮小するための演算が施される。
イメージ要素が縮小される場合、図35に示されているように、線画テンポラリデータ60に含まれている輪郭ベクターと位置ベクトルとに縮小率βが乗じられ、輪郭ベクター117、位置ベクター118が生成される。輪郭ベクター117が向かう方向の左側の領域117aが、線画テンポラリデータ60に含まれている階調データで示された階調が埋められて、縮小されたイメージ要素が復元される。
同様に、イメージ要素が拡大される場合、図36に示されているように、線画テンポラリデータ60に含まれている輪郭ベクターと位置ベクトルとに拡大率αが乗じられ、輪郭ベクター119、位置ベクター120が生成される。輪郭ベクター119が向かう方向の左側の領域119aが、線画テンポラリデータ60に含まれている階調データで示された階調が埋められて、拡大されたイメージ要素が復元される。
また、本発明の実施の形態において、圧縮データ内に格納されている位置情報を使用して、イメージ要素を回転しながら、イメージ要素が復元されることも可能である。
また、前述されているように、本実施の形態においては、自由細点イメージ要素データ51を圧縮するために、自由細点パターン圧縮アルゴリズムが使用される。本実施の形態において、自由細点パターン圧縮アルゴリズムの代わりに、以下に述べられている自由細点ベクター圧縮アルゴリズムが使用されて、自由細点圧縮データモジュール54が生成されることが可能である。
図37に示されている自由細点1411〜1415が圧縮される場合を考える。まず、自由細点1411〜1415の中心点の位置が、前述された印刷網点の中心点の位置を求める過程と、同様にして求められる。自由細点1411〜1415の位置は、その中心点の位置により表される。以下では、自由細点1411〜1415の位置とは、自由細点1411〜1415の中心点の位置を意味する。
自由細点1411〜1415のうちの自由細点141iが位置する座標を(xi、yi)とする。更に、自由細点141iが有する面積をSiとする。
自由細点ベクターr1〜r3が、以下のようにして求められる。まず、自由細点1411が選択される。自由細点1411の位置と、面積とが、自由細点圧縮データモジュール54に付加される。自由細点ベクターr1は、自由細点1411と自由細点1412との相対位置と、自由細点1411と自由細点1412との面積差とを成分とするベクターである。即ち、
1=(x2−x1、y2−y1、S2−S1).
同様に、自由細点ベクターr2は、自由細点1412と自由細点1413との相対位置と、自由細点1411と自由細点1412の面積差とを成分とするベクターであり、
2=(x3−x2、y3−y2、S3−S2).
同様に、自由細点ベクターr3は、
3=(x4−x3、y4−y3、S4−S3).
自由細点ベクターr1〜r3が符号化され、自由細点圧縮データモジュール54が生成される。
更に、本実施の形態において、上述の自由細点パターン圧縮アルゴリズムの代わりに、以下に述べられている自由細点データ化圧縮アルゴリズムによって、自由細点イメージ要素データ51が圧縮され、自由細点圧縮データモジュール54が生成されることが可能である。
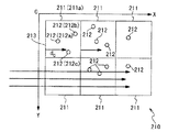
自由細点データ化圧縮アルゴリズムでは、自由細点212が含まれている領域210が、矩形領域211に区分される。矩形領域211の2辺はx軸方向に向き、他の2辺はy軸方向に向いている。それぞれの矩形領域211毎に、圧縮データが生成される。
その圧縮データが生成される方法が、矩形領域211のうちの矩形領域211aについて圧縮データを生成する場合を例にとって説明される。まず、圧縮データを生成する対象である矩形領域211aに含まれる自由細点212a〜212cが存在する位置が認識される。更に、自由細点212a〜212cが存在する位置と、矩形領域211aが有する4辺のうちの1辺との距離が算出される。
本実施の形態では、y軸方向に伸びる辺213と、自由細点212a〜212cが存在する位置との距離da、db、dcがそれぞれ算出される。距離da、db、dcは、辺213のx座標をx0、自由細点212a〜212cが存在する位置のx座標をそれぞれxa、xb、xcとして、
a=xa―x0
b=xa―x0
c=xa―x0
算出された距離dは、矩形領域212aについて生成される圧縮データの構成要素となる。このとき、x軸方向に伸びる辺との距離が算出されることも可能である。
更に、矩形領域211aの内部の領域の濃度の平均値が算出される。この平均値は、自由細点212a〜212cの面積の和に一対一に対応する。後述されるように、矩形領域211aの内部の領域の濃度の平均値は、自由細点212a〜212cの面積の復元に使用される。その平均値は、矩形領域211aについて生成される圧縮データの他の構成要素になる。矩形領域211aについて生成される圧縮データの生成は以上で完了する。
他の矩形領域211についても同様にして、圧縮データが生成される。生成された圧縮データは統合され、自由細点圧縮データモジュール54が生成される。
以上のようにして生成された自由細点圧縮データモジュール54は、以下のようにして復元される。まず、自由細点圧縮データモジュール54から、各矩形領域211について生成された圧縮データが取り出される。その圧縮データには、前述されているように、各矩形領域211に含まれている自由細点と、矩形領域の辺との距離が含まれている。更に、各矩形領域211の内部の領域の濃度の平均値が含まれている。
その圧縮データから、各矩形領域211に含まれている自由細点と、矩形領域の辺との距離が認識される。その距離に基づいて、自由細点の位置が復元される。
更に、その圧縮データから、各矩形領域211の内部の領域の濃度の平均値が認識される。前述のとおり、その平均値に基づいて、各矩形領域211に含まれる自由細点の面積が定められる。このとき、各矩形領域211に含まれる自由細点は、同一の面積を有すると定められる。各矩形領域211に含まれる自由細点が復元される。以上の過程により、自由細点圧縮データモジュール54から、自由細点テンポラリーデータ58が復元される。
また、本実施の形態において、紙面イメージデータ50に含まれているイメージ要素に、下記に述べられる演算が施され、演算が施されたイメージ要素が圧縮されることが可能である。更に、自由細点テンポラリデータ58、印刷網点テンポラリデータ59、及び線画テンポラリデータ60が合成される際には、下記に述べられる演算が施されることが可能である。
自由細点テンポラリデータ58、印刷網点テンポラリデータ59、及び線画テンポラリデータ60に含まれる全てのイメージ要素が復元される時は、OR演算が行われる。例えば、自由細点テンポラリデータ58、印刷網点テンポラリデータ59、及び線画テンポラリデータ60にイメージ要素A、B、C、Dが含まれているとする。これら全てが復元される場合、これらのORが復元イメージデータ61として生成される。復元イメージデータ61をXとして、
X=A OR B OR C OR D.
また、紙面イメージデータ50に含まれている全てのイメージ要素が圧縮されるときは、OR演算が行われる。例えば、紙面イメージデータ50にイメージ要素A、B、C、Dが含まれているとする。これら全てが圧縮される場合、これらのORが圧縮の対象となるイメージデータになる。圧縮の対象となるイメージデータをX’として、
X’=A OR B OR C OR D.
自由細点テンポラリデータ58、印刷網点テンポラリデータ59、及び線画テンポラリデータ60に含まれるイメージ要素のうちの、共通部分のみを復元するとき、AND演算が行われる。自由細点テンポラリデータ58、印刷網点テンポラリデータ59、及び線画テンポラリデータ60にイメージ要素A、B、C、Dが含まれているとする。イメージ要素A、Bの共通部分を復元イメージデータ61として復元したい場合、復元イメージデータ61をXとして、
X= A AND B.
また、紙面イメージデータ50に含まれているイメージ要素のうちの、共通部分のみが圧縮されるとき、AND演算が行われる。例えば、紙面イメージデータ50にイメージ要素A、B、C、Dが含まれているとする。イメージ要素A、Bの共通部分が圧縮される場合、イメージ要素A、Bの論理積が圧縮の対象となるイメージデータになる。圧縮の対象となるイメージデータをX’として、
X’=A AND B.
自由細点テンポラリデータ58、印刷網点テンポラリデータ59、及び線画テンポラリデータ60に含まれるイメージ要素のうち、複数のイメージ要素以外の部分が復元される場合、NOR演算が行われる。例えば、自由細点テンポラリデータ58、印刷網点テンポラリデータ59、及び線画テンポラリデータ60にイメージ要素A、Cが含まれているとする。イメージ要素Aとイメージ要素Cと以外のイメージ要素を復元する場合、復元イメージデータ61をXとして、
X= A NOR C.
紙面イメージデータ50に含まれるイメージ要素のうち、複数のイメージ要素以外の部分が圧縮される場合、NOR演算が行われる。例えば、紙面イメージデータ50にイメージ要素A、Cが含まれているとする。イメージ要素Aとイメージ要素C以外のイメージ要素を圧縮する場合、圧縮の対象となるイメージデータをX’として、
X’= A NOR C.
また、自由細点テンポラリデータ58、印刷網点テンポラリデータ59、及び線画テンポラリデータ60に含まれるイメージ要素のうち、複数のイメージ要素の共通部分以外の部分を復元するときは、NAND演算が行われる。すなわち、例えば、自由細点テンポラリデータ58、印刷網点テンポラリデータ59、及び線画テンポラリデータ60にイメージ要素A、Cが含まれているとする。イメージ要素Aとイメージ要素Cとの共通部分以外の全てを復元する場合、復元イメージデータ61をXとして、
X= A NAND C.
また、紙面イメージデータ50に含まれるイメージ要素のうち、複数のイメージ要素の共通部分以外の部分を圧縮するときは、NAND演算が行われる。例えば、紙面イメージデータ50にイメージ要素A、Cが含まれているとする。イメージ要素Aとイメージ要素Cとの共通部分以外の全てを圧縮する場合、圧縮の対象となるイメージデータをX’として、
X’= A NAND C.
また、自由細点テンポラリデータ58、印刷網点テンポラリデータ59、及び線画テンポラリデータ60に含まれるイメージ要素について、排他的論理和を演算して復元されることも可能である。自由細点テンポラリデータ58、印刷網点テンポラリデータ59、及び線画テンポラリデータ60にイメージ要素A、Cが含まれているとする。復元イメージデータ61をXとしたとき、
X=A XOR C,
と定めることが可能である。
また、紙面イメージデータ50に含まれるイメージ要素について、排他的論理和を演算した上で圧縮されることも可能である。紙面イメージデータ50にイメージ要素A、Cが含まれているとする。圧縮の対象となるイメージデータをX’として、
X’=A XOR C,
と定めることが可能である。
また、自由細点テンポラリデータ58、印刷網点テンポラリデータ59、及び線画テンポラリデータ60にイメージ要素Aとイメージ要素Bとが含まれているとする。このとき、イメージ要素Aの上にイメージ要素Bが重なっている場合を考える。この場合、イメージ要素Aを透過処理で復元することにより、イメージ要素AとBとが重なっている部分において、イメージ要素Aが見えるように復元することが可能である。また、イメージ要素Aを不透過処理で復元することにより、イメージ要素Aとイメージ要素Bとが重なっている部分において、イメージ要素Bのみが見えるように、復元することができる。
紙面イメージデータ50に含まれるイメージ要素のうち、圧縮されるイメージ要素の選択は、各イメージ要素に付された名前、各イメージ要素のイメージの大きさ、各イメージ要素のイメージの形状、各イメージ要素のイメージの色、各イメージ要素のイメージデータ量に基づいて、行われることが可能である。同様に、自由細点テンポラリデータ58、印刷網点テンポラリデータ59、及び線画テンポラリデータ60にイメージ要素のうち、圧縮されるイメージ要素の選択は、各イメージ要素に付された名前、各イメージ要素のイメージの大きさ、各イメージ要素のイメージの形状、各イメージ要素のイメージの色、各イメージ要素のイメージデータ量に基づいて、行われることが可能である。
上記のような選択・演算処理により、紙面イメージの中から必要なイメージ要素や特徴的なイメージ要素を抽出して復元することができる。例えば、紙面の中から、写真のみ、文章のみ、表のみを圧縮処理するようにすればファイリングやデータベース構築に有効である。また、特定のイメージ要素のみが復元されることは、多数のイメージ要素がインターネットにおいて配信され、閲覧される際に、情報の処理量を削減する上で有効である。
なお、本実施の形態においては、上述されているように、紙面にあるイメージ30から紙面イメージデータ50が生成され、紙面イメージデータ50が圧縮され、復元されている。本実施の形態において、紙面から生成されない他のイメージデータが、紙面イメージデータ50の代わりに圧縮され、復元されることが可能である。
また、本実施の形態において、ステップS02では、他の基準に基づいて、イメージ要素データの分別・抽出が行われることが可能である。例えば、組版要素に基づいた分別・抽出が行われることが可能である。これにより、活字、手書き文字、印鑑、線画、グラフィック、平網、階調網、写真網が分別され、更に抽出される。また、イメージ種類に基づいた分別・抽出が行われることが可能である。これにより、文書物、漫画物、地図物、広告物、表物、写真物が分別され、更に抽出される。
実施の第2形態:
実施の第2形態のイメージデータ圧縮方法及び復元方法は、イメージデータに含まれる画像を、連続的に階調が変化する領域と、階調が殆ど変化しない領域とに分別して、そのイメージデータを圧縮し、復元する方法である。以下、実施の第2形態のイメージデータ圧縮方法及び復元方法を説明する。
実施の第2形態のイメージデータ圧縮方法及び復元方法は、ハードウエア資源を用いて実行される。そのハードウエア資源10’は、図38に示されているように、入力部11、CPU2、記憶装置3、記録媒体4、及びバス5を含む。入力部11、CPU2、記憶装置3、及び記録媒体4は、バス5に接続されている。入力部11には、イメージデータ150が入力される。CPU2は、イメージデータ150を圧縮し、又は復元するための演算を実行する。記憶装置3は、イメージデータ150と、実施の第2形態のイメージデータの圧縮方法及び復元方法を実行する過程で生成されたデータを格納する。記録媒体4は、実施の第2形態のイメージデータの圧縮方法及び復元方法に含まれる手順が記載されたプログラムを格納する。CPU2は、そのプログラムに従って動作する。バス5は、スキャナ1、CPU2、記憶装置3、及び記録媒体4の間で交換されるデータを伝送する。
図39は、実施の第2形態のイメージデータ圧縮方法を示す。まず、イメージデータ150が入力部11に入力される。イメージデータ150が示す画像は、連続的に階調が変化する領域と、階調が殆ど変化しない領域とを含んでいる。連続的に階調が変化する領域には、網点で構成されたイメージ要素が配置されている。階調が殆ど変化しない領域には、網点で構成されていないイメージ要素が配置されている。
イメージデータ150が2値化され、2値データ151が生成される(ステップS51)。更に、前述のイメージデータ150と、2値データ151との差分が算出され、多値データ152が生成される(ステップS52)。
イメージデータ150は、2値データ151と、多値データ152とに分別されることになる。イメージデータ150のうち、階調が殆ど変化しない領域が、2値データ151として抽出され、イメージデータ150のうち、連続的に階調が変化する領域に対応する部分が、多値データ152として抽出される。連続的に階調が変化する領域は、前述の通り、網点で構成されたイメージ要素が配置されている。多値データ152は網点を示すデータで構成されている。
多値データ152は、実施の第1形態で説明された印刷網点圧縮アルゴリズムにより圧縮され、印刷網点圧縮データモジュール154が生成される(ステップS53)。更に、2値データ151は、実施の第1形態で説明された線画圧縮アルゴリズムで圧縮され、線画圧縮データモジュール155が生成される(ステップS54)。
印刷網点圧縮データモジュール154と線画圧縮データモジュール155とは統合され、一括圧縮データモジュール156が生成される(ステップS55)以上の過程により、イメージデータ150の圧縮が完了する。一括圧縮データモジュール156は、記録媒体に記録されて利用されることが可能である。
続いて、一括圧縮データモジュール156が復元される過程を説明する。
図40に示されているように、一括圧縮データモジュール156が分割され、印刷網点圧縮データモジュール154と、線画圧縮データモジュール155とが復元される(ステップS61)。
印刷網点圧縮データモジュール154は、実施の第1形態で説明された印刷網点復元アルゴリズムにより復元され、印刷網点テンポラリデータ157が生成される(ステップS62)。印刷網点テンポラリデータ157には、網点からなる画像が復元されている。
更に、線画圧縮データモジュール155が、実施の第1形態で説明された線画復元アルゴリズムにより復元され、線画テンポラリデータ158が生成される(ステップS63)。
更に、印刷網点テンポラリデータ157と線画テンポラリデータ158とがイメージ合成され、復元網点データ160が生成される(ステップS64)。
実施の第2形態のイメージ圧縮方法と復元方法が以下に述べられているように変更され、イメージデータ150に全く印刷網点が含まれていない場合に適用されることも可能である。
まず、上述の実施の第2形態のイメージ圧縮方法と復元方法と同様に、イメージデータ150が2値化され(ステップS51)、更に、イメージデータ150と2値データ151の差分が算出されて多値データ152が生成される。このとき、多値データ152が示す画像には、印刷網点が含まれていない。
この場合、多値データ152が示す画像から網点が発生された後、印刷網点圧縮アルゴリズムにより、多値データ152が圧縮される。まず、多値データ152が示す画像の各位置における階調が算出される。更に、画像の各位置に、その位置の階調に比例した面積を有する網点が発生される。その網点の位置と、面積とに基づいて、印刷網点圧縮アルゴリズムにより多値データ152が圧縮され、印刷網点圧縮データモジュール154が生成される。更に、線画圧縮データモジュール155と統合されて、一括圧縮データモジュール156が生成される。
このようにして生成された一括圧縮データモジュール156が復元されるとき、復元される復元イメージデータ160が示す画像には、元のイメージデータ150が示す画像に含まれていなかった網点が含まれている。
この場合、網点から構成される画像を示す印刷網点テンポラリデータ157が、網点から構成されている画像でない画像テンポラリデータに変換されたうえで、2値テンポラリデータ158と合成されることが可能である。画像テンポラリデータは以下のようにして生成される。まず、印刷網点テンポラリデータ157に含まれている網点の位置と面積とが認識される。網点が存在する位置の近傍の領域が、網点の面積に対応した階調により塗りつぶされた画像が生成される。その画像を示すデータが画像テンポラリデータとして生成される。
このようにして生成された画像テンポラリデータと2値テンポラリデータ158とから生成された復元イメージデータ160には、網点が含まれていない元の画像が、概ね復元される。
網点が含まれていないように復元イメージデータ160が復元されることは、モアレが発生することを防止したい場合に有効である。
本実施の形態のイメージデータ圧縮方法と復元方法では、実施の第1形態と同様に、イメージデータがイメージ要素に分別され、抽出される。更に、各イメージ要素が、それに対応したアルゴリズムで圧縮され、復元される。これにより、圧縮率が向上され、更に、圧縮及び復元による画質の劣化が抑制される。
更に、本実施の形態のイメージデータ圧縮方法と復元方法では、網点が含まれていない画像から、網点が生成される。更に、その網点から網点ベクターが生成される。網点が有する冗長度が効果的に活用される。これにより、圧縮率が向上される。
なお、本実施の形態のイメージデータ圧縮方法と復元方法においても、実施の第1形態と同様に、カラーイメージの圧縮及び復元を行うことが可能である。この場合、実施の第1形態と同様に、カラーイメージを示すカラーイメージデータが分版され、各色毎に、分版イメージデータが生成される。分版イメージデータのそれぞれについて、本実施の形態のイメージデータ圧縮方法と復元方法と同じ方法により、圧縮及び復元がなされる。
1:スキャナ
2:CPU
3:記憶装置
4:記録媒体
5:バス
10:ハードウエア資源
11:入力部
50:紙面イメージデータ
51:自由細点イメージ要素データ
52:印刷網点イメージ要素データ
53:線画イメージ要素データ
54:自由細点圧縮データモジュール
55:印刷網点圧縮データモジュール
56:線画圧縮データモジュール
57:一括圧縮データモジュール
58:自由細点テンポラリデータ
59:印刷網点テンポラリデータ
60:線画テンポラリーデータ
61:復元イメージデータ
62:カラー紙面イメージデータ
70:対象エリア
71:面積パッチ
72:小領域
73:イメージ要素
81、101:網点
82、102:スクリーン線

Claims (7)

  1. 網点が含まれる画像を示すイメージデータを取得することと、
    前記網点の面積を算出することと、
    前記網点の位置を算出することと、
    前記面積と前記位置とに基づいて、圧縮データを生成すること
    とを備え、
    前記網点は、
    第1網点と、
    第2網点を含み、
    前記面積は、
    前記第1網点の第1面積と、
    前記第2網点の第2面積
    とを含み、
    前記圧縮データは、前記第1面積と前記第2面積の面積差に基づいて生成される
    イメージデータ圧縮方法。
  2. 請求項1のイメージデータ圧縮方法において、
    前記位置は、
    前記第1網点の第1位置と、
    前記第2網点の第2位置
    とを含み、
    前記圧縮データは、前記第1位置と前記第2位置の距離に基づいて生成される
    イメージデータ圧縮方法。
  3. 第1網点と第2網点の面積差を示す面積差データと、前記第1網点と前記第2網点の距離を示す距離データとを含む圧縮データを取得することと、
    前記面積差データと、前記距離データとに基づいて、前記第1網点と前記第2網点とを含むイメージデータを復元することとを備える
    イメージデータ復元方法。
  4. 請求項3のイメージデータ復元方法において、
    前記イメージデータは、前記第1網点と前記第2網点との間に位置する第3網点を更に含むように復元され、
    前記第3網点の面積は、前記面積差データに基づいて定められる
    イメージデータ復元方法。
  5. 網点が含まれる画像を示すイメージデータを取得することと、
    前記網点の面積を算出することと、
    前記網点の位置を算出することと、
    前記面積と前記位置とに基づいて、圧縮データを生成すること
    とを実行するプログラムが記録された記録媒体であって、
    前記網点は、
    第1網点と、
    第2網点を含み、
    前記面積は、
    前記第1網点の第1面積と、
    前記第2網点の第2面積
    とを含み、
    前記圧縮データは、前記第1面積と前記第2面積の面積差に基づいて生成される
    記録媒体。
  6. 第1網点と第2網点の面積差を示す面積差データと、前記第1網点と前記第2網点の距離を示す距離データとを含む圧縮データを取得することと、
    前記面積差データと、前記距離データとに基づいて、前記第1網点と前記第2網点とを含むイメージデータを復元すること
    とを実行するプログラムが記録された
    記録媒体。
  7. 請求項6の記録媒体において、
    前記イメージデータは、前記第1網点と前記第2網点との間に位置する第3網点を更に含むように復元され、
    前記第3網点の面積は、前記面積差データに基づいて定められる
    記録媒体。
JP2009241608A 1999-12-20 2009-10-20 イメージデータ圧縮方法及び復元方法 Expired - Fee Related JP4567802B2 (ja)

Priority Applications (1)

Application Number Priority Date Filing Date Title
JP2009241608A JP4567802B2 (ja) 1999-12-20 2009-10-20 イメージデータ圧縮方法及び復元方法

Applications Claiming Priority (3)

Application Number Priority Date Filing Date Title
JP36032699 1999-12-20
JP2000103889 2000-04-05
JP2009241608A JP4567802B2 (ja) 1999-12-20 2009-10-20 イメージデータ圧縮方法及び復元方法

Related Parent Applications (1)

Application Number Title Priority Date Filing Date
JP2000383573A Division JP4424845B2 (ja) 1999-12-20 2000-12-18 イメージデータ圧縮方法及び復元方法

Publications (2)

Publication Number Publication Date
JP2010016902A true JP2010016902A (ja) 2010-01-21
JP4567802B2 JP4567802B2 (ja) 2010-10-20

Family

ID=41393294

Family Applications (5)

Application Number Title Priority Date Filing Date
JP2009162302A Pending JP2009268147A (ja) 1999-12-20 2009-07-09 イメージデータ圧縮方法及び復元方法
JP2009162304A Expired - Fee Related JP4567799B2 (ja) 1999-12-20 2009-07-09 イメージデータ圧縮方法及び復元方法
JP2009241613A Expired - Lifetime JP4659114B2 (ja) 1999-12-20 2009-10-20 イメージデータ圧縮方法及び復元方法
JP2009241608A Expired - Fee Related JP4567802B2 (ja) 1999-12-20 2009-10-20 イメージデータ圧縮方法及び復元方法
JP2010233398A Expired - Fee Related JP4812893B2 (ja) 1999-12-20 2010-10-18 イメージデータ圧縮方法及び復元方法

Family Applications Before (3)

Application Number Title Priority Date Filing Date
JP2009162302A Pending JP2009268147A (ja) 1999-12-20 2009-07-09 イメージデータ圧縮方法及び復元方法
JP2009162304A Expired - Fee Related JP4567799B2 (ja) 1999-12-20 2009-07-09 イメージデータ圧縮方法及び復元方法
JP2009241613A Expired - Lifetime JP4659114B2 (ja) 1999-12-20 2009-10-20 イメージデータ圧縮方法及び復元方法

Family Applications After (1)

Application Number Title Priority Date Filing Date
JP2010233398A Expired - Fee Related JP4812893B2 (ja) 1999-12-20 2010-10-18 イメージデータ圧縮方法及び復元方法

Country Status (1)

Country Link
JP (5) JP2009268147A (ja)

Families Citing this family (3)

* Cited by examiner, † Cited by third party
Publication number Priority date Publication date Assignee Title
JP5742283B2 (ja) * 2011-02-18 2015-07-01 富士ゼロックス株式会社 画像処理装置及び画像処理プログラム
JP5887770B2 (ja) * 2011-09-05 2016-03-16 富士ゼロックス株式会社 画像処理装置及び画像処理プログラム
JP7243981B2 (ja) * 2019-03-08 2023-03-22 国立大学法人秋田大学 紙面領域分類装置及びそのプログラム

Citations (3)

* Cited by examiner, † Cited by third party
Publication number Priority date Publication date Assignee Title
JPS5693483A (en) * 1979-12-27 1981-07-29 Fujitsu Ltd Coding system of mesh picture
JPH0358574A (ja) * 1989-07-27 1991-03-13 Fujitsu Ltd 網点画像データ圧縮装置
JPH08204968A (ja) * 1995-01-27 1996-08-09 Nec Corp 網点画像データ圧縮方式

Family Cites Families (7)

* Cited by examiner, † Cited by third party
Publication number Priority date Publication date Assignee Title
GB1517870A (en) * 1976-12-20 1978-07-12 Ibm Apparatus for producing vectors from raster scanned data
JPH0762867B2 (ja) * 1986-09-18 1995-07-05 富士通株式会社 網点画像スクリ−ン線数変換装置
JPH03146996A (ja) * 1989-11-02 1991-06-21 Nec Off Syst Ltd 画像処理装置
JPH05268462A (ja) * 1992-03-19 1993-10-15 Mitsubishi Electric Corp 画像処理装置
JPH06181519A (ja) * 1992-12-15 1994-06-28 Fujitsu Ltd 印刷画像の線密度変換方法
JPH099065A (ja) * 1995-06-14 1997-01-10 Nagano Japan Radio Co 画像デ−タの圧縮符号化方法および復号化方法
JPH10210293A (ja) * 1997-01-21 1998-08-07 Minolta Co Ltd 画像処理装置

Patent Citations (3)

* Cited by examiner, † Cited by third party
Publication number Priority date Publication date Assignee Title
JPS5693483A (en) * 1979-12-27 1981-07-29 Fujitsu Ltd Coding system of mesh picture
JPH0358574A (ja) * 1989-07-27 1991-03-13 Fujitsu Ltd 網点画像データ圧縮装置
JPH08204968A (ja) * 1995-01-27 1996-08-09 Nec Corp 網点画像データ圧縮方式

Also Published As

Publication number Publication date
JP4567802B2 (ja) 2010-10-20
JP2009268148A (ja) 2009-11-12
JP4567799B2 (ja) 2010-10-20
JP2009268147A (ja) 2009-11-12
JP2011050084A (ja) 2011-03-10
JP2010016903A (ja) 2010-01-21
JP4812893B2 (ja) 2011-11-09
JP4659114B2 (ja) 2011-03-30

Similar Documents

Publication Publication Date Title
JP4424845B2 (ja) イメージデータ圧縮方法及び復元方法
JP5132530B2 (ja) 画像符号化装置及び画像処理装置及びそれらの制御方法
CN101388111B (zh) 图像处理装置和图像处理方法
JP2009278363A (ja) 画像処理装置及び画像処理方法
EP0708415B1 (en) Four-quadrant scaling of dot matrix data
JP3715905B2 (ja) 画像処理装置、画像処理方法、プログラム並びに記憶媒体
JP4812893B2 (ja) イメージデータ圧縮方法及び復元方法
JP5005732B2 (ja) 画像形成装置及び画像処理方法
JP3888090B2 (ja) 画像処理装置及び画像処理方法
JP2008092447A (ja) 画像処理装置、画像出力装置、および画像処理方法
HK1076678B (en) Image data compressing method and restoring method
JP4517288B2 (ja) 画像処理装置、画像処理方法及びそのプログラム
JPH06150059A (ja) 像域分離装置
CA2499286C (en) Compressing and restoring method of image data
JP4736489B2 (ja) 画像処理装置
JP3754721B2 (ja) 画像処理装置及びその方法
JP3070884B2 (ja) 2値画像識別装置
JPH064658A (ja) 画像処理方法及びその装置
JP2000270224A (ja) 画像処理装置、画像処理方法およびその方法をコンピュータに実行させるプログラムを記録したコンピュータ読み取り可能な記録媒体

Legal Events

Date Code Title Description
A621 Written request for application examination

Free format text: JAPANESE INTERMEDIATE CODE: A621

Effective date: 20091020

A131 Notification of reasons for refusal

Free format text: JAPANESE INTERMEDIATE CODE: A131

Effective date: 20100506

A521 Written amendment

Free format text: JAPANESE INTERMEDIATE CODE: A523

Effective date: 20100628

TRDD Decision of grant or rejection written
A01 Written decision to grant a patent or to grant a registration (utility model)

Free format text: JAPANESE INTERMEDIATE CODE: A01

Effective date: 20100720

A01 Written decision to grant a patent or to grant a registration (utility model)

Free format text: JAPANESE INTERMEDIATE CODE: A01

A61 First payment of annual fees (during grant procedure)

Free format text: JAPANESE INTERMEDIATE CODE: A61

Effective date: 20100805

R150 Certificate of patent or registration of utility model

Free format text: JAPANESE INTERMEDIATE CODE: R150

Ref document number: 4567802

Country of ref document: JP

Free format text: JAPANESE INTERMEDIATE CODE: R150

FPAY Renewal fee payment (event date is renewal date of database)

Free format text: PAYMENT UNTIL: 20130813

Year of fee payment: 3

R250 Receipt of annual fees

Free format text: JAPANESE INTERMEDIATE CODE: R250

R250 Receipt of annual fees

Free format text: JAPANESE INTERMEDIATE CODE: R250

R250 Receipt of annual fees

Free format text: JAPANESE INTERMEDIATE CODE: R250

S533 Written request for registration of change of name

Free format text: JAPANESE INTERMEDIATE CODE: R313533

R350 Written notification of registration of transfer

Free format text: JAPANESE INTERMEDIATE CODE: R350

R250 Receipt of annual fees

Free format text: JAPANESE INTERMEDIATE CODE: R250

R250 Receipt of annual fees

Free format text: JAPANESE INTERMEDIATE CODE: R250

S111 Request for change of ownership or part of ownership

Free format text: JAPANESE INTERMEDIATE CODE: R313117

R350 Written notification of registration of transfer

Free format text: JAPANESE INTERMEDIATE CODE: R350

S111 Request for change of ownership or part of ownership

Free format text: JAPANESE INTERMEDIATE CODE: R313111

R350 Written notification of registration of transfer

Free format text: JAPANESE INTERMEDIATE CODE: R350

LAPS Cancellation because of no payment of annual fees