JP2010016262A - ダイマウント装置およびダイマウント方法 - Google Patents

ダイマウント装置およびダイマウント方法 Download PDF

Info

Publication number
JP2010016262A
JP2010016262A JP2008176203A JP2008176203A JP2010016262A JP 2010016262 A JP2010016262 A JP 2010016262A JP 2008176203 A JP2008176203 A JP 2008176203A JP 2008176203 A JP2008176203 A JP 2008176203A JP 2010016262 A JP2010016262 A JP 2010016262A
Authority
JP
Japan
Prior art keywords
distance
semiconductor die
collet
substrate
bump
Prior art date
Legal status (The legal status is an assumption and is not a legal conclusion. Google has not performed a legal analysis and makes no representation as to the accuracy of the status listed.)
Granted
Application number
JP2008176203A
Other languages
English (en)
Other versions
JP4361591B1 (ja
Inventor
Toru Maeda
前田  徹
Current Assignee (The listed assignees may be inaccurate. Google has not performed a legal analysis and makes no representation or warranty as to the accuracy of the list.)
Shinkawa Ltd
Original Assignee
Shinkawa Ltd
Priority date (The priority date is an assumption and is not a legal conclusion. Google has not performed a legal analysis and makes no representation as to the accuracy of the date listed.)
Filing date
Publication date
Application filed by Shinkawa Ltd filed Critical Shinkawa Ltd
Priority to JP2008176203A priority Critical patent/JP4361591B1/ja
Priority to PCT/JP2008/073008 priority patent/WO2010001501A1/ja
Application granted granted Critical
Publication of JP4361591B1 publication Critical patent/JP4361591B1/ja
Publication of JP2010016262A publication Critical patent/JP2010016262A/ja
Expired - Fee Related legal-status Critical Current
Anticipated expiration legal-status Critical

Links

Images

Classifications

    • BPERFORMING OPERATIONS; TRANSPORTING
    • B23MACHINE TOOLS; METAL-WORKING NOT OTHERWISE PROVIDED FOR
    • B23KSOLDERING OR UNSOLDERING; WELDING; CLADDING OR PLATING BY SOLDERING OR WELDING; CUTTING BY APPLYING HEAT LOCALLY, e.g. FLAME CUTTING; WORKING BY LASER BEAM
    • B23K1/00Soldering, e.g. brazing, or unsoldering
    • B23K1/0008Soldering, e.g. brazing, or unsoldering specially adapted for particular articles or work
    • B23K1/0016Brazing of electronic components
    • BPERFORMING OPERATIONS; TRANSPORTING
    • B23MACHINE TOOLS; METAL-WORKING NOT OTHERWISE PROVIDED FOR
    • B23KSOLDERING OR UNSOLDERING; WELDING; CLADDING OR PLATING BY SOLDERING OR WELDING; CUTTING BY APPLYING HEAT LOCALLY, e.g. FLAME CUTTING; WORKING BY LASER BEAM
    • B23K3/00Tools, devices, or special appurtenances for soldering, e.g. brazing, or unsoldering, not specially adapted for particular methods
    • B23K3/06Solder feeding devices; Solder melting pans
    • B23K3/0607Solder feeding devices
    • B23K3/0623Solder feeding devices for shaped solder piece feeding, e.g. preforms, bumps, balls, pellets, droplets
    • HELECTRICITY
    • H01ELECTRIC ELEMENTS
    • H01LSEMICONDUCTOR DEVICES NOT COVERED BY CLASS H10
    • H01L24/00Arrangements for connecting or disconnecting semiconductor or solid-state bodies; Methods or apparatus related thereto
    • H01L24/74Apparatus for manufacturing arrangements for connecting or disconnecting semiconductor or solid-state bodies
    • H01L24/741Apparatus for manufacturing means for bonding, e.g. connectors
    • H01L24/742Apparatus for manufacturing bump connectors
    • HELECTRICITY
    • H01ELECTRIC ELEMENTS
    • H01LSEMICONDUCTOR DEVICES NOT COVERED BY CLASS H10
    • H01L25/00Assemblies consisting of a plurality of semiconductor or other solid state devices
    • H01L25/50Multistep manufacturing processes of assemblies consisting of devices, the devices being individual devices of subclass H10D or integrated devices of class H10
    • HELECTRICITY
    • H05ELECTRIC TECHNIQUES NOT OTHERWISE PROVIDED FOR
    • H05KPRINTED CIRCUITS; CASINGS OR CONSTRUCTIONAL DETAILS OF ELECTRIC APPARATUS; MANUFACTURE OF ASSEMBLAGES OF ELECTRICAL COMPONENTS
    • H05K3/00Apparatus or processes for manufacturing printed circuits
    • H05K3/40Forming printed elements for providing electric connections to or between printed circuits
    • H05K3/4007Surface contacts, e.g. bumps
    • BPERFORMING OPERATIONS; TRANSPORTING
    • B23MACHINE TOOLS; METAL-WORKING NOT OTHERWISE PROVIDED FOR
    • B23KSOLDERING OR UNSOLDERING; WELDING; CLADDING OR PLATING BY SOLDERING OR WELDING; CUTTING BY APPLYING HEAT LOCALLY, e.g. FLAME CUTTING; WORKING BY LASER BEAM
    • B23K2101/00Articles made by soldering, welding or cutting
    • B23K2101/36Electric or electronic devices
    • B23K2101/40Semiconductor devices
    • HELECTRICITY
    • H01ELECTRIC ELEMENTS
    • H01LSEMICONDUCTOR DEVICES NOT COVERED BY CLASS H10
    • H01L2221/00Processes or apparatus adapted for the manufacture or treatment of semiconductor or solid state devices or of parts thereof covered by H01L21/00
    • H01L2221/67Apparatus for handling semiconductor or electric solid state devices during manufacture or treatment thereof; Apparatus for handling wafers during manufacture or treatment of semiconductor or electric solid state devices or components; Apparatus not specifically provided for elsewhere
    • H01L2221/683Apparatus for handling semiconductor or electric solid state devices during manufacture or treatment thereof; Apparatus for handling wafers during manufacture or treatment of semiconductor or electric solid state devices or components; Apparatus not specifically provided for elsewhere for supporting or gripping
    • H01L2221/68304Apparatus for handling semiconductor or electric solid state devices during manufacture or treatment thereof; Apparatus for handling wafers during manufacture or treatment of semiconductor or electric solid state devices or components; Apparatus not specifically provided for elsewhere for supporting or gripping using temporarily an auxiliary support
    • H01L2221/68354Apparatus for handling semiconductor or electric solid state devices during manufacture or treatment thereof; Apparatus for handling wafers during manufacture or treatment of semiconductor or electric solid state devices or components; Apparatus not specifically provided for elsewhere for supporting or gripping using temporarily an auxiliary support used to support diced chips prior to mounting
    • HELECTRICITY
    • H01ELECTRIC ELEMENTS
    • H01LSEMICONDUCTOR DEVICES NOT COVERED BY CLASS H10
    • H01L2224/00Indexing scheme for arrangements for connecting or disconnecting semiconductor or solid-state bodies and methods related thereto as covered by H01L24/00
    • H01L2224/01Means for bonding being attached to, or being formed on, the surface to be connected, e.g. chip-to-package, die-attach, "first-level" interconnects; Manufacturing methods related thereto
    • H01L2224/02Bonding areas; Manufacturing methods related thereto
    • H01L2224/04Structure, shape, material or disposition of the bonding areas prior to the connecting process
    • H01L2224/05Structure, shape, material or disposition of the bonding areas prior to the connecting process of an individual bonding area
    • H01L2224/0554External layer
    • HELECTRICITY
    • H01ELECTRIC ELEMENTS
    • H01LSEMICONDUCTOR DEVICES NOT COVERED BY CLASS H10
    • H01L2224/00Indexing scheme for arrangements for connecting or disconnecting semiconductor or solid-state bodies and methods related thereto as covered by H01L24/00
    • H01L2224/01Means for bonding being attached to, or being formed on, the surface to be connected, e.g. chip-to-package, die-attach, "first-level" interconnects; Manufacturing methods related thereto
    • H01L2224/02Bonding areas; Manufacturing methods related thereto
    • H01L2224/04Structure, shape, material or disposition of the bonding areas prior to the connecting process
    • H01L2224/05Structure, shape, material or disposition of the bonding areas prior to the connecting process of an individual bonding area
    • H01L2224/0554External layer
    • H01L2224/0556Disposition
    • H01L2224/05568Disposition the whole external layer protruding from the surface
    • HELECTRICITY
    • H01ELECTRIC ELEMENTS
    • H01LSEMICONDUCTOR DEVICES NOT COVERED BY CLASS H10
    • H01L2224/00Indexing scheme for arrangements for connecting or disconnecting semiconductor or solid-state bodies and methods related thereto as covered by H01L24/00
    • H01L2224/01Means for bonding being attached to, or being formed on, the surface to be connected, e.g. chip-to-package, die-attach, "first-level" interconnects; Manufacturing methods related thereto
    • H01L2224/02Bonding areas; Manufacturing methods related thereto
    • H01L2224/04Structure, shape, material or disposition of the bonding areas prior to the connecting process
    • H01L2224/05Structure, shape, material or disposition of the bonding areas prior to the connecting process of an individual bonding area
    • H01L2224/0554External layer
    • H01L2224/05573Single external layer
    • HELECTRICITY
    • H01ELECTRIC ELEMENTS
    • H01LSEMICONDUCTOR DEVICES NOT COVERED BY CLASS H10
    • H01L2224/00Indexing scheme for arrangements for connecting or disconnecting semiconductor or solid-state bodies and methods related thereto as covered by H01L24/00
    • H01L2224/01Means for bonding being attached to, or being formed on, the surface to be connected, e.g. chip-to-package, die-attach, "first-level" interconnects; Manufacturing methods related thereto
    • H01L2224/10Bump connectors; Manufacturing methods related thereto
    • H01L2224/11Manufacturing methods
    • H01L2224/113Manufacturing methods by local deposition of the material of the bump connector
    • H01L2224/1133Manufacturing methods by local deposition of the material of the bump connector in solid form
    • H01L2224/11332Manufacturing methods by local deposition of the material of the bump connector in solid form using a powder
    • HELECTRICITY
    • H01ELECTRIC ELEMENTS
    • H01LSEMICONDUCTOR DEVICES NOT COVERED BY CLASS H10
    • H01L2224/00Indexing scheme for arrangements for connecting or disconnecting semiconductor or solid-state bodies and methods related thereto as covered by H01L24/00
    • H01L2224/01Means for bonding being attached to, or being formed on, the surface to be connected, e.g. chip-to-package, die-attach, "first-level" interconnects; Manufacturing methods related thereto
    • H01L2224/10Bump connectors; Manufacturing methods related thereto
    • H01L2224/15Structure, shape, material or disposition of the bump connectors after the connecting process
    • H01L2224/16Structure, shape, material or disposition of the bump connectors after the connecting process of an individual bump connector
    • HELECTRICITY
    • H01ELECTRIC ELEMENTS
    • H01LSEMICONDUCTOR DEVICES NOT COVERED BY CLASS H10
    • H01L2224/00Indexing scheme for arrangements for connecting or disconnecting semiconductor or solid-state bodies and methods related thereto as covered by H01L24/00
    • H01L2224/01Means for bonding being attached to, or being formed on, the surface to be connected, e.g. chip-to-package, die-attach, "first-level" interconnects; Manufacturing methods related thereto
    • H01L2224/26Layer connectors, e.g. plate connectors, solder or adhesive layers; Manufacturing methods related thereto
    • H01L2224/28Structure, shape, material or disposition of the layer connectors prior to the connecting process
    • H01L2224/29Structure, shape, material or disposition of the layer connectors prior to the connecting process of an individual layer connector
    • H01L2224/29001Core members of the layer connector
    • H01L2224/29099Material
    • H01L2224/29198Material with a principal constituent of the material being a combination of two or more materials in the form of a matrix with a filler, i.e. being a hybrid material, e.g. segmented structures, foams
    • H01L2224/29298Fillers
    • H01L2224/29299Base material
    • H01L2224/293Base material with a principal constituent of the material being a metal or a metalloid, e.g. boron [B], silicon [Si], germanium [Ge], arsenic [As], antimony [Sb], tellurium [Te] and polonium [Po], and alloys thereof
    • H01L2224/29317Base material with a principal constituent of the material being a metal or a metalloid, e.g. boron [B], silicon [Si], germanium [Ge], arsenic [As], antimony [Sb], tellurium [Te] and polonium [Po], and alloys thereof the principal constituent melting at a temperature of greater than or equal to 400°C and less than 950°C
    • H01L2224/29324Aluminium [Al] as principal constituent
    • HELECTRICITY
    • H01ELECTRIC ELEMENTS
    • H01LSEMICONDUCTOR DEVICES NOT COVERED BY CLASS H10
    • H01L2224/00Indexing scheme for arrangements for connecting or disconnecting semiconductor or solid-state bodies and methods related thereto as covered by H01L24/00
    • H01L2224/01Means for bonding being attached to, or being formed on, the surface to be connected, e.g. chip-to-package, die-attach, "first-level" interconnects; Manufacturing methods related thereto
    • H01L2224/26Layer connectors, e.g. plate connectors, solder or adhesive layers; Manufacturing methods related thereto
    • H01L2224/28Structure, shape, material or disposition of the layer connectors prior to the connecting process
    • H01L2224/29Structure, shape, material or disposition of the layer connectors prior to the connecting process of an individual layer connector
    • H01L2224/29001Core members of the layer connector
    • H01L2224/29099Material
    • H01L2224/29198Material with a principal constituent of the material being a combination of two or more materials in the form of a matrix with a filler, i.e. being a hybrid material, e.g. segmented structures, foams
    • H01L2224/29298Fillers
    • H01L2224/29299Base material
    • H01L2224/293Base material with a principal constituent of the material being a metal or a metalloid, e.g. boron [B], silicon [Si], germanium [Ge], arsenic [As], antimony [Sb], tellurium [Te] and polonium [Po], and alloys thereof
    • H01L2224/29338Base material with a principal constituent of the material being a metal or a metalloid, e.g. boron [B], silicon [Si], germanium [Ge], arsenic [As], antimony [Sb], tellurium [Te] and polonium [Po], and alloys thereof the principal constituent melting at a temperature of greater than or equal to 950°C and less than 1550°C
    • H01L2224/29339Silver [Ag] as principal constituent
    • HELECTRICITY
    • H01ELECTRIC ELEMENTS
    • H01LSEMICONDUCTOR DEVICES NOT COVERED BY CLASS H10
    • H01L2224/00Indexing scheme for arrangements for connecting or disconnecting semiconductor or solid-state bodies and methods related thereto as covered by H01L24/00
    • H01L2224/01Means for bonding being attached to, or being formed on, the surface to be connected, e.g. chip-to-package, die-attach, "first-level" interconnects; Manufacturing methods related thereto
    • H01L2224/26Layer connectors, e.g. plate connectors, solder or adhesive layers; Manufacturing methods related thereto
    • H01L2224/28Structure, shape, material or disposition of the layer connectors prior to the connecting process
    • H01L2224/29Structure, shape, material or disposition of the layer connectors prior to the connecting process of an individual layer connector
    • H01L2224/29001Core members of the layer connector
    • H01L2224/29099Material
    • H01L2224/29198Material with a principal constituent of the material being a combination of two or more materials in the form of a matrix with a filler, i.e. being a hybrid material, e.g. segmented structures, foams
    • H01L2224/29298Fillers
    • H01L2224/29299Base material
    • H01L2224/293Base material with a principal constituent of the material being a metal or a metalloid, e.g. boron [B], silicon [Si], germanium [Ge], arsenic [As], antimony [Sb], tellurium [Te] and polonium [Po], and alloys thereof
    • H01L2224/29338Base material with a principal constituent of the material being a metal or a metalloid, e.g. boron [B], silicon [Si], germanium [Ge], arsenic [As], antimony [Sb], tellurium [Te] and polonium [Po], and alloys thereof the principal constituent melting at a temperature of greater than or equal to 950°C and less than 1550°C
    • H01L2224/29344Gold [Au] as principal constituent
    • HELECTRICITY
    • H01ELECTRIC ELEMENTS
    • H01LSEMICONDUCTOR DEVICES NOT COVERED BY CLASS H10
    • H01L2224/00Indexing scheme for arrangements for connecting or disconnecting semiconductor or solid-state bodies and methods related thereto as covered by H01L24/00
    • H01L2224/01Means for bonding being attached to, or being formed on, the surface to be connected, e.g. chip-to-package, die-attach, "first-level" interconnects; Manufacturing methods related thereto
    • H01L2224/26Layer connectors, e.g. plate connectors, solder or adhesive layers; Manufacturing methods related thereto
    • H01L2224/28Structure, shape, material or disposition of the layer connectors prior to the connecting process
    • H01L2224/29Structure, shape, material or disposition of the layer connectors prior to the connecting process of an individual layer connector
    • H01L2224/29001Core members of the layer connector
    • H01L2224/29099Material
    • H01L2224/29198Material with a principal constituent of the material being a combination of two or more materials in the form of a matrix with a filler, i.e. being a hybrid material, e.g. segmented structures, foams
    • H01L2224/29298Fillers
    • H01L2224/29299Base material
    • H01L2224/293Base material with a principal constituent of the material being a metal or a metalloid, e.g. boron [B], silicon [Si], germanium [Ge], arsenic [As], antimony [Sb], tellurium [Te] and polonium [Po], and alloys thereof
    • H01L2224/29338Base material with a principal constituent of the material being a metal or a metalloid, e.g. boron [B], silicon [Si], germanium [Ge], arsenic [As], antimony [Sb], tellurium [Te] and polonium [Po], and alloys thereof the principal constituent melting at a temperature of greater than or equal to 950°C and less than 1550°C
    • H01L2224/29347Copper [Cu] as principal constituent
    • HELECTRICITY
    • H01ELECTRIC ELEMENTS
    • H01LSEMICONDUCTOR DEVICES NOT COVERED BY CLASS H10
    • H01L2224/00Indexing scheme for arrangements for connecting or disconnecting semiconductor or solid-state bodies and methods related thereto as covered by H01L24/00
    • H01L2224/01Means for bonding being attached to, or being formed on, the surface to be connected, e.g. chip-to-package, die-attach, "first-level" interconnects; Manufacturing methods related thereto
    • H01L2224/26Layer connectors, e.g. plate connectors, solder or adhesive layers; Manufacturing methods related thereto
    • H01L2224/28Structure, shape, material or disposition of the layer connectors prior to the connecting process
    • H01L2224/29Structure, shape, material or disposition of the layer connectors prior to the connecting process of an individual layer connector
    • H01L2224/29001Core members of the layer connector
    • H01L2224/29099Material
    • H01L2224/29198Material with a principal constituent of the material being a combination of two or more materials in the form of a matrix with a filler, i.e. being a hybrid material, e.g. segmented structures, foams
    • H01L2224/29298Fillers
    • H01L2224/29299Base material
    • H01L2224/293Base material with a principal constituent of the material being a metal or a metalloid, e.g. boron [B], silicon [Si], germanium [Ge], arsenic [As], antimony [Sb], tellurium [Te] and polonium [Po], and alloys thereof
    • H01L2224/29338Base material with a principal constituent of the material being a metal or a metalloid, e.g. boron [B], silicon [Si], germanium [Ge], arsenic [As], antimony [Sb], tellurium [Te] and polonium [Po], and alloys thereof the principal constituent melting at a temperature of greater than or equal to 950°C and less than 1550°C
    • H01L2224/29355Nickel [Ni] as principal constituent
    • HELECTRICITY
    • H01ELECTRIC ELEMENTS
    • H01LSEMICONDUCTOR DEVICES NOT COVERED BY CLASS H10
    • H01L2224/00Indexing scheme for arrangements for connecting or disconnecting semiconductor or solid-state bodies and methods related thereto as covered by H01L24/00
    • H01L2224/01Means for bonding being attached to, or being formed on, the surface to be connected, e.g. chip-to-package, die-attach, "first-level" interconnects; Manufacturing methods related thereto
    • H01L2224/26Layer connectors, e.g. plate connectors, solder or adhesive layers; Manufacturing methods related thereto
    • H01L2224/28Structure, shape, material or disposition of the layer connectors prior to the connecting process
    • H01L2224/29Structure, shape, material or disposition of the layer connectors prior to the connecting process of an individual layer connector
    • H01L2224/29001Core members of the layer connector
    • H01L2224/29099Material
    • H01L2224/29198Material with a principal constituent of the material being a combination of two or more materials in the form of a matrix with a filler, i.e. being a hybrid material, e.g. segmented structures, foams
    • H01L2224/29298Fillers
    • H01L2224/29299Base material
    • H01L2224/293Base material with a principal constituent of the material being a metal or a metalloid, e.g. boron [B], silicon [Si], germanium [Ge], arsenic [As], antimony [Sb], tellurium [Te] and polonium [Po], and alloys thereof
    • H01L2224/29363Base material with a principal constituent of the material being a metal or a metalloid, e.g. boron [B], silicon [Si], germanium [Ge], arsenic [As], antimony [Sb], tellurium [Te] and polonium [Po], and alloys thereof the principal constituent melting at a temperature of greater than 1550°C
    • H01L2224/29364Palladium [Pd] as principal constituent
    • HELECTRICITY
    • H01ELECTRIC ELEMENTS
    • H01LSEMICONDUCTOR DEVICES NOT COVERED BY CLASS H10
    • H01L2224/00Indexing scheme for arrangements for connecting or disconnecting semiconductor or solid-state bodies and methods related thereto as covered by H01L24/00
    • H01L2224/01Means for bonding being attached to, or being formed on, the surface to be connected, e.g. chip-to-package, die-attach, "first-level" interconnects; Manufacturing methods related thereto
    • H01L2224/26Layer connectors, e.g. plate connectors, solder or adhesive layers; Manufacturing methods related thereto
    • H01L2224/28Structure, shape, material or disposition of the layer connectors prior to the connecting process
    • H01L2224/29Structure, shape, material or disposition of the layer connectors prior to the connecting process of an individual layer connector
    • H01L2224/29001Core members of the layer connector
    • H01L2224/29099Material
    • H01L2224/29198Material with a principal constituent of the material being a combination of two or more materials in the form of a matrix with a filler, i.e. being a hybrid material, e.g. segmented structures, foams
    • H01L2224/29298Fillers
    • H01L2224/29299Base material
    • H01L2224/293Base material with a principal constituent of the material being a metal or a metalloid, e.g. boron [B], silicon [Si], germanium [Ge], arsenic [As], antimony [Sb], tellurium [Te] and polonium [Po], and alloys thereof
    • H01L2224/29363Base material with a principal constituent of the material being a metal or a metalloid, e.g. boron [B], silicon [Si], germanium [Ge], arsenic [As], antimony [Sb], tellurium [Te] and polonium [Po], and alloys thereof the principal constituent melting at a temperature of greater than 1550°C
    • H01L2224/29369Platinum [Pt] as principal constituent
    • HELECTRICITY
    • H01ELECTRIC ELEMENTS
    • H01LSEMICONDUCTOR DEVICES NOT COVERED BY CLASS H10
    • H01L2224/00Indexing scheme for arrangements for connecting or disconnecting semiconductor or solid-state bodies and methods related thereto as covered by H01L24/00
    • H01L2224/74Apparatus for manufacturing arrangements for connecting or disconnecting semiconductor or solid-state bodies and for methods related thereto
    • H01L2224/75Apparatus for connecting with bump connectors or layer connectors
    • HELECTRICITY
    • H01ELECTRIC ELEMENTS
    • H01LSEMICONDUCTOR DEVICES NOT COVERED BY CLASS H10
    • H01L2224/00Indexing scheme for arrangements for connecting or disconnecting semiconductor or solid-state bodies and methods related thereto as covered by H01L24/00
    • H01L2224/74Apparatus for manufacturing arrangements for connecting or disconnecting semiconductor or solid-state bodies and for methods related thereto
    • H01L2224/75Apparatus for connecting with bump connectors or layer connectors
    • H01L2224/757Means for aligning
    • H01L2224/75743Suction holding means
    • HELECTRICITY
    • H01ELECTRIC ELEMENTS
    • H01LSEMICONDUCTOR DEVICES NOT COVERED BY CLASS H10
    • H01L2224/00Indexing scheme for arrangements for connecting or disconnecting semiconductor or solid-state bodies and methods related thereto as covered by H01L24/00
    • H01L2224/74Apparatus for manufacturing arrangements for connecting or disconnecting semiconductor or solid-state bodies and for methods related thereto
    • H01L2224/75Apparatus for connecting with bump connectors or layer connectors
    • H01L2224/758Means for moving parts
    • H01L2224/75801Lower part of the bonding apparatus, e.g. XY table
    • HELECTRICITY
    • H01ELECTRIC ELEMENTS
    • H01LSEMICONDUCTOR DEVICES NOT COVERED BY CLASS H10
    • H01L2224/00Indexing scheme for arrangements for connecting or disconnecting semiconductor or solid-state bodies and methods related thereto as covered by H01L24/00
    • H01L2224/80Methods for connecting semiconductor or other solid state bodies using means for bonding being attached to, or being formed on, the surface to be connected
    • H01L2224/81Methods for connecting semiconductor or other solid state bodies using means for bonding being attached to, or being formed on, the surface to be connected using a bump connector
    • H01L2224/8112Aligning
    • H01L2224/81121Active alignment, i.e. by apparatus steering, e.g. optical alignment using marks or sensors
    • HELECTRICITY
    • H01ELECTRIC ELEMENTS
    • H01LSEMICONDUCTOR DEVICES NOT COVERED BY CLASS H10
    • H01L2224/00Indexing scheme for arrangements for connecting or disconnecting semiconductor or solid-state bodies and methods related thereto as covered by H01L24/00
    • H01L2224/80Methods for connecting semiconductor or other solid state bodies using means for bonding being attached to, or being formed on, the surface to be connected
    • H01L2224/81Methods for connecting semiconductor or other solid state bodies using means for bonding being attached to, or being formed on, the surface to be connected using a bump connector
    • H01L2224/8119Arrangement of the bump connectors prior to mounting
    • H01L2224/81193Arrangement of the bump connectors prior to mounting wherein the bump connectors are disposed on both the semiconductor or solid-state body and another item or body to be connected to the semiconductor or solid-state body
    • HELECTRICITY
    • H01ELECTRIC ELEMENTS
    • H01LSEMICONDUCTOR DEVICES NOT COVERED BY CLASS H10
    • H01L2224/00Indexing scheme for arrangements for connecting or disconnecting semiconductor or solid-state bodies and methods related thereto as covered by H01L24/00
    • H01L2224/80Methods for connecting semiconductor or other solid state bodies using means for bonding being attached to, or being formed on, the surface to be connected
    • H01L2224/81Methods for connecting semiconductor or other solid state bodies using means for bonding being attached to, or being formed on, the surface to be connected using a bump connector
    • H01L2224/818Bonding techniques
    • H01L2224/81801Soldering or alloying
    • HELECTRICITY
    • H01ELECTRIC ELEMENTS
    • H01LSEMICONDUCTOR DEVICES NOT COVERED BY CLASS H10
    • H01L2224/00Indexing scheme for arrangements for connecting or disconnecting semiconductor or solid-state bodies and methods related thereto as covered by H01L24/00
    • H01L2224/80Methods for connecting semiconductor or other solid state bodies using means for bonding being attached to, or being formed on, the surface to be connected
    • H01L2224/83Methods for connecting semiconductor or other solid state bodies using means for bonding being attached to, or being formed on, the surface to be connected using a layer connector
    • H01L2224/838Bonding techniques
    • H01L2224/8384Sintering
    • HELECTRICITY
    • H01ELECTRIC ELEMENTS
    • H01LSEMICONDUCTOR DEVICES NOT COVERED BY CLASS H10
    • H01L2225/00Details relating to assemblies covered by the group H01L25/00 but not provided for in its subgroups
    • H01L2225/03All the devices being of a type provided for in the same main group of the same subclass of class H10, e.g. assemblies of rectifier diodes
    • H01L2225/04All the devices being of a type provided for in the same main group of the same subclass of class H10, e.g. assemblies of rectifier diodes the devices not having separate containers
    • H01L2225/065All the devices being of a type provided for in the same main group of the same subclass of class H10
    • H01L2225/06503Stacked arrangements of devices
    • H01L2225/06513Bump or bump-like direct electrical connections between devices, e.g. flip-chip connection, solder bumps
    • HELECTRICITY
    • H01ELECTRIC ELEMENTS
    • H01LSEMICONDUCTOR DEVICES NOT COVERED BY CLASS H10
    • H01L24/00Arrangements for connecting or disconnecting semiconductor or solid-state bodies; Methods or apparatus related thereto
    • H01L24/01Means for bonding being attached to, or being formed on, the surface to be connected, e.g. chip-to-package, die-attach, "first-level" interconnects; Manufacturing methods related thereto
    • H01L24/10Bump connectors ; Manufacturing methods related thereto
    • H01L24/12Structure, shape, material or disposition of the bump connectors prior to the connecting process
    • H01L24/13Structure, shape, material or disposition of the bump connectors prior to the connecting process of an individual bump connector
    • HELECTRICITY
    • H01ELECTRIC ELEMENTS
    • H01LSEMICONDUCTOR DEVICES NOT COVERED BY CLASS H10
    • H01L2924/00Indexing scheme for arrangements or methods for connecting or disconnecting semiconductor or solid-state bodies as covered by H01L24/00
    • H01L2924/0001Technical content checked by a classifier
    • H01L2924/00014Technical content checked by a classifier the subject-matter covered by the group, the symbol of which is combined with the symbol of this group, being disclosed without further technical details
    • HELECTRICITY
    • H01ELECTRIC ELEMENTS
    • H01LSEMICONDUCTOR DEVICES NOT COVERED BY CLASS H10
    • H01L2924/00Indexing scheme for arrangements or methods for connecting or disconnecting semiconductor or solid-state bodies as covered by H01L24/00
    • H01L2924/01Chemical elements
    • H01L2924/01004Beryllium [Be]
    • HELECTRICITY
    • H01ELECTRIC ELEMENTS
    • H01LSEMICONDUCTOR DEVICES NOT COVERED BY CLASS H10
    • H01L2924/00Indexing scheme for arrangements or methods for connecting or disconnecting semiconductor or solid-state bodies as covered by H01L24/00
    • H01L2924/01Chemical elements
    • H01L2924/01005Boron [B]
    • HELECTRICITY
    • H01ELECTRIC ELEMENTS
    • H01LSEMICONDUCTOR DEVICES NOT COVERED BY CLASS H10
    • H01L2924/00Indexing scheme for arrangements or methods for connecting or disconnecting semiconductor or solid-state bodies as covered by H01L24/00
    • H01L2924/01Chemical elements
    • H01L2924/01006Carbon [C]
    • HELECTRICITY
    • H01ELECTRIC ELEMENTS
    • H01LSEMICONDUCTOR DEVICES NOT COVERED BY CLASS H10
    • H01L2924/00Indexing scheme for arrangements or methods for connecting or disconnecting semiconductor or solid-state bodies as covered by H01L24/00
    • H01L2924/01Chemical elements
    • H01L2924/01013Aluminum [Al]
    • HELECTRICITY
    • H01ELECTRIC ELEMENTS
    • H01LSEMICONDUCTOR DEVICES NOT COVERED BY CLASS H10
    • H01L2924/00Indexing scheme for arrangements or methods for connecting or disconnecting semiconductor or solid-state bodies as covered by H01L24/00
    • H01L2924/01Chemical elements
    • H01L2924/01029Copper [Cu]
    • HELECTRICITY
    • H01ELECTRIC ELEMENTS
    • H01LSEMICONDUCTOR DEVICES NOT COVERED BY CLASS H10
    • H01L2924/00Indexing scheme for arrangements or methods for connecting or disconnecting semiconductor or solid-state bodies as covered by H01L24/00
    • H01L2924/01Chemical elements
    • H01L2924/01033Arsenic [As]
    • HELECTRICITY
    • H01ELECTRIC ELEMENTS
    • H01LSEMICONDUCTOR DEVICES NOT COVERED BY CLASS H10
    • H01L2924/00Indexing scheme for arrangements or methods for connecting or disconnecting semiconductor or solid-state bodies as covered by H01L24/00
    • H01L2924/01Chemical elements
    • H01L2924/01046Palladium [Pd]
    • HELECTRICITY
    • H01ELECTRIC ELEMENTS
    • H01LSEMICONDUCTOR DEVICES NOT COVERED BY CLASS H10
    • H01L2924/00Indexing scheme for arrangements or methods for connecting or disconnecting semiconductor or solid-state bodies as covered by H01L24/00
    • H01L2924/01Chemical elements
    • H01L2924/01047Silver [Ag]
    • HELECTRICITY
    • H01ELECTRIC ELEMENTS
    • H01LSEMICONDUCTOR DEVICES NOT COVERED BY CLASS H10
    • H01L2924/00Indexing scheme for arrangements or methods for connecting or disconnecting semiconductor or solid-state bodies as covered by H01L24/00
    • H01L2924/01Chemical elements
    • H01L2924/01078Platinum [Pt]
    • HELECTRICITY
    • H01ELECTRIC ELEMENTS
    • H01LSEMICONDUCTOR DEVICES NOT COVERED BY CLASS H10
    • H01L2924/00Indexing scheme for arrangements or methods for connecting or disconnecting semiconductor or solid-state bodies as covered by H01L24/00
    • H01L2924/01Chemical elements
    • H01L2924/01079Gold [Au]
    • HELECTRICITY
    • H01ELECTRIC ELEMENTS
    • H01LSEMICONDUCTOR DEVICES NOT COVERED BY CLASS H10
    • H01L2924/00Indexing scheme for arrangements or methods for connecting or disconnecting semiconductor or solid-state bodies as covered by H01L24/00
    • H01L2924/01Chemical elements
    • H01L2924/01082Lead [Pb]
    • HELECTRICITY
    • H05ELECTRIC TECHNIQUES NOT OTHERWISE PROVIDED FOR
    • H05KPRINTED CIRCUITS; CASINGS OR CONSTRUCTIONAL DETAILS OF ELECTRIC APPARATUS; MANUFACTURE OF ASSEMBLAGES OF ELECTRICAL COMPONENTS
    • H05K2201/00Indexing scheme relating to printed circuits covered by H05K1/00
    • H05K2201/03Conductive materials
    • H05K2201/0332Structure of the conductor
    • H05K2201/0364Conductor shape
    • H05K2201/0367Metallic bump or raised conductor not used as solder bump
    • HELECTRICITY
    • H05ELECTRIC TECHNIQUES NOT OTHERWISE PROVIDED FOR
    • H05KPRINTED CIRCUITS; CASINGS OR CONSTRUCTIONAL DETAILS OF ELECTRIC APPARATUS; MANUFACTURE OF ASSEMBLAGES OF ELECTRICAL COMPONENTS
    • H05K3/00Apparatus or processes for manufacturing printed circuits
    • H05K3/10Apparatus or processes for manufacturing printed circuits in which conductive material is applied to the insulating support in such a manner as to form the desired conductive pattern
    • H05K3/12Apparatus or processes for manufacturing printed circuits in which conductive material is applied to the insulating support in such a manner as to form the desired conductive pattern using thick film techniques, e.g. printing techniques to apply the conductive material or similar techniques for applying conductive paste or ink patterns
    • H05K3/1241Apparatus or processes for manufacturing printed circuits in which conductive material is applied to the insulating support in such a manner as to form the desired conductive pattern using thick film techniques, e.g. printing techniques to apply the conductive material or similar techniques for applying conductive paste or ink patterns by ink-jet printing or drawing by dispensing
    • H05K3/125Apparatus or processes for manufacturing printed circuits in which conductive material is applied to the insulating support in such a manner as to form the desired conductive pattern using thick film techniques, e.g. printing techniques to apply the conductive material or similar techniques for applying conductive paste or ink patterns by ink-jet printing or drawing by dispensing by ink-jet printing
    • HELECTRICITY
    • H05ELECTRIC TECHNIQUES NOT OTHERWISE PROVIDED FOR
    • H05KPRINTED CIRCUITS; CASINGS OR CONSTRUCTIONAL DETAILS OF ELECTRIC APPARATUS; MANUFACTURE OF ASSEMBLAGES OF ELECTRICAL COMPONENTS
    • H05K3/00Apparatus or processes for manufacturing printed circuits
    • H05K3/30Assembling printed circuits with electric components, e.g. with resistor
    • H05K3/32Assembling printed circuits with electric components, e.g. with resistor electrically connecting electric components or wires to printed circuits
    • H05K3/34Assembling printed circuits with electric components, e.g. with resistor electrically connecting electric components or wires to printed circuits by soldering
    • H05K3/341Surface mounted components
    • H05K3/3431Leadless components
    • H05K3/3436Leadless components having an array of bottom contacts, e.g. pad grid array or ball grid array components

Landscapes

  • Engineering & Computer Science (AREA)
  • Microelectronics & Electronic Packaging (AREA)
  • Manufacturing & Machinery (AREA)
  • Mechanical Engineering (AREA)
  • Computer Hardware Design (AREA)
  • Power Engineering (AREA)
  • Physics & Mathematics (AREA)
  • Condensed Matter Physics & Semiconductors (AREA)
  • General Physics & Mathematics (AREA)
  • Wire Bonding (AREA)

Abstract

【課題】金属ナノインクを用いて形成したバンプ同士を重ね合わせる際のバンプの潰れを抑制する。
【解決手段】コレット13に吸着されている半導体ダイ21のバンプ23が形成された側の面24と基板31のバンプ33が形成された側の面34とのコレット13の降下方向に沿った距離を取得する距離取得手段と、距離取得手段によって取得した距離に応じてコレット13に吸着されている半導体ダイ21のバンプ23先端が基板31のバンプ33先端の直上に来るまでコレット13を基板31に向かって降下させた後、コレット13の半導体ダイ21の吸着を開放して半導体ダイ21のバンプ23を基板31のバンプ33に重ね合わせる。
【選択図】図9

Description

本発明は、金属ナノインクを用いてバンプが形成された半導体ダイを基板および/または他の半導体ダイに重ね合わせるダイマウント装置およびダイマウント方法に関する。
半導体ダイなどの電子部品の電極と回路基板上の回路パターンの電極との接合には、半導体ダイなどの電子部品の電極面上に金バンプを形成し、半導体ダイを反転させて半導体ダイの金バンプを回路基板の電極に形成された金バンプに向けて押し付けて接合するフリップチップボンディング方法が用いられている。
フリップチップボンディングでは、半導体ダイに設けられている複数の電極と基板の複数の電極それぞれに金バンプを形成し、この複数の金バンプ同士を同時に押し付けて接合するので、各金バンプの高さがある一定範囲に入っていることが必要となってくる。金バンプの高さにばらつきがあると、高さの高い金バンプの部分は先に潰れて接合されるが、低い金バンプの部分は更に半導体ダイに押圧荷重を掛けて、既に接合されている金バンプを潰しながら接合することが必要で、全ての金バンプを適正に接合しようとすると半導体ダイに大きな押圧力をかけることが必要となってくる。しかし、近年の半導体ダイの薄型化によって、フリップチップボンディングの際の押圧力によって半導体ダイが損傷を受ける場合がある。また、接合しようとする半導体ダイが大きくなると、同時に接合するバンプの数が多くなることから、バンプの高さのみでなく半導体ダイと基板とを平行に保つことが必要となってくる。
特許文献1には半導体ダイを基板に実装する際に、半導体ダイと基板との間に距離センサを進出させて距離を3箇所以上で測定し、この測定結果に基づいて半導体ダイと基板との平行度を調整した後、半導体ダイを基板に実装する方法が提案されている。
また、電極上に形成した金バンプ同士を押し付けて接合する方法は、半導体ダイに掛かる荷重が大きくなることから、金バンプを用いずに各電極を接合する方法として金属の超微粒子を含む金属ペーストを用いる色々な方法が提案されている。
特許文献2には、回路基板の端子電極上に銀の超微粉末を溶剤に分散させて調製した銀微粒子ペーストのボールを形成し、半導体素子の電極を回路基板の端子電極上に形成したボール上にフェースダウン法で接合した後に、銀微粒子ペースト中のトルエン等の溶剤を蒸発させた後、100から250℃の温度で焼成して半導体素子と回路基板とを電気的に接合する方法が提案されている。この方法の場合、焼成温度を200から250℃とした際には熱風炉にて30分間の焼成を行うことによって電気的接合を行うことが提案されている。
特許文献3には、半導体ダイの電極の上に金バンプを形成し、この金バンプの先端に導電性ペーストを転写して、導電性ペーストを介して金バンプと基板とを接続する方法が提案されている。この場合、金バンプの先端に一様に導電性ペーストを塗布するために、半導体チップの高さ方向位置と、受け皿に収容されている導電性ペーストの液面とを変位計によって計測し、半導体ダイのバンプに導電性ペーストを転写するのに必要な量だけ半導体ダイを降下させて半導体ダイのバンプを導電性接合材に浸漬される方法が提案されている。
特開平5−326633号公報 特開平9−326416号公報 特開平10−150075号公報
ところで、金属微粒子を混合させた金属ナノペーストまたは金属ナノインクを用いて半導体ダイまたは基板の電極の上にバンプを形成し、半導体ダイを反転させて基板の電極に形成したバンプの上に半導体ダイの電極の上に形成したバンプを重ね合わせた後、焼結して各電極間を接続する方法がある。このような場合、電極の上に形成された金属ナノインクを用いたバンプは固相ではなく、液相状態の場合が多い。このような液相状態のバンプ同士を重ね合わせる場合に、半導体ダイを基板に対して押し付けてしまうと液相状態のバンプが潰れてしまい、焼結後に適切な接合金属高さが形成できなかったり、つぶれた金属ナノインクが横に流出して隣接する電極間を接続してしまったりすることによる接合不良が発生するという問題があった。
本発明は、金属ナノインクを用いて形成したバンプ同士を重ね合わせる際のバンプの潰れを抑制することを目的とする。
本発明のダイマウント装置は、金属ナノ粒子を有機溶剤中に混合させた金属ナノインクを用いて電極上にバンプが形成された半導体ダイを、金属ナノインクを用いて電極上にバンプが形成された基板および/または金属ナノインクを用いて電極上にバンプが形成された他の半導体ダイの上にフェースダウンして半導体ダイを基板および/または他の半導体ダイに重ね合わせるダイマウント装置であって、半導体ダイを吸着して基板および/または他の半導体ダイに向かって降下するコレットと、コレットの降下を制御する制御部とを含み、制御部は、コレットに吸着されている半導体ダイの表面と基板表面および/または他の半導体ダイの表面とのコレットの降下方向に沿った距離を取得する距離取得手段と、距離取得手段によって取得した距離に応じてコレットに吸着されている半導体ダイのバンプ先端が基板および/または他の半導体ダイのバンプ先端の直上に来るまでコレットを基板および/または他の半導体ダイに向かって降下させた後、コレットの半導体ダイの吸着を開放して半導体ダイのバンプを基板および/または他の半導体ダイのバンプに重ね合わせる重ね合わせ手段と、を有することを特徴とする。
本発明のダイマウント装置において、重ね合わせ手段は、距離取得手段によって取得したコレットに吸着されている半導体ダイの表面と基板表面および/または他の半導体ダイの表面との距離からコレットに吸着されている半導体ダイの表面からのバンプ高さと基板および/または他の半導体ダイの表面からのバンプの高さとを差し引いた距離だけコレットを降下させること、としても好適であるし、距離取得手段は、コレットに吸着されている半導体ダイの表面と基板表面および/または他の半導体ダイの表面とのコレットの降下方向に沿った距離を複数取得し、重ね合わせ手段は、距離取得手段によって取得したコレットに吸着されている半導体ダイの表面と基板表面および/または他の半導体ダイの表面との複数の距離の内の最も小さい距離からコレットに吸着されている半導体ダイの表面からのバンプ高さと基板および/または他の半導体ダイの表面からのバンプの高さとを差し引いた距離だけコレットを降下させること、としても好適である。
本発明のダイマウント装置において、制御部は、コレットに吸着されている半導体ダイの表面の距離測定を行う位置と基板表面および/または他の半導体ダイの表面の距離測定を行う位置とを検出する距離測定位置検出手段を備え、距離取得手段は、コレットに吸着されている半導体ダイの表面と基板表面および/または他の半導体ダイの表面とのコレットの降下方向に沿った距離をそれぞれ少なくとも3つ取得し、重ね合わせ手段は、検出した距離測定位置と、コレットに吸着されている半導体ダイの表面と基板表面および/または他の半導体ダイの表面とのコレットの降下方向に沿った各距離測定位置での距離と、によってコレットに吸着されている半導体ダイの表面と基板表面および/または他の半導体ダイの表面との間の最小面間距離を算出し、最小面間距離からコレットに吸着されている半導体ダイの表面からのバンプ高さと基板および/または他の半導体ダイの表面からのバンプの高さとを差し引いた距離だけコレットを降下させること、としても好適である。
本発明のダイマウント装置において、基板および/または他の半導体ダイのバンプ側に配置された第1の距離センサと、コレットに吸着された半導体ダイのバンプ側に配置された第2の距離センサと、第1の距離センサと第2の距離センサとの間に配置され、基板表面および/または他の半導体ダイの表面に沿った方向に伸びるリファレンス部材と、を含み、制御部の距離取得手段は、リファレンス部材の第1の距離センサ側の面と第1の距離センサとの間のコレット降下方向に沿った第1の距離と、基板のバンプ側表面および/または他の半導体ダイのバンプ側表面と第1の距離センサとの間のコレット降下方向に沿った第2の距離とを第1の距離センサによって取得し、第1の距離と第2の距離の差として第1の距離差を検出し、リファレンス部材の第2の距離センサ側の面と第2の距離センサとの間のコレット降下方向に沿った第3の距離と、コレットに吸着された半導体ダイのバンプ側の表面と第2の距離センサとの間のコレット降下方向に沿った第4の距離とを第2の距離センサによって取得し、第3の距離と第4の距離との差として第2の距離差を検出し、第1の距離差と第2の距離差の和からリファレンス部材のコレット降下方向に沿った厚さを差し引いてコレットに吸着されている半導体ダイの表面と基板表面および/または他の半導体ダイの表面との間のコレット降下方向に沿った距離を取得すること、としても好適である。
本発明のダイマウント方法は、金属ナノ粒子を有機溶剤中に混合させた金属ナノインクを用いて電極上にバンプが形成された半導体ダイを、金属ナノインクを用いて電極上にバンプが形成された基板および/または金属ナノインクを用いて電極上にバンプが形成された他の半導体ダイの上にフェースダウンして半導体ダイを基板および/または他の半導体ダイに重ね合わせるダイマウント方法であって、基板および/または他の半導体ダイに向かって降下するコレットに吸着されている半導体ダイの表面と基板表面および/または他の半導体ダイの表面とのコレットの降下方向に沿った距離を取得する距離取得工程と、距離取得工程によって取得した距離に応じてコレットに吸着されている半導体ダイのバンプ先端が基板および/または他の半導体ダイのバンプ先端の直上に来るまでコレットを基板および/または他の半導体ダイに向かって降下させた後、コレットの半導体ダイの吸着を開放して半導体ダイのバンプを基板および/または他の半導体ダイのバンプに重ね合わせる重ね合わせ工程と、を有することを特徴とする。
本発明のダイマウント方法において、重ね合わせ工程は、距離取得工程によって取得したコレットに吸着されている半導体ダイの表面と基板表面および/または他の半導体ダイの表面との距離からコレットに吸着されている半導体ダイのバンプ高さと基板および/または他の半導体ダイのバンプの高さとを差し引いた距離だけコレットを降下させること、としても好適であるし、距離取得工程は、コレットに吸着されている半導体ダイの表面と基板表面および/または他の半導体ダイの表面とのコレットの降下方向に沿った距離を複数取得し、重ね合わせ工程は、距離取得工程によって取得したコレットに吸着されている半導体ダイの表面と基板表面および/または他の半導体ダイの表面との複数の距離の内の最も小さい距離からコレットに吸着されている半導体ダイの表面からのバンプ高さと基板および/または各半導体ダイの表面からのバンプの高さとを差し引いた距離だけコレットを降下させること、としても好適である。
本発明のダイマウント方法において、コレットに吸着されている半導体ダイの表面の距離測定を行う位置と基板表面および/または他の半導体ダイの表面の距離測定を行う位置とを検出する距離測定位置検出工程を有し、距離取得工程は、コレットに吸着されている半導体ダイの表面と基板表面および/または他の半導体ダイの表面とのコレットの降下方向に沿った距離をそれぞれ少なくとも3つ取得し、重ね合わせ工程は、検出した距離測定位置と、コレットに吸着されている半導体ダイの表面と基板表面および/または他の半導体ダイの表面とのコレットの降下方向に沿った各距離測定位置での距離と、によってコレットに吸着されている半導体ダイの表面と基板表面および/または他の半導体ダイの表面との間の最小面間距離を算出し、最小面間距離からコレットに吸着されている半導体ダイの表面からのバンプ高さと基板および/または他の半導体ダイの表面からのバンプの高さとを差し引いた距離だけコレットを降下させること、としても好適である。
本発明のダイマウント方法において、距離取得工程は、基板および/または他の半導体ダイのバンプ側に配置された第1の距離センサとコレットに吸着された半導体ダイのバンプ側に配置された第2の距離センサとの間に配置され、基板表面および/または各半導体ダイの表面に沿った方向に伸びるリファレンス部材の第1の距離センサ側の面と第1の距離センサとの間のコレット降下方向に沿った第1の距離と、基板のバンプ側表面および/または他の半導体ダイのバンプ側表面と第1の距離センサとの間のコレット降下方向に沿った第2の距離とを第1の距離センサによって取得し、第1の距離と第2の距離の差として第1の距離差を検出し、リファレンス部材の第2の距離センサ側の面と第2の距離センサとの間のコレット降下方向に沿った第3の距離と、コレットに吸着された半導体ダイのバンプ側の表面と第2の距離センサとの間のコレット降下方向に沿った第4の距離とを第2の距離センサによって取得し、第3の距離と第4の距離との差として第2の距離差を検出し、第1の距離差と第2の距離差の和からリファレンス部材のコレット降下方向に沿った厚さを差し引いてコレットに吸着されている半導体ダイの表面と基板表面および/または他の半導体ダイの表面との間のコレット降下方向に沿った距離を取得すること、としても好適である。
本発明は、金属ナノインクを用いて形成したバンプ同士を重ね合わせる際のバンプの潰れを抑制することができるという効果を奏する。
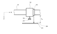
以下、本発明の好適な実施形態について図面を参照しながら説明する。図1に示すように、本実施形態のダイマウント装置10は、X方向に水平に伸びるヘッドガイド11と、ヘッドガイド11に滑動自在に取り付けられたマウンティングヘッド12と、マウンティングヘッド12に取り付けられ、半導体ダイ21を吸着するコレット13と、ヘッドガイド11と直交するY方向に向かって水平に伸びたトレイガイド15と、トレイガイド15に滑動自在に取り付けられ、半導体ダイ21を保持するトレイ16と、トレイ16の側面に取り付けられ、X方向に水平に伸びたリファレンス部材17と、ヘッドガイド11と直交するY方向に向かって水平に伸びるガイドレール18と、ガイドレール18の間に設けられ、そのマウンティングヘッド12側の面に基板31を吸着固定するマウンティングステージ19と、マウンティングヘッド12に取り付けられた第1の距離センサである上部距離センサ14と、上部距離センサ14とリファレンス部材17を挟んで反対側に取り付けられた第2の距離センサである下部距離センサ20と、コレット13の降下を制御する制御部70とを備えている。下部距離センサ20はダイマウント装置10の図示しないベースに取り付けられている。図1において、上下方向はZ方向である。
マウンティングヘッド12は、ヘッドガイド11にガイドされ、コレット13がトレイ16に保持された半導体ダイ21を吸着してピックアップするピックアップ位置と、ピックアップした半導体ダイ21を基板31に重ね合わせる重ね合わせ位置との間を移動することができるよう構成されている。コレット13は、マウンティングヘッド12の内部に取り付けられた駆動機構によってマウンティングステージ19の表面に吸着された基板31に対して接離する方向であるZ方向に降下できるよう構成されている。マウンティングステージ19に吸着された基板31と、リファレンス部材17とは同一の方向である水平方向、或いはXY方向に伸びている。トレイガイド15はトレイ16をトレイガイド15に沿った方向に搬送する搬送機構を備えている。上部、下部の各距離センサ14,20は光学式の距離センサである。また、リファレンス部材17は厚さが一定の平板である。
マウンティングヘッド12と、上部距離センサ14と、下部距離センサ20と、トレイガイド15と、マウンティングステージ19とは制御部70に接続され、制御部70の指令によって駆動されるよう構成されている。制御部70は、内部のCPUとメモリを備えるコンピュータである。
以上のように構成されたダイマウント装置10によって半導体ダイ21を基板31の上に重ね合わせる動作について説明する。ダイマウント装置10の動作について説明する前に、半導体ダイ21、基板31の電極上への金属ナノインクによるバンプの形成について説明する。
図2(a)に示すように、半導体ダイ21の電極22上へのバンプ23の形成は、ダイマウント装置10とは別途に設けられたバンプ形成機構において、金属ナノインクの微液滴41を射出へッド40から電極22に向かって射出することによって行う。金属ナノインクは、その表面に金属ナノ粒子が分散状態を保持することができる分散剤をコーティングした被覆金属ナノ粒子を有機溶剤の中に分散させたものである。金属ナノ粒子を構成する微細化した導電性金属としては、金、銀、銅、白金、パラジウム、ニッケル、アルミニウムなどを用いることができる。
図2(b)に示すように射出へッド40から最初に電極22に射出された金属ナノインクの微液滴41は、電極22の上に薄い膜状に広がる。次の金属ナノインクの微液滴41は、電極22の上に広がった金属ナノインクの膜の上に付着するので、電極22の表面に直接付着する最初の微液滴よりもその広がりが少なく、電極22の表面に若干盛り上がりを形成する。その次の金属ナノインクの微液滴41は先の2つの微液滴41よりも更に広がりが少なくなり、次第に盛り上がりが大きくなってくる。このように、金属ナノインクの微液滴41を電極22の上に順次射出していくと、次第に盛り上がりが大きくなり、何回かの射出によって、図2(b)に示すように、上に行くほど傾斜の大きく先細りの円錐形のバンプ23が形成される。バンプ23の電極22表面からの高さはH1である。図2(b)に示すように、基板31の電極32の上にバンプ33を形成する場合も同様である。
図3(a)に示すように、バンプ23の形成された半導体ダイ21は、バンプ23が形成された側の面24が下側となるように反転されてトレイ16の保持部16aに置かれる。保持部16aは、半導体ダイ21のバンプ23が接触しないようトレイ16の底面に開けられた孔で、孔の周縁にバンプ23が形成された側の面24の周囲を支持する段部が設けられ、コレット13側はコレット13が半導体ダイ21の吸着側面25を吸着しやすいよう上に向かってテーパー状に広がっている。半導体ダイ21が保持部16aに保持されたトレイ16はダイマウント装置10にセットされる。また、バンプ33の形成が終了した基板31もダイマウント装置10にセットされる。
トレイ16と基板31とがそれぞれ所定の位置にセットされたら、制御部70はダイマウント装置10を始動する。ダイマウント装置10の制御部70は、トレイガイド15によってトレイ16を所定の位置まで搬送する指令を出力する。図1に示すように、この指令によってトレイガイド15は搬送機構を始動させ、トレイ16に設けられたリファレンス部材17が下部距離センサ20の上に位置する所定の位置までトレイ16を搬送する。また、制御部70は基板31を送り出す指令を図示しない基板31の送り装置に出力する。この指令によって送り出し装置は基板31をマウンティングステージ19の上まで送り出す。そして、基板31がマウンティングステージ19の上まで搬送されたら制御部70はマウンティングステージ19の内部を真空にする指令を出力する。図3(b)に示すようにこの指令によってマウンティングステージ19の内部が真空にされ、基板31はバンプ33が上向きとなるようにマウンティングステージ19の表面に吸着される。
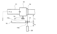
図4に示すように、制御部70は、コレット13に半導体ダイ21を吸着する指令を出力する。この指令によって、マウンティングヘッド12の駆動機構が始動し、コレット13を半導体ダイ21に向かって降下させる。そして、コレット13が半導体ダイ21に接したら、コレット13の表面に設けられた吸着孔を真空としてコレット13に半導体ダイ21が吸着される。
図5に示すように、コレット13が半導体ダイ21を吸着したら、制御部70は、マウンティングヘッド12をリファレンス部材17の上に上部距離センサ14が来る第1ポジションに移動させる指令を出力する。この指令によってマウンティングヘッド12の駆動機構が始動し、マウンティングヘッド12をヘッドガイド11に沿ってX方向に移動させ、マウンティングヘッド12が第1ポジションまで移動したら、マウンティングヘッド12のX方向の移動を停止する。そして、制御部70は、上部距離センサ14とリファレンス部材17の上部距離センサ14側の上面17aとの間のZ方向の距離L1を上部距離センサ14から取得し、メモリに格納する。また、制御部70は、下部距離センサ20とリファレンス部材17の下部距離センサ20側の下面17bとの間のZ方向の距離L3を下部距離センサ20から取得し、メモリに格納する。
図6に示すように、制御部70は、マウンティングヘッド12をコレット13が吸着している半導体ダイ21のバンプ23が形成された側の面24が下部距離センサ20の上に来る第2ポジションに移動させる指令を出力する。この指令によってマウンティングヘッド12の駆動機構が始動し、マウンティングヘッド12をヘッドガイド11に沿ってX方向に移動させ、マウンティングヘッド12が第2ポジションまで移動したら、マウンティングヘッド12のX方向の移動を停止する。また、制御部70は、トレイ16に取り付けられているリファレンス部材17が下部距離センサ20の上面から外れる退避位置までトレイ16を移動させる指令を出力する。この指令によってトレイガイド15の搬送機構が始動し、トレイ16を退避位置まで移動させる。退避位置ではトレイ16に取り付けられているリファレンス部材17は下部距離センサ20の距離測定経路に無いので、下部距離センサ20はリファレンス部材17の上面17a側にある半導体ダイ21のバンプ23が形成された側の面24とのZ方向の距離を測定することができるようになる。マウンティングヘッド12が第2ポジションに移動し、トレイ16が退避位置に移動すると、制御部70は、下部距離センサ20とコレット13に吸着された半導体ダイ21のバンプ23が形成された側の面24との間のZ方向の距離L4を下部距離センサ20から取得し、メモリに格納する。
図7に示すように、制御部70は、マウンティングヘッド12を基板31の上に上部距離センサ14が来る第3ポジションに移動させる指令を出力する。この指令によってマウンティングヘッド12の駆動機構が始動し、マウンティングヘッド12をヘッドガイド11に沿ってX方向に移動させ、マウンティングヘッド12が第3ポジションまで移動したら、マウンティングヘッド12のX方向の移動を停止する。そして、制御部70は、上部距離センサ14と基板31のバンプ33が形成された側の面34との間のZ方向の距離L2を上部距離センサ14から取得し、メモリに格納する。
図8に示すように、制御部70は、メモリに格納したZ方向の距離L1から距離L4を読み出し、Z方向の距離L2からL1を差し引いてZ方向の第1の距離差ΔL1を計算する。また、制御部70は、取得したZ方向の距離L4からL3を差し引いてZ方向の第2の距離差ΔL2を計算する。図8に示すように、第2の距離差ΔL2は、コレット13に吸着された半導体ダイ21のバンプ23が形成された側の面24とリファレンス部材17の下面17bとのZ方向の距離となる。そして、制御部70は、第1の距離差ΔL1と、第2の距離差ΔL2とを加え、その合計からリファレンス部材17の厚さtを差し引くことによって、コレット13に吸着された半導体ダイ21のバンプ23が形成された側の面24と基板31のバンプ33が形成された側の面34との間のZ方向の距離L5を取得し、メモリに格納する。
図9(a)に示すように、制御部70は、上下二視野カメラ42を基板31とコレット13に吸着された半導体ダイ21との間に進出させ、半導体ダイ21と基板31の各電極22,32のXY方向の位置を合わせる。そして、制御部70は、コレット13を基板に向かってZ方向に降下させる降下高さDを計算する。
図9(b)に示すように、降下高さDは、半導体ダイ21のバンプ23が形成された側の面24と基板31のバンプ33が形成された側の面34とのZ方向の距離L5から半導体ダイ21のバンプ23が形成された側の面24からのバンプ高さH2と基板31のバンプ33が形成された側の面34からのバンプ高さH3との合計高さを差し引いたものである。各バンプ23,33の各バンプ高さH2,H3に形成の際の製造誤差などによるバラツキがある場合には、最大の各バンプ高さH2,H3の合計を差し引く。そして、制御部70は、コレット13を降下高さDだけ降下させる指令を出力する。この指令によってマウンティングヘッド12の駆動機構が始動し、コレット13を降下高さDだけ基板31に向かってZ方向に降下させ、降下高さDだけコレット13が降下するとコレット13の降下を停止させる。
図9(b)に示すように、コレット13が降下高さDだけ降下すると、半導体ダイ21のバンプ23の先端は基板31のバンプ33の先端の直上となっている。各バンプ23,33のバンプ高さH2,H3にバラツキがある場合には、各バンプ23,33の間にはバラツキに基づく微小な隙間δができる。ほとんどの場合、各バンプ23,33のバンプ高さH2,H3にはバラツキがあり、半導体ダイ21の一番高いバンプ23と基板31の一番高いバンプ33とが対向することはないので、各バンプ23,33の先端はほとんど接触せず、隙間δはゼロより大きくなっている。また、コレット13が降下した後の半導体ダイ21のバンプ23が形成された側の面24と基板31のバンプ33が形成された側の面34との高さはH0となっている。
図9(c)に示すように、制御部70は、コレット13の吸着孔の真空を開放する指令を出力する。この指令によってコレット13の吸着孔の真空が開放され、コレット13に吸着されていた半導体ダイ21は自重によって基板31の上に降下する。すると、半導体ダイ21のバンプ23と基板31のバンプ33とが接触し、液相の各バンプ23,33とは一体となって接合バンプ26を形成する。接合バンプ26は半導体ダイ21の自重を支持している。
以上説明したように、本実施形態のダイマウント装置10は、コレット13に吸着した半導体ダイ21を基板31の上にマウントする前に、半導体ダイ21のバンプ23が形成された側の面24と基板31のバンプ33が形成された側の面34とのZ方向の距離L5を計測しておき、半導体ダイ21のバンプ23先端が基板31のバンプ33の先端の直上に来るまで半導体ダイ21を基板31に接近させてから、半導体ダイ21を基板31の上に重ね合わせるので、各バンプ23,33にほとんど押圧力を掛けずに半導体ダイ21を基板31の上に重ね合わせることができ、重ね合わせの際に各バンプ23,33が潰れることを抑制することができるという効果を奏する。また、本実施形態では、ダイマウント装置10のベースに固定された下部距離センサ20とマウンティングヘッド12に固定された上部距離センサ14とを用いてコレット13に吸着された半導体ダイ21のバンプ23が形成された側の面24と基板31のバンプ33が形成された側の面34とのZ方向の距離L5を測定しているので、コレット13に吸着された半導体ダイ21と基板と31との間に可動式の距離センサを進出させてZ方向の距離L5を測定するよりも精度良くZ方向の距離L5を測定することができる。このため、コレット13をより精度よく降下させることができ、コレット13を降下させた後の各バンプ23,33の隙間δをより小さくすることができ、半導体ダイ21を基板31に重ねる際によりゆっくりと半導体ダイ21を基板31に降下させることができ、重ね合わせの際に各バンプ23,33が潰れることを抑制することができるという効果を奏する。
図10から図12を参照しながら他の実施形態について説明する。図1から図9を参照して説明した実施形態と同様の部分には同様の符号を付して説明を省略する。
図10(a)、図10(b)に示すように、制御部70は、マウンティングヘッド12をコレット13が吸着している半導体ダイ21のバンプ23が形成された側の面24の中心よりも少しずれた位置が下部距離センサ20の上に来る第2aポジションに移動させる指令を出力する。この指令によってマウンティングヘッド12の駆動機構が始動し、マウンティングヘッド12をヘッドガイド11に沿ってX方向に移動させ、マウンティングヘッド12が第2aポジションまで移動したら、マウンティングヘッド12のX方向の移動を停止する。また、制御部70は、トレイ16を退避位置まで移動させる。そして、制御部70は、下部距離センサ20とコレット13に吸着された半導体ダイ21のバンプ23が形成された側の面24にある距離測定位置27aとの間のZ方向の距離L4aを下部距離センサ20から取得し、メモリに格納する。Z方向の距離L4aの取得が終了したら、制御部70は、下部距離センサ20が距離測定位置27aよりもX方向に少しずれた位置にある距離測定位置27bの距離を測定することができる第2bポジションまでマウンティングヘッド12をX方向に移動させる。そして、制御部70は、下部距離センサ20とコレット13に吸着された半導体ダイ21のバンプ23が形成された側の面24にある距離測定位置27bとの間のZ方向の距離L4bを下部距離センサ20から取得し、メモリに格納する。
図11(a)、図11(b)に示すように、制御部70は、マウンティングヘッド12を基板31の上に上部距離センサ14が来る第3aポジションに移動させ、上部距離センサ14と基板31のバンプ33が形成された側の面34にある距離測定位置37aとの間のZ方向の距離L2aを上部距離センサ14から取得し、メモリに格納する。距離L2aの取得が終了したら、制御部70は、上部距離センサ14が距離測定位置37aよりもX方向に少しずれた位置にある距離測定位置37bの距離を測定することができる第3bポジションまでマウンティングヘッド12をX方向に移動させる。そして、制御部70は、上部距離センサ14と基板31のバンプ33が形成された側の面34にある距離測定位置37bとの間のZ方向の距離L2bを上部距離センサ14から取得し、メモリに格納する。
制御部70は、取得したZ方向の距離L4aとL4bとの内の小さい方をZ方向の距離L4としてメモリに格納し、取得したZ方向の距離L2aとL2bとの内の小さい方をZ方向の距離L2としてメモリに格納し、先に説明した実施形態と同様、第1の距離差ΔL1と第2の距離差ΔL2を計算し、第1の距離差ΔL1と、第2の距離差ΔL2とを加え、その合計からリファレンス部材17の厚さtを差し引くことによって、コレット13に吸着された半導体ダイ21のバンプ23が形成された側の面24と基板31のバンプ33が形成された側の面34との間のZ方向の距離L6を取得し、メモリに格納する。Z方向の距離L6は、上部距離センサ14と下部距離センサ20とによって取得したコレット13に吸着されている半導体ダイ21のバンプ23が形成された側の面24と基板31のバンプ33が形成された側の面34と複数の距離の内の最も小さいZ方向の距離である。
そして、図12に示すように、制御部70は、半導体ダイ21のバンプ23が形成された側の面24と基板31のバンプ33が形成された側の面34との間のZ方向の距離L6から半導体ダイ21のバンプ23が形成された側の面24からのバンプ高さH2と基板31のバンプ33が形成された側の面34からのバンプ高さH3との合計高さを差し引いてZ方向の降下高さDを計算し、降下高さDだけコレット13を降下させ、半導体ダイ21を基板31に重ね合わせる。すると、図9(c)に示すように、半導体ダイ21のバンプ23と基板31のバンプ33とが接触し、液相の各バンプ23,33とは一体となって接合バンプ26を形成する。
本実施形態は、上部距離センサ14と下部距離センサ20とによって取得したコレット13に吸着されている半導体ダイ21のバンプ23が形成された側の面24と基板31のバンプ33が形成された側の面34との複数のZ方向の距離の内の最も小さいZ方向の距離であるL6に基づいてコレット13の降下高さDを算出しているので、図12に示すように、コレット13に吸着された半導体ダイ21と基板31との間に傾斜がある場合でも、一番接近しているバンプ23,33を潰すことなく半導体ダイ21を基板31の上に重ね合わせることができるという効果を奏する。
図10から図12を参照して他の実施形態について説明する。先に説明した実施形態と同様の部分には同様の符号を付して説明は省略する。
図10(a)、図10(c)に示すように、本実施形態のダイマウント装置10のコレット13は、半導体ダイ21を吸着した状態で回転することができるよう構成されている。
制御部70は、先に説明した実施形態と同様、マウンティングヘッド12をコレット13が吸着している半導体ダイ21のバンプ23が形成された側の面24の中心よりも少しずれた位置が下部距離センサ20の上に来る第2aポジションに移動させ、トレイ16を退避位置まで移動させる。そして、制御部70は、下部距離センサ20とコレット13に吸着された半導体ダイ21のバンプ23が形成された側の面24にある距離測定位置27aと下部距離センサ20との間のZ方向の距離L4aを下部距離センサ20から取得し、メモリに格納する。また、制御部70は、マウンティングヘッド12のXY方向の位置と、下部距離センサ20の位置とから距離測定位置27aのXY方向の座標位置を取得する。Z方向の距離L4aと距離測定位置27aの座標位置の取得が終了したら、制御部70は、コレット13を例えば45度回転させ、距離測定位置27aを含む円弧28の上にある距離測定位置27bが下部距離センサ20の上に来るようにする。そして、制御部70は、距離測定位置27bと下部距離センサ20との間のZ方向の距離L4bを下部距離センサ20から取得し、メモリに格納する。また、制御部70は、マウンティングヘッド12のXY方向の位置と、コレット13の回転角度と、下部距離センサ20の位置とから距離測定位置27bのXY方向の座標位置を取得する。Z方向の距離L4bと距離測定位置27bの座標位置の取得が終了したら、制御部70は、コレット13を更に45度回転させ、距離測定位置27aを含む円弧28の上にある距離測定位置27cが下部距離センサ20の上に来るようにする。そして、制御部70は、距離測定位置27cと下部距離センサ20との間のZ方向の距離L4cを下部距離センサ20から取得し、メモリに格納する。また、制御部70は、マウンティングヘッド12のXY方向の位置と、コレット13の回転角度と、下部距離センサ20の位置とから距離測定位置27cのXY方向の座標位置を取得する。図10(d)に示すように、各距離測定位置27a,27b,27cは、半導体ダイ21のバンプ23が形成された側の面24の上で一直線上にない位置となっている。
図11(a)、図11(c)に示すように、制御部70は、マウンティングヘッド12を基板31の上に上部距離センサ14が来る第3aポジションに移動させ、上部距離センサ14と基板31のバンプ33が形成された側の面34にある距離測定位置37aとの間のZ方向の距離L2aを上部距離センサ14から取得し、メモリに格納する。また、制御部70は、マウンティングヘッド12のXY方向の位置から距離測定位置37aのXY方向の座標位置を取得する。Z方向の距離L2aの取得と距離測定位置37aのXY方向の座標位置の取得が終了したら、制御部70は、上部距離センサ14が距離測定位置37aよりもX方向に少しずれた位置にある距離測定位置37bの距離を測定することができる第3bポジションまでマウンティングヘッド12をX方向に移動させる。そして、制御部70は、上部距離センサ14と基板31のバンプ33が形成された側の面34にある距離測定位置37bとの間のZ方向の距離L2bを上部距離センサ14から取得し、メモリに格納する。また、制御部70は、マウンティングヘッド12のXY方向の位置から距離測定位置37bのXY方向の座標位置を取得する。Z方向の距離L2bの取得と距離測定位置37bのXY方向の座標位置の取得が終了したら、制御部70は、上部距離センサ14が距離測定位置37bよりもY方向に少しずれた位置にある距離測定位置37cの距離を測定することができるよう、図11(c)に示すように、基板31をY方向に移動させる。そして、制御部70は、上部距離センサ14と基板31のバンプ33が形成された側の面34にある距離測定位置37cとの間のZ方向の距離L2cを上部距離センサ14から取得し、メモリに格納する。また、制御部70は、マウンティングヘッド12のXY方向の位置と基板31のY方向位置とから距離測定位置37cのXY方向の座標位置を取得する。図11(d)に示すように、各距離測定位置37a,37b,37cは、基板31のバンプ33が形成された側の面34の上で一直線上にない位置となっている。
制御部70は、取得した各距離測定位置37a,37b,37cのXY方向の位置とZ方向の距離L2a,L2b,L2cとから基板31のバンプ33が形成された側の面34のXY面に対する傾斜角度、方向を計算し、バンプ33が形成された側の面34の中で一番上部距離センサ14に近くなっている位置を計算し、基板31のバンプ33が形成された側の面34と上部距離センサ14との間のZ方向の最小距離L2’を算出し、Z方向の距離L2’からL1を差し引いてZ方向の第1の距離差ΔL1を計算する。また、制御部70は、取得した各距離測定位置27a,27b,27cのXY方向の位置とZ方向の距離L4a,L4b,L4cとからコレット13に吸着された半導体ダイ21のバンプ23が形成された側の面24のXY面に対する傾斜角度、方向を計算し、バンプ23が形成された側の面24の中で一番下部距離センサ20に近くなっている位置を計算し、コレット13に吸着された半導体ダイ21のバンプ23が形成された側の面24と下部距離センサ20との間のZ方向の最小距離L4’を算出し、Z方向の距離L4’からL3を差し引いてZ方向の第2の距離差ΔL2を計算する。そして、制御部70は、第1の距離差ΔL1と、第2の距離差ΔL2とを加え、その合計からリファレンス部材17の厚さtを差し引くことによって、コレット13に吸着された半導体ダイ21のバンプ23が形成された側の面24と基板31のバンプ33が形成された側の面34との間のZ方向の最小面間距離L7を取得し、メモリに格納する。
そして、図12に示すように、制御部70は、半導体ダイ21のバンプ23が形成された側の面24と基板31のバンプ33が形成された側の面34との間のZ方向の最小面間距離L7から半導体ダイ21のバンプ23が形成された側の面24からのバンプ高さH2と基板31のバンプ33が形成された側の面34からのバンプ高さH3との合計高さを差し引いてZ方向の降下高さDを計算し、降下高さDだけコレット13を降下させ、半導体ダイ21を基板31に重ね合わせる。
本実施形態は、上部距離センサ14と下部距離センサ20とによって取得したコレット13に吸着されている半導体ダイ21のバンプ23が形成された側の面24と基板31のバンプ33が形成された側の面34との間のZ方向の最小面間距離L7に基づいてコレット13のZ方向の降下高さDを算出しているので、図12に示すように、コレット13に吸着された半導体ダイ21と基板31との間に傾斜がある場合でも、一番接近しているバンプ23,33を潰すことなく半導体ダイ21を基板31の上に重ね合わせることができるという効果を奏する。
以上説明した各実施形態は、半導体ダイ21を基板31の上に重ね合わせることとして説明したが、図13に示すように、本発明は、コレット13に吸着された半導体ダイ51を他の半導体ダイ61の上に重ね合わせる場合にも適用することができる。
図13に示す半導体ダイ61は貫通電極62を備えており、先に説明した実施形態による方法によって基板31の上に重ね合わされ、その後、焼結によって貫通電極62の基板側と基板31の電極32との間に接合金属層56が形成されているものである。そして、半導体ダイ61の基板と反対側にある貫通電極62の上に先の実施形態で説明したと同様、金属ナノインクを用いたバンプ63が形成されている。また、コレット13に吸着されている半導体ダイ51の電極52の上にも金属ナノインクによってバンプ53が形成されている。
制御部70は先に説明した実施形態と同様に、上部距離センサ14と下部距離センサ20とによって、上部距離センサ14とリファレンス部材17の上部距離センサ14側の上面17aとの間のZ方向の距離L1と、上部距離センサ14と半導体ダイ61のバンプ63が形成された側の面64との間のZ方向の距離L2と、下部距離センサ20とリファレンス部材17の下部距離センサ20側の下面17bとの距離L3と、下部距離センサ20とコレット13に吸着された半導体ダイ51のバンプ53が形成された側の面54との間のZ方向の距離L4とを、取得してメモリに格納する。そして、制御部70は、Z方向の距離L2からL1を差し引いてZ方向の第1の距離差ΔL1を計算し、Z方向の距離L4からL3を差し引いてZ方向の第2の距離差ΔL2を計算し、第1の距離差ΔL1と、第2の距離差ΔL2とを加え、その合計からリファレンス部材17の厚さtを差し引くことによって、図13(a)に示すように、コレット13に吸着された半導体ダイ51のバンプ53が形成された側の面54と半導体ダイ61のバンプ63が形成された側の面64との間のZ方向の距離L5を取得し、メモリに格納する。
制御部70は、図13(b)に示すように、半導体ダイ51のバンプ53が形成された側の面54と半導体ダイ61のバンプ63が形成された側の面64との間のZ方向の距離L5から半導体ダイ51のバンプ53が形成された側の面54からのバンプ高さH2と半導体ダイ61のバンプ63が形成された側の面64からのバンプ高さH3との合計高さを差し引いてZ方向の降下高さDを計算し、コレット13を降下高さDだけ基板31に向かって降下させる。そして、制御部70は図13(c)に示すように、コレット13の真空を開放し、半導体ダイ51を半導体ダイ61の上に降下させて重ね合わせる。すると、半導体ダイ51のバンプ53と半導体ダイ61のバンプ63とが接触し、液相の各バンプ53,63とは一体となって接合バンプ55を形成する。
本実施形態は先に説明した各実施形態と同様の効果を奏する。
本発明の実施形態におけるダイマウント装置の構成を示す斜視図である。 金属ナノインクによって半導体ダイおよび基板の電極上へのバンプ形成を示す説明図である。 バンプが形成された半導体ダイをトレイに保持させた状態と、バンプが形成された基板をマウンティングステージに吸着させた状態を示す説明図である。 本発明の実施形態におけるダイマウント装置の動作の内、半導体ダイのピックアップを示す説明図である。 本発明の実施形態におけるダイマウント装置の動作の内、上部距離センサと下部距離センサによるリファレンス部材の上面と下面の距離の測定を示す説明図である。 本発明の実施形態におけるダイマウント装置の動作の内、下部距離センサによる半導体ダイの距離の測定を示す説明図である。 本発明の実施形態におけるダイマウント装置の動作の内、上部距離センサによる基板の距離の測定を示す説明図である。 本発明の実施形態におけるダイマウント装置の動作において、取得した各距離の関係と距離差を示す説明図である。 本発明の実施形態におけるダイマウント装置の動作において、半導体ダイを基板に重ね合わせる動作を示す説明図である。 本発明の他の実施形態におけるダイマウント装置の動作の内、下部距離センサによる半導体ダイの距離の測定を示す説明図である。 本発明の他の実施形態におけるダイマウント装置の動作の内、上部距離センサによる基板の距離の測定を示す説明図である。 本発明の他の実施形態におけるダイマウント装置の動作において、相対的に傾斜した半導体ダイと基板との関係を示す説明図である。 本発明の他の実施形態におけるダイマウント装置の動作において、半導体ダイを他の半導体ダイに重ね合わせる動作を示す説明図である。
符号の説明
10 ダイマウント装置、11 ヘッドガイド、12 マウンティングヘッド、13 コレット、14 上部距離センサ、15 トレイガイド、16 トレイ、16a 保持部、17 リファレンス部材、17a 上面、17b 下面、18 ガイドレール、19 マウンティングステージ、20 下部距離センサ、21,51,61 半導体ダイ、22,32,52 電極、23,33,53,63 バンプ、24,34,54,64 面、25 吸着側面、26,55 接合バンプ、27a,27b,27c,37a,37b,37c 距離測定位置、28 円弧、31 基板、40 射出ヘッド、41 微液滴、42 上下二視野カメラ、56 接合金属層、62 貫通電極、70 制御部、D 降下高さ、H0,H1 高さ、H2,H3 バンプ高さ、L1〜L4,L2a,L2b,L2c,L4a,L4b,L4c,L5,L6 距離、L2’,L4’ 最小距離、L7 最小面間距離、δ 隙間、ΔL1,ΔL2 距離差。
本発明のダイマウント装置は、金属ナノ粒子を有機溶剤中に混合させた金属ナノインクを用いて電極上にバンプが形成された半導体ダイを、金属ナノインクを用いて電極上にバンプが形成された基板および/または金属ナノインクを用いて電極上にバンプが形成された他の半導体ダイの上にフェースダウンして半導体ダイを基板および/または他の半導体ダイに重ね合わせるダイマウント装置であって、基板および/または他の半導体ダイのバンプ側に配置された第1の距離センサと、コレットに吸着された半導体ダイのバンプ側に配置された第2の距離センサと、第1の距離センサと第2の距離センサとの間に配置され、基板表面および/または他の半導体ダイの表面に沿った方向に伸びるリファレンス部材と、半導体ダイを吸着して基板および/または他の半導体ダイに向かって降下するコレットと、コレットの降下を制御する制御部とを含み、制御部は、リファレンス部材の第1の距離センサ側の面と第1の距離センサとの間のコレット降下方向に沿った第1の距離と、基板のバンプ側表面および/または他の半導体ダイのバンプ側表面と第1の距離センサとの間のコレット降下方向に沿った第2の距離とを第1の距離センサによって取得し、第1の距離と第2の距離の差として第1の距離差を検出し、リファレンス部材の第2の距離センサ側の面と第2の距離センサとの間のコレット降下方向に沿った第3の距離と、コレットに吸着された半導体ダイのバンプ側の表面と第2の距離センサとの間のコレット降下方向に沿った第4の距離とを第2の距離センサによって取得し、第3の距離と第4の距離との差として第2の距離差を検出し、第1の距離差と第2の距離差の和からリファレンス部材のコレット降下方向に沿った厚さを差し引いてコレットに吸着されている半導体ダイの表面と基板表面および/または他の半導体ダイの表面とのコレットの降下方向に沿った距離を取得する距離取得手段と、距離取得手段によって取得した距離に応じてコレットに吸着されている半導体ダイのバンプ先端が基板および/または他の半導体ダイのバンプ先端の直上に来るまでコレットを基板および/または他の半導体ダイに向かって降下させた後、コレットの半導体ダイの吸着を開放して半導体ダイのバンプを基板および/または他の半導体ダイのバンプに重ね合わせる重ね合わせ手段と、を有することを特徴とする。
本発明のダイマウント方法は、金属ナノ粒子を有機溶剤中に混合させた金属ナノインクを用いて電極上にバンプが形成された半導体ダイを、金属ナノインクを用いて電極上にバンプが形成された基板および/または金属ナノインクを用いて電極上にバンプが形成された他の半導体ダイの上にフェースダウンして半導体ダイを基板および/または他の半導体ダイに重ね合わせるダイマウント方法であって、基板および/または他の半導体ダイのバンプ側に配置された第1の距離センサとコレットに吸着された半導体ダイのバンプ側に配置された第2の距離センサとの間に配置され、基板表面および/または各半導体ダイの表面に沿った方向に伸びるリファレンス部材の第1の距離センサ側の面と第1の距離センサとの間のコレット降下方向に沿った第1の距離と、基板のバンプ側表面および/または他の半導体ダイのバンプ側表面と第1の距離センサとの間のコレット降下方向に沿った第2の距離とを第1の距離センサによって取得し、第1の距離と第2の距離の差として第1の距離差を検出し、リファレンス部材の第2の距離センサ側の面と第2の距離センサとの間のコレット降下方向に沿った第3の距離と、コレットに吸着された半導体ダイのバンプ側の表面と第2の距離センサとの間のコレット降下方向に沿った第4の距離とを第2の距離センサによって取得し、第3の距離と第4の距離との差として第2の距離差を検出し、第1の距離差と第2の距離差の和からリファレンス部材のコレット降下方向に沿った厚さを差し引いて基板および/または他の半導体ダイに向かって降下するコレットに吸着されている半導体ダイの表面と基板表面および/または他の半導体ダイの表面とのコレットの降下方向に沿った距離を取得する距離取得工程と、距離取得工程によって取得した距離に応じてコレットに吸着されている半導体ダイのバンプ先端が基板および/または他の半導体ダイのバンプ先端の直上に来るまでコレットを基板および/または他の半導体ダイに向かって降下させた後、コレットの半導体ダイの吸着を開放して半導体ダイのバンプを基板および/または他の半導体ダイのバンプに重ね合わせる重ね合わせ工程と、を有することを特徴とする。
本発明は、金属ナノインクを用いてバンプが形成された半導体ダイを基板または他の半導体ダイに重ね合わせるダイマウント装置およびダイマウント方法に関する。
本発明のダイマウント装置は、金属ナノ粒子を有機溶剤中に混合させた金属ナノインクを用いて電極上にバンプが形成された半導体ダイを、金属ナノインクを用いて電極上にバンプが形成された基板または金属ナノインクを用いて電極上にバンプが形成された他の半導体ダイの上にフェースダウンして半導体ダイを基板または他の半導体ダイに重ね合わせるダイマウント装置であって、基板または他の半導体ダイのバンプ側に配置された第1の距離センサと、コレットに吸着された半導体ダイのバンプ側に配置された第2の距離センサと、第1の距離センサと第2の距離センサとの間に配置され、基板表面または他の半導体ダイの表面に沿った方向に伸びるリファレンス部材と、半導体ダイを吸着して基板または他の半導体ダイに向かって降下するコレットと、コレットの降下を制御する制御部とを含み、制御部は、リファレンス部材の第1の距離センサ側の面と第1の距離センサとの間のコレット降下方向に沿った第1の距離と、基板のバンプ側表面または他の半導体ダイのバンプ側表面と第1の距離センサとの間のコレット降下方向に沿った第2の距離とを第1の距離センサによって取得し、第1の距離と第2の距離の差として第1の距離差を検出し、リファレンス部材の第2の距離センサ側の面と第2の距離センサとの間のコレット降下方向に沿った第3の距離と、コレットに吸着された半導体ダイのバンプ側の表面と第2の距離センサとの間のコレット降下方向に沿った第4の距離とを第2の距離センサによって取得し、第3の距離と第4の距離との差として第2の距離差を検出し、第1の距離差と第2の距離差の和からリファレンス部材のコレット降下方向に沿った厚さを差し引いてコレットに吸着されている半導体ダイの表面と基板表面または他の半導体ダイの表面とのコレットの降下方向に沿った距離を取得する距離取得手段と、距離取得手段によって取得した距離に応じてコレットに吸着されている半導体ダイのバンプ先端が基板または他の半導体ダイのバンプ先端の直上に来るまでコレットを基板または他の半導体ダイに向かって降下させた後、コレットの半導体ダイの吸着を開放して半導体ダイのバンプを基板または他の半導体ダイのバンプに重ね合わせる重ね合わせ手段と、を有することを特徴とする。
本発明のダイマウント装置において、重ね合わせ手段は、距離取得手段によって取得したコレットに吸着されている半導体ダイの表面と基板表面または他の半導体ダイの表面との距離からコレットに吸着されている半導体ダイの表面からのバンプ高さと基板または他の半導体ダイの表面からのバンプの高さとを差し引いた距離だけコレットを降下させること、としても好適であるし、距離取得手段は、コレットに吸着されている半導体ダイの表面と基板表面または他の半導体ダイの表面とのコレットの降下方向に沿った距離を複数取得し、重ね合わせ手段は、距離取得手段によって取得したコレットに吸着されている半導体ダイの表面と基板表面または他の半導体ダイの表面との複数の距離の内の最も小さい距離からコレットに吸着されている半導体ダイの表面からのバンプ高さと基板または他の半導体ダイの表面からのバンプの高さとを差し引いた距離だけコレットを降下させること、としても好適である。
本発明のダイマウント装置において、制御部は、コレットに吸着されている半導体ダイの表面の距離測定を行う位置と基板表面または他の半導体ダイの表面の距離測定を行う位置とを検出する距離測定位置検出手段を備え、距離取得手段は、コレットに吸着されている半導体ダイの表面と基板表面または他の半導体ダイの表面とのコレットの降下方向に沿った距離をそれぞれ少なくとも3つ取得し、重ね合わせ手段は、検出した距離測定位置と、コレットに吸着されている半導体ダイの表面と基板表面または他の半導体ダイの表面とのコレットの降下方向に沿った各距離測定位置での距離と、によってコレットに吸着されている半導体ダイの表面と基板表面または他の半導体ダイの表面との間の最小面間距離を算出し、最小面間距離からコレットに吸着されている半導体ダイの表面からのバンプ高さと基板または他の半導体ダイの表面からのバンプの高さとを差し引いた距離だけコレットを降下させること、としても好適である。
本発明のダイマウント方法は、金属ナノ粒子を有機溶剤中に混合させた金属ナノインクを用いて電極上にバンプが形成された半導体ダイを、金属ナノインクを用いて電極上にバンプが形成された基板または金属ナノインクを用いて電極上にバンプが形成された他の半導体ダイの上にフェースダウンして半導体ダイを基板または他の半導体ダイに重ね合わせるダイマウント方法であって、基板または他の半導体ダイのバンプ側に配置された第1の距離センサとコレットに吸着された半導体ダイのバンプ側に配置された第2の距離センサとの間に配置され、基板表面または各半導体ダイの表面に沿った方向に伸びるリファレンス部材の第1の距離センサ側の面と第1の距離センサとの間のコレット降下方向に沿った第1の距離と、基板のバンプ側表面または他の半導体ダイのバンプ側表面と第1の距離センサとの間のコレット降下方向に沿った第2の距離とを第1の距離センサによって取得し、第1の距離と第2の距離の差として第1の距離差を検出し、リファレンス部材の第2の距離センサ側の面と第2の距離センサとの間のコレット降下方向に沿った第3の距離と、コレットに吸着された半導体ダイのバンプ側の表面と第2の距離センサとの間のコレット降下方向に沿った第4の距離とを第2の距離センサによって取得し、第3の距離と第4の距離との差として第2の距離差を検出し、第1の距離差と第2の距離差の和からリファレンス部材のコレット降下方向に沿った厚さを差し引いて基板または他の半導体ダイに向かって降下するコレットに吸着されている半導体ダイの表面と基板表面または他の半導体ダイの表面とのコレットの降下方向に沿った距離を取得する距離取得工程と、距離取得工程によって取得した距離に応じてコレットに吸着されている半導体ダイのバンプ先端が基板または他の半導体ダイのバンプ先端の直上に来るまでコレットを基板または他の半導体ダイに向かって降下させた後、コレットの半導体ダイの吸着を開放して半導体ダイのバンプを基板または他の半導体ダイのバンプに重ね合わせる重ね合わせ工程と、を有することを特徴とする。
本発明のダイマウント方法において、重ね合わせ工程は、距離取得工程によって取得したコレットに吸着されている半導体ダイの表面と基板表面または他の半導体ダイの表面との距離からコレットに吸着されている半導体ダイのバンプ高さと基板または他の半導体ダイのバンプの高さとを差し引いた距離だけコレットを降下させること、としても好適であるし、距離取得工程は、コレットに吸着されている半導体ダイの表面と基板表面または他の半導体ダイの表面とのコレットの降下方向に沿った距離を複数取得し、重ね合わせ工程は、距離取得工程によって取得したコレットに吸着されている半導体ダイの表面と基板表面または他の半導体ダイの表面との複数の距離の内の最も小さい距離からコレットに吸着されている半導体ダイの表面からのバンプ高さと基板または各半導体ダイの表面からのバンプの高さとを差し引いた距離だけコレットを降下させること、としても好適である。
本発明のダイマウント方法において、コレットに吸着されている半導体ダイの表面の距離測定を行う位置と基板表面または他の半導体ダイの表面の距離測定を行う位置とを検出する距離測定位置検出工程を有し、距離取得工程は、コレットに吸着されている半導体ダイの表面と基板表面または他の半導体ダイの表面とのコレットの降下方向に沿った距離をそれぞれ少なくとも3つ取得し、重ね合わせ工程は、検出した距離測定位置と、コレットに吸着されている半導体ダイの表面と基板表面または他の半導体ダイの表面とのコレットの降下方向に沿った各距離測定位置での距離と、によってコレットに吸着されている半導体ダイの表面と基板表面または他の半導体ダイの表面との間の最小面間距離を算出し、最小面間距離からコレットに吸着されている半導体ダイの表面からのバンプ高さと基板または他の半導体ダイの表面からのバンプの高さとを差し引いた距離だけコレットを降下させること、としても好適である。

Claims (10)

  1. 金属ナノ粒子を有機溶剤中に混合させた金属ナノインクを用いて電極上にバンプが形成された半導体ダイを、金属ナノインクを用いて電極上にバンプが形成された基板および/または金属ナノインクを用いて電極上にバンプが形成された他の半導体ダイの上にフェースダウンして半導体ダイを基板および/または他の半導体ダイに重ね合わせるダイマウント装置であって、
    半導体ダイを吸着して基板および/または他の半導体ダイに向かって降下するコレットと、コレットの降下を制御する制御部とを含み、
    制御部は、
    コレットに吸着されている半導体ダイの表面と基板表面および/または他の半導体ダイの表面とのコレットの降下方向に沿った距離を取得する距離取得手段と、
    距離取得手段によって取得した距離に応じてコレットに吸着されている半導体ダイのバンプ先端が基板および/または他の半導体ダイのバンプ先端の直上に来るまでコレットを基板および/または他の半導体ダイに向かって降下させた後、コレットの半導体ダイの吸着を開放して半導体ダイのバンプを基板および/または他の半導体ダイのバンプに重ね合わせる重ね合わせ手段と、
    を有することを特徴とするダイマウント装置。
  2. 請求項1に記載のダイマウント装置であって、
    重ね合わせ手段は、距離取得手段によって取得したコレットに吸着されている半導体ダイの表面と基板表面および/または他の半導体ダイの表面との距離からコレットに吸着されている半導体ダイの表面からのバンプ高さと基板および/または他の半導体ダイの表面からのバンプの高さとを差し引いた距離だけコレットを降下させること、
    を特徴とするダイマウント装置。
  3. 請求項1に記載のダイマウント装置であって、
    距離取得手段は、コレットに吸着されている半導体ダイの表面と基板表面および/または他の半導体ダイの表面とのコレットの降下方向に沿った距離を複数取得し、
    重ね合わせ手段は、距離取得手段によって取得したコレットに吸着されている半導体ダイの表面と基板表面および/または他の半導体ダイの表面との複数の距離の内の最も小さい距離からコレットに吸着されている半導体ダイの表面からのバンプ高さと基板および/または他の半導体ダイの表面からのバンプの高さとを差し引いた距離だけコレットを降下させること、
    を特徴とするダイマウント装置。
  4. 請求項1に記載のダイマウント装置であって、
    制御部は、
    コレットに吸着されている半導体ダイの表面の距離測定を行う位置と基板表面および/または他の半導体ダイの表面の距離測定を行う位置とを検出する距離測定位置検出手段を備え、
    距離取得手段は、コレットに吸着されている半導体ダイの表面と基板表面および/または他の半導体ダイの表面とのコレットの降下方向に沿った距離をそれぞれ少なくとも3つ取得し、
    重ね合わせ手段は、検出した距離測定位置と、コレットに吸着されている半導体ダイの表面と基板表面および/または他の半導体ダイの表面とのコレットの降下方向に沿った各距離測定位置での距離と、によってコレットに吸着されている半導体ダイの表面と基板表面および/または他の半導体ダイの表面との間の最小面間距離を算出し、最小面間距離からコレットに吸着されている半導体ダイの表面からのバンプ高さと基板および/または他の半導体ダイの表面からのバンプの高さとを差し引いた距離だけコレットを降下させること、
    を特徴とするダイマウント装置。
  5. 請求項1から4のいずれか1項に記載のダイマウント装置であって、
    基板および/または他の半導体ダイのバンプ側に配置された第1の距離センサと、
    コレットに吸着された半導体ダイのバンプ側に配置された第2の距離センサと、
    第1の距離センサと第2の距離センサとの間に配置され、基板表面および/または他の半導体ダイの表面に沿った方向に伸びるリファレンス部材と、を含み、
    制御部の距離取得手段は、
    リファレンス部材の第1の距離センサ側の面と第1の距離センサとの間のコレット降下方向に沿った第1の距離と、基板のバンプ側表面および/または他の半導体ダイのバンプ側表面と第1の距離センサとの間のコレット降下方向に沿った第2の距離とを第1の距離センサによって取得し、第1の距離と第2の距離の差として第1の距離差を検出し、リファレンス部材の第2の距離センサ側の面と第2の距離センサとの間のコレット降下方向に沿った第3の距離と、コレットに吸着された半導体ダイのバンプ側の表面と第2の距離センサとの間のコレット降下方向に沿った第4の距離とを第2の距離センサによって取得し、第3の距離と第4の距離との差として第2の距離差を検出し、第1の距離差と第2の距離差の和からリファレンス部材のコレット降下方向に沿った厚さを差し引いてコレットに吸着されている半導体ダイの表面と基板表面および/または他の半導体ダイの表面との間のコレット降下方向に沿った距離を取得すること、
    を有することを特徴とするダイマウント装置。
  6. 金属ナノ粒子を有機溶剤中に混合させた金属ナノインクを用いて電極上にバンプが形成された半導体ダイを、金属ナノインクを用いて電極上にバンプが形成された基板および/または金属ナノインクを用いて電極上にバンプが形成された他の半導体ダイの上にフェースダウンして半導体ダイを基板および/または他の半導体ダイに重ね合わせるダイマウント方法であって、
    基板および/または他の半導体ダイに向かって降下するコレットに吸着されている半導体ダイの表面と基板表面および/または他の半導体ダイの表面とのコレットの降下方向に沿った距離を取得する距離取得工程と、
    距離取得工程によって取得した距離に応じてコレットに吸着されている半導体ダイのバンプ先端が基板および/または他の半導体ダイのバンプ先端の直上に来るまでコレットを基板および/または他の半導体ダイに向かって降下させた後、コレットの半導体ダイの吸着を開放して半導体ダイのバンプを基板および/または他の半導体ダイのバンプに重ね合わせる重ね合わせ工程と、
    を有することを特徴とするダイマウント方法。
  7. 請求項6に記載のダイマウント方法であって、
    重ね合わせ工程は、距離取得工程によって取得したコレットに吸着されている半導体ダイの表面と基板表面および/または他の半導体ダイの表面との距離からコレットに吸着されている半導体ダイの表面からのバンプ高さと基板および/または他の半導体ダイの表面からのバンプの高さとを差し引いた距離だけコレットを降下させること、
    を特徴とするダイマウント方法。
  8. 請求項6に記載のダイマウント方法であって、
    距離取得工程は、コレットに吸着されている半導体ダイの表面と基板表面および/または他の半導体ダイの表面とのコレットの降下方向に沿った距離を複数取得し、
    重ね合わせ工程は、距離取得工程によって取得したコレットに吸着されている半導体ダイの表面と基板表面および/または他の半導体ダイの表面との複数の距離の内の最も小さい距離からコレットに吸着されている半導体ダイの表面からのバンプ高さと基板および/または各半導体ダイの表面からのバンプの高さとを差し引いた距離だけコレットを降下させること、
    を特徴とするダイマウント方法。
  9. 請求項6に記載のダイマウント方法であって、
    コレットに吸着されている半導体ダイの表面の距離測定を行う位置と基板表面および/または他の半導体ダイの表面の距離測定を行う位置とを検出する距離測定位置検出工程を有し、
    距離取得工程は、コレットに吸着されている半導体ダイの表面と基板表面および/または他の半導体ダイの表面とのコレットの降下方向に沿った距離をそれぞれ少なくとも3つ取得し、
    重ね合わせ工程は、検出した距離測定位置と、コレットに吸着されている半導体ダイの表面と基板表面および/または他の半導体ダイの表面とのコレットの降下方向に沿った各距離測定位置での距離と、によってコレットに吸着されている半導体ダイの表面と基板表面および/または他の半導体ダイの表面との間の最小面間距離を算出し、最小面間距離からコレットに吸着されている半導体ダイの表面からのバンプ高さと基板および/または他の半導体ダイの表面からのバンプの高さとを差し引いた距離だけコレットを降下させること、
    を特徴とするダイマウント方法。
  10. 請求項6から9のいずれか1項に記載のダイマウント方法であって、
    距離取得工程は、
    基板および/または他の半導体ダイのバンプ側に配置された第1の距離センサとコレットに吸着された半導体ダイのバンプ側に配置された第2の距離センサとの間に配置され、基板表面および/または各半導体ダイの表面に沿った方向に伸びるリファレンス部材の第1の距離センサ側の面と第1の距離センサとの間のコレット降下方向に沿った第1の距離と、基板のバンプ側表面および/または他の半導体ダイのバンプ側表面と第1の距離センサとの間のコレット降下方向に沿った第2の距離とを第1の距離センサによって取得し、第1の距離と第2の距離の差として第1の距離差を検出し、リファレンス部材の第2の距離センサ側の面と第2の距離センサとの間のコレット降下方向に沿った第3の距離と、コレットに吸着された半導体ダイのバンプ側の表面と第2の距離センサとの間のコレット降下方向に沿った第4の距離とを第2の距離センサによって取得し、第3の距離と第4の距離との差として第2の距離差を検出し、第1の距離差と第2の距離差の和からリファレンス部材のコレット降下方向に沿った厚さを差し引いてコレットに吸着されている半導体ダイの表面と基板表面および/または他の半導体ダイの表面との間のコレット降下方向に沿った距離を取得すること、
    を有することを特徴とするダイマウント方法。
JP2008176203A 2008-07-04 2008-07-04 ダイマウント装置およびダイマウント方法 Expired - Fee Related JP4361591B1 (ja)

Priority Applications (2)

Application Number Priority Date Filing Date Title
JP2008176203A JP4361591B1 (ja) 2008-07-04 2008-07-04 ダイマウント装置およびダイマウント方法
PCT/JP2008/073008 WO2010001501A1 (ja) 2008-07-04 2008-12-17 ダイマウント装置およびダイマウント方法

Applications Claiming Priority (1)

Application Number Priority Date Filing Date Title
JP2008176203A JP4361591B1 (ja) 2008-07-04 2008-07-04 ダイマウント装置およびダイマウント方法

Publications (2)

Publication Number Publication Date
JP4361591B1 JP4361591B1 (ja) 2009-11-11
JP2010016262A true JP2010016262A (ja) 2010-01-21

Family

ID=41393528

Family Applications (1)

Application Number Title Priority Date Filing Date
JP2008176203A Expired - Fee Related JP4361591B1 (ja) 2008-07-04 2008-07-04 ダイマウント装置およびダイマウント方法

Country Status (2)

Country Link
JP (1) JP4361591B1 (ja)
WO (1) WO2010001501A1 (ja)

Cited By (2)

* Cited by examiner, † Cited by third party
Publication number Priority date Publication date Assignee Title
CN104185384A (zh) * 2013-05-22 2014-12-03 松下电器产业株式会社 部件的安装方法及安装装置
JP2015005726A (ja) * 2013-05-22 2015-01-08 パナソニックIpマネジメント株式会社 部品の実装方法及び実装装置

Family Cites Families (5)

* Cited by examiner, † Cited by third party
Publication number Priority date Publication date Assignee Title
JP3116509B2 (ja) * 1992-01-29 2000-12-11 松下電器産業株式会社 ヒートシンクのボンディング装置およびボンディング方法
JP4128483B2 (ja) * 2003-05-13 2008-07-30 オリンパス株式会社 微小部品貼り合せ装置及び微小部品貼り合せ方法
JP4128540B2 (ja) * 2003-06-05 2008-07-30 株式会社新川 ボンディング装置
JP4294451B2 (ja) * 2003-11-21 2009-07-15 オリンパス株式会社 半導体接合装置
CN101479839A (zh) * 2006-04-24 2009-07-08 株式会社村田制作所 电子元件、使用该电子元件的电子元件装置及其制造方法

Cited By (2)

* Cited by examiner, † Cited by third party
Publication number Priority date Publication date Assignee Title
CN104185384A (zh) * 2013-05-22 2014-12-03 松下电器产业株式会社 部件的安装方法及安装装置
JP2015005726A (ja) * 2013-05-22 2015-01-08 パナソニックIpマネジメント株式会社 部品の実装方法及び実装装置

Also Published As

Publication number Publication date
JP4361591B1 (ja) 2009-11-11
WO2010001501A1 (ja) 2010-01-07

Similar Documents

Publication Publication Date Title
US7743964B2 (en) Bonding apparatus and bonding method
JP5167779B2 (ja) 半導体装置の製造方法
US6995469B2 (en) Semiconductor apparatus and fabricating method for the same
JP5996983B2 (ja) 電子部品装着装置
JP2008218474A5 (ja)
TWI490508B (zh) 軟性測試裝置及其測試方法
TWI649816B (zh) 打線方法與打線裝置
JP3635068B2 (ja) バンプ形成装置
JP2009253018A (ja) ボンディング装置及びボンディング方法
JP4361591B1 (ja) ダイマウント装置およびダイマウント方法
JP4592762B2 (ja) 半田ボール搭載方法及び半田ボール搭載装置
JP4369528B2 (ja) ボンディング装置及び方法
JP2004155185A (ja) はんだペースト印刷方法、はんだペースト印刷装置、はんだ印刷層を有する配線基板の製造方法
CN118782527A (zh) 热压接合装置
JPH05208390A (ja) 吸着ノズル
JP7163047B2 (ja) 実装装置ならびに実装方法およびこれを用いた半導体装置の製造方法
JP6478371B2 (ja) 電子デバイスの製造方法
JP4702237B2 (ja) 電子部品搭載装置および電子部品実装方法
JP2000353717A (ja) 半導体装置の製造方法及び半導体製造装置
TW202440257A (zh) 熱壓接合裝置
CN100417316C (zh) 在平面构件上涂覆粘合剂层的方法和装置以及组装设备
TW201401347A (zh) 應用於晶圓的銅柱焊料的製造方法及其設備
JP2000183114A (ja) ボンディング装置
JP2016195235A (ja) 半導体検査装置及びその製造方法
JP2000277569A (ja) レベリング装置、レベリング方法、ボンディング装置及びボンディング方法

Legal Events

Date Code Title Description
TRDD Decision of grant or rejection written
A01 Written decision to grant a patent or to grant a registration (utility model)

Free format text: JAPANESE INTERMEDIATE CODE: A01

Effective date: 20090721

A01 Written decision to grant a patent or to grant a registration (utility model)

Free format text: JAPANESE INTERMEDIATE CODE: A01

A61 First payment of annual fees (during grant procedure)

Free format text: JAPANESE INTERMEDIATE CODE: A61

Effective date: 20090812

R150 Certificate of patent or registration of utility model

Free format text: JAPANESE INTERMEDIATE CODE: R150

FPAY Renewal fee payment (event date is renewal date of database)

Free format text: PAYMENT UNTIL: 20120821

Year of fee payment: 3

LAPS Cancellation because of no payment of annual fees