JP2010014491A - 洋上監視システムおよび方法 - Google Patents
洋上監視システムおよび方法 Download PDFInfo
- Publication number
- JP2010014491A JP2010014491A JP2008173740A JP2008173740A JP2010014491A JP 2010014491 A JP2010014491 A JP 2010014491A JP 2008173740 A JP2008173740 A JP 2008173740A JP 2008173740 A JP2008173740 A JP 2008173740A JP 2010014491 A JP2010014491 A JP 2010014491A
- Authority
- JP
- Japan
- Prior art keywords
- measurement object
- image data
- color
- offshore
- time
- Prior art date
- Legal status (The legal status is an assumption and is not a legal conclusion. Google has not performed a legal analysis and makes no representation as to the accuracy of the status listed.)
- Granted
Links
Images
Landscapes
- Length Measuring Devices By Optical Means (AREA)
Abstract
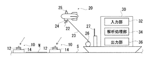
【解決手段】 洋上の測定対象物Mを撮像して時系列の画像データを生成する撮像装置20と、画像データを解析して測定対象物Mの位置情報を生成する解析装置30とを備え、解析装置30は、各時刻における測定対象物Mの座標値を算出し、所定時間内の前記座標値の中央値または平均値から、測定対象物Mの位置情報を求める洋上監視システムである。
【選択図】 図1
Description
以下、本発明の実施の形態について、添付図面を参照して説明する。図1は、本発明の一実施形態に係る洋上監視システムの概略構成図である。図1に示すように、洋上監視システム1は、複数の浮標体10と、撮像装置20と、解析装置30とを備えている。
各浮標体10の表面には、洋上Sに浮遊した状態で視覚により判別可能な色がそれぞれ付されており、浮標体10の数が多いほど測定精度を高めることができる。本実施形態においては、海面色との色差が大きい桃、緑、赤、黄、橙の各色からなる5種類の浮標体10が用意されている。各浮標体10は、後述するように、測定対象物Mの近傍に投下される。この場合、測定対象物の色との色差の大きい色の浮標体を用いることが好ましい。GPSを搭載した洋上船28の一部分を浮標体の一つとして用いても良い。また浮標体は、必ずしも単一色である必要はない。ただし、その場合は、浮標体の識別条件に隣接情報を追加する必要がある。
Mean Shift法とは、ある座標系において複数の正規分布で分散する分類対象点を局所平均の座標に逐次移動させ、クラスター中心に収束させる方法である。どの程度の近傍を類似しているとみなすかの判定基準を制御する窓パラメータを与えるだけで、予め分類数を設定する必要がない簡易な方法である。例えば、本実施形態においては、色彩座標(U,V)と画素座標(x,y)の二つの座標系を一括処理する四次元座標に対してMean Shift法を適用し、判定された各塊の色座標の重心、画素座標の重心、そして分類画素数により、海と異なる任意の色を持つ、任意の数の洋上漂流物の、画像上の色、位置、大きさを一括して算出できる。窓パラメータについては、色座標と画素座標のそれぞれに設定する。各浮標体または測定対象物の色のばらつきと画像上の大きさに応じて設定することが好ましい。ここで輝度Lについては、経験的に必ずしも正規分布に従わなかったことから判定基準には用いないが、色彩座標(U,V)と画素座標(x,y)を基準に分類された画素の平均輝度を、画素の塊毎に算出する。こうして検出された一群の異常色領域は、なんらかの洋上漂流物に対応しており、これら異常色領域の中に各浮標体が存在する。
すなわち、画像データに含まれるi=1〜n(実施例ではn=5である)の各浮標体の画素座標(xi,yi)と座標値(Xi,Yi)との関係を基準としてbjとcj(j=1〜5)を算出し、数式1及び2を用いて測定対象物の画素座標(xp,yp)から座標値 (XG,YG)を算出することができる。
時間平均値を算出するための所定時間や画像データ数は、特に限定されるものではないが、例えば、10〜30分の間に50〜100枚(或いはそれ以上)の画像データを撮影することが好ましい。また、所定時間を長くするか、または所定時間あたりの撮影枚数を大きくすることで、測定対象物の移動軌跡を把握することが可能である。移動軌跡を把握できれば、例えば、所定時間内に消失する頻度の高い白波と頻度の低い白色漂流物の識別が可能になる。
10 浮標体
12 受信部
14 記録部
20 撮像装置
22 撮像部
24 記録部
30 解析装置
32 入力部
34 解析処理部
36 出力部
M 測定対象物
Claims (4)
- 洋上の測定対象物を撮像して時系列の画像データを生成する撮像装置と、
前記画像データを解析して測定対象物の位置情報を生成する解析装置とを備え、
前記解析装置は、各時刻における測定対象物の座標値を算出し、所定時間内の前記座標値の中央値または平均値から、測定対象物の位置情報を求める洋上監視システム。 - 洋上を浮遊可能な複数の浮標体を更に備え、
前記浮標体または前記撮像装置は、GPS衛星からGPS信号を受信するGPS受信部を有しており、
前記解析装置は、前記画像データ及び前記GPS信号に基づき、前記画像データに含まれる前記各浮標体を基準点として、各時刻における測定対象物の座標値を算出する請求項1に記載の洋上監視システム。 - 前記各浮標体は、外表面の色がそれぞれ相違しており、
前記解析装置は、前記画像データから一群の異常色領域を検出し、前記各浮標体の色情報との色差の合計が最小となる一群の色重心を与える前記異常色領域の組み合わせを抽出することで、前記画像データの基準点を特定する請求項2に記載の洋上監視システム。 - 洋上の測定対象物を撮像して時系列の画像データを生成する撮像ステップと、
前記画像データを解析して測定対象物の位置情報を生成する解析ステップとを備え、
前記解析ステップは、各時刻における測定対象物の座標値を算出し、所定時間内の前記座標値の中央値または平均値から、測定対象物の位置情報を求める洋上監視方法。
Priority Applications (1)
| Application Number | Priority Date | Filing Date | Title |
|---|---|---|---|
| JP2008173740A JP5152913B2 (ja) | 2008-07-02 | 2008-07-02 | 洋上監視システムおよび方法 |
Applications Claiming Priority (1)
| Application Number | Priority Date | Filing Date | Title |
|---|---|---|---|
| JP2008173740A JP5152913B2 (ja) | 2008-07-02 | 2008-07-02 | 洋上監視システムおよび方法 |
Publications (2)
| Publication Number | Publication Date |
|---|---|
| JP2010014491A true JP2010014491A (ja) | 2010-01-21 |
| JP5152913B2 JP5152913B2 (ja) | 2013-02-27 |
Family
ID=41700739
Family Applications (1)
| Application Number | Title | Priority Date | Filing Date |
|---|---|---|---|
| JP2008173740A Expired - Fee Related JP5152913B2 (ja) | 2008-07-02 | 2008-07-02 | 洋上監視システムおよび方法 |
Country Status (1)
| Country | Link |
|---|---|
| JP (1) | JP5152913B2 (ja) |
Cited By (7)
| Publication number | Priority date | Publication date | Assignee | Title |
|---|---|---|---|---|
| CN108709541A (zh) * | 2018-08-01 | 2018-10-26 | 大连理工大学盘锦产业技术研究院 | 一种海洋平台海冰监测装置及其方法 |
| JP2019046149A (ja) * | 2017-09-01 | 2019-03-22 | コニカミノルタ株式会社 | 作物栽培支援装置 |
| JP2020033792A (ja) * | 2018-08-31 | 2020-03-05 | 株式会社電制 | 流氷雪検出装置および流氷雪検出方法、流氷雪検出システム、ならびにプログラム |
| WO2020218113A1 (ja) * | 2019-04-26 | 2020-10-29 | 竹内マネージメント株式会社 | 汚れ検査装置、汚れ検査方法、及び、太陽光発電モジュールの管理方法 |
| CN113222040A (zh) * | 2021-05-24 | 2021-08-06 | 中国南方电网有限责任公司超高压输电公司广州局 | 海上固定目标识别方法、装置、计算机设备和存储介质 |
| CN116467565A (zh) * | 2023-06-20 | 2023-07-21 | 国家海洋局北海预报中心((国家海洋局青岛海洋预报台)(国家海洋局青岛海洋环境监测中心站)) | 一种浒苔绿潮斑块最优搜寻区域预报方法 |
| CN117249792A (zh) * | 2023-11-20 | 2023-12-19 | 国网浙江省电力有限公司杭州供电公司 | 一种引流线长度计算装置及方法 |
Citations (4)
| Publication number | Priority date | Publication date | Assignee | Title |
|---|---|---|---|---|
| JPH06263100A (ja) * | 1993-03-10 | 1994-09-20 | Mitsubishi Electric Corp | 観測基準点の設定方法 |
| JP2000025688A (ja) * | 1998-07-08 | 2000-01-25 | Toyo Commun Equip Co Ltd | 漂流ブイ |
| JP2003294776A (ja) * | 2002-04-01 | 2003-10-15 | Starlabo Corp | 移動速度計測方法及び移動速度計測装置 |
| JP2004077391A (ja) * | 2002-08-21 | 2004-03-11 | Mitsubishi Heavy Ind Ltd | 船舶周域監視システム |
-
2008
- 2008-07-02 JP JP2008173740A patent/JP5152913B2/ja not_active Expired - Fee Related
Patent Citations (4)
| Publication number | Priority date | Publication date | Assignee | Title |
|---|---|---|---|---|
| JPH06263100A (ja) * | 1993-03-10 | 1994-09-20 | Mitsubishi Electric Corp | 観測基準点の設定方法 |
| JP2000025688A (ja) * | 1998-07-08 | 2000-01-25 | Toyo Commun Equip Co Ltd | 漂流ブイ |
| JP2003294776A (ja) * | 2002-04-01 | 2003-10-15 | Starlabo Corp | 移動速度計測方法及び移動速度計測装置 |
| JP2004077391A (ja) * | 2002-08-21 | 2004-03-11 | Mitsubishi Heavy Ind Ltd | 船舶周域監視システム |
Cited By (11)
| Publication number | Priority date | Publication date | Assignee | Title |
|---|---|---|---|---|
| JP2019046149A (ja) * | 2017-09-01 | 2019-03-22 | コニカミノルタ株式会社 | 作物栽培支援装置 |
| JP7069609B2 (ja) | 2017-09-01 | 2022-05-18 | コニカミノルタ株式会社 | 作物栽培支援装置 |
| CN108709541A (zh) * | 2018-08-01 | 2018-10-26 | 大连理工大学盘锦产业技术研究院 | 一种海洋平台海冰监测装置及其方法 |
| JP2020033792A (ja) * | 2018-08-31 | 2020-03-05 | 株式会社電制 | 流氷雪検出装置および流氷雪検出方法、流氷雪検出システム、ならびにプログラム |
| WO2020218113A1 (ja) * | 2019-04-26 | 2020-10-29 | 竹内マネージメント株式会社 | 汚れ検査装置、汚れ検査方法、及び、太陽光発電モジュールの管理方法 |
| CN113222040A (zh) * | 2021-05-24 | 2021-08-06 | 中国南方电网有限责任公司超高压输电公司广州局 | 海上固定目标识别方法、装置、计算机设备和存储介质 |
| CN113222040B (zh) * | 2021-05-24 | 2024-04-26 | 中国南方电网有限责任公司超高压输电公司广州局海口分局 | 海上固定目标识别方法、装置、计算机设备和存储介质 |
| CN116467565A (zh) * | 2023-06-20 | 2023-07-21 | 国家海洋局北海预报中心((国家海洋局青岛海洋预报台)(国家海洋局青岛海洋环境监测中心站)) | 一种浒苔绿潮斑块最优搜寻区域预报方法 |
| CN116467565B (zh) * | 2023-06-20 | 2023-09-22 | 国家海洋局北海预报中心((国家海洋局青岛海洋预报台)(国家海洋局青岛海洋环境监测中心站)) | 一种浒苔绿潮斑块最优搜寻区域预报方法 |
| CN117249792A (zh) * | 2023-11-20 | 2023-12-19 | 国网浙江省电力有限公司杭州供电公司 | 一种引流线长度计算装置及方法 |
| CN117249792B (zh) * | 2023-11-20 | 2024-02-06 | 国网浙江省电力有限公司杭州供电公司 | 一种引流线长度计算装置及方法 |
Also Published As
| Publication number | Publication date |
|---|---|
| JP5152913B2 (ja) | 2013-02-27 |
Similar Documents
| Publication | Publication Date | Title |
|---|---|---|
| US12198418B2 (en) | System and method for measuring the distance to an object in water | |
| CN105841688B (zh) | 一种船舶辅助泊岸方法和系统 | |
| JP5152913B2 (ja) | 洋上監視システムおよび方法 | |
| US12379467B2 (en) | Doppler radar flock detection systems and methods | |
| JP5724907B2 (ja) | 船舶の統合監視のための衛星情報及び船舶情報の統合方法 | |
| CN105842724A (zh) | 一种船舶辅助泊岸方法和系统 | |
| JP6349607B2 (ja) | 岸壁又は堤防の空洞探査方法及び危険性評価方法 | |
| CN107132530A (zh) | 天/空/船艇/浮标/岛礁基海域多传感器一体监测系统 | |
| KR102690410B1 (ko) | 해상관측 합성개구레이더 영상의 기하보정 방법 및 그 장치 | |
| CN116577779A (zh) | 一种水上异常目标探测系统及方法 | |
| KR102004455B1 (ko) | 증강현실을 이용한 항로표지 관제 시스템 및 방법 | |
| JP6482856B2 (ja) | 監視システム | |
| US8902292B2 (en) | Method and device for generating a representation of surroundings | |
| CN113450598A (zh) | 基于红外视频的船舶辅助航行方法及系统 | |
| CN115830140A (zh) | 一种海上近程光电监控方法、系统、介质、设备及终端 | |
| CN111860215B (zh) | 目标对象的位置确定方法、终端设备及航行系统 | |
| KR102156338B1 (ko) | 선박의 통합 모니터링 방법 및 그 장치 | |
| CN107941220B (zh) | 一种基于视觉的无人船海天线检测与导航方法和系统 | |
| CN114445761B (zh) | 一种基于图像识别的雷康状态远程监测方法 | |
| JP2005148790A (ja) | 水上水中物体の監視装置 | |
| JP7345153B2 (ja) | 飛翔体の地理座標推定装置、地理座標推定システム、地理座標推定方法、及びコンピュータプログラム | |
| Lalumiere et al. | Integration of a helicopter-based ground penetrating radar (GPR) with a laser, video and GPS system | |
| CN120932501B (zh) | 一种基于地理围栏的船舶航行预警方法和系统 | |
| TWI897347B (zh) | 具抗運動干擾之水上物件定位影像測距系統及其運作方法 | |
| Del Pizzo et al. | A preliminary study on an optical system for nautical and maritime traffic monitoring |
Legal Events
| Date | Code | Title | Description |
|---|---|---|---|
| A621 | Written request for application examination |
Free format text: JAPANESE INTERMEDIATE CODE: A621 Effective date: 20110304 |
|
| A977 | Report on retrieval |
Free format text: JAPANESE INTERMEDIATE CODE: A971007 Effective date: 20120815 |
|
| A131 | Notification of reasons for refusal |
Free format text: JAPANESE INTERMEDIATE CODE: A131 Effective date: 20120821 |
|
| A521 | Written amendment |
Free format text: JAPANESE INTERMEDIATE CODE: A523 Effective date: 20121017 |
|
| TRDD | Decision of grant or rejection written | ||
| A01 | Written decision to grant a patent or to grant a registration (utility model) |
Free format text: JAPANESE INTERMEDIATE CODE: A01 Effective date: 20121113 |
|
| A61 | First payment of annual fees (during grant procedure) |
Free format text: JAPANESE INTERMEDIATE CODE: A61 Effective date: 20121130 |
|
| FPAY | Renewal fee payment (event date is renewal date of database) |
Free format text: PAYMENT UNTIL: 20151214 Year of fee payment: 3 |
|
| R150 | Certificate of patent or registration of utility model |
Free format text: JAPANESE INTERMEDIATE CODE: R150 |
|
| S533 | Written request for registration of change of name |
Free format text: JAPANESE INTERMEDIATE CODE: R313533 |
|
| R350 | Written notification of registration of transfer |
Free format text: JAPANESE INTERMEDIATE CODE: R350 |
|
| LAPS | Cancellation because of no payment of annual fees |
