JP2010014451A - 連結手段の空隙の充填状態非破壊検査方法 - Google Patents

連結手段の空隙の充填状態非破壊検査方法 Download PDF

Info

Publication number
JP2010014451A
JP2010014451A JP2008172740A JP2008172740A JP2010014451A JP 2010014451 A JP2010014451 A JP 2010014451A JP 2008172740 A JP2008172740 A JP 2008172740A JP 2008172740 A JP2008172740 A JP 2008172740A JP 2010014451 A JP2010014451 A JP 2010014451A
Authority
JP
Japan
Prior art keywords
grout material
connecting means
gap
filled
filling
Prior art date
Legal status (The legal status is an assumption and is not a legal conclusion. Google has not performed a legal analysis and makes no representation as to the accuracy of the status listed.)
Granted
Application number
JP2008172740A
Other languages
English (en)
Other versions
JP5491005B2 (ja
Inventor
Yukihiro Tanimura
幸裕 谷村
Masaru Okamoto
大 岡本
Kazuhiro Harada
和洋 原田
Osamu Kobayashi
修 小林
Iku Sato
郁 佐藤
Norihiko Udagawa
徳彦 宇田川
Toshiyuki Tsuji
利幸 辻
Masahiro Abukawa
真大 虻川
Tsutomu Ogata
努 緒方
Yukihisa Imagawa
幸久 今川
Takeyuki Tomitaka
健幸 冨高
Current Assignee (The listed assignees may be inaccurate. Google has not performed a legal analysis and makes no representation or warranty as to the accuracy of the list.)
Railway Technical Research Institute
Shin Nippon Nondestructive Inspection Co Ltd
Splice Sleeve Japan Ltd
Geostr Corp
Toda Corp
Original Assignee
Railway Technical Research Institute
Shin Nippon Nondestructive Inspection Co Ltd
Splice Sleeve Japan Ltd
Geostr Corp
Toda Corp
Priority date (The priority date is an assumption and is not a legal conclusion. Google has not performed a legal analysis and makes no representation as to the accuracy of the date listed.)
Filing date
Publication date
Application filed by Railway Technical Research Institute, Shin Nippon Nondestructive Inspection Co Ltd, Splice Sleeve Japan Ltd, Geostr Corp, Toda Corp filed Critical Railway Technical Research Institute
Priority to JP2008172740A priority Critical patent/JP5491005B2/ja
Publication of JP2010014451A publication Critical patent/JP2010014451A/ja
Application granted granted Critical
Publication of JP5491005B2 publication Critical patent/JP5491005B2/ja
Active legal-status Critical Current
Anticipated expiration legal-status Critical

Links

Images

Landscapes

  • Reinforcement Elements For Buildings (AREA)
  • Investigating Or Analyzing Materials By The Use Of Ultrasonic Waves (AREA)

Abstract

【課題】連結手段内にグラウト材が完全に充填されたかどうかを施工後に安全且つ確実に検査できる非破壊検査方法を提供する。
【解決手段】1.連結手段を被連結部材の対向する位置に配設する、2.連結手段の空隙6に、該連結手段の一方端側に形成されているグラウト材注入口4より適宜手段によりグラウト材3を充填する、3.上記グラウト材3が充填され、他方端側に形成されているグラウト材排出口5に装着した延長排出筒8より該グラウト材3が充填排出される状態となった時点で充填を終了する、4.上記連結手段の空隙6内及び延長排出筒内のグラウト材3が固化した状態で、該延長排出筒の露出側端部表面に探触子を接触させる、5.超音波探傷器と連結された該探触子からの超音波を延長排出筒に充填固化されているグラウト材に発信し、その反射波の状態を該超音波探傷器により計測し連結手段内の空隙6の有無及びその状態を確認する。
【選択図】図1

Description

本発明は、プレキャスト部材等の被連結部材相互を連結する連結手段において、該連結手段内にグラウト材が満遍なく充填されて空隙が生じていないかどうかを非破壊により確認することのできる連結手段の空隙の充填状態非破壊検査方法に関する。
プレキャスト部材相互を連結する手段として使用されているモルタル充填継手Aは、図5に示すように、連結しようとする被連結部材の鉄筋相互をその内側に配設し、その後、該継手A内にグラウト材Cを充填して該鉄筋B相互を強固に連結している。その際、継手A内にグラウト材Cが満遍なく充填されて空隙が生じていないかどうかを確認する手段として、グラウト材Cが排出口D又はパイプEより吐出したことを目視確認するか、図6に示すように、グラウト材Cの排出口Dの開口部に装着したパイプEの露出端側を閉塞する止栓Fを利用している。上記止栓Fの場合は、パイプEの開口部を閉塞する栓本体の長手方向中心部に貫通孔Gを形成し、該貫通孔Gには紐Hが摺動自在となる長さを有して貫挿されている。該紐Hには止栓Fの内側となる側に、該止栓Fの内側外形形状とほぼ同じくした偏平状の円形盤Iを設け、他方側となる止栓Fの外側には該紐Hが貫通孔Gより抜け落ちることのないように該紐Hを結び付ける等して膨出部Jを形成している。
上記構成よりなる止栓FをパイプEの開口部に、該円形盤I側を内側方向へ突出させた状態で装着し、その後、別途グラウト材注入口Kよりグラウト材Cを継手A内に注入することにより該グラウト材Cは鉄筋Bと継手Aの内壁間の空間を充填しながら該グラウト材排出口D及びパイプE側へと充填され、上記突出された円形盤Iを内側より押圧し、その結果、紐Hの膨出部J側が外方へ押されて突出することになる。
上記突出したことを目視することにより継手A内にグラウト材Cが充填されたことを確認していた。
また、被連結部材相互を連結する他の手段として、該被連結部材の連結位置端部に配設したモルタル充填継手の空隙内に、上記同様、一方端側から注入したグラウト材が他端側から吐出したことを確認することにより空隙内がグラウト材によって満遍なく充填されたものとしていた。
他方、連結手段のグラウト材による連結状態の確認手段として、グラウト材を充填した後、当該箇所に対して放射線透過試験等を行う方法も非破壊検査方法として考えられている。
特開平7−248317号公報 特開2000−258401号公報
上記グラウト材の吐出を目視確認する検査方法は、吐出確認が不十分であったり、紐Hの突出を目視確認する検査方法では、紐Hを内側に押すことを忘れたり、振動等の何等かの衝撃により、継手Aへのグラウト材Cの充填前に該紐Hが外方へ突出した状態となってしまうことも考えられる。また、パイプEにだけグラウト材を充填されることも考えられるため、施工時において全数検査を行うことが必要であり、検査に時間がかかっていた。
他方、放射線を利用する検査方法は、例えば、柱筋のように鉄筋が重なって存在する場合には、継手単位毎にグラウト材の充填状況を確認することは不可能であった。また、放射線を利用することになるので、放射線による被曝を配慮しなくてはならず、危険性があり、建築土木の施工現場のように検査環境管理の難しい場所で使用することのできる最良のものではなかった。
本発明は、上記欠点を解決したもので、個々の連結手段内にグラウト材が完全に充填されたかどうかを施工時に確認するか或いは施工後において部分的に検査する方法しかなかったものを、施工後にその充填状態を超音波を利用して安全に且つ確実に検査をすることのできる非破壊検査方法を提供するものである。
被連結部材相互を連結する連結手段の空隙内に充填されたグラウト材の充填状態を検査する方法において、
1.連結手段を被連結部材の対向する位置に配設する、
2.連結手段の空隙に、該連結手段の一方端側に形成されているグラウト材注入口より適宜手段によりグラウト材を充填する、
3.上記グラウト材が充填され、他方端側に形成されているグラウト材排出口に装着した延長排出筒より該グラウト材が充填排出される状態となった時点で充填を終了する、
4.上記連結手段の空隙内及び延長排出筒内のグラウト材が固化した状態で、該延長排出筒の露出側端部表面に探触子を接触させる、
5.超音波探傷器と連結された該探触子からの超音波を延長排出筒に充填固化されているグラウト材に発信し、その反射波の状態を該超音波探傷器により計測し連結手段内の空隙の有無及びその状態を確認する、
連結手段の空隙の充填状態非破壊検査方法を特徴とする。
また、上記連結手段をモルタル充填筒状継手とした連結手段の空隙の充填状態非破壊検査方法を特徴とする。
更に、上記連結手段をプレキャスト部材等の被連結部材の連結位置端部に配設した連結手段の空隙の充填状態非破壊検査方法を特徴とする。
また、上記連結手段の空隙内には鉄筋或いは金物等が配設されてなる連結手段の空隙の充填状態非破壊検査方法を特徴とする。
本発明は、プレキャスト部材等の被連結部材相互を連結する連結手段の空隙内に充填されたグラウト材の充填状況を非破壊による簡単な手段により安価で確実に且つ安全に検査することが可能となった。
また、空隙となる未充填部の確認は、グラウト材の固化後、そのグラウト材排出口側の表面に探触子を接触させて超音波によるはね返り状態を検査するだけで済むので、1箇所に付き約3分程度で検査を完了させることができ、極めて有効な検査手段となった。
更に、連結手段へのグラウト材の充填に先立って特別な作業をすることがなく、且つ簡単で確実に未充填部となる空隙を確認することが可能となった。
以下、図面に示す実施例に基づいて、発明の実施の形態を説明する。
図1は、モルタル充填継手1内に配設された鉄筋2を埋め込むようにしてグラウト材3(以下、モルタル等の充填材を総称してグラウト材という)を充填した状態を示す断面図である。縦方向の鉄筋2相互を連結するために連結手段の空隙6を配設し、該モルタル充填継手1の下端に形成したグラウト材注入口4よりグラウト材3を充填し、その充填されたグラウト材3が継手1の上端に形成したグラウト材排出口5近辺まで上昇した状態を示している。以下、モルタル充填継手1を縦方向に使用した場合の実施例に沿って説明する。
グラウト材3は、流動性に富んでいるので、該グラウト材注入口4より充填されたグラウト材3が継手の中間部分となる空隙6に空気溜まりを発生させることはなく、図1で示したグラウト材排出口5近辺までは確実に上昇してくる。
上記モルタル充填継手1内に空気溜まりが生じる原因にはいくつか考えられるが、その主なものとしてはグラウト材3が完全に充填された後、固化する前に該グラウト材3が沈下すること或いは十分にグラウト材3が充填されていない状態で排出口をグラウト材で塞いでしまうこと等が考えられる。いずれにしてもモルタル充填継手1の上端部付近に空気溜まりが生じることになるので、該グラウト材排出口5近辺でのグラウト材3の充填状況を検査することにより、当該モルタル充填継手1へのグラウト材の充填が満遍なく行われたかどうかの確認を得ることが可能となる。
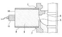
図2は、図1の上端部を拡大したもので、当該部分でのグラウト材の充填検査を示すものである。上記モルタル充填継手1の排出口5には鍔部等の突出部7が形成され、該突出部7に嵌合するようにして延長排出筒8を装着している。従って、注入口4より充填されたグラウト材3は、モルタル充填継手1内の空隙を充填し、排出口5より排出し、更に該延長排出筒8内の空隙を充填して吐出されることになる。この排出口5及び延長排出筒8からのグラウト材の吐出を確認することにより該モルタル充填継手1へのグラウト材の充填は終了する。
該延長排出筒8は、各種のモルタル充填継手の排出口に嵌合できる径を有し、その長さは適宜のものが使用できるが、50mm〜150mmが最適である。また、検査手段として超音波を発信することになるので、それに影響を与えないようにグラウト材とは異なるコンクリートやそれに類似した材質以外の例えば塩化ビニール製等のものがよい。
グラウト材3の充填終了後、該グラウト材3、9は延長排出筒8内で固化することになる。該グラウト材9の固化後、該延長排出筒8の露出しているグラウト材表面10に超音波を伝播させるための接触媒材等を塗布する。該接触媒材としては、グリセリンペースト等が採用される。
該接触媒材に探触子11を接触させ、超音波を発信させる。該探触子11は、送受信探触子とし、超音波の発信と、その発信された超音波を超音波エコーとして受信するものが使用される。該探触子11は、延長排出筒8の内径が約22mmの場合、該延長排出筒8より超音波を伝播させるために、その直径が約12.5mm程度のものを使用する。該探触子11は、図3にその概略を示すように、超音波探傷器12と連結され、超音波が延長排出筒8内の固化したグラウト材9中に発信されることになる。該超音波は、様々な空隙の状態を検査するために例えば0.5〜1.5MHzの広帯域の強さのものを使用する。
該探触子11より発信された超音波は、延長排出筒8内の固化したグラウト材9中を伝播し、モルタル充填継手1内へと伝わり、反射波として受信手段としての探触子11にはね返ってくるため、そのはね返りの強弱を計測することによりモルタル充填継手内のグラウト材3の充填状況を確認することができる。
モルタル充填継手1内のグラウト材3が、モルタル充填継手1内を満遍なく充填して空隙が生じていないと、該探触子11から発信された超音波はモルタル充填継手1内のグラウト材3中を伝播し、鉄筋2等により乱反射して弱められることになり、該探触子11が受信として検出し得る反射波エコーの強さは小さなものとなる。他方、空隙Sが存在すると、該探触子11から発信された超音波は、グラウト材3と該空隙Sを形成する気層との境界でその多くが反射され、反射波エコーの強い状態で探触子11への受信として検出されることになる。
仮に、図2に示すように、モルタル充填継手1の上端部近辺にグラウト材3の未充填部となる空隙Sが生じていた場合、該探触子11から発信された超音波は、図4の反射波形のグラフに示すTの状態のように、強い信号となって探触子11に返ってくることになる。固化したモルタル中を伝播してはね返ってくる時間を距離に変換することにより、空隙となった未充填部の有無及びその位置を確認することが可能となる。
未充填部が確認された後は、延長排出筒8内に、確認のための孔を穿孔し、モルタル充填継手1の内部状態をファイバースコープ等で調査し、空隙部分に対しグラウト材を充填する等して対処することになる。
上記実施例では、モルタル充填継手1を縦方向に使用した場合に沿って説明したが、斜め方向或いは横方向に使用することも当然のことながら可能である。横方向に使用した場合、注入口側にも上記同様の理由により未充填部となる空隙が生じる可能性がある。このことを考慮して該注入口側も上記同様の方法によりグラウト材の充填状態を検査し、空隙の有無及びその状態を確認することになる。この場合には延長排出筒及び注入口の両者が検査の対象となる。
モルタル充填継手にグラウト材を充填した状態を示す断面図。 モルタル充填継手のグラウト材排出口部分の拡大断面図。 超音波探傷器及び探触子を示す概略図。 モルタル充填継手の充填状態非破壊検査によって得られた反射波形の例示グラフ。 従来のモルタル充填継手の充填状態非破壊検査方法として止栓を使用した断面図。 (a)止栓の使用前の中央断面図、(b)止栓がグラウト材によって押された状態の中央断面図。
符号の説明
1 モルタル充填継手
2 鉄筋
3 グラウト材
4 グラウト材注入口
5 グラウト材排出口
6 空隙
7 突出部
8 延長排出筒

グラウト材
10 グラウト材表面
11 探触子
12 超音波探傷器

Claims (4)

  1. 被連結部材相互を連結する連結手段の空隙内に充填されたグラウト材の充填状態を検査する方法において、
    1.連結手段を被連結部材の対向する位置に配設する、
    2.連結手段の空隙に、該連結手段の一方端側に形成されているグラウト材注入口より適宜手段によりグラウト材を充填する、
    3.上記グラウト材が充填され、他方端側に形成されているグラウト材排出口に装着した延長排出筒より該グラウト材が充填排出される状態となった時点で充填を終了する、
    4.上記連結手段の空隙内及び延長排出筒内のグラウト材が固化した状態で、該延長排出筒の露出側端部表面に探触子を接触させる、
    5.超音波探傷器と連結された該探触子からの超音波を延長排出筒に充填固化されているグラウト材に発信し、その反射波の状態を該超音波探傷器により計測し連結手段内の空隙の有無及びその状態を確認する、
    ことを特徴とする連結手段の空隙の充填状態非破壊検査方法。
  2. 連結手段をモルタル充填筒状継手としたことを特徴とする請求項1に記載の連結手段の空隙の充填状態非破壊検査方法。
  3. 連結手段をプレキャスト部材等の被連結部材の連結位置端部に配設したことを特徴とする請求項1に記載の連結手段の空隙の充填状態非破壊検査方法。
  4. 連結手段の空隙内には鉄筋或いは金物等が配設されてなることを特徴とする請求項1乃至3のいずれかに記載の連結手段の空隙の充填状態非破壊検査方法。
JP2008172740A 2008-07-01 2008-07-01 連結手段の空隙の充填状態非破壊検査方法 Active JP5491005B2 (ja)

Priority Applications (1)

Application Number Priority Date Filing Date Title
JP2008172740A JP5491005B2 (ja) 2008-07-01 2008-07-01 連結手段の空隙の充填状態非破壊検査方法

Applications Claiming Priority (1)

Application Number Priority Date Filing Date Title
JP2008172740A JP5491005B2 (ja) 2008-07-01 2008-07-01 連結手段の空隙の充填状態非破壊検査方法

Publications (2)

Publication Number Publication Date
JP2010014451A true JP2010014451A (ja) 2010-01-21
JP5491005B2 JP5491005B2 (ja) 2014-05-14

Family

ID=41700703

Family Applications (1)

Application Number Title Priority Date Filing Date
JP2008172740A Active JP5491005B2 (ja) 2008-07-01 2008-07-01 連結手段の空隙の充填状態非破壊検査方法

Country Status (1)

Country Link
JP (1) JP5491005B2 (ja)

Cited By (6)

* Cited by examiner, † Cited by third party
Publication number Priority date Publication date Assignee Title
CN109387141A (zh) * 2018-11-13 2019-02-26 中建安装工程有限公司 一种全灌浆套筒钢筋锚固长度检测装置
CN109750795A (zh) * 2019-01-18 2019-05-14 浙江大学 一种带检测管的灌浆套筒及其灌浆饱满度检测与补浆方法
CN110736787A (zh) * 2019-11-24 2020-01-31 珠海浩悦环保技术有限公司 一种隔音砂浆空鼓检测设备
WO2020119468A1 (zh) * 2018-12-14 2020-06-18 昆山市建设工程质量检测中心 一种沿着出浆孔道单侧超声法检测套筒灌浆饱满性的方法
JP2020098139A (ja) * 2018-12-18 2020-06-25 株式会社竹中工務店 コンクリート充填管理方法
CN113622559A (zh) * 2021-09-03 2021-11-09 耀华建设管理有限公司 一种基于bim的民用建筑装配式墙体及其施工方法

Citations (4)

* Cited by examiner, † Cited by third party
Publication number Priority date Publication date Assignee Title
JPS61187648A (ja) * 1985-02-15 1986-08-21 Sumitomo Metal Ind Ltd 構造用部材の検査方法
JPH06185168A (ja) * 1992-12-18 1994-07-05 Daiwa House Ind Co Ltd 鉄筋継手
JP2002340864A (ja) * 2001-05-11 2002-11-27 Tokyo Yogyo Co Ltd 流し込み材料層の硬化状況測定方法
WO2006049303A1 (ja) * 2004-11-08 2006-05-11 Sakae Co., Ltd. シース管のグラウト充填検査方法及びその装置

Patent Citations (4)

* Cited by examiner, † Cited by third party
Publication number Priority date Publication date Assignee Title
JPS61187648A (ja) * 1985-02-15 1986-08-21 Sumitomo Metal Ind Ltd 構造用部材の検査方法
JPH06185168A (ja) * 1992-12-18 1994-07-05 Daiwa House Ind Co Ltd 鉄筋継手
JP2002340864A (ja) * 2001-05-11 2002-11-27 Tokyo Yogyo Co Ltd 流し込み材料層の硬化状況測定方法
WO2006049303A1 (ja) * 2004-11-08 2006-05-11 Sakae Co., Ltd. シース管のグラウト充填検査方法及びその装置

Cited By (9)

* Cited by examiner, † Cited by third party
Publication number Priority date Publication date Assignee Title
CN109387141A (zh) * 2018-11-13 2019-02-26 中建安装工程有限公司 一种全灌浆套筒钢筋锚固长度检测装置
CN109387141B (zh) * 2018-11-13 2024-03-08 中建安装工程有限公司 一种全灌浆套筒钢筋锚固长度检测装置
WO2020119468A1 (zh) * 2018-12-14 2020-06-18 昆山市建设工程质量检测中心 一种沿着出浆孔道单侧超声法检测套筒灌浆饱满性的方法
JP2020098139A (ja) * 2018-12-18 2020-06-25 株式会社竹中工務店 コンクリート充填管理方法
JP7206539B2 (ja) 2018-12-18 2023-01-18 株式会社竹中工務店 コンクリート充填管理方法
CN109750795A (zh) * 2019-01-18 2019-05-14 浙江大学 一种带检测管的灌浆套筒及其灌浆饱满度检测与补浆方法
CN109750795B (zh) * 2019-01-18 2024-04-19 浙江大学 一种带检测管的灌浆套筒及其灌浆饱满度检测与补浆方法
CN110736787A (zh) * 2019-11-24 2020-01-31 珠海浩悦环保技术有限公司 一种隔音砂浆空鼓检测设备
CN113622559A (zh) * 2021-09-03 2021-11-09 耀华建设管理有限公司 一种基于bim的民用建筑装配式墙体及其施工方法

Also Published As

Publication number Publication date
JP5491005B2 (ja) 2014-05-14

Similar Documents

Publication Publication Date Title
CN109632948B (zh) 一种沿着出浆孔道单侧超声法检测套筒灌浆饱满性的方法
Beard Guided wave inspection of embedded cylindrical structures
JP5491005B2 (ja) 連結手段の空隙の充填状態非破壊検査方法
Beard et al. Non-destructive testing of rock bolts using guided ultrasonic waves
CN109470769B (zh) 一种超声反射法检测套筒灌浆饱满度的方法及系统
CN107741381B (zh) 用于检测浆锚搭接连接节点灌浆密实度的装置和方法
CN108978740B (zh) 基于分布式超声波传感器的钻孔桩质量检测方法
JP4667228B2 (ja) 杭検査方法及びセンサー圧着装置
JP5403976B2 (ja) コンクリート構造物品質検査方法
CN108802187B (zh) 基于套筒表面超声的灌浆饱满度检测方法及系统
JP2017090101A (ja) 地中に設置された既製コンクリート杭の非破壊検査方法および非破壊検査システム
JP6509761B2 (ja) 検査架台及び非破壊検査装置
CN111156936B (zh) 基于干耦合超声检测技术的套筒内钢筋插入长度测量方法
KR100862028B1 (ko) 록볼트의 그라우팅 결함 측정 시스템 및 이를 이용한측정방법
CN108802188A (zh) 基于套筒表面激振的灌浆饱满度检测方法及系统
Seshu et al. Non destructive testing of bridge pier-a case study
JP6128432B2 (ja) アンカーの健全性検査装置およびアンカーの健全性検査方法
CN209832022U (zh) 一种预制墙体制作模具及便于灌浆饱满性检测的墙体
JP6174447B2 (ja) コンクリート部材の健全度推定方法およびコンクリート部材の補修方法
CN210465310U (zh) 一种基于电磁波时域反射的灌浆金属套筒密实度检测装置
JP5676084B2 (ja) コンクリート構造物における圧縮応力を受けた部位の診断方法
He et al. Health monitoring of rock bolts using ultrasonic guided waves
JPH0768763B2 (ja) コンクリート構造物の充填グラウトの介装状態検出方法及び装置
JP2001116731A (ja) コンクリートの品質管理方法及びコンクリート試験体用型枠
Chapagain et al. Ultrasonic measurements of grouted tendon ducts in concrete structures using Elop Insight Scanner

Legal Events

Date Code Title Description
A621 Written request for application examination

Free format text: JAPANESE INTERMEDIATE CODE: A621

Effective date: 20110209

A977 Report on retrieval

Free format text: JAPANESE INTERMEDIATE CODE: A971007

Effective date: 20120809

A131 Notification of reasons for refusal

Free format text: JAPANESE INTERMEDIATE CODE: A131

Effective date: 20120904

A521 Request for written amendment filed

Free format text: JAPANESE INTERMEDIATE CODE: A523

Effective date: 20121018

A131 Notification of reasons for refusal

Free format text: JAPANESE INTERMEDIATE CODE: A131

Effective date: 20130521

A521 Request for written amendment filed

Free format text: JAPANESE INTERMEDIATE CODE: A523

Effective date: 20130702

TRDD Decision of grant or rejection written
A01 Written decision to grant a patent or to grant a registration (utility model)

Free format text: JAPANESE INTERMEDIATE CODE: A01

Effective date: 20140225

A61 First payment of annual fees (during grant procedure)

Free format text: JAPANESE INTERMEDIATE CODE: A61

Effective date: 20140227

R150 Certificate of patent or registration of utility model

Ref document number: 5491005

Country of ref document: JP

Free format text: JAPANESE INTERMEDIATE CODE: R150

R250 Receipt of annual fees

Free format text: JAPANESE INTERMEDIATE CODE: R250

R250 Receipt of annual fees

Free format text: JAPANESE INTERMEDIATE CODE: R250

R250 Receipt of annual fees

Free format text: JAPANESE INTERMEDIATE CODE: R250

S111 Request for change of ownership or part of ownership

Free format text: JAPANESE INTERMEDIATE CODE: R313117

S531 Written request for registration of change of domicile

Free format text: JAPANESE INTERMEDIATE CODE: R313531

R350 Written notification of registration of transfer

Free format text: JAPANESE INTERMEDIATE CODE: R350