JP2010014230A - ラビリンスシールとこれを備える回転機械 - Google Patents

ラビリンスシールとこれを備える回転機械 Download PDF

Info

Publication number
JP2010014230A
JP2010014230A JP2008175958A JP2008175958A JP2010014230A JP 2010014230 A JP2010014230 A JP 2010014230A JP 2008175958 A JP2008175958 A JP 2008175958A JP 2008175958 A JP2008175958 A JP 2008175958A JP 2010014230 A JP2010014230 A JP 2010014230A
Authority
JP
Japan
Prior art keywords
rotating shaft
seal
ring
seal member
labyrinth
Prior art date
Legal status (The legal status is an assumption and is not a legal conclusion. Google has not performed a legal analysis and makes no representation as to the accuracy of the status listed.)
Granted
Application number
JP2008175958A
Other languages
English (en)
Other versions
JP5109838B2 (ja
Inventor
Kosuke Isomura
浩介 磯村
Current Assignee (The listed assignees may be inaccurate. Google has not performed a legal analysis and makes no representation or warranty as to the accuracy of the list.)
IHI Corp
Original Assignee
IHI Corp
Priority date (The priority date is an assumption and is not a legal conclusion. Google has not performed a legal analysis and makes no representation as to the accuracy of the date listed.)
Filing date
Publication date
Application filed by IHI Corp filed Critical IHI Corp
Priority to JP2008175958A priority Critical patent/JP5109838B2/ja
Publication of JP2010014230A publication Critical patent/JP2010014230A/ja
Application granted granted Critical
Publication of JP5109838B2 publication Critical patent/JP5109838B2/ja
Expired - Fee Related legal-status Critical Current
Anticipated expiration legal-status Critical

Links

Images

Landscapes

  • Turbine Rotor Nozzle Sealing (AREA)
  • Structures Of Non-Positive Displacement Pumps (AREA)
  • Sealing Using Fluids, Sealing Without Contact, And Removal Of Oil (AREA)
  • Sealing Of Bearings (AREA)

Abstract

【課題】回転シャフトに半径方向寸法がより大きい部分が結合されていても、当該部分を回転シャフトから取り外すことなく、シール部材を回転シャフトに取り付けることができ、大型、中型の回転機械だけでなく小型、超小型の回転機械においても焼きつきを起こすことなく微小隙間を確保して適切にシールできるラビリンスシールとこれを備えた回転機械を提供する。
【解決手段】回転シャフト5を囲む内周面13を有し内周面13にラビリンス構造が形成されているシール部材9と、シール部材9の外周面15を囲んで支持するリング状部材13を備える。シール部材9は、それぞれ内周面13の略半周部分を有する第1分割部9aと第2分割部9bとに分割されており、リング状部材13は、回転シャフト5を囲むシール部材9の外周面15に対し、回転シャフト5の軸方向から取付可能となっている。
【選択図】図1

Description

本発明は、回転する回転シャフトと該回転シャフトを囲む静止側部材との間を通して流体が前記回転シャフトの軸方向に移動することを抑制するラビリンスシールと、これを備える回転機械に関する。
回転駆動される回転シャフトと回転シャフトを囲む静止側部材とを有する回転機械においては、回転シャフトと静止側部材との間を通した流体の漏れを抑制することが重要である。回転機械が、例えばターボチャージャ、圧縮機またはヘリウム膨張タービンである場合には、図6に示すように、静止側部材(シールハウジング)106に金属製ラビリンスシール103、104、105を設けていた(図6は下記特許文献1に開示された構成である)。このようなラビリンスシール103、104、105は、例えば、回転シャフト101と静止側部材106との間に位置するように、静止側部材106に固定される。
金属製のラビリンスシール103、104、105は、回転している回転シャフト101に接触すると焼きつきを起こしてしまう。そのため、ラビリンスシール103、104、105が回転シャフト101に決して接触しないように、回転シャフト101とラビリンスシール103、104、105との間に微小の隙間を残すようにラビリンスシール103、104、105を製作していた(例えば、下記特許文献2)。
なお、図6において、符号102はインペラを示し、符号107はケーシングを示し、符号108はパージガス導入孔を示し、符号109は、パージガスと機内ガスとの混合ガスの排出孔を示し、符号110半径流ラビリンスを示し、符号111〜113はOリングを示す。
一方、図7に示すように、回転機械において、カーボン製の固定環201を、ばね装置203により回転環205に押し付けてシールを行う手法もある(図7は、下記特許文献3に開示された構成である)。
なお、図7において、符号207はパッキンを示し、符号209は回転シャフトを示し、符号211はスリーブを示し、符号213はナットを示す。
特開平10−141005号公報 特許第4009547号公報 特開昭59−231266号公報 特開2002−195419号公報
小型の回転機械においてラビリンスシール103、104、105を用いる場合には、ラビリンスシール103、104、105も小型化する必要がある。しかし、小型化のため、ラビリンスシール103、104、105が回転シャフト101に決して接触しないように、ラビリンスシール103、104、105を製作して取り付けることが困難だった。即ち、回転シャフト101とラビリンスシール103、104、105との隙間を、例えば10μm程度にしなければならず、このような精度でラビリンスシール103、104、105の製作、取り付けを行うことは困難であった。
また、回転シャフト101に半径方向寸法がより大きい部分(インペラ102など)が結合されている場合には、ラビリンスシール103、104、105を、回転シャフト101を囲む所定位置に取り付けるには、当該部分を回転シャフト101から取り外した上で、または、当該部分を回転シャフト101に取り付ける前に、ラビリンスシール103、104、105を前記所定位置に配置する必要があった。即ち、ラビリンスシール103、104、105には、回転シャフト101が貫通する貫通孔が形成されており、この貫通孔の寸法は、インペラ102などの部分よりも小さいため、ラビリンスシール103、104、105の貫通孔にインペラ102などの部分を通すことができず、上記のように配置する必要があった。なお、半径方向とは、回転シャフト101の半径方向を意味する。
一方、カーボン製の固定環201を回転環205に押し付けてシールを行う手法を、小型の回転機械に適用する場合、カーボン製ブロック39の摩擦が無視できない損失となる可能性がある。また、カーボン製ブロック39を回転環205に押し付けるばね装置203を小型化することが困難となる。
そこで、本発明の目的は、回転シャフトに半径方向寸法がより大きい部分(インペラなど)があらかじめ結合されていても、当該部分を回転シャフトから取り外すことなく、回転シャフトに取り付けることができ、大型、中型の回転機械だけでなく小型、超小型の回転機械においても焼きつきを起こすことなく微小隙間を確保して適切にシールできるラビリンスシールと、これを備えた回転機械を提供することにある。
上記目的を達成するため、本発明によると、回転する回転シャフトと該回転シャフトを囲む静止側部材との間を通して流体が前記回転シャフトの軸方向に移動することを抑制するラビリンスシールであって、
前記回転シャフトを囲む内周面を有し、該内周面にラビリンス構造が形成されているシール部材と、
前記シール部材の外周面を囲んで支持するリング状部材を備え、
前記シール部材は、それぞれ前記内周面の略半周部分を有する第1分割部と第2分割部とに分割されており、
前記リング状部材は、前記回転シャフトを囲む前記シール部材の前記外周面に対し、前記回転シャフトの軸方向から取付可能となっている、ことを特徴とするラビリンスシールが提供される。
上述の本発明によるラビリンスシールは、前記回転シャフトを囲む内周面を有し、該内周面にラビリンス構造が形成されているシール部材を備え、前記シール部材は、それぞれ前記内周面の略半周部分を有する第1分割部と第2分割部とに分割されているので、前記回転シャフトに対し半径方向に取り付けることが可能になる。従って、回転シャフトに半径方向寸法がより大きい部分(インペラなど)が結合されていても、当該部分を回転シャフトから取り外すことなく、シール部材を回転シャフトに取り付けることができる。
また、前記リング状部材は、前記回転シャフトを囲む前記シール部材の前記外周面に対し、前記回転シャフトの軸方向から取付可能となっているので、分割された第1分割部と第2分割部を合わせた状態に保持するようにリング状部材がシール部材の外周面を半径方向に支持できるとともに、回転シャフトに半径方向寸法がより大きい部分(インペラなど)が結合されていても、リング状部材の開口を当該部分よりも大きい寸法にすることで、当該部分を回転シャフトから取り外すことなく、リング状部材を回転シャフトの軸方向から当該部分に通してシール部材に取り付けることができる。
好ましくは、前記シール部材は、カーボンで形成されている。
このように、前記シール部材は、カーボンで形成されているので、シール部材は回転している回転シャフトと接触しても焼きつかない。即ち、シール部材を小型化した場合に、シール部材を回転シャフトに決して接触しないように、ラビリンスシールを製作して取り付けなくてもよく、シール部材が回転シャフトに接触することで摩耗して自然に適切な寸法となるようにすることができる。これにより、大型、中型だけでなく小型、超小型の回転機械においても焼きつきを起こすことなく微小隙間を確保して適切にシールできる。
さらに、シール部材は、カーボンで形成されているので、旋盤等を用いた通常行われる機械加工で製作することができる。
本発明の好ましい実施形態によると、前記回転シャフトは、インペラが結合されるものであり、前記リング状部材の中央部の開口は、前記インペラが通過できる寸法となっている。
このように、前記回転シャフトは、インペラが結合されるものであり、前記リング状部材の中央部の開口は、前記インペラが通過できる寸法となっているので、インペラを回転シャフトから取り外すことなく、リング状部材をインペラに通して回転シャフトの軸方向からシール部材に取り付けることができる。
本発明の好ましい実施形態によると、前記リング状部材の内周部は、回転シャフトの軸方向の一方を向く段差面を有し、前記シール部材の外周部は、前記軸方向の他方を向く段差面を有し、前記リング状部材の前記段差面と前記シール部材の前記段差面とが、前記軸方向に係合するようになっている。
このように、前記リング状部材の内周部は、回転シャフトの軸方向の一方を向く段差面を有し、前記シール部材の外周部は、前記軸方向の他方を向く段差面を有する。前記リング状部材の前記段差面と前記シール部材の前記段差面とが、前記軸方向に係合するようになっているので、シール部材の段差面がリング状部材の段差面と係合する方向に、シール部材が衝撃などにより位置ずれすることを防止できる。
上記目的を達成するため、本発明によると、回転する回転シャフトと該回転シャフトを囲む静止側部材とを有する回転機械であって、上述のラビリンスシールを備える、ことを特徴とする回転機械が提供される。
上述した本発明によると、回転シャフトに半径方向寸法がより大きい部分(インペラなど)が結合されていても、当該部分を回転シャフトから取り外すことなく、回転シャフトに取り付けることができ、大型、中型の回転機械だけでなく小型、超小型の回転機械においても焼きつきを起こすことなく微小隙間を確保して適切にシールできる。
本発明を実施するための最良の実施形態を図面に基づいて説明する。なお、各図において共通する部分には同一の符号を付し、重複した説明を省略する。
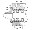
図1は、本発明の実施形態によるラビリンスシールの構成図である。このラビリンスシール3は、図1に示すように、回転する回転シャフト5と該回転シャフト5を囲む静止側部材7とを有する回転機械に適用可能であり、回転する回転シャフト5と該回転シャフト5を囲む静止側部材7との間を通して流体が回転シャフト5の軸方向に移動することを抑制する。なお、図1において、符号Hは、高圧流体の空間を示し、符号Lは低圧流体の空間を示す。
図2(A)は、図1のラビリンスシール3の全体構成図であり、図2(B)はラビリンスシール3の分解図である。また、図3(A)は、図2(B)のIIIA−IIIA線矢視図であり、図3(B)は、図3(A)において第1分割部9aと第2分割部9bとを分離した状態を示し、図4は図2(B)のIV−IV線矢視図である。本実施形態によると、ラビリンスシール3は、シール部材9とリング状部材11とを備える。
シール部材9は、回転シャフト5を囲む内周面13を有し、該内周面13にラビリンス構造が形成されている。ラビリンス構造は、軸方向に複数の凹部13a(図1の例では3つの凹部13a)が形成された構造である。なお、各凹部13aは、回転方向に1周するように延びている。また、シール部材9は、カーボン(例えば、グラファイト)で形成されている。また、シール部材9は、図3に示すように、それぞれ内周面13の半周部分を有する第1分割部9aと第2分割部9bとに分割されている。
リング状部材11は、シール部材9の外周面15を囲んで支持する。即ち、リング状部材11の内周面11cが外周面15に接触して外周面15を支持する。また、リング状部材11は、回転シャフト5を囲むシール部材9の外周面15に、回転シャフト5の軸方向から取付可能となっている。なお、図1では、リング状部材11を、シール部材9の外周面15に取り付けた後、環状の第2の静止側部材7’を図1の左側から軸方向に回転シャフト5に通すことで、静止側部材7と第2の静止側部材7’とでリング状部材11を軸方向に挟持する。この状態で、シール部材9は、静止側部材7とリング状部材11とに挟持される。なお、静止側部材7と第2の静止側部材7’とはボルトなど(図示せず)の結合手段で結合してよい。また、代わりに、リング状部材11をボルトなど(図示せず)の結合手段で静止側部材7に結合してもよい。
好ましくは、リング状部材11の内周部11aは、回転シャフト5の軸方向の一方を向く環状の段差面11bを有し、シール部材9の外周部17は、前記軸方向の他方を向く環状の段差面19を有する。リング状部材11の段差面11bとシール部材9の段差面19とが、前記軸方向に接触して係合するようになっている。
上述の本発明によるラビリンスシール3は、回転シャフト5を囲む内周面13を有し該内周面13にラビリンス構造が形成されているシール部材9を備え、シール部材9は、それぞれ内周面13の略半周部分を有する第1分割部9aと第2分割部9bとに分割されているので、回転シャフト5に対し半径方向に取り付けることが可能になる。従って、回転シャフト5に半径方向寸法がより大きい部分(インペラなど)が結合されていても、当該部分を回転シャフト5から取り外すことなく、シール部材9を回転シャフト5に取り付けることができる。
また、ラビリンスシール3は、シール部材9の外周面15を囲んで支持するリング状部材11を備える、リング状部材11は、回転シャフト5を囲むシール部材9の外周面15に対し、回転シャフト5の軸方向から取付可能となっているので、分割された第1分割部9aと第2分割部9bを合わせた状態に保持するようにリング状部材11がシール部材9の外周面15を半径方向に支持できる。また、回転シャフト5に半径方向寸法がより大きい部分(インペラなど)が結合されていても、リング状部材11の開口11dを当該部分よりも大きい寸法にすることで、当該部分を回転シャフト5から取り外すことなく、リング状部材11を回転シャフト5の軸方向から当該部分に通してシール部材9に取り付けることができる。
さらに、シール部材9はカーボンで形成されているので、シール部材9は回転している回転シャフト5と接触しても焼きつかない。即ち、シール部材9を小型化した場合に、シール部材9を回転シャフト5に決して接触しないように、ラビリンスシール3を製作して取り付けなくてもよく、シール部材9が回転シャフト5に接触することで摩耗して自然に適切な寸法となるようにすることができる。これにより、大型、中型の回転機械だけでなく小型、超小型の回転機械においても焼きつきを起こすことなく微小隙間を確保して適切にシールできる。
また、リング状部材11の内周部11aは、回転シャフト5の軸方向の一方を向く環状の段差面11bを有し、シール部材9の外周部17は、前記軸方向の他方を向く環状の段差面19を有し、リング状部材11の段差面11bとシール部材9の段差面19とが、前記軸方向に接触して係合するようになっているので、シール部材9の段差面19がリング状部材11の段差面11bと係合する方向に、シール部材9が衝撃などにより位置ずれすることを防止できる。
[実施例]
図5は、上述の実施形態によるラビリンスシール3をターボチャージャに適用した場合を示す概略図である。ターボチャージャは、エンジンの排ガスにより回転駆動されるタービンインペラ21と、タービンインペラ21と一体的に回転するコンプレッサインペラ23と、一端部にタービンインペラ21が結合され他端部にコンプレッサインペラ23が結合される回転シャフト5とを有する。コンプレッサインペラ23の回転により圧縮空気がエンジンに供給される。
なお、図5において、回転シャフト5は、軸受ハウジング25に取り付けられた軸受け27により半径方向に支持される。また、タービンインペラ21を内部に収容するタービンハウジング29は、軸受ハウジング25にボルト等(図示せず)により結合され、コンプレッサインペラ23を内部に収容するコンプレッサハウジング31も軸受ハウジング25にボルト等(図示せず)により結合されている。また、
図5では、ラビリンスシール3は、タービンインペラ21側とコンプレッサインペラ23側の2箇所に設けられている。
図5に示すように、回転シャフト5には、インペラ21、23が結合されており、リング状部材11の中央部の開口11d(図3参照)は、インペラ21、23が通過できる寸法となっている。図5の例では、インペラ21、23は、タービンインペラ21とコンプレッサインペラ23である。
タービンインペラ21側のラビリンスシール3において、リング状部材11は、軸方向に2つの静止側部材7、7’に挟持されることで、これら静止側部材7、7’に固定される。図5では、当該2つの静止側部材7、7’は、それぞれ軸受ハウジング25と環状のシールプレート33である。なお、シールプレート33は、軸方向にタービンハウジング29と軸受ハウジング25とに挟持されることで、これらに固定される。
コンプレッサインペラ23側のラビリンスシール3において、リング状部材11は、軸方向に2つの静止側部材7、7’に挟持されることで、これら静止側部材7、7’に固定される。図5では、当該2つの静止側部材7、7’は、それぞれ軸受ハウジング25と環状のシールプレート35である。なお、シールプレート35は、軸方向にコンプレッサハウジング31と軸受ハウジング25とに挟持されることで、これらに固定されている。
上述の実施例では、回転シャフト5には、インペラ21、23が結合されており、リング状部材11の中央部の開口11dは、インペラ21、23が通過できる寸法となっているので、インペラ21、23を回転シャフト5から取り外すことなく、リング状部材11を回転シャフト5の軸方向からインペラ21、23に通してシール部材9に取り付けることができる。
具体的には、図5のタービンインペラ21側のラビリンスシール3は、次のように取り付けることができる。まず、図5において、タービンハウジング29とシールプレート33を取り外した状態にする。次に、シール部材9を構成する第1分割部9aと第2分割部9bを、それぞれ半径方向から回転シャフト5に取り付けるとともに、第1分割部9aと第2分割部9bを互いに合わせて、内部に回転シャフト5が貫通するシール部材9とする。次に、リング状部材11を、軸方向からタービンインペラ21に通してシール部材9の外周面15に取り付け配置する。その後、環状のシールプレート33をタービンインペラ21に通して、シールプレート33と軸受ハウジング25との間にリング状部材11を挟んだ状態にする。次いで、タービンハウジング29と軸受ハウジング25との間にシールプレート33を挟んだ状態にし、この状態でタービンハウジング29と軸受ハウジング25とをボルトなどの結合手段により結合させる。図5のコンプレッサインペラ23側のラビリンスシール3の取り付けも同様に行える。
なお、上記において、第1分割部9aと第2分割部9bをそれぞれ半径方向から回転シャフト5に取り付ける時に、第1分割部9aまたは第2分割部9bが軸受ハウジング25(の段差)に引っかからないように、リング状部材11の外径を、インペラ23(または21)の外径に、シール部材9の外径を加えた大きさ以上にする。
本発明は上述した実施の形態に限定されず、本発明の要旨を逸脱しない範囲で種々変更を加え得ることは勿論である。
本発明のラビリンスシール3は、回転する回転シャフト5と該回転シャフト5を囲む静止側部材7とを有する回転機械において、回転シャフト5と静止側部材7との間を通した流体移動を抑制する場合に適用可能である。即ち、本発明のラビリンスシール3は、ターボチャージャだけでなく、圧縮機、膨張タービンなど他の回転機械にも適用可能である。
本発明の実施形態によるラビリンスシールを回転機械に用いた状態を示す図である。 (A)は、図1のラビリンスシールの全体構成図であり、(B)はラビリンスシール3の分解図である。 (A)は図2(B)のIIIA−IIIA線矢視図であり、(B)は第1分割部と第2分割部とを分離した状態を示す。 図2(B)のIV−IV線矢視図である。 本発明の実施形態によるラビリンスシールをターボチャージャに用いた状態を示す図である。 従来におけるラビリンスシールを示す図である。 従来における別のシール構造を示す図である。
符号の説明
3・・・ラビリンスシール、5・・・回転シャフト、7、7’・・・静止側部材、9・・・シール部材、9a・・・第1分割部、9b・・・第2分割部、11・・・リング状部材、11a・・・内周部、11b・・・段差面、11c・・・内周面、11d・・・開口、13・・・内周面、13a・・・凹部、15・・・外周面、17・・・外周部,19・・・段差面、21・・・タービンインペラ、23・・・コンプレッサインペラ、25・・・軸受ハウジング、27・・・軸受け、29・・・タービンハウジング、31・・・コンプレッサハウジング、33、35・・・シールプレート、101・・・回転シャフト、102・・・インペラ、103、104、105・・・ラビリンスシール、106・・・シールハウジング、107・・・ケーシング、108・・・パージガス導入孔、109・・・排出孔、110・・・半径流ラビリンス、111、112、113・・・Oリング、201・・・カーボン製の固定環、203・・・ばね装置、205・・・回転環、207・・・パッキン、209・・・回転シャフト、211・・・スリーブ、213・・・ナット

Claims (5)

  1. 回転する回転シャフトと該回転シャフトを囲む静止側部材との間を通して流体が前記回転シャフトの軸方向に移動することを抑制するラビリンスシールであって、
    前記回転シャフトを囲む内周面を有し、該内周面にラビリンス構造が形成されているシール部材と、
    前記シール部材の外周面を囲んで支持するリング状部材を備え、
    前記シール部材は、それぞれ前記内周面の略半周部分を有する第1分割部と第2分割部とに分割されており、
    前記リング状部材は、前記回転シャフトを囲む前記シール部材の前記外周面に対し、前記回転シャフトの軸方向から取付可能となっている、ことを特徴とするラビリンスシール。
  2. 前記シール部材は、カーボンで形成されている、ことを特徴とする請求項1に記載のラビリンスシール。
  3. 前記回転シャフトは、インペラが結合されるものであり、
    前記リング状部材の中央部の開口は、前記インペラ外径より大きく前記インペラが通過できる寸法となっている、ことを特徴とする請求項1または2に記載のラビリンスシール。
  4. 前記リング状部材の内周部は、回転シャフトの軸方向の一方を向く段差面を有し、
    前記シール部材の外周部は、前記軸方向の他方を向く段差面を有し、
    前記リング状部材の前記段差面と前記シール部材の前記段差面とが、前記軸方向に係合するようになっている、ことを特徴とする請求項1、2または3に記載のラビリンスシール。
  5. 回転する回転シャフトと該回転シャフトを囲む静止側部材とを有する回転機械であって、請求項1〜4のいずれかに記載のラビリンスシールを備える、ことを特徴とする回転機械。
JP2008175958A 2008-07-04 2008-07-04 ラビリンスシールとこれを備える回転機械 Expired - Fee Related JP5109838B2 (ja)

Priority Applications (1)

Application Number Priority Date Filing Date Title
JP2008175958A JP5109838B2 (ja) 2008-07-04 2008-07-04 ラビリンスシールとこれを備える回転機械

Applications Claiming Priority (1)

Application Number Priority Date Filing Date Title
JP2008175958A JP5109838B2 (ja) 2008-07-04 2008-07-04 ラビリンスシールとこれを備える回転機械

Publications (2)

Publication Number Publication Date
JP2010014230A true JP2010014230A (ja) 2010-01-21
JP5109838B2 JP5109838B2 (ja) 2012-12-26

Family

ID=41700513

Family Applications (1)

Application Number Title Priority Date Filing Date
JP2008175958A Expired - Fee Related JP5109838B2 (ja) 2008-07-04 2008-07-04 ラビリンスシールとこれを備える回転機械

Country Status (1)

Country Link
JP (1) JP5109838B2 (ja)

Cited By (3)

* Cited by examiner, † Cited by third party
Publication number Priority date Publication date Assignee Title
JP2012102831A (ja) * 2010-11-12 2012-05-31 Hitachi Ltd ラビリンスシール装置、およびそれを用いたターボ機械
WO2014115162A3 (en) * 2013-01-28 2014-12-04 Abhay Vishwas Ranade Labyrinth seal with replaceable inner liner/ring
JP2018136029A (ja) * 2017-02-20 2018-08-30 株式会社オシキリ 軸封部材、回転軸の軸封装置、横型ミキサ及びミキサ

Citations (6)

* Cited by examiner, † Cited by third party
Publication number Priority date Publication date Assignee Title
JPS55132552U (ja) * 1979-03-14 1980-09-19
JPS6392045U (ja) * 1986-12-08 1988-06-14
JPS6445058U (ja) * 1987-09-14 1989-03-17
JPH11247618A (ja) * 1997-12-23 1999-09-14 Asea Brown Boveri Ag ロータとステータとの間に形成されている分割透き間を無接触でシールする方法及び装置
JP2004197848A (ja) * 2002-12-19 2004-07-15 Hitachi Industries Co Ltd 軸封装置及びターボ圧縮機
JP2008128279A (ja) * 2006-11-17 2008-06-05 Hitachi Engineering & Services Co Ltd 伸縮ユニオン継手及びそれを用いた流体移送配管系

Patent Citations (6)

* Cited by examiner, † Cited by third party
Publication number Priority date Publication date Assignee Title
JPS55132552U (ja) * 1979-03-14 1980-09-19
JPS6392045U (ja) * 1986-12-08 1988-06-14
JPS6445058U (ja) * 1987-09-14 1989-03-17
JPH11247618A (ja) * 1997-12-23 1999-09-14 Asea Brown Boveri Ag ロータとステータとの間に形成されている分割透き間を無接触でシールする方法及び装置
JP2004197848A (ja) * 2002-12-19 2004-07-15 Hitachi Industries Co Ltd 軸封装置及びターボ圧縮機
JP2008128279A (ja) * 2006-11-17 2008-06-05 Hitachi Engineering & Services Co Ltd 伸縮ユニオン継手及びそれを用いた流体移送配管系

Cited By (4)

* Cited by examiner, † Cited by third party
Publication number Priority date Publication date Assignee Title
JP2012102831A (ja) * 2010-11-12 2012-05-31 Hitachi Ltd ラビリンスシール装置、およびそれを用いたターボ機械
WO2014115162A3 (en) * 2013-01-28 2014-12-04 Abhay Vishwas Ranade Labyrinth seal with replaceable inner liner/ring
JP2018136029A (ja) * 2017-02-20 2018-08-30 株式会社オシキリ 軸封部材、回転軸の軸封装置、横型ミキサ及びミキサ
JP7278029B2 (ja) 2017-02-20 2023-05-19 株式会社オシキリ 軸封部材、回転軸の軸封装置、横型ミキサ及びミキサ

Also Published As

Publication number Publication date
JP5109838B2 (ja) 2012-12-26

Similar Documents

Publication Publication Date Title
JP5021365B2 (ja) 間隔可変のパッキンリング片組立体及びタービンダイヤフラム
EP3514414A1 (en) Mechanical seal
EP2009233A1 (en) Magnetic bearing and coupling device
JP2015522773A (ja) 2つの弾性シールを含む、ターボ機械の軸受用のガスケット装置
CN104169621B (zh) 双端面机械密封装置
KR101457824B1 (ko) 축 시일 기구 및 이것을 구비하는 회전 기계
JP2005188515A (ja) タービンエンジンシェルの半径方向間隙を最適化するための方法及び装置
US20060177319A1 (en) Turbomachine, particularly exhaust gas turbocharger
JP5109838B2 (ja) ラビリンスシールとこれを備える回転機械
US8181967B2 (en) Variable clearance packing ring
JP5638696B2 (ja) コンプレッサおよびこれに関連したガスタービン
JP6225762B2 (ja) ターボ圧縮機
JP2008185082A (ja) ガスシール装置
CN105324554B (zh) 轴流膨胀机
JP2000018392A (ja) タンデムシール型ドライガスシール装置
JPWO2019031377A1 (ja) セグメントシール
JP3894115B2 (ja) ターボ圧縮機
JP4326315B2 (ja) 翼環構造
JP2011007050A (ja) 遠心圧縮機の軸シール固定構造
JP6283023B2 (ja) メカニカルシール
JP2004162712A (ja) 原子炉用の回転機械の低圧パッキンケーシング及びケーシング製作方法
JP4234821B2 (ja) ベローズ型メカニカルシール
JP6612092B2 (ja) メカニカルシール
JP5701683B2 (ja) 軸封装置
JP2006090273A (ja) 流体シール機構を備えた流体機械

Legal Events

Date Code Title Description
A621 Written request for application examination

Free format text: JAPANESE INTERMEDIATE CODE: A621

Effective date: 20110526

A977 Report on retrieval

Free format text: JAPANESE INTERMEDIATE CODE: A971007

Effective date: 20120619

A131 Notification of reasons for refusal

Free format text: JAPANESE INTERMEDIATE CODE: A131

Effective date: 20120702

A521 Request for written amendment filed

Free format text: JAPANESE INTERMEDIATE CODE: A523

Effective date: 20120824

TRDD Decision of grant or rejection written
A01 Written decision to grant a patent or to grant a registration (utility model)

Free format text: JAPANESE INTERMEDIATE CODE: A01

Effective date: 20120911

A01 Written decision to grant a patent or to grant a registration (utility model)

Free format text: JAPANESE INTERMEDIATE CODE: A01

A61 First payment of annual fees (during grant procedure)

Free format text: JAPANESE INTERMEDIATE CODE: A61

Effective date: 20120924

FPAY Renewal fee payment (event date is renewal date of database)

Free format text: PAYMENT UNTIL: 20151019

Year of fee payment: 3

R151 Written notification of patent or utility model registration

Ref document number: 5109838

Country of ref document: JP

Free format text: JAPANESE INTERMEDIATE CODE: R151

FPAY Renewal fee payment (event date is renewal date of database)

Free format text: PAYMENT UNTIL: 20151019

Year of fee payment: 3

R250 Receipt of annual fees

Free format text: JAPANESE INTERMEDIATE CODE: R250

LAPS Cancellation because of no payment of annual fees