JP2010013150A - 詰替パウチ - Google Patents

詰替パウチ Download PDF

Info

Publication number
JP2010013150A
JP2010013150A JP2008174281A JP2008174281A JP2010013150A JP 2010013150 A JP2010013150 A JP 2010013150A JP 2008174281 A JP2008174281 A JP 2008174281A JP 2008174281 A JP2008174281 A JP 2008174281A JP 2010013150 A JP2010013150 A JP 2010013150A
Authority
JP
Japan
Prior art keywords
spout
seal
edge
bottle
along
Prior art date
Legal status (The legal status is an assumption and is not a legal conclusion. Google has not performed a legal analysis and makes no representation as to the accuracy of the status listed.)
Granted
Application number
JP2008174281A
Other languages
English (en)
Other versions
JP5459754B2 (ja
Inventor
Shinichiro Nakai
慎一郎 中井
Current Assignee (The listed assignees may be inaccurate. Google has not performed a legal analysis and makes no representation or warranty as to the accuracy of the list.)
Rengo Co Ltd
Original Assignee
Rengo Co Ltd
Priority date (The priority date is an assumption and is not a legal conclusion. Google has not performed a legal analysis and makes no representation as to the accuracy of the date listed.)
Filing date
Publication date
Application filed by Rengo Co Ltd filed Critical Rengo Co Ltd
Priority to JP2008174281A priority Critical patent/JP5459754B2/ja
Publication of JP2010013150A publication Critical patent/JP2010013150A/ja
Application granted granted Critical
Publication of JP5459754B2 publication Critical patent/JP5459754B2/ja
Expired - Fee Related legal-status Critical Current
Anticipated expiration legal-status Critical

Links

Images

Landscapes

  • Bag Frames (AREA)

Abstract

【課題】特別な加工を施すことなく、内容物のボトルへの詰替作業を簡単かつ確実に行なえる詰替パウチを提供する。
【解決手段】重なり合うシート1を周縁に沿ったシール部3で貼り合わせ、シール部3の内側に内容物の収容空間5を形成し、シート1の上部一側に収容空間5が張り出すようにシール部3を湾曲させて注出口部6を設け、注出口部6でシート1を切断して、注出口部6を開口させる詰替パウチにおいて、前記注出口部6の上縁を形成するシール部7の内縁に、収容空間5の上端側のシール部8から傾斜が変わる肩部9を介し、注出口部6の先端側へかけて斜め外下方へ傾斜した注出誘導縁10を形成する。内容物をボトルに注ぐ際、内容物がシール部8から肩部9でスムーズに方向を変え、注出誘導縁10に沿って注出口部6の中心方向へ集まり、注出口部6の軸線に沿ってボトルに注ぎ込まれる。
【選択図】図2

Description

この発明は、詰替用のシャンプー、液体洗剤等を収容するパウチに関するものである。
従来、下記特許文献1には、図6に示すように、長方形状の重なり合うシート51を周縁に沿ったシール部52で貼り合わせて収容空間53を形成し、シート51の上部一側にシール部52を湾曲させて注出口部54を設け、注出口部54に切目線55を入れた詰替パウチが記載されている。
前記注出口部54の上縁を形成するシール部56の内縁は、シート51の上端から垂下するシール部57の下端部を起点として、斜め外上方へ傾斜したものとされている。
この詰替パウチでは、内容物をボトルに移し替える際、切目線55沿いにシート51を切断して、注出口部54を開口させ、水平方向に傾けると、内容物が前方(底の反対側)へ向けて流出するようになっている。
また、このような詰替パウチのほか、注出口部としてシートに別体のスパウトを取り付けたり、中空管を挿入する加工、注出口部に溝を形成するエンボス加工等を施して、内容物を注出しやすくした詰替パウチが知られている。
特開2008−81144号公報
しかしながら、上記特許文献1に記載されたような詰替パウチでは、内容物をボトルに注ぐ際、内容物がボトルから逸れて飛び出すおそれがあり、特別な加工を施す詰替パウチでは、製造コストがかかるという問題がある。また、内容物を完全にボトルに移し替えることができず、内容物が詰替パウチに残存して無駄が生じることもある。
そこで、この発明は、特別な加工を施すことなく、内容物のボトルへの詰替作業を簡単かつ確実に行なえる詰替パウチを提供することを課題とする。
上記のような課題を解決するため、この発明は、重なり合うシートを周縁に沿ったシール部で貼り合わせ、シール部の内側に内容物の収容空間を形成し、シートの上部一側に収容空間が張り出すようにシール部を湾曲させて注出口部を設け、注出口部でシートを切断することにより、注出口部を開口させ、注出口部から内容物を注出する詰替パウチにおいて、前記注出口部の上縁を形成するシール部の内縁に、収容空間の上端側のシール部から傾斜が変わる肩部を介し、注出口部の先端側へかけて斜め外下方へ傾斜した注出誘導縁を形成したのである。
また、前記注出口部の下方に、シートの両側縁を括れさせて、把持用の括れ部を設けることにより、片手で握って内容物の移し替えを行なえるようにしたのである。
この発明に係る詰替パウチでは、注出口部を開口させて水平方向に傾け、内容物をボトルに注ぐ際、内容物が肩部でスムーズに方向を変え、注出誘導縁に沿って注出口部の中心方向へ向かい、注出口部の軸線に沿ってボトルに注ぎ込まれるので、スパウト等を設けなくても、片手で握った状態で、内容物を溢すことなく、ボトルに簡単かつ確実に移し替えることができ、内容物の残存量を極力減らすことができる。
以下、この発明の実施形態を添付図面に基づいて説明する。
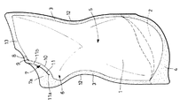
図1は、この発明に係る詰替パウチの内容物を充填する前の状態を示す。この詰替パウチは、重なり合うシート1を下部に山折りにしたシート2を挟んだ状態で、両側縁及び下縁に沿ったシール部3,4で貼り合わせ、シール部3,4の内側に内容物の収容空間5を形成したものとされている。
シート1の上部一側には、収容空間5が張り出すようにシール部3を湾曲させて、内部が先細りとなる注出口部6が設けられている。
注出口部6の上縁を形成するシール部7の内縁には、収容空間5の上端側のシール部8から傾斜が変わる肩部9を介し、注出口部6の先端側へかけて斜め外下方へ傾斜した注出誘導縁10が形成されている。
注出口部6の上方のシール部7には、摘み片7aが設けられると共に、注出誘導縁10に沿って切目線11が入れられている。
切目線11の下端部には、曲部を経て下方へ向かう切断誘導部11aが設けられ、切目線11の上部には、流通過程での不意の破断を防止する繋部11bが設けられている。
また、注出口部6の下方には、シート1の両側縁を括れさせて、把持用の括れ部12が設けられている。
上記のような詰替パウチは、上端が開口した状態で、シャンプーや液体洗剤等の内容物が収容空間5に充填され、図2に示すように、シート1を上縁に沿ったシール部13で貼り合わせることにより封緘された状態で、小売店へ出荷される。
一方、この詰替パウチの内容物を消費者がボトルに移し替える際には、図3に示すように、摘み片7aを捻るようにして、繋部11bを切断し、切断誘導部11aの延長線に沿ってシート1を切断することにより、図4に示すように、注出口部6を開口させる。
そして、図5に示すように、詰替パウチを水平方向へ傾け、注出口部6の開口部をボトルBの開口部に挿入し、括れ部12を握ると、収容空間5が絞られて、収容空間5の内容物がボトルBに移し替えられる。
このとき、内容物がシール部8から肩部9でスムーズに方向を変え、注出誘導縁10に沿って、反対側からの流れと集まるように、注出口部6の中心方向へ向かい、注出口部6の軸線に沿ってボトルBに注ぎ込まれるので、括れ部12を片手で握った状態で、内容物を溢すことなく、ボトルBに簡単かつ確実に移し替えることができる。
また、注出口部6付近に内容物が溜まりやすい部分がなく、詰替パウチへの内容物の残存量を極力減らして、無駄を省くことができる。
なお、上記実施形態では、スタンディングパウチを例として説明したが、四方シール等の他の形式のパウチにおいても、注出口部の近傍に同様の構成を採用できる。
この発明に係る詰替パウチの内容物充填前の状態を示す正面図 同上の内容物充填後の封緘状態を示す斜視図 同上の開封過程を示す斜視図 同上の注出口部が開口した状態を示す断面図 同上の内容物の移し替え過程を示す断面図 従来の詰替パウチを示す正面図
符号の説明
1,2 シート
3,4 シール部
5 収容空間
6 注出口部
7,8 シール部
7a 摘み片
9 肩部
10 注出誘導縁
11 切目線
11a 切断誘導部
11b 繋部
12 括れ部
13 シール部

Claims (2)

  1. 重なり合うシート(1)を周縁に沿ったシール部(3)で貼り合わせ、シール部(3)の内側に内容物の収容空間(5)を形成し、シート(1)の上部一側に収容空間(5)が張り出すようにシール部(3)を湾曲させて注出口部(6)を設け、注出口部(6)でシート(1)を切断して、注出口部(6)を開口させる詰替パウチにおいて、
    前記注出口部(6)の上縁を形成するシール部(7)の内縁に、収容空間(5)の上端側のシール部(8)から傾斜が変わる肩部(9)を介し、注出口部(6)の先端側へかけて斜め外下方へ傾斜した注出誘導縁(10)を形成したことを特徴とする詰替パウチ。
  2. 前記注出口部(6)の下方に、シート(1)の両側縁を括れさせて、把持用の括れ部(12)を設けたことを特徴とする請求項1に記載の詰替パウチ。
JP2008174281A 2008-07-03 2008-07-03 詰替パウチ Expired - Fee Related JP5459754B2 (ja)

Priority Applications (1)

Application Number Priority Date Filing Date Title
JP2008174281A JP5459754B2 (ja) 2008-07-03 2008-07-03 詰替パウチ

Applications Claiming Priority (1)

Application Number Priority Date Filing Date Title
JP2008174281A JP5459754B2 (ja) 2008-07-03 2008-07-03 詰替パウチ

Publications (2)

Publication Number Publication Date
JP2010013150A true JP2010013150A (ja) 2010-01-21
JP5459754B2 JP5459754B2 (ja) 2014-04-02

Family

ID=41699653

Family Applications (1)

Application Number Title Priority Date Filing Date
JP2008174281A Expired - Fee Related JP5459754B2 (ja) 2008-07-03 2008-07-03 詰替パウチ

Country Status (1)

Country Link
JP (1) JP5459754B2 (ja)

Citations (5)

* Cited by examiner, † Cited by third party
Publication number Priority date Publication date Assignee Title
JPH07232743A (ja) * 1994-02-18 1995-09-05 Sumitomo Bakelite Co Ltd 自立性包装体
JPH07291303A (ja) * 1994-04-20 1995-11-07 Sumitomo Bakelite Co Ltd 自立性包装体
JP2001301775A (ja) * 2000-02-18 2001-10-31 Dainippon Printing Co Ltd 自立性袋
JP2001341755A (ja) * 2000-02-18 2001-12-11 Dainippon Printing Co Ltd 自立性袋
JP2004338753A (ja) * 2003-05-15 2004-12-02 Fujimori Kogyo Co Ltd 包装袋

Patent Citations (5)

* Cited by examiner, † Cited by third party
Publication number Priority date Publication date Assignee Title
JPH07232743A (ja) * 1994-02-18 1995-09-05 Sumitomo Bakelite Co Ltd 自立性包装体
JPH07291303A (ja) * 1994-04-20 1995-11-07 Sumitomo Bakelite Co Ltd 自立性包装体
JP2001301775A (ja) * 2000-02-18 2001-10-31 Dainippon Printing Co Ltd 自立性袋
JP2001341755A (ja) * 2000-02-18 2001-12-11 Dainippon Printing Co Ltd 自立性袋
JP2004338753A (ja) * 2003-05-15 2004-12-02 Fujimori Kogyo Co Ltd 包装袋

Also Published As

Publication number Publication date
JP5459754B2 (ja) 2014-04-02

Similar Documents

Publication Publication Date Title
RU2197415C2 (ru) Гибкий пакет, комбинация гибкого пакета для напитка и соломинки и способ извлечения содержимого из гибкого пакета
JP5756357B2 (ja) 詰替え用軟包装容器
JP5483165B2 (ja) 詰め替え容器
JP2011046445A (ja) 注出容器
JP5444937B2 (ja) 繰り返し使用容器
JP2010013150A (ja) 詰替パウチ
JP2012176782A (ja) パウチ容器
JP2011006114A (ja) 詰め替え容器
JP5987287B2 (ja) 詰め替え用パウチ
JP5143710B2 (ja) 詰め替え用容器
JP5573186B2 (ja) 詰替え容器
JP4792564B2 (ja) パウチ容器用スパウト及びパウチ容器
JP5540603B2 (ja) 繰り返し使用容器
JP5492549B2 (ja) 詰め替え容器
JP5955585B2 (ja) 注出キャップ
JP4984541B2 (ja) 注出容器及びその詰替用の袋状容器
JP2009286465A (ja) ヒンジキャップ
JP2011016579A (ja) 詰め替え容器
JP4316411B2 (ja) 注出容器
JP5573137B2 (ja) 詰替え容器
JP5468937B2 (ja) 液体容器の注出具
JP2007331767A (ja) 可撓袋
JP5489168B2 (ja) 紙容器の開封再栓装置
JP4887936B2 (ja) 注出口部を有する詰め替え用の包装袋
JP4859422B2 (ja) スパウト

Legal Events

Date Code Title Description
A621 Written request for application examination

Free format text: JAPANESE INTERMEDIATE CODE: A621

Effective date: 20110419

A977 Report on retrieval

Free format text: JAPANESE INTERMEDIATE CODE: A971007

Effective date: 20120925

A131 Notification of reasons for refusal

Free format text: JAPANESE INTERMEDIATE CODE: A131

Effective date: 20121113

A521 Written amendment

Free format text: JAPANESE INTERMEDIATE CODE: A523

Effective date: 20121130

A131 Notification of reasons for refusal

Free format text: JAPANESE INTERMEDIATE CODE: A131

Effective date: 20130528

TRDD Decision of grant or rejection written
A01 Written decision to grant a patent or to grant a registration (utility model)

Free format text: JAPANESE INTERMEDIATE CODE: A01

Effective date: 20131217

A61 First payment of annual fees (during grant procedure)

Free format text: JAPANESE INTERMEDIATE CODE: A61

Effective date: 20140109

R150 Certificate of patent or registration of utility model

Ref document number: 5459754

Country of ref document: JP

Free format text: JAPANESE INTERMEDIATE CODE: R150

Free format text: JAPANESE INTERMEDIATE CODE: R150

R250 Receipt of annual fees

Free format text: JAPANESE INTERMEDIATE CODE: R250

R250 Receipt of annual fees

Free format text: JAPANESE INTERMEDIATE CODE: R250

R250 Receipt of annual fees

Free format text: JAPANESE INTERMEDIATE CODE: R250

R250 Receipt of annual fees

Free format text: JAPANESE INTERMEDIATE CODE: R250

LAPS Cancellation because of no payment of annual fees