JP2010012596A - 手持ち式打込み機 - Google Patents

手持ち式打込み機 Download PDF

Info

Publication number
JP2010012596A
JP2010012596A JP2009156541A JP2009156541A JP2010012596A JP 2010012596 A JP2010012596 A JP 2010012596A JP 2009156541 A JP2009156541 A JP 2009156541A JP 2009156541 A JP2009156541 A JP 2009156541A JP 2010012596 A JP2010012596 A JP 2010012596A
Authority
JP
Japan
Prior art keywords
sensor
driving
driving machine
opening
switching
Prior art date
Legal status (The legal status is an assumption and is not a legal conclusion. Google has not performed a legal analysis and makes no representation as to the accuracy of the status listed.)
Granted
Application number
JP2009156541A
Other languages
English (en)
Other versions
JP5475348B2 (ja
Inventor
Stefan Miescher
ミーシェル シュテファン
Harald Fielitz
フィーリッツ ハラルド
Walter Odoni
オドニ ヴァルター
Ulrich Schiestl
シーストル ウルリッヒ
Current Assignee (The listed assignees may be inaccurate. Google has not performed a legal analysis and makes no representation or warranty as to the accuracy of the list.)
Hilti AG
Original Assignee
Hilti AG
Priority date (The priority date is an assumption and is not a legal conclusion. Google has not performed a legal analysis and makes no representation as to the accuracy of the date listed.)
Filing date
Publication date
Application filed by Hilti AG filed Critical Hilti AG
Publication of JP2010012596A publication Critical patent/JP2010012596A/ja
Application granted granted Critical
Publication of JP5475348B2 publication Critical patent/JP5475348B2/ja
Expired - Fee Related legal-status Critical Current
Anticipated expiration legal-status Critical

Links

Images

Classifications

    • BPERFORMING OPERATIONS; TRANSPORTING
    • B25HAND TOOLS; PORTABLE POWER-DRIVEN TOOLS; MANIPULATORS
    • B25CHAND-HELD NAILING OR STAPLING TOOLS; MANUALLY OPERATED PORTABLE STAPLING TOOLS
    • B25C1/00Hand-held nailing tools; Nail feeding devices
    • B25C1/06Hand-held nailing tools; Nail feeding devices operated by electric power
    • BPERFORMING OPERATIONS; TRANSPORTING
    • B25HAND TOOLS; PORTABLE POWER-DRIVEN TOOLS; MANIPULATORS
    • B25CHAND-HELD NAILING OR STAPLING TOOLS; MANUALLY OPERATED PORTABLE STAPLING TOOLS
    • B25C1/00Hand-held nailing tools; Nail feeding devices
    • B25C1/008Safety devices
    • HELECTRICITY
    • H02GENERATION; CONVERSION OR DISTRIBUTION OF ELECTRIC POWER
    • H02GINSTALLATION OF ELECTRIC CABLES OR LINES, OR OF COMBINED OPTICAL AND ELECTRIC CABLES OR LINES
    • H02G3/00Installations of electric cables or lines or protective tubing therefor in or on buildings, equivalent structures or vehicles
    • H02G3/30Installations of cables or lines on walls, floors or ceilings

Landscapes

  • Engineering & Computer Science (AREA)
  • Mechanical Engineering (AREA)
  • Portable Nailing Machines And Staplers (AREA)
  • Die Bonding (AREA)

Abstract

【課題】建設補助部材を開口部に載置し、開口部で検出し、同時に被加工部材または基盤に圧着されたことを検出することが可能な手持ち式固定素子打込み機を提案する。
【解決手段】手持ち式固定素子打込み機は、打込みプランジャ(13)のための駆動装置(30)と、打込み工程を始動させる始動スイッチ(19)と、開口部(16)に移動可能に配置され、被加工部材(W)に対する圧着を検出可能であり、打込み工程の始動を初期位置(41)で阻止し、切換位置(43)で許容する圧着センサ(18)とを備える。開口部に移動可能に配置された部材センサ(17)が圧着センサとは無関係に作動可能であり、開口部への建設補助部材(110)の嵌込みを検出可能であり、部材センサおよび圧着センサがそれぞれの切換位置(43,44)に位置する場合にのみ打込み工程が始動可能である。
【選択図】図1

Description

本発明は、請求項1の前提部分に記載の形式の手持ち式打込み機に関する。このような手持ち式打込み機は、液状もしくはガス状燃料、または例えば蓄電池に蓄えられる電気エネルギーを駆動エネルギーとして使用し、被加工部材に固定素子を打ち込むことができる移動可能に案内された打込みプランジャを有している。
日本国特開第2007‐021715号公報(ドイツ国特許第102005000089号明細書)により、固定素子のための手持ち式打込み機が公知である。この打込み機は、案内部で移動可能に支承された打込みプランジャのための駆動装置を備えている。この駆動装置は、電気的に作動する締付け手段によって締付け可能な少なくとも1つの駆動ばね部材を備えている。打込み機の開口部には、切換手段と協働する押圧センサが配置されており、切換手段は導線によって制御ユニットに電気的に接続されている。切換手段は、打込み機が基盤に圧着されたことにより押圧センサが作動されるとすぐに制御ユニットに電気信号を送信し、基盤に正しく圧着された場合にのみ打込み機を作動させることができることを確保する。
このような打込み機は、打込み工程前に建設補助部材、例えばケーブル結束機または型枠ストッパを開口部に載置するためにのみ限定的に適している。なぜなら、この場合には切換手段は基盤への圧着前に既に作動されるからである。
日本国特開第2007‐021715号公報
本発明の課題は、上記のような打込み機を改良して、建設補助部材を開口部に載置し、また開口部で検出し、同時に被加工部材または基盤に圧着されたことを検出することが可能なものを提案することである。
この課題は、本発明によれば請求項1に記載の手段により解決される。これのよれば、開口部に移動可能に配置された部材センサが設けられており、部材センサが、初期位置で打込み工程の始動を阻止し、切換位置で打込み工程の始動を許容する圧着センサとは無関係に作動可能であり、部材センサによって、開口部に建設補助部材が嵌め込まれたことが検出可能であり、部材センサおよび圧着センサの双方がそれぞれの切換位置に位置している場合にのみ打込み工程が始動スイッチにより始動可能である。
これにより、一方では、打込み機は建設補助部材が開口部に正しく嵌め込まれたことを検出し、他方では、打込み機が続いて被加工部材または構成部分に圧着されたことが検出され、被加工部材に対する圧着は、建設補助部材を介在させて圧着センサによって検出可能である。この場合、建設補助部材は、例えば型枠ストッパ、スペーサ、補強保持手段、管クリップ、保持部材、山形部材、天井懸吊手段などである。
有利には、部材センサは、建設補助部材の調整外形部によって初期位置から切換位置まで移動可能であり、これにより、建設補助部材が開口部に正確に嵌め込まれた場合に建設補助部材が確実に検出されることが保証されている。
さらに、圧着センサが、建設補助部材における移動可能に案内された押圧部材によって初期位置から切換位置まで移動可能であると有利である。
部材センサおよび圧着センサがスリーブ状に形成されており、両者が互いに同心的に開口部の内部で案内されている場合には有利である。このような構造により、機能的に単純で小型の構成が得られる。
有利な改良形態によれば、部材センサは圧着センサの内部に配置され、固定素子のための打込み通路を備えている。これにより、建設補助部材の調整外形部を通常は開口部に差し込まれる、固定素子のための案内スリーブの領域に配置し、建設補助部材を開口部に固定することが可能である。
有利には、打込み工程は、部材センサが圧着センサより少なくとも0.3秒前に切換位置に移動された場合にのみ、始動スイッチにより始動可能である。この措置により、圧着センサおよび部材センサにより安全手段を操作または迂回することが極めて困難となる。
電気制御ユニットが設けられており、部材センサに第1電気切換手段が対応配置され、圧着センサに第2電気切換手段が対応配置されており、両切換手段が制御ユニットに接続されており、制御ユニットが、第1切換手段および第2切換手段の切換信号の順序および時差を監視する場合、特に有利である。順序の監視により、安全システムを迂回することは極めて困難となる。
このように構成した本発明の手持ち式打込み機により、一方では、建設補助部材が開口部に正しく嵌め込まれたことが検出され、他方では、打込み機が続いて被加工部材または構成部分に圧着されたことが検出され、被加工部材に対する圧着は、建設補助部材を介在させて圧着センサによって検出可能であるという効果が得られる。
本発明による打込み機を初期位置で示す縦断面図である。 図1による打込み機の開口部の建設補助部材の断面図である。 図2による打込み機の開口部の建設補助部材が被加工部材に圧着された位置を示す断面図である。
次に図面を参照して本発明の実施例を詳細に説明する。図1および図2に示した打込み機は、内部電源を備えている電気作動式の打込み機10として形成されている。打込み機10は、ハウジング11と、ハウジング11の内部に配置された、打込みプランジャ13のための駆動装置30とを備え、打込みプランジャ13は、案内部12の内部で移動可能に案内されている。打込みプランジャ13は固定素子130のための打込み部分14およびヘッド部分15を備える。
打込み方向27に見て案内部12の端部には開口部16が接続しており、開口部16は、案内部に対して同軸的に延在する案内通路26を備えている。
駆動装置30は駆動ばね部材31を含み、駆動ばね部材31の一端はハウジング11で間接的に支持され、他端は打込みプランジャ13のヘッド部分15に係合する。
図1に示す初期位置22では、打込みプランジャ13は駆動ばね部材31に抗して弾性的に予荷重をかけられている。
初期位置22では、打込みプランジャ13は遮断手段50によって保持されている。遮断手段50は爪51を備え、この爪51は、遮断位置54(図1参照)で打込みプランジャ13の突出部58における遮断面53に係合し、駆動ばね手段31の力に抗して打込みプランジャ13を保持する。この場合、爪51はサーボモータ52で支承されており、サーボモータ52によって、以下にさらに詳細に説明するように、解除位置(図1に示していない)に移行可能である。サーボモータ52は、電気的な第1制御ライン56によって電気的な制御ユニット23に接続されている。
打込み機10はさらにグリップ20を備え、グリップ20には、打込み機10による打込み工程を始動させるための始動スイッチ19が配置されている。グリップ20の内部にはさらに電源21が配置されており、この電源21を介して打込み機10に電気エネルギーが供給される。本実施例では、電源21は、例えばNi−MHアキュムレータまたはLiイオンアキュムレータなどの少なくとも1つのアキュムレータを含む。電源21は、電気的な供給ライン24を介して制御ユニット23と始動スイッチ19とに接続されている。制御ユニット23は、さらにスイッチライン57によって始動スイッチ19に接続されている。
打込み機10の開口部16には圧着センサ18および部材センサ17が配置されている。圧着センサ18および部材センサ17は双方ともスリーブ状に形成されており、開口部16における案内通路26のさらなる部分で移動可能に案内されている。図1では、圧着センサ18および部材センサ17は、それぞれの初期位置41,42で示されている。固定素子のための打込み通路を備える内側の部材センサ17は第1調整手段28aに接続されており、この第1調節手段28aは、部材センサ17が打込み方向27に向けて切換位置42まで移動された場合に、第1切換手段29a、例えばスイッチを操作するように設計されている(図2参照)。
部材センサ17と開口部16との間に配置された圧着センサ18は、第2調整手段28bに接続されている。この第2調整手段28bは、圧着センサ18が打込み方向27に向けて切換位置44まで移動された場合(図3参照)に電気的な第2切換手段29b、例えばスイッチを操作するように設計されている。始動スイッチ19による始動工程は、双方の切換手段29a、29bが、第1に部材センサ17、第2に圧着センサ18の順序で操作された場合にのみ可能である。しかもまず第1切換手段29aを操作し、次いで少なくとも0.3秒だけ時間をずらして第2切換手段29bを操作する必要がある。
切換手段29a、29bは、それぞれ切換手段ライン25によって制御ユニット23に接続されている。
打込み機10には、さらに締付け装置70が配置されている。この締付け装置70はモータ71を備え、このモータ71によって駆動ローラ72が駆動可能である。モータ71は第2制御ライン74によって制御ユニット23に接続されており、例えば打込みプランジャ13が打込み方向27の終端位置に位置している場合または打込み機が被加工部材Wから再び持ち上げられる場合に、制御ユニット23によって駆動させることができる。モータ71は、被駆動手段75、例えば駆動ローラ72に連結可能な被駆動輪を備えている。このために、駆動ローラ72は、ソレノイドとして形成された調整手段76における回動可能に長手方向に調整可能な調整アーム78に支承されている。この場合、調整手段76は、調整手段ライン77によって制御ユニット23に接続されている。作動時に駆動ローラ72は、破線で示す矢印73の方向に回動する。
打込み機10が主スイッチ(図示しない)により作動されると、次いで制御ユニット23は、打込みプランジャ13が図1に示す初期位置22に位置していることを確認する。このことが確認されない場合、次いで駆動ローラ72が調整手段76によって、既にモータ71により回動させられた被駆動手段75に引き寄せられ、これと連結される。同時に駆動ローラ72は打込みプランジャ13に連結し、これにより、打込みプランジャ13は、矢印73の方向に回動する駆動ローラ72によって駆動装置30の方向に移動させられる。この場合、駆動装置30の駆動ばね部材31が締め付けられる。打込みプランジャ13が初期位置22に到達した場合、遮断手段50の爪51が打込みプランジャ13の遮断面53に係合し、打込みプランジャ13を初期位置22に保持する。次いでモータ71を制御ユニット23によってスイッチオフすることができ、同様に制御ユニット23によって制御された調整手段76は、駆動ローラ72を、被駆動手段75および打込みプランジャ13に連結された位置から連結解除された位置まで移動させる。
打込みプランジャ13を戻し、駆動ばね部材31を締め付けるために、打込み工程の終了時に打込み機10が被加工部材Wから再び持ち上げられた場合に締付け手段70が制御ユニット23によって作動される。締め付け手段70により、打込みプランジャ13は上述のように駆動装置30の駆動ばね部材31に抗して移動させられ、駆動ばね部材31は、爪51が打込みプランジャ13の遮断面53の遮断位置54に係合することができるまで再び締め付けられる。
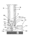
図2および図3には、ケーブル固定装置またはケーブル結束機として形成された建設補助部材110が示されている。この建設補助部材110は、上述の打込み機10の開口部16に配置されている。建設補助部材110はベース部分111を備え、このベース部分111には、ベース部分111の側部でケーブルを固定するためにケーブルベルト(図示しない)のためのベルト案内部117が配置されている。ベース部分111からはスリーブ状の案内部分112が突出しており、案内部分112は、支持部114によって取り囲まれた、固定素子130のための貫通開口部113を備えている。案内部分112には調整外形部115が配置されており、建設補助部材110が第1矢印151の方向に開口部16に嵌め込まれた場合(図2参照)、図2および図3に示すように、調整外形部115により、打込み機10の開口部16の部材センサ17を第2矢印152の方向に操作可能である。打込み機10の部材センサ17を切換位置42まで操作することにより、操作された第1切換手段29aにより打込み機10の制御ユニット23は打込み準備状態となる。
案内部分112には、細長い中空ピンとして形成された押圧部材120のための案内部116も配置されている。押圧部材120は、軸線方向の収容空間123を有しており、この収容空間123には固定素子130が挿入され、固定素子130はここで摩擦接続的に保持される。押圧部材120は、中央のピン本体から半径方向に突出し、互いに等間隔で配置された3つの突出部122を有している。これらの突出部122には、開口部16への嵌込み方向端部に調整面121がそれぞれ配置されており、これらの調整面121を介して、打込み機10の開口部16に沿って圧着センサ18を操作可能である。打込み機10が開口部16に嵌め込まれた建設補助部材110によって被加工部材Wに圧着された場合、押圧部材120は図2に示した初期状態から第3矢印153の方向に開口部16に向けて摺動される。この場合、突出部122の調整面121は圧着センサ18を第4矢印154の方向に、開口部16の内部(図3参照)の切換位置44まで移動させる。圧着センサ18を切換位置44に移動させることにより、第2切換手段29bが操作され、これにより、打込み機10の制御ユニット23は打込み準備状態となり、打込み工程を開始するためには打込み機10の始動スイッチまたはトリガスイッチ19が操作されるだけでよい。しかしながら、打込み準備状態は、第1切換手段29aおよび第2切換手段29bが少なくとも0.3秒だけずらして、まず第1切換手段19aが操作され、次いで第2切換手段20bが操作された場合にのみ、制御ユニット23によって得られる。これにより、圧着センサ18および部材センサ17による安全手段の手動操作が除外される。始動スイッチ19が操作員により操作されると、次いで制御ユニット23により遮断手段50は解除位置(図示していない)に移動させられ、爪51はサーボモータ52によって打込みプランジャ13の遮断面53から持ち上げられる。打込みプランジャ13は、次いで駆動装置30の駆動ばね部材31によって打込み方向27に移動させられ、固定素子130は被加工部材Wに打ち込まれる。
建設補助部材110は、型枠ストッパ、スペーサ、補強保持手段、管クリップ、保持部材、山形部材、天井懸吊手段などとして形成されていてもよいことは自明である。
13 打込みプランジャ
16 開口部
17 部材センサ
18 圧着センサ
19 始動スイッチ
23 制御手段
29a,29b 切換手段
30 駆動装置
41,42 初期位置
43,44 切換位置
110 建設補助部材
115 調整外形部
120 押圧部材
130 固定素子
W 被加工部材

Claims (7)

  1. 打込みプランジャ(13)のための駆動装置(30)と、該駆動装置(30)によって打込み工程を始動させるための始動スイッチ(19)と、開口部(16)に移動可能に配置された圧着センサ(18)とを備える固定素子のための手持ち式打込み機であって、前記圧着センサ(18)により、被加工部材(W)に対する圧着を検出可能であり、前記圧着センサ(18)が、初期位置(41)で打込み工程の始動を阻止し、切換位置(43)で打込み工程の始動を許容する打込み機において、
    前記開口部(16)に移動可能に配置された部材センサ(17)が設けられており、該部材センサ(17)が、初期位置(42)で打込み工程の始動を阻止し、切換位置(44)で打込み工程の始動を許容する前記圧着センサ(18)とは無関係に作動可能であり、前記部材センサ(17)によって、前記開口部(16)に建設補助部材(110)が嵌め込まれたことが検出可能であり、前記部材センサ(17)および前記圧着センサ(18)の双方がそれぞれの切換位置(43,44)に位置している場合にのみ、打込み工程が始動(19)スイッチにより始動可能であることを特徴とする打込み機。
  2. 請求項1に記載の打込み機において、
    前記部材センサ(17)が、前記建設補助部材(110)の調整外形部(115)によって初期位置(41)から切換位置(42)まで移動可能である打込み機。
  3. 請求項1または請求項2に記載の打込み機において、
    前記圧着センサ(18)が、前記建設補助部材(110)における移動可能に案内された押圧部材(120)によって前記初期位置(43)から前記切換位置(44)まで移動可能である打込み機。
  4. 請求項1から3までのいずれか一項に記載の打込み機において、
    前記部材センサ(17)および前記圧着センサ(18)が、スリーブ状に形成されており、両者が互いに同心的に開口部(16)の内部で案内されている打込み機。
  5. 請求項4に記載の打込み機において、
    前記部材センサ(17)が、圧着センサ(18)の内部に配置され、前記固定素子(130)のための打込み通路を備えている打込み機。
  6. 請求項1から5までのいずれか一項に記載の打込み機において、
    打込み工程が、前記部材センサ(17)が前記圧着センサ(18)より少なくとも0.3秒前に前記切換位置(43)まで移動された場合にのみ、前記始動スイッチ(19)により始動可能である打込み機。
  7. 請求項1から6までのいずれか一項に記載の打込み機において、
    電気制御ユニット(23)が設けられており、前記部材センサ(17)に第1電気切換手段(29a)が対応配置され、前記圧着センサ(18)に第2電気切換手段(29b)が対応配置され、両切換手段が前記制御ユニット(23)に接続されており、該制御ユニット(23)が、前記第1切換手段(29a)および前記第2切換手段(29a)の切換信号の順序および時差を監視する打込み機。
JP2009156541A 2008-07-03 2009-07-01 手持ち式打込み機 Expired - Fee Related JP5475348B2 (ja)

Applications Claiming Priority (2)

Application Number Priority Date Filing Date Title
DE102008040131A DE102008040131A1 (de) 2008-07-03 2008-07-03 Handgeführtes Eintreibgerät
DE102008040131.5 2008-07-03

Publications (2)

Publication Number Publication Date
JP2010012596A true JP2010012596A (ja) 2010-01-21
JP5475348B2 JP5475348B2 (ja) 2014-04-16

Family

ID=40972925

Family Applications (1)

Application Number Title Priority Date Filing Date
JP2009156541A Expired - Fee Related JP5475348B2 (ja) 2008-07-03 2009-07-01 手持ち式打込み機

Country Status (5)

Country Link
US (1) US7861905B2 (ja)
EP (1) EP2140980B1 (ja)
JP (1) JP5475348B2 (ja)
DE (1) DE102008040131A1 (ja)
ES (1) ES2386102T3 (ja)

Families Citing this family (20)

* Cited by examiner, † Cited by third party
Publication number Priority date Publication date Assignee Title
DE102008040121A1 (de) * 2008-07-03 2010-01-07 Hilti Aktiengesellschaft Konstruktions-Hilfselement
DE102010030098A1 (de) * 2010-06-15 2011-12-15 Hilti Aktiengesellschaft Eintreibvorrichtung
JP5696671B2 (ja) * 2011-02-18 2015-04-08 マックス株式会社 打ち込み工具
ES2442925T3 (es) 2011-05-25 2014-02-14 Siemens Aktiengesellschaft Método para inspeccionar componentes de una turbina eólica
US11229995B2 (en) 2012-05-31 2022-01-25 Black Decker Inc. Fastening tool nail stop
US9827658B2 (en) 2012-05-31 2017-11-28 Black & Decker Inc. Power tool having latched pusher assembly
DE102012223007A1 (de) * 2012-12-13 2014-06-18 Hilti Aktiengesellschaft Handgeführtes oder halbstationäres Werkzeuggerät und Verfahren zum Betreiben eines derartigen Werkzeuggeräts
DE102013208288A1 (de) * 2013-05-06 2014-11-06 Adolf Würth GmbH & Co. KG Befestigungselementselektiver Anpressdetektor für ein Setzgerät zum Setzen des Befestigungselements
EP3027114A4 (en) * 2013-07-31 2017-03-29 The UAB Research Foundation Predictive collision avoidance for radiotherapy
US10434634B2 (en) 2013-10-09 2019-10-08 Black & Decker, Inc. Nailer driver blade stop
US12502756B2 (en) 2013-10-09 2025-12-23 Black & Decker Inc. High inertia driver system
DE102014206076A1 (de) * 2014-03-31 2015-10-01 Robert Bosch Gmbh Handwerkzeugmaschine, Verfahren zum Betreiben
TWI659811B (zh) * 2014-08-28 2019-05-21 日商工機控股股份有限公司 釘入機
US10937021B2 (en) * 2014-12-03 2021-03-02 Trec Corporation Proprietary token-based universal payment processing system
CN105125276B (zh) * 2015-09-24 2017-08-11 北京市富乐科技开发有限公司 一种骨折内固定电动射钉枪
US20170361443A1 (en) 2016-06-20 2017-12-21 Black & Decker Inc. Cylindrical Integrated Valve Assembly
US11065749B2 (en) 2018-03-26 2021-07-20 Tti (Macao Commercial Offshore) Limited Powered fastener driver
US11130221B2 (en) 2019-01-31 2021-09-28 Milwaukee Electric Tool Corporation Powered fastener driver
EP4223456A3 (en) * 2020-03-13 2023-08-16 Black & Decker, Inc. Pipe clamp driver
CN114274099A (zh) * 2021-12-30 2022-04-05 广东万和电气有限公司 一种拧防电墙用工装

Citations (2)

* Cited by examiner, † Cited by third party
Publication number Priority date Publication date Assignee Title
JP2002154072A (ja) * 2000-09-29 2002-05-28 Hilti Ag 打ち込み装置
JP2008132591A (ja) * 2006-11-27 2008-06-12 Hilti Ag 固定素子用の手持ち式打ち込み装置

Family Cites Families (8)

* Cited by examiner, † Cited by third party
Publication number Priority date Publication date Assignee Title
US4821937A (en) * 1987-09-14 1989-04-18 Duo-Fast Corporation Guide for fastener driving tool
US5649661A (en) * 1995-03-28 1997-07-22 Max Co., Ltd. Equipment for nailing machine
JP4239731B2 (ja) * 2003-07-04 2009-03-18 マックス株式会社 動力駆動釘打機のコンタクト機構
ES2261026B1 (es) * 2004-08-03 2007-11-01 Pablo Albero Verdu Dispositivo para la condena de puertas.
DE102005000089B4 (de) * 2005-07-13 2023-02-09 Hilti Aktiengesellschaft Handgeführtes Eintreibgerät
TW200732103A (en) * 2006-02-24 2007-09-01 Basso Ind Corp Striking nail depth control structure of palm hammer
US20070267459A1 (en) * 2006-05-22 2007-11-22 Brad Yang Nail gun
US7513404B2 (en) * 2007-04-13 2009-04-07 Illinois Tool Works Inc. Depth of drive control with load transfer for fastener driver

Patent Citations (2)

* Cited by examiner, † Cited by third party
Publication number Priority date Publication date Assignee Title
JP2002154072A (ja) * 2000-09-29 2002-05-28 Hilti Ag 打ち込み装置
JP2008132591A (ja) * 2006-11-27 2008-06-12 Hilti Ag 固定素子用の手持ち式打ち込み装置

Also Published As

Publication number Publication date
JP5475348B2 (ja) 2014-04-16
EP2140980A1 (de) 2010-01-06
ES2386102T3 (es) 2012-08-09
EP2140980B1 (de) 2012-06-06
DE102008040131A1 (de) 2010-01-07
US7861905B2 (en) 2011-01-04
US20100001032A1 (en) 2010-01-07

Similar Documents

Publication Publication Date Title
JP5475348B2 (ja) 手持ち式打込み機
AU2007237210B2 (en) Hand-held drive-in tool
JP4893073B2 (ja) ピペット
KR102061119B1 (ko) 프레싱 공구
CN110997242B (zh) 打入机
JP2009538740A (ja) 切断装置
JP2000326167A (ja) クランプ装置
CN106062435B (zh) 驻车装置
JP2017148867A (ja) セット溶着装置のエレメント供給装置、セット溶着装置、並びに機械的熱セット溶着プロセスである接続方法
US8556150B2 (en) Hand-held drive-in tool
US8122578B2 (en) Method and apparatus of integrating work
JPWO2017138508A1 (ja) 接触充電システム、給電装置、受電装置及び接触充電方法
WO2014087934A1 (ja) 打込み工具
US20050194420A1 (en) Electromagnetically driven setting tool and method of driving same
JP5960914B2 (ja) 携帯型工具
KR101017630B1 (ko) 마찰용접용 유압척 구조
US11623330B2 (en) Driving tool
KR100851781B1 (ko) 포터블 스폿 용접기용 거치장치
JP4840407B2 (ja) 圧電部品を製造するための圧入装置
US11623269B2 (en) Device for compensating joining motions
CN219633055U (zh) 一种弹簧拧装工装
CN215575259U (zh) 一种汽车分电器检验用的夹紧装置
JP3931281B2 (ja) 電気抵抗溶接装置
JP2009274082A (ja) スポット溶接装置
JP2019107713A (ja) ねじ打機

Legal Events

Date Code Title Description
A621 Written request for application examination

Free format text: JAPANESE INTERMEDIATE CODE: A621

Effective date: 20120622

A977 Report on retrieval

Free format text: JAPANESE INTERMEDIATE CODE: A971007

Effective date: 20130912

A131 Notification of reasons for refusal

Free format text: JAPANESE INTERMEDIATE CODE: A131

Effective date: 20130924

A521 Request for written amendment filed

Free format text: JAPANESE INTERMEDIATE CODE: A523

Effective date: 20131220

TRDD Decision of grant or rejection written
A01 Written decision to grant a patent or to grant a registration (utility model)

Free format text: JAPANESE INTERMEDIATE CODE: A01

Effective date: 20140204

A61 First payment of annual fees (during grant procedure)

Free format text: JAPANESE INTERMEDIATE CODE: A61

Effective date: 20140206

R150 Certificate of patent or registration of utility model

Free format text: JAPANESE INTERMEDIATE CODE: R150

Ref document number: 5475348

Country of ref document: JP

Free format text: JAPANESE INTERMEDIATE CODE: R150

R250 Receipt of annual fees

Free format text: JAPANESE INTERMEDIATE CODE: R250

R250 Receipt of annual fees

Free format text: JAPANESE INTERMEDIATE CODE: R250

R250 Receipt of annual fees

Free format text: JAPANESE INTERMEDIATE CODE: R250

R250 Receipt of annual fees

Free format text: JAPANESE INTERMEDIATE CODE: R250

R250 Receipt of annual fees

Free format text: JAPANESE INTERMEDIATE CODE: R250

R250 Receipt of annual fees

Free format text: JAPANESE INTERMEDIATE CODE: R250

R250 Receipt of annual fees

Free format text: JAPANESE INTERMEDIATE CODE: R250

LAPS Cancellation because of no payment of annual fees