JP2010011960A - 照明装置 - Google Patents

照明装置 Download PDF

Info

Publication number
JP2010011960A
JP2010011960A JP2008173382A JP2008173382A JP2010011960A JP 2010011960 A JP2010011960 A JP 2010011960A JP 2008173382 A JP2008173382 A JP 2008173382A JP 2008173382 A JP2008173382 A JP 2008173382A JP 2010011960 A JP2010011960 A JP 2010011960A
Authority
JP
Japan
Prior art keywords
main body
endoscope
battery
illumination
outside
Prior art date
Legal status (The legal status is an assumption and is not a legal conclusion. Google has not performed a legal analysis and makes no representation as to the accuracy of the status listed.)
Granted
Application number
JP2008173382A
Other languages
English (en)
Other versions
JP5472875B2 (ja
Inventor
Hisamitsu Kobayashi
寿光 小林
Naoyuki Naito
直幸 内藤
Kunitoshi Ikeda
邦利 池田
Akiyoshi Matsubara
晃義 松原
Current Assignee (The listed assignees may be inaccurate. Google has not performed a legal analysis and makes no representation or warranty as to the accuracy of the list.)
Hoya Corp
National Cancer Center Japan
Original Assignee
Hoya Corp
National Cancer Center Japan
Priority date (The priority date is an assumption and is not a legal conclusion. Google has not performed a legal analysis and makes no representation as to the accuracy of the date listed.)
Filing date
Publication date
Application filed by Hoya Corp, National Cancer Center Japan filed Critical Hoya Corp
Priority to JP2008173382A priority Critical patent/JP5472875B2/ja
Publication of JP2010011960A publication Critical patent/JP2010011960A/ja
Application granted granted Critical
Publication of JP5472875B2 publication Critical patent/JP5472875B2/ja
Active legal-status Critical Current
Anticipated expiration legal-status Critical

Links

Images

Landscapes

  • Instruments For Viewing The Inside Of Hollow Bodies (AREA)
  • Endoscopes (AREA)

Abstract

【課題】内視鏡から照射される照明光とは別の方向から対象物を照明することにより、術者が対象物を従来より確実に視認できるようにした照明装置を提供する。
【解決手段】磁性体からなり対象物Aの外部に配設した磁力発生装置66が発生する磁力に吸引される本体部11と、本体部に固定した、本体部の外部に向かって照明光を発射する発光部18と、を備える。
【選択図】図6

Description

本発明は、内視鏡とは別体であり、内視鏡を利用して患者の体内に配置することが可能な照明装置に関する。
一般的に内視鏡は内視鏡とは別体である照明装置(画像処理装置を内蔵するプロセッサ)に接続され、さらに内視鏡の挿入部の先端面には照明レンズが設けてある。そのため、照明装置の内部に設けたランプを発光させると、ランプで発光した光は内視鏡の内部を通って照明レンズから内視鏡の外部に照射される。従って、術者が挿入部の先端部の向きを調整してこの照明光を患者の体内の患部に照射することにより、術者は患部の観察や処置を行うことができる。
特開平9−026548公報
しかし、挿入部の先端面に設けた処置具用開口と照明レンズの距離が近いので、処置具用開口から処置具を突出させた場合は、この処置具によって照明レンズから照射された照明光の一部が遮られ、患部に影が出来てしまうことがある。
また、内視鏡の挿入部の先端部に設けた観察窓(レンズ)を通して得られた観察像をモニタに表示すると、モニタの周辺部に映し出された観察像が中央部に映し出された観察像に比べて暗くなり易いという問題もある。
本発明は、内視鏡から照射される照明光とは別の方向から対象物を照明することにより、術者が対象物を従来より確実に視認できるようにした照明装置を提供することを目的とする。
本発明の照明装置は、内視鏡を利用することにより対象物内部に設置可能な、上記内視鏡とは別体の照明装置であって、本体部と、該本体部に固定した、該本体部の外部に向かって照明光を発射する発光部と、を備えることを特徴としている。
上記本体部に、上記内視鏡に挿入した把持鉗子によって把持可能な被把持部を形成するのが好ましい。
上記本体部の内部空間に、LED、ランプ、レーザー光源、マイクロ波光源のいずれかからなる上記発光部、該発光部に電力を供給するバッテリ、及び、上記発光部と電気的に接続すると共に上記バッテリの端子と対向する接触端子、を設け、上記本体部の表面に上記発光部で発生した照明光を外部に照射するための照射部を設け、上記本体部に形成した上記内部空間と本体部の外部とを連通する貫通孔に、内側端部が上記内部空間に位置し、かつ外側端部が本体部の外部に位置する絶縁部材を挿入し、該絶縁部材は、上記内側端部が上記接触端子と上記バッテリの端子の間に位置することにより該バッテリから上記発光部への電力の供給を遮断し、全体が上記貫通孔から外部に引き抜かれることにより、上記接触端子が上記バッテリの端子に接触して上記バッテリから発光部に電力が供給されるのを許容するようにしてもよい。
上記本体部が、磁性体からなり、上記対象物の外部に配設した磁力発生装置が発生する磁力によって吸引可能であるのが好ましい。
さらに、上記本体部に可撓性を有する連結部材の一端を接続し、該連結部材の他端に上記対象物を把持可能な把持部材を接続してもよい。
この場合は、上記本体部の内部空間に、LED、ランプ、レーザー光源、マイクロ波光源のいずれかからなる上記発光部、該発光部に電力を供給するバッテリ、上記発光部と電気的に接続する導電板、及び、上記バッテリの端子と電気的に接続する板ばねからなるスイッチ片、を設け、上記本体部の表面に上記発光部で発生した照明光を外部に照射するための照射部を設け、上記本体部に形成した上記内部空間と本体部の外部とを連通するスライド軸孔にスライド可能に嵌合し、その内側端部が上記板ばねに接続し、かつ、外側端部が上記連結部材に接続するスライド部材を設け、上記スイッチ片は、自由状態となることにより上記導電板から離間し、かつ、スライド部材が上記本体部の外側に引かれることにより上記導電板に接触するまで弾性変形するようにしてもよい。
本発明の照明装置は内視鏡とは別体なので、内視鏡の挿入部の先端から発射される照明光とは別の方向から対象物を照明できる。そのため、例えば内視鏡の先端から処置具を突出させた場合であっても、この処置具によって影が出来ないように対象物を照明することが可能である。
また、内視鏡の挿入部の先端からの照明光では照明できない(あるいは明るさが十分でない)部分を照明できるので、観察像をモニタに表示した場合にモニタに映し出された観察像全体を明るくすることが可能である。
従って、術者は対象物を従来より確実に視認できるようになる。
以下、本発明の第1の実施形態を、図1から図6を参照しながら詳しく説明する。
本実施形態の照明装置10Aは、内視鏡30の内部に挿入した把持鉗子50に把持された状態で患者Aの体内に運ばれ、かつ患者Aの体外に配置した磁気式誘導装置60の磁力によって吸引制御されるものである。
図1及び図2に示すように、照明装置10Aは強磁性体(例えば、純鉄、鉄合金のほか、プラチナマグネット、希土類磁石、テルビウム・ディスプロシウム・鉄合金などの磁石)からなりかつ略三角錐形状をなす本体部11を備えている。本体部11には、その頂点部から内部に向かって凹む収納凹部12が形成してあり、さらに本体部11の周面には環状凹部(被把持部)13が凹設してある。収納凹部12の開口端部には照明レンズ(照射部)14が嵌合してあり、さらに照明レンズ14の外面及び周面を覆う透光性材料からなるカバー(照射部)15の一対の係止爪16が収納凹部12の内面に係止している。
さらに図2に示すように、収納凹部12の内部には2つのバッテリ17(2つのバッテリ17は互いに電気的に導通している)とLED(発光部)18が重ねた状態で配設してある。LED18の回路基板19の端子20は一方のバッテリ17の端子に接触しており、回路基板19から延びるリード線21の端部に固定した接触端子22が他方のバッテリ17の端子に接触している。従って、本実施形態の照明装置10Aは、収納凹部12にバッテリ17、LED18(回路基板19、リード線21、接触端子22)を収納した後に、カバー15を介して照明レンズ14を本体部11に固定すると、照明レンズ14がLED18に当接することにより、回路基板19の端子20と一方のバッテリ17の端子が接触し、かつ接触端子22と他方のバッテリ17の端子が接触するので、LED18が点灯し照明レンズ14及びカバー15から外部に向けて照明光が照射される。
図3は照明装置10Aを患者Aの体内に運ぶための内視鏡30を示している。
内視鏡30は、術者が把持する操作部31と、操作部31から延びる挿入部32と、操作部31から挿入部32と反対側に向かって延び、端部にプロセッサ(光源装置兼画像処理装置。図示略)に接続するためのコネクタ部34を有するユニバーサルチューブ33と、を具備している。図1に示すように、挿入部32の先端面35には、一対の照明レンズ照明レンズ36と、直後(挿入部32の先端部内)に対物レンズと撮像素子(共に図示略)が位置する観察窓37と、処置具挿通路の出口開口38と、エア及び洗浄水を送るための送気送水孔39と、が設けてある。処置具挿通路の基端側開口部は、操作部31に突設した処置具挿通用突部40の端面に形成してある。
内視鏡30の上記処置具挿通路にはその基端側開口部(処置具挿通用突部40に装着したゴムキャップ41のスリット)から図1に示した把持鉗子50を挿入可能である。図示するように、把持鉗子50の先端部には開閉可能な一対の把持片51が設けてあり、この把持片51は把持鉗子50の基端部に設けた操作部(図示略)によって開閉操作可能である。
次に、図4及び図5を用いて、患者Aの体外において照明装置10Aを吸引制御する磁気式誘導装置60の構成について説明する。
患者Aを載せるベッド61の両側部には、一対のXYステージ62が配設してある。この一対のXYステージ62は、床面上をベッド61の長手方向に沿って同期しながら直線的にスライド(往復移動)するものであり、両XYステージ62の該長手方向の位置は常に一致する。さらに、ベッド61の上方には、ベッド61の長手方向と直交する平面内において互いに平行をなす、正面視略逆U字形の二つのレール64、レール65からなるフレーム/レール63が配設してあり、このフレーム/レール63の両端部は、左右のXYステージ62にそれぞれ固定してある。内側のレール64には、照明装置10Aを患者Aの体外において吸引制御する(本体部11に磁力を及ぼす)磁気誘導部材(磁力発生装置)66が摺動自在に装着してある。磁気誘導部材66は、その基体68に鉄心にコイルを巻いた構造の電磁石67を固定したものであり、電磁石67は常に患者A側を向いている(図4参照)。
フレーム/レール63の外側のレール65には、フレーム/レール63全体の重量バランスを保つためのカウンターウェイト69が摺動自在に装着してある。カウンターウェイト69は、磁気誘導部材66の位置に応じて、その位置を変更する。例えば、磁気誘導部材66が患者Aの正面側に位置するときは、カウンターウェイト69は患者Aの背面側に位置し、磁気誘導部材66が患者Aの背面側に位置するときは、カウンターウェイト69は患者Aの正面側に位置する。
そして、以上説明したXYステージ62、フレーム/レール63及び磁気誘導部材66が磁気式誘導装置60の構成要素である。
次に、患者Aの病変部Xの切除要領について説明する。
切除術の実施に先立っては、まず、図4及び図5に示すように、局所麻酔を施した患者Aをベッド61上に横たわらせる。このとき、XYステージ62を操作して、磁気誘導部材66をフレーム/レール63に沿って切除術開始時位置に移動させる(図4及び図5参照)。
次いで、あらかじめ図示を省略した可撓性を有するオーバーチューブを、内視鏡30の挿入部32の手元側に装着した状態で、図1に示すように、(上記プロセッサで発生した光を照明レンズ36から外部に照射した状態の)内視鏡30の上記処置具挿通路に把持鉗子50を挿入して把持片51を出口開口38から外部に突出させ、さらに把持鉗子50の上記操作部を操作して一対の把持片51で照明装置10Aの環状凹部13を把持する。そして、内視鏡30を患者Aの口から挿入し、挿入部32の先端部を臓器Bの内部に位置させる。この状態で、上記オーバーチューブを挿入部32に沿って患者Aの口から所定位置まで挿入する。次いで、把持鉗子50の把持片51を開いて把持鉗子50による照明装置10Aの把持状態を解除することにより、図6に示すように臓器Bの底部に照明装置10Aを載置する。
このように内視鏡30の挿入部32の先端を臓器B内に挿入すると、一対の照明レンズ36から照射された照明光によって臓器Bの内部が照明されるので、挿入部32の先端面35に設けた観察窓37から得られた臓器Bの観察像が、上記プロセッサに接続したテレビモニタ(図示)に写し出される。しかし、照明レンズ36からの照明光だけでは臓器Bの内壁全体を明るく照明できないので、テレビモニタの周辺部に映し出された観察像が中央部に映し出された観察像に比べて暗くなることがある。
そこで、臓器Bの内部に配置した照明装置10Aの臓器B内における位置及び向きを調整して、照明レンズ36から照射される照明光とは別の方向から照明装置10Aの照明光を臓器Bの内壁に照射する。この照明装置10Aの位置調整と方向調整は磁気式誘導装置60を用いて行う。具体的には、磁気式誘導装置60の磁気誘導部材66の発生磁界を強めたり位置を変え、本体部11を磁気誘導部材66側に吸引(移動)する。
このようにして照明装置10Aを所望の位置及び向きとなるように調整すると、照明レンズ36からの照明光だけでは照明できない(あるいは明るさが十分でない)部分を照明できるので、テレビモニタに映し出された観察像全体が明るくなる。そのため、テレビモニタの周辺部に映し出された観察像も明瞭に視認できるようになり、術者は臓器Bの内壁に出来ている病変部Xを容易に発見できるようになる。
このように病変部Xを発見したら、内視鏡30の上記処置具挿通路に高周波メス70を挿入し、高周波メス70の先端部71を出口開口38から臓器Bの内部に突出させる。一対の照明レンズ36と出口開口38の距離が近いので、仮に臓器Bの内部に照明装置10Aを配設せずに一対の照明レンズ36からの照明光のみで臓器Bの内部を照明する場合は、照明レンズ36から照射された光の一部が高周波メス70によって遮られ、その結果、病変部Xやその周辺部に影が出来ることがある。しかし、本実施形態のように照明装置10Aからの照明光を照明レンズ36の照明光とは異なる方向から臓器Bの内壁に照射する場合は、病変部Xやその周辺部に影が出来ることがないので、術者は高周波メス70によって病変部Xとその周辺の粘膜を確実に切除できる。
以上のようにして病変部Xの切除作業を終えたら、高周波メス70を内視鏡30から引き抜き、代わりに把持鉗子50を内視鏡30の上記処置具挿通路に挿入し、把持鉗子50の把持片51で切り取った病変部X及び粘膜を把持し、内視鏡30を患者Aの体内から外部に回収する。さらに、内視鏡30に挿入した把持鉗子50を利用して照明装置10Aを把持し、内視鏡30を患者Aの体外に引き出すことにより照明装置10Aを回収する。そして最後に、切除した部分の縫合、消毒などの処置を行う。
以上説明したように、本実施形態のように照明装置10Aを利用して内視鏡30の照明レンズ36とは別の方向から臓器Bの内壁を照明すれば、術者は従来に比べて臓器Bの内部の観察及び病変部Xの処置を簡単かつ確実に行うことができる。
次に、本発明の第2の実施形態について図7を参照しながら説明する。
なお、第1の実施形態と同じ部材には同じ符号を付すに止めて、その詳細な説明は省略する。
本実施形態の照明装置10Bの特徴は、本体部11を互いに分離可能な3つの部材から構成した点にある。即ち本体部11は、筒状をなす基部11Aと、基部11Aの内部に着脱可能に嵌合する筒状の内側筒状部11Bと、基部11A及び内側筒状部11Bの端部に着脱可能に接続する蓋部11Cと、を具備している。内側筒状部11Bには照明レンズ14及びカバー15を着脱可能に取り付けてあり、さらに内側筒状部11Bの内部に形成した収納凹部12には一対のバッテリ17とLED18(回路基板19、リード線21、接触端子22)が収納してある。
また、接触端子22と対向するバッテリ17の端子と、接触端子22との間には絶縁性かつ可撓性の材料からなる絶縁テープ(絶縁部材)80の一端(内側端部)が挟み込んであり、絶縁テープ80の他端(外側端部)は内側筒状部11Bに形成した貫通孔(図示略)を通って基部11Aの外側に突出している。
そして、内側筒状部11Bの端部に形成した一対の係止爪11B1を蓋部11Cの内面に形成した係止凹部11C1に係止すれば、基部11A及び内側筒状部11Bのカバー15側と反対側の端部に蓋部11Cが接続する(このとき、絶縁テープ80の中間部が基部11Aと蓋部11Cの間の隙間(貫通孔)に位置する)。
このような構造の照明装置10Bは、図7に示すように絶縁テープ80の内側端部が接触端子22とバッテリ17の端子の間に挟み込まれている状態にあっては、バッテリ17からLED18に電力が供給されないので消灯状態となる。一方、絶縁テープ80を引っ張って基部11Aと蓋部11Cの接合部の隙間から絶縁テープ80を照明装置10Bの外部に引き抜くと、接触端子22とバッテリ17の端子が接触するのでLED18が点灯する。
従って、照明装置10Bから絶縁テープ80を引き抜かない状態で内視鏡30に挿入した把持鉗子50で照明装置10Bを把持すれば、照明装置10Bを消灯した状態で患者Aの体内に運ぶことが出来る。そして、臓器Bの内部に運んだ後に、例えば把持鉗子50の把持片51で絶縁テープ80の外側端部を掴み絶縁テープ80を照明装置10Bの外部に引き抜けば、臓器Bの内部において照明装置10B(LED18)を点灯させることができる。
続いて、本発明の第3の実施形態を図8から図19を参照しながら詳しく説明する。
なお、従前の実施形態と同じ部材には同じ符号を付すに止めて、その詳細な説明は省略する。
本実施形態の照明装置10Cは把持部材100と一体化したものであり、かつ、内視鏡30の処置具挿通路30Aに挿入した操作装置120を介して内視鏡30に接続するものである。
まず図8及び図9を参照して、照明装置10C、連結ひも(連結部材)99、及び把持部材100からなる把持手段付照明装置90の構造について説明する。
照明装置10Cの形状は照明装置10Bと異なるが、基本構造は照明装置10Bと同じである。即ち、照明装置10Cの本体部91(材質は本体部11と同じ)は、基部11Aに相当する基部92と、内側筒状部11Bに相当する内側筒状部93と、蓋部11Cに相当する蓋部94と、を備えている。図示するように内側筒状部93の内部にはバッテリ17及びLED18(回路基板19、リード線21、接触端子22)が配設してあり、かつその開口端部にはカバー15に相当するカバー(照射部)96を介して照明レンズ14に相当する照明レンズ(照射部)95が設けてある。
蓋部94は略三角錐形状をなすものであり、その係止凹部97に内側筒状部93に設けた一対の係止爪98を係止することにより基部92及び内側筒状部93と一体化している。
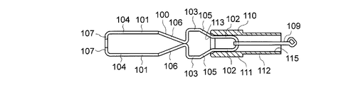
蓋部94の端部に形成した凹部には、柔軟性を有しかつ全体として環状をなす連結ひも99の一部が接続(固定)してある。連結ひも99としては、例えば、手術用縫合糸、釣糸、金属製ワイヤを利用可能である。さらに、この連結ひも99には金属等の弾性材料からなる把持部材100が接続してある。
把持部材100は一対の開閉片101を具備している。一対の開閉片101は共に、略平行な基端部102と、基端部102に連なる中間部103と、中間部103に連なる先端把持部104と、を具備している。中間部103における基端部102に連なる部分は第1傾斜部105となっており、先端把持部104における中間部103に連なる部分は第2傾斜部106となっている。さらに、両先端把持部104の先端には互いに対向する把持爪107が設けてある。なお、把持部材100を3枚以上の開閉片101から構成することも可能である。
図示するように、把持部材100の一対の開閉片101の間の隙間には、全体として環状をなしかつ可撓性を有する金属製のループワイヤ109が通してある。このループワイヤ109は、所定の切断力以上の強い力で牽引したときに切断するものである。
収納筒部材110は連結ひも99、把持部材100及びループワイヤ109の一部を収納するための部材であり、両端が開口する円筒形をなしている。収納筒部材110は大径部111と小径部112を具備している。大径部111側の開口縁部はテーパ面113となっており、大径部111と小径部112に跨る部分には一本のスリット114が設けてある。さらに、収納筒部材110の内部孔115の内径はその全長にわたって一定である。この収納筒部材110は、例えばステンレスやプラスチックや超弾性合金により成形することができる。
以上構成の把持手段付照明装置90の各構成部品を組み付けるには、まずスリット114を利用して照明装置10Cと一体化した連結ひも99を収納筒部材110の内部に通し、テーパ面113の内側を通して収納筒部材110の外部に引き出す。そして、ループワイヤ109と一体化させた把持部材100の一対の開閉片101の隙間に連結ひも99を通し、さらに収納筒部材110の小径部112側の端面開口部から紐あるいは先端にフック部を備える硬質部材からなる棒を挿入し、紐あるいはフック部を収納筒部材110のテーパ面113側の開口部から突出させる。そして、この紐あるいはフック部をループワイヤ109に引っ掛け、紐あるいは棒を小径部112側の端面方向に引っ張る。すると、図8に示すように把持手段付照明装置90が完成する。
把持手段付照明装置90が図8及び図9に示す状態にあるとき、把持部材100は一対の把持爪107が互いに接触する全閉状態となる。
この状態からループワイヤ109を把持爪107と反対方向に上記切断力より小さい力で引くと、図10に示すように、把持部材100の一対の第1傾斜部105がテーパ面113に接触することにより互いに近づく方向に弾性変形し、一対の中間部103が内部孔115内に収納される。すると、一対の中間部103が内部孔115の周面に接触することにより互いに近づく方向に弾性変形するので、この動きに連動して一対の先端把持部104が開き、把持部材100は図10に示す全開状態となる。
この状態からループワイヤ109を上記切断力より小さい力でさらに引くと、図11に示すように把持部材100の一対の第2傾斜部106が収納筒部材110の内部に引き込まれる。第2傾斜部106が内部孔115(テーパ面113)に接触することにより互いに近づく方向に弾性変形すると、図11に示すように一対の把持爪107が互いに接近するので、把持部材100は再度全閉状態となる。
図12等に示した操作装置120は、内視鏡30の処置具挿通用突部40(ゴムキャップ41のスリット)から処置具挿通路30Aの内部に挿入するものであり、挿入管121、挿入コイル122、規制管123及び操作ワイヤ129を具備している。
挿入管121は可撓性を有する筒状部材であり、挿入コイル122は挿入管121の内部に相対移動可能に挿入してある。規制管123は前部をなす大径部124と、後部をなしかつ挿入コイル122の先端部に嵌合固定される小径部125と、を備えている。大径部124の外径は挿入管121の内径より小さく、かつ、挿入コイル122の外径とほぼ同一に設定してある。さらに、大径部124の内径は小径部125の内径及び収納筒部材110の小径部112の外径より大きく設定してあり、大径部124の内周面と小径部125の内周面の接続部には環状段部126が形成してある。
挿入コイル122の内側には、先端にフック部材128を固定した操作ワイヤ129が相対移動可能に配設してある。さらに、挿入管121、挿入コイル122及び操作ワイヤ129の各基端部は、図示を省略した基端側操作部によって互いに軸方向に相対移動可能として結合してある。
次に、患者Aの病変部Xの切除要領について説明する。
まず、患者Aの体外において内視鏡30に把持手段付照明装置90と操作装置120を次の手順で取り付ける。
まず、内視鏡30の処置具挿通路30Aに操作装置120を挿通し、挿入管121の先端部を挿入部32の出口開口38から外部に僅かに突出させ、さらに規制管123の先端部を挿入管121の先端部から僅かに突出させる(図12参照)。次いで、上記基端側操作部を操作することにより操作ワイヤ129の先端部に固着したフック部材128を規制管123の前方に突出させる(図12参照)。
次いで、フック部材128の直前に把持手段付照明装置90のループワイヤ109を位置させ、フック部材128をループワイヤ109に引っ掛ける。そして、上記基端側操作部を操作することによりフック部材128を操作ワイヤ129の基端側に引っ張る。すると把持部材100の一対の第1傾斜部105が収納筒部材110のテーパ面113に接触するので、操作ワイヤ129の牽引力が収納筒部材110に及び、収納筒部材110の小径部112が環状段部126に当接するまで大径部124の内部に引き込まれる(図13参照)。このようにして規制管123の内部に小径部112を収納しても、収納筒部材110のスリット114の前端部は規制管123の大径部124より前方に位置するので(図13等参照)、連結ひも99をスリット114の前端部から外部へ引き出すことができる。
続いて、上記基端側操作部を操作することにより挿入管121を前方に押し出すと、図14に示すように把持部材100及び収納筒部材110が挿入管121の内部に収納され、かつ照明装置10C(本体部91)の端部が挿入管121の先端部に嵌合する。
そして、最後に上記状態を保持したまま基端側操作部を操作することにより挿入管121、挿入コイル122及び操作ワイヤ129を基端側に引くと、図14に示すように照明装置10Cが処置具挿通路30Aの出口開口38に嵌合するので、把持手段付照明装置90及び操作装置120が内視鏡30と一体になる。
次いで、把持手段付照明装置90及び操作装置120と一体となった内視鏡30の挿入部32の手元側にオーバーチューブを装着し、挿入部32の先端部及び照明装置10Cを臓器B内に挿入する。そして、図15に示すように、内視鏡30の操作部31に回転可能に設けた回転操作レバーL(図3参照)を回転させることにより挿入部32の先端部近傍を構成する湾曲部を湾曲させ、挿入部32の先端部を臓器Bの上部に接近させる。この状態で、上記オーバーチューブを挿入部32に沿って患者Aの口から所定位置まで挿入する。さらに、挿入管121を先端側方向に移動させて、挿入管121及び照明装置10Cを内視鏡30から離間させる。さらに、挿入コイル122と操作ワイヤ129を操作することによって規制管123と共に収納筒部材110を挿入管121に対して上方に相対移動させると、この動作にともなって把持部材100が収納筒部材110と一緒に上方に移動するので、把持部材100の先端(把持爪107)が照明装置10Cの端面に当接する。収納筒部材110をさらに上方に移動させると、挿入管121の先端部に嵌合している照明装置10Cが把持部材100(把持爪107)によって上方に押し出され(挿入管121から外れ)、かつ収納筒部材110が挿入管121の上方に突出する(図15参照)。
次いで、(上記切断力より小さい力で)操作ワイヤ129を基端側に引っ張ると、ループワイヤ109及び把持部材100が収納筒部材110に対して下方に相対移動するので、図10に示すように把持部材100の一対の開閉片101が全開状態になる。
次いで、挿入コイル122、規制管123及び操作ワイヤ129を一体的に上方に移動させることにより全開状態となった把持部材100を臓器Bの上部に近づけて、把持部材100の把持爪107が所望の位置に来たところで操作ワイヤ129を(上記切断力より小さい力で)挿入コイル122及び規制管123に対して相対的に基端側に移動させる。すると、図11及び図16に示すように把持部材100が全閉状態となるので、把持部材100の一対の把持爪107が臓器Bの上部を把持する(図16参照)。
この状態で、操作ワイヤ129を上記切断力以上の強い力で引くと、図17に示すようにループワイヤ109が切断する。そのため、把持手段付照明装置90が内視鏡30から完全に分離する(図18参照)。
次いで、内視鏡30の処置具挿通路30Aから操作装置120を引き抜き、代わりに把持鉗子50を処置具挿通路30Aに挿入する。そして、一対の把持片51で照明装置10Cの絶縁テープ80の外側端部を把持し、絶縁テープ80を照明装置10Cから引き抜く。すると、照明装置10Cの内部において接触端子22とバッテリ17の端子が接触するので、バッテリ17からLED18に電力が供給され、LED18で発生した照明光が照明レンズ95及びカバー96から照明装置10Cの外部に照射される。
続いて、図19に示した磁気誘導部材66の発生磁界を強めることによって、照明装置10Cを磁気誘導部材66側に吸引すると、連結ひも99全体が緊張し、かつ照明装置10Cが磁気誘導部材66側に移動する。すると、照明装置10Cの照明光が内視鏡30の照明レンズ36とは異なる方向から臓器Bの内面を照射するので、テレビモニタに映し出された観察像全体が明るくなる。
また、図19に示すように把持鉗子50の代わりに内視鏡30の処置具挿通路30Aに挿入した高周波メス70によって病変部Xを臓器Bから切除する際に、病変部Xやその周辺部に影が出来るのを防止できる。
従って、術者は高周波メス70によって病変部Xとその周辺の粘膜を確実に切除できる。
切除が終わったら、内視鏡30の処置具挿通路30Aに把持鉗子50を挿入し、把持鉗子50の把持片51によって把持手段付照明装置90(例えば照明装置10Cの連結ひも99)を把持して把持部材100を臓器Bから引き離し、内視鏡30を患者Aの体外に引き出すことにより照明装置10Cを回収する。
以上、本発明の第3の実施形態について説明したが、複数の把持手段付照明装置90を臓器Bに取り付けてもよい。
図20はその一例であり、2つの把持手段付照明装置90の把持部材100で臓器Bの内壁を把持し、磁気誘導部材66の磁力を利用して2つの照明装置10Cの照明光を病変部X側に向けて照射している。
このように複数の照明装置10Cを用いると、臓器Bの内部をより明るく照明できるので、術者は臓器Bの内部の観察や処置をより正確に行うことが可能になる。
また、図21に示すように発光部としてLED18の代わりにレーザー光源(図示略)を内蔵する照明装置10Dを備える把持手段付照明装置90’を臓器Bに取り付けて、レーザー光LRを病変部Xに照射するようにしてもよい。このようにすれば単に照明するだけでなく、加温療法を行えるようになる。さらに、レーザー光源の代わりにマイクロ波光源を内臓させてもよい。また、PDT、ハイパーサーミア、赤外線観察、NBIなどの光源となるものを利用してもよい。この場合も磁気誘導によるアンカー固定により所望の箇所を照明/照射できる。
以上、本発明について上記各実施形態を利用して説明したが、本発明は様々な変更を施しながら実施可能である。
例えば、複数の照明装置10Aや複数の照明装置10Bを臓器Bの内部に配置したり、照明装置10Aや照明装置10Bの内部にレーザー光源やマイクロ波光源を設けても良い。
また、照明装置10A、10B、10Cに内蔵する光源として、バッテリ17から供給される電力によって点灯するランプを用いてもよい。
さらに、照明装置10Cや照明装置10Dに環状凹部13を形成してもよい。このようにすれば、切除術終了後に把持鉗子50によって照明装置10Cや照明装置10Dの環状凹部13を把持できるので、照明装置10C(把持手段付照明装置90)や照明装置10D(把持手段付照明装置90’)の回収作業が容易になる。
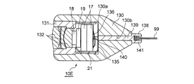
さらに、図22及び図23に示す構造の照明装置10Eを採用することも可能である。この照明装置10Eはの形状は照明装置10Cと異なるが基本構造は同じである。即ち、照明装置10Cの本体部91に相当する本体部130(材質は本体部11と同じ)と、内側筒状部93に相当する内側筒状部131と、照明レンズ132と、を備えている。図示するように内側筒状部131の内部にはバッテリ17及びLED18(回路基板19)が内蔵してあり、リード線21の回路基板19と反対側の端部は本体部130の収納凹部130aの底部に固定した導電板135に接続している。また、導電板135と対向するバッテリ17の端子には板ばねからなるスイッチ片136の一端が固定してある。
さらに、本体部130の小径側端部の端面には、該端面と収納凹部130aを接続する円柱形状の軸孔130bが形成してあり、この軸孔130bには、スライド部材138のスライド軸139がスライド可能に嵌合している。スライド軸139の外形は収納凹部130aと略同一であり、その内側端部には導電板135の貫通孔(図示略)を貫通してスイッチ片136に接続する接続突部140が一体的に設けてある。また、スライド軸139の外側端部にはスライド軸139より大径の大径部141が一体的に設けてあり、この大径部141に連結ひも99が接続している。
スイッチ片136は自身の弾性力によって図22に示す自由状態に復帰しようとするので、連結ひも99に張力が掛からないとき、スライド部材138はスイッチ片136の弾性力によってバッテリ17側に付勢され図22に示す非点灯位置に位置する。このとき、大径部141が本体部130の小径側端面に当接し、スイッチ片136と導電板135は非接触となる。従って、この状態では照明装置10Eは非点灯状態となる。
一方、本体部130が磁気誘導部材66の磁力によって吸引されるなどして連結ひも99に張力が掛かると、本体部130がスライド部材138に対してスライドするので、本体部130とスライド部材138の相対位置は図23の状態になる。すると、接続突部140と接続したスイッチ片136が弾性変形して導電板135に接触するので、照明装置10Eは点灯状態となる。
また、上記各実施形態の各本体部を非磁性体によって構成してもよい。この場合、照明装置は磁気式誘導装置60によって移動制御することができないが、各照明装置の向きを調整しながら各照明装置を患者の体内に載置すれば、この照明装置によっても、内視鏡30の照明レンズ36とは別の方向から患者の体内を照明可能である。
本発明の第1の実施形態の照明装置と内視鏡の先端部の斜視図である。 照明装置の縦断面図である。 内視鏡の全体図である。 磁気式誘導装置を患者の頭部側から見た図である。 磁気式誘導装置の側面図である。 臓器内に照明装置を配置した状態を示す図である。 本発明の第2の実施形態の照明装置の縦断面図である。 本発明の第3の実施形態の照明装置と把持装置の縦断面図である。 図8のXI−XI矢線に沿う把持装置の断面図である。 把持部材が全開状態にあるときの図9と同様の断面図である。 把持部材が全閉状態になったときの図6と同様の断面図である。 挿入部の先端から、挿入管、挿入コイル、及びフック部材が突出した状態を示す、内視鏡先端部の拡大縦断側面図である。 照明装置及び把持装置を操作装置に接続した状態を示す拡大縦断側面図である。 照明装置及び把持装置の内視鏡の挿入部への装着が完了したときの挿入部、照明装置、把持装置、操作装置及び内視鏡先端部の拡大縦断側面図である。 臓器内において、照明装置及び把持装置を挿入管から外部に押し出し、かつ把持部材を開いた状態を示す図14と同様の拡大縦断側面図である。 把持部材が患部を把持したときの図14と同様の拡大縦断側面図である。 ループワイヤが切断したときの図14と同様の拡大縦断側面図であるである。 照明装置及び把持装置が内視鏡から完全に切り離されたときの臓器、照明装置、及び把持装置の拡大縦断側面図である。 把持部材が臓器の内壁を把持した状態で照明装置を用いて病変部の照明と処置を行っている状態を示す拡大縦断側面図である。 第3の実施形態の変形例の図19と同様の拡大縦断側面図である。 第3の実施形態の別の変形例の図19と同様の拡大縦断側面図である。 本発明の第4の実施形態の照明装置の消灯状態の縦断面図である。 同じく点灯状態の縦断面図である。
符号の説明
10A 10B 10C 10D 10E 照明装置
11 本体部
11A 基部
11B 内側筒状部
11B1 係止爪
11C 蓋部
11C1 係止凹部
12 収納凹部
13 環状凹部(被把持部)
14 照明レンズ(照射部)
15 カバー(照射部)
16 係止爪
17 バッテリ
18 LED(発光部)
19 回路基板
20 端子
21 リード線
22 接触端子
30 内視鏡
30A 処置具挿通路
31 操作部
32 挿入部
33 ユニバーサルチューブ
34 コネクタ部
35 先端面
36 照明レンズ
37 観察窓
38 処置具挿通路の出口開口
39 送気送水孔
40 処置具挿通用突部
50 把持鉗子
51 把持片
60 磁気式誘導装置
61 ベッド
62 XYステージ
63 フレーム/レール(一平面内動機構)
64 65 レール
66 磁気誘導部材(磁力発生装置)
67 電磁石
68 基体
69 カウンターウェイト
70 高周波メス
71 先端部
80 絶縁テープ(絶縁部材)
90 90’ 把持手段付照明装置
91 本体部
92 基部
93 内側筒状部
94 蓋部
95 照明レンズ(照射部)
96 カバー(照射部)
97 係止凹部
98 係止爪
99 連結ひも(連結部材)
100 把持部材
101 開閉片
102 基端部
103 中間部
104 先端把持部
105 第1傾斜部(第1接触部)
106 第2傾斜部
107 把持爪
109 ループワイヤ
110 収納筒部材
111 大径部
112 小径部
113 テーパ面
114 スリット
115 内部孔
120 操作装置
121 挿入管
122 挿入コイル
123 規制管
124 大径部
125 小径部
126 環状段部
128 フック部材
129 操作ワイヤ(牽引部材)
130 本体部
130a 収納凹部
130b 軸孔
131 内側筒状部
132 照明レンズ(照射部)
135 導電板
136 スイッチ片
138 スライド部材
139 スライド軸
140 接続突部
141 大径部
A 患者(対象物)
A1 頭部
B 臓器
LR レーザー光
X 病変部(対象部位)

Claims (6)

  1. 内視鏡を利用することにより対象物内部に設置可能な、上記内視鏡とは別体の照明装置であって、
    本体部と、
    該本体部に固定した、該本体部の外部に向かって照明光を発射する発光部と、
    を備えることを特徴とする照明装置。
  2. 請求項1記載の照明装置において、
    上記本体部に、上記内視鏡に挿入した把持鉗子によって把持可能な被把持部を形成した照明装置。
  3. 請求項1または2記載の照明装置において、
    上記本体部の内部空間に、LED、ランプ、レーザー光源、マイクロ波光源のいずれかからなる上記発光部、該発光部に電力を供給するバッテリ、及び、上記発光部と電気的に接続すると共に上記バッテリの端子と対向する接触端子、を設け、
    上記本体部の表面に上記発光部で発生した照明光を外部に照射するための照射部を設け、
    上記本体部に形成した上記内部空間と本体部の外部とを連通する貫通孔に、内側端部が上記内部空間に位置し、かつ外側端部が本体部の外部に位置する絶縁部材を挿入し、
    該絶縁部材は、上記内側端部が上記接触端子と上記バッテリの端子の間に位置することにより該バッテリから上記発光部への電力の供給を遮断し、全体が上記貫通孔から外部に引き抜かれることにより、上記接触端子が上記バッテリの端子に接触して上記バッテリから発光部に電力が供給されるのを許容する照明装置。
  4. 請求項1から3のいずれか1項記載の照明装置において、
    上記本体部が、磁性体からなり、上記対象物の外部に配設した磁力発生装置が発生する磁力によって吸引可能である照明装置。
  5. 請求項1から4のいずれか1項記載の照明装置において、
    上記本体部に可撓性を有する連結部材の一端を接続し、
    該連結部材の他端に上記対象物を把持可能な把持部材を接続した照明装置。
  6. 請求項5記載の照明装置において、
    上記本体部の内部空間に、LED、ランプ、レーザー光源、マイクロ波光源のいずれかからなる上記発光部、該発光部に電力を供給するバッテリ、上記発光部と電気的に接続する導電板、及び、上記バッテリの端子と電気的に接続する板ばねからなるスイッチ片、を設け、
    上記本体部の表面に上記発光部で発生した照明光を外部に照射するための照射部を設け、
    上記本体部に形成した上記内部空間と本体部の外部とを連通するスライド軸孔にスライド可能に嵌合し、その内側端部が上記板ばねに接続し、かつ、外側端部が上記連結部材に接続するスライド部材を設け、
    上記スイッチ片は、自由状態となることにより上記導電板から離間し、かつ、スライド部材が上記本体部の外側に引かれることにより上記導電板に接触するまで弾性変形する照明装置。
JP2008173382A 2008-07-02 2008-07-02 照明装置 Active JP5472875B2 (ja)

Priority Applications (1)

Application Number Priority Date Filing Date Title
JP2008173382A JP5472875B2 (ja) 2008-07-02 2008-07-02 照明装置

Applications Claiming Priority (1)

Application Number Priority Date Filing Date Title
JP2008173382A JP5472875B2 (ja) 2008-07-02 2008-07-02 照明装置

Publications (2)

Publication Number Publication Date
JP2010011960A true JP2010011960A (ja) 2010-01-21
JP5472875B2 JP5472875B2 (ja) 2014-04-16

Family

ID=41698709

Family Applications (1)

Application Number Title Priority Date Filing Date
JP2008173382A Active JP5472875B2 (ja) 2008-07-02 2008-07-02 照明装置

Country Status (1)

Country Link
JP (1) JP5472875B2 (ja)

Citations (7)

* Cited by examiner, † Cited by third party
Publication number Priority date Publication date Assignee Title
JPH0217709U (ja) * 1988-07-18 1990-02-06
WO2005053517A1 (ja) * 2003-12-01 2005-06-16 Olympus Corporation 内視鏡システム
JP2006087520A (ja) * 2004-09-21 2006-04-06 Pentax Corp 内視鏡
JP2006087519A (ja) * 2004-09-21 2006-04-06 Pentax Corp 内視鏡
JP2007020806A (ja) * 2005-07-14 2007-02-01 Olympus Corp 生体内撮像装置、表示装置、およびこれらを用いた撮像表示システム並びに被検体内留置システム
WO2007078003A1 (ja) * 2006-01-06 2007-07-12 Olympus Medical Systems Corp. 経自然開口的または経皮的な医療システム
JP2007175447A (ja) * 2005-12-28 2007-07-12 Olympus Medical Systems Corp 被検体内観察システム

Patent Citations (7)

* Cited by examiner, † Cited by third party
Publication number Priority date Publication date Assignee Title
JPH0217709U (ja) * 1988-07-18 1990-02-06
WO2005053517A1 (ja) * 2003-12-01 2005-06-16 Olympus Corporation 内視鏡システム
JP2006087520A (ja) * 2004-09-21 2006-04-06 Pentax Corp 内視鏡
JP2006087519A (ja) * 2004-09-21 2006-04-06 Pentax Corp 内視鏡
JP2007020806A (ja) * 2005-07-14 2007-02-01 Olympus Corp 生体内撮像装置、表示装置、およびこれらを用いた撮像表示システム並びに被検体内留置システム
JP2007175447A (ja) * 2005-12-28 2007-07-12 Olympus Medical Systems Corp 被検体内観察システム
WO2007078003A1 (ja) * 2006-01-06 2007-07-12 Olympus Medical Systems Corp. 経自然開口的または経皮的な医療システム

Also Published As

Publication number Publication date
JP5472875B2 (ja) 2014-04-16

Similar Documents

Publication Publication Date Title
US7169104B2 (en) Magnetic anchor remote guidance system
US20070157937A1 (en) Medical procedure via natural opening
US20110125032A1 (en) Devices and Methods for the Treatment of Endometriosis
JP2004344427A (ja) 内視鏡用磁気アンカー誘導システム、及び磁気アンカー誘導システムを用いた内視鏡による処置方法
KR101801393B1 (ko) 수술용 내시경에 있어서 수술용 도구를 교체하기 위한 수술용 내시경 및 프로세스
US20210007788A1 (en) End effector enabling grasping of tissue and plasma radiation to tissue, and endoscopic system comprising said end effector
JP5472875B2 (ja) 照明装置
US8764770B2 (en) Suturing device for organ
JP4349850B2 (ja) 内視鏡用アンカー遠隔誘導システム
JP5224279B2 (ja) 内視鏡用磁気アンカー誘導装置
JP4320202B2 (ja) 内視鏡用アンカー遠隔誘導システム及び内視鏡用誘導装置
JP2004024618A (ja) 蛍光観察内視鏡用処置具
JP4360838B2 (ja) 内視鏡用アンカー遠隔誘導システム
JP6049583B2 (ja) 喉頭鏡及びこれを用いた医療システム
JPH10108824A (ja) 手術用照明装置
JP2005006753A (ja) 内視鏡用アンカー遠隔誘導システム、及びアンカー遠隔誘導システムを用いた内視鏡による処置方法
JP2004194827A (ja) 内視鏡装置
JP2004344488A (ja) 内視鏡用アンカー誘導システム、及びアンカー誘導システムを用いた内視鏡による処置方法
JP4341739B2 (ja) 内視鏡用誘導手段誘導システム、及び内視鏡用誘導装置
JP4349859B2 (ja) 内視鏡用アンカー遠隔誘導システム
JP5360753B2 (ja) 磁気アンカー誘導用磁力発生装置、磁気アンカー牽引モニタリングシステム、及び磁気牽引力自動切り替え機能付き磁気アンカーモニタリングシステム
JP3657624B2 (ja) 体腔鏡下外科手術器具
JP4243977B2 (ja) 内視鏡用アンカー誘導システム
JP2004337273A (ja) 内視鏡用アンカー遠隔誘導システム、及びアンカー遠隔誘導システムを用いた内視鏡による処置方法
JP5224278B2 (ja) 内視鏡用アンカー付把持装置

Legal Events

Date Code Title Description
A711 Notification of change in applicant

Free format text: JAPANESE INTERMEDIATE CODE: A712

Effective date: 20100507

A521 Request for written amendment filed

Free format text: JAPANESE INTERMEDIATE CODE: A821

Effective date: 20100712

RD02 Notification of acceptance of power of attorney

Free format text: JAPANESE INTERMEDIATE CODE: A7422

Effective date: 20100712

A621 Written request for application examination

Free format text: JAPANESE INTERMEDIATE CODE: A621

Effective date: 20110523

A521 Request for written amendment filed

Free format text: JAPANESE INTERMEDIATE CODE: A523

Effective date: 20110707

A521 Request for written amendment filed

Free format text: JAPANESE INTERMEDIATE CODE: A523

Effective date: 20110928

A977 Report on retrieval

Free format text: JAPANESE INTERMEDIATE CODE: A971007

Effective date: 20121127

A131 Notification of reasons for refusal

Free format text: JAPANESE INTERMEDIATE CODE: A131

Effective date: 20121204

A521 Request for written amendment filed

Free format text: JAPANESE INTERMEDIATE CODE: A523

Effective date: 20130121

A131 Notification of reasons for refusal

Free format text: JAPANESE INTERMEDIATE CODE: A131

Effective date: 20130924

A521 Request for written amendment filed

Free format text: JAPANESE INTERMEDIATE CODE: A523

Effective date: 20131029

TRDD Decision of grant or rejection written
A01 Written decision to grant a patent or to grant a registration (utility model)

Free format text: JAPANESE INTERMEDIATE CODE: A01

Effective date: 20140107

A61 First payment of annual fees (during grant procedure)

Free format text: JAPANESE INTERMEDIATE CODE: A61

Effective date: 20140128

R150 Certificate of patent or registration of utility model

Ref document number: 5472875

Country of ref document: JP

Free format text: JAPANESE INTERMEDIATE CODE: R150

Free format text: JAPANESE INTERMEDIATE CODE: R150

S531 Written request for registration of change of domicile

Free format text: JAPANESE INTERMEDIATE CODE: R313531

R350 Written notification of registration of transfer

Free format text: JAPANESE INTERMEDIATE CODE: R350

R250 Receipt of annual fees

Free format text: JAPANESE INTERMEDIATE CODE: R250

R250 Receipt of annual fees

Free format text: JAPANESE INTERMEDIATE CODE: R250

R250 Receipt of annual fees

Free format text: JAPANESE INTERMEDIATE CODE: R250

R250 Receipt of annual fees

Free format text: JAPANESE INTERMEDIATE CODE: R250

R250 Receipt of annual fees

Free format text: JAPANESE INTERMEDIATE CODE: R250

R250 Receipt of annual fees

Free format text: JAPANESE INTERMEDIATE CODE: R250

R250 Receipt of annual fees

Free format text: JAPANESE INTERMEDIATE CODE: R250

R250 Receipt of annual fees

Free format text: JAPANESE INTERMEDIATE CODE: R250

R250 Receipt of annual fees

Free format text: JAPANESE INTERMEDIATE CODE: R250

R250 Receipt of annual fees

Free format text: JAPANESE INTERMEDIATE CODE: R250