JP2010011152A - 基地局装置及び基地局間同期方法 - Google Patents
基地局装置及び基地局間同期方法 Download PDFInfo
- Publication number
- JP2010011152A JP2010011152A JP2008168913A JP2008168913A JP2010011152A JP 2010011152 A JP2010011152 A JP 2010011152A JP 2008168913 A JP2008168913 A JP 2008168913A JP 2008168913 A JP2008168913 A JP 2008168913A JP 2010011152 A JP2010011152 A JP 2010011152A
- Authority
- JP
- Japan
- Prior art keywords
- wave
- sampling
- base station
- timing
- known signal
- Prior art date
- Legal status (The legal status is an assumption and is not a legal conclusion. Google has not performed a legal analysis and makes no representation as to the accuracy of the status listed.)
- Granted
Links
- 238000000034 method Methods 0.000 title claims description 24
- 238000005070 sampling Methods 0.000 claims abstract description 100
- 230000005540 biological transmission Effects 0.000 claims abstract description 66
- 238000012935 Averaging Methods 0.000 claims abstract description 53
- 238000012545 processing Methods 0.000 claims abstract description 27
- 238000001514 detection method Methods 0.000 claims description 40
- 238000004891 communication Methods 0.000 description 18
- 238000010586 diagram Methods 0.000 description 8
- 230000006870 function Effects 0.000 description 7
- 238000004590 computer program Methods 0.000 description 5
- 230000001360 synchronised effect Effects 0.000 description 3
- 238000004364 calculation method Methods 0.000 description 2
- 238000006243 chemical reaction Methods 0.000 description 1
- 238000012986 modification Methods 0.000 description 1
- 230000004048 modification Effects 0.000 description 1
Images
Landscapes
- Synchronisation In Digital Transmission Systems (AREA)
- Mobile Radio Communication Systems (AREA)
Abstract
【解決手段】 本発明の基地局装置BS1は、基地局装置BS2からの受信波の一部をプリアンブルの送信周期に対応する時間幅で複数に分割しサンプリングすることで複数のサンプリング波を取得するサンプリング部11と、サンプリング部11によりサンプリングされた前記複数のサンプリング波を互いに加算して平均化処理することで被検出波を取得する平均化処理部12と、平均化処理部12により取得される前記被検出波に基づいてプリアンブル波の送信タイミングを検出するタイミング検出部13とを備えており、タイミング検出部13により検出されたプリアンブル波の送信タイミングに基づいて基地局間同期を行う。
【選択図】 図2
Description
このため、移動端末の基地局間移動をスムーズに行うには、隣接する基地局間で、送信タイミング及び搬送波周波数が揃っている基地局間同期が確保されている必要がある。
ここで、基地局間同期のための技術としては、例えば、下記特許文献1記載のものがある。
しかし、GPS信号を利用して同期をとる場合、各基地局装置が、GPS受信機を備える必要があり、大型化・コストアップを招く。また、室内等のGPS信号を受信できない環境に設置される基地局装置の場合、基地局間同期をとることが不可能になる。
この場合、移動端末との通信を行う周波数と同じ周波数を用いた無線通信で同期をとれるので、GPS信号を受信する場合のGPS受信機のように同期用の特別な受信系が必要ない。このため、基地局の小型化・コストダウンを図ることができ、室内等に設置される小型の基地局として適したものとなる。
各基地局装置BS1,BS2は、それぞれがカバーするエリア(セル)E1,E2内にある移動端末MSとの間で通信が可能である。
プリアンブルは、基地局装置が移動端末に向けて送信する既知信号である。ダウンリンクサブフレームは、基地局装置が移動端末に向けて送信する下りユーザデータ信号が格納される範囲である。また、アップリンクサブフレームは、移動端末が基地局装置に向けて送信する上りユーザデータ信号が格納される範囲である。
すなわち、基地局装置が送信する送信信号は、上記プリアンブルを含んで構成されており、さらに、前記送信信号に含まれるプリアンブルは、基本フレームFの時間幅により定まる一定の周期(5msec)で移動端末に向けて送信される。
例えば、図1に示すように、移動端末MSがエリアE2からエリアE1に移動する基地局間移動を行う場合、移動端末MSは、現在通信を行っている基地局装置BS2、及び次に通信を行う基地局装置BS1の両方に対して通信を行うことになるが、図2に示すように、隣接している基地局装置BS1,BS2で同期(基地局間同期)がとれていると、移動端末MSからみて、各基地局装置BS1,BS2からの送信タイミング(ダウンリンクサブフレームのタイミング)と、各基地局装置BS1,BS2の受信タイミング(アップリンクサブフレームのタイミング)とが、それぞれ一致する。この結果、移動端末MSは、二つの基地局装置からの信号を受信することができ、スムーズに基地局間移動が行える。
以下の説明では、移動端末MSがエリアE2からエリアE1に移動する基地局間移動を行う場合において(図1参照)、基地局装置BS1が他の基地局装置としての基地局装置BS2との間で基地局間同期をとる際の手順に沿って、その機能を説明する。
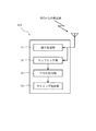
図3は、基地局装置BS1の前記プロセッサが前記コンピュータプログラムを実行することによって実現される機能を示すブロック図である。
図3のように、基地局装置BS1は、他の基地局装置(基地局装置BS2)の受信波から後述する複数のサンプリング波を取得するサンプリング部11と、サンプリング部11により取得された複数のサンプリング波について平均化処理を行う平均化処理部12と、プリアンブル波の送信タイミングを検出するタイミング検出部13と、移動端末MSからの受信波について信号処理を行う信号処理部14とを有している。
信号処理部14は、図示しないFFTや、復調器等を有しており、基地局装置BS2との間で基地局間同期をとり、移動端末MSとの間で通信を確立した後の高速フーリエ変換、復調処理といった信号処理を行いデータ信号を取得するための機能を有している。
図4は、基地局装置BS1による、サンプリング波の取得、及び平均化処理の態様を示した図である。図4において、基地局装置BS1が基地局装置BS2からの受信波を受信すると、サンプリング部11は、まず、プリアンブルの送信周期に対応する時間幅(5msec)で、前記受信波の一部を複数に分割してサンプリングすることで、複数のサンプリング波を取得する。図4では、4つのサンプリング波を取得した場合を例示している。
また、サンプリング波は、ダウンリンクサブフレームに格納された下りユーザデータ信号に相当する下りデータ波成分Dも含んでいる。
さらに、移動端末MSから基地局装置BS2に向けて送信されるアップリンクサブフレームに格納された上りユーザデータ信号も、上記プリアンブル、下りユーザデータ信号と同じ帯域で送信されているため、基地局装置BS1は、前記上りユーザデータ信号も受信しており、サンプリング波は、この上りユーザデータ信号に相当する上りデータ波成分Uも含んでいる。
また、サンプリング波は、雑音成分Nも含んでいる。
なお、サンプリング部11は、上述のように、信号処理部14による復調処理を行う前段階の処理を行うものであり、図4においては、理解を容易とするために、前記受信波、サンプリング波、及びこれらを構成する各成分を模式的に示している。
ここで、プリアンブルは既知信号であり、各基本フレームにおいては、基本的に同一のプリアンブルが送信されるので、その信号波形においても、同一の波形で送信される。
すなわち、各サンプリング波に含まれるプリアンブル波は、それぞれ同じ信号波形を採るため、平均化処理部12がサンプリング波を加算すると、プリアンブル波成分Pは、互いに加算されることで、相対的に高い電力値(出力)となる。
一方、各サンプリング波に含まれる両データ波は、基本フレームFごとにデータ信号が異なるため、それぞれ異なる信号波形を採る。このため、平均化処理部12がサンプリング波を加算すると、両データ波成分D,Uは、互いに加算されることで、電力値は相対的に小さくなる。さらに、上記受信波には雑音成分Nも含まれているが、雑音成分も互いに加算されることでその電力値は相対的に小さくなる。
従って、平均化処理によって得られる被検出波においては、図4に示すように、雑音成分N及び両データ波成分D,Uは平均化され相対的に低い電圧値として現れるが、プリアンブル波成分Pは、相対的に高い電力値として現れる。このため、被検出波においては、プリアンブル波成分Pが強調されて現れることとなる。
タイミング検出部13は、既知であるプリアンブル波と、被検出波における所定部分の信号波との相関値の演算を、時間軸方向に送引しつつ行うことで、相関値の時間軸方向の変化を把握する。
具体的には、既知信号としてのプリアンブル波の離散時間領域での信号波をP(n)(n=1,・・・N、Nはプリアンブル波の長さ)、被検出波における所定部分の信号波をX(n)とすると、タイミング検出部13は、図5(a)に示す被検出波に対して、下記式に基づいて、時間方向にスライディング相関を取り、相関値の時間軸方向の変化を把握する。
そして、図5(b)に示すように、信号波X(n)と、既知のプリアンブル波P(n)との相関値がピークをとった位置を、被検出波においてプリアンブル波成分が含まれている時間方向の位置kとして検出することができる。
プリアンブル波成分が含まれている時間方向の位置kが検出されると、タイミング検出部13は、さらに、サンプリング部11が受信波を分割したときのタイミングと、時間方向の位置kとのオフセット量を算出し、プリアンブル波の送信タイミングを検出することができる。
基地局装置BS1は、検出された基地局装置BS2のプリアンブル波の送信タイミングに基づいて、自己の通信フレームに関する設定を調整し、基地局装置BS2との間で基地局間同期を行うことができる。
受信波と既知である所定の信号波との間で周波数がF(Hz)ずれると、T(sec)後には、位相に(2π×FT)(rad)の回転が生じる。例えば、受信波と既知信号波との周波数ずれが10Hz生じていたとすると、基本フレームFが、10フレーム(50msec)後にπ(rad)の位相回転が生じる。このような位相回転が生じた状態で、サンプリング波を取得し、平均化処理を行うと、プリアンブル波成分Pが消えてしまう。
従って、プリアンブル波成分の検出精度を確保するため、受信波の周波数誤差を予め考慮する必要があるが、この点については、平均化処理に用いるサンプリング波の数を例えば、5個(5フレーム分)以内とすることが好ましく、この場合、上述の程度の周波数ずれが生じたとしても、プリアンブル波成分を十分検出することができる。
本実施形態と、上述の実施形態との相違点は、サンプリング部11が取得する複数のサンプリング波それぞれについて、タイミング検出部13がプリアンブル波のタイミングを検出する点、これら検出されたタイミングに基づいて平均化タイミングを取得する平均化タイミング取得部15を有する点、及び、この平均化タイミングに基づいて、基地局装置BS2との間で基地局間同期を行う点である。その他の点については、上述の実施形態と同様なので説明を省略する。
基地局装置BS1は、平均化タイミング取得部15が求めた平均化タイミングを基地局装置BS2のプリアンブル波の送信タイミングとし、これに基づいて自己の通信フレームに関する設定を調整することで、基地局装置BS2との間で基地局間同期を行うことができる。
また、本実施形態の基地局装置BS1によれば、当該基地局装置BS1の電源投入直後の初期状態における基地局装置BS2からの受信波を受信する上において、周波数誤差の影響を抑制することができる。
12 平均化処理部(処理部)
13 タイミング算出部
14 信号処理部
BS1,BS2 基地局装置
MS 移動端末
E1,E2 エリア
Claims (4)
- 一定の周期で送信される既知信号波を含んだ他の基地局装置からの受信波を受信し、前記既知信号波の送信タイミングに基づいて基地局間同期を行う基地局装置であって、
前記受信波の一部を前記周期に対応する時間幅で複数に分割しサンプリングすることで複数のサンプリング波を取得するサンプリング部と、
前記サンプリング部によりサンプリングされた前記複数のサンプリング波を互いに加算することで前記既知信号波の送信タイミングを検出するための被検出波を取得する処理部と、
前記処理部により取得される前記被検出波に基づいて前記既知信号波の送信タイミングを検出するタイミング検出部と、を備え、
前記タイミング検出部により検出された前記既知信号波の送信タイミングに基づいて基地局間同期を行うことを特徴とする基地局装置。 - 一定の周期で送信される既知信号波を含んだ他の基地局装置からの受信波を受信し、前記既知信号波の送信タイミングに基づいて基地局間同期を行う基地局装置であって、
前記受信波の一部を前記周期に対応する時間幅で複数に分割しサンプリングすることで複数のサンプリング波を取得するサンプリング部と、
前記サンプリング部により取得される前記複数のサンプリング波それぞれに含まれる前記既知信号波の送信タイミングを検出するタイミング検出部と、
前記タイミング検出部により検出された前記複数のサンプリング波それぞれについての前記既知信号波の送信タイミングを平均化した平均化タイミングを求める平均化タイミング取得部と、を備え、
前記平均化タイミング取得部により求められた平均化タイミングに基づいて基地局間同期を行うことを特徴とする基地局装置。 - 一定の周期で送信される既知信号波を含んだ他の基地局装置からの受信波を受信し、前記既知信号波の送信タイミングに基づいて基地局間同期を行う基地局間同期方法であって、
前記受信波の一部を前記周期に対応する時間幅で複数に分割しサンプリングすることで複数のサンプリング波を取得するサンプリングステップと、
前記サンプリングステップによりサンプリングされた前記複数のサンプリング波を互いに加算することで前記既知信号波の送信タイミングを検出するための被検出波を取得する処理ステップと、
前記処理ステップにより取得される前記被検出波に基づいて前記既知信号波の送信タイミングを検出するタイミング検出ステップと、
前記タイミング検出ステップにより検出された前記既知信号波の送信タイミングに基づいて基地局間同期を行う同期ステップと、を備えていることを特徴とする基地局間同期方法。 - 一定の周期で送信される既知信号波を含んだ他の基地局装置からの受信波を受信し、前記既知信号波の送信タイミングに基づいて基地局間同期を行う基地局間同期方法であって、
前記受信波の一部を前記周期に対応する時間幅で複数に分割しサンプリングすることで複数のサンプリング波を取得するサンプリングステップと、
前記サンプリングステップにより取得される前記複数のサンプリング波それぞれに含まれる前記既知信号波の送信タイミングを検出するタイミング検出ステップと、
前記タイミング検出ステップにより検出された前記複数のサンプリング波それぞれについての前記既知信号波の送信タイミングを平均化した平均化タイミングを求める平均化タイミング取得ステップと、
前記平均化タイミング取得ステップにより求められた平均化タイミングに基づいて基地局間同期を行う同期ステップと、を備えていることを特徴とする基地局間同期方法。
Priority Applications (1)
| Application Number | Priority Date | Filing Date | Title |
|---|---|---|---|
| JP2008168913A JP5256884B2 (ja) | 2008-06-27 | 2008-06-27 | 基地局装置及び基地局間同期方法 |
Applications Claiming Priority (1)
| Application Number | Priority Date | Filing Date | Title |
|---|---|---|---|
| JP2008168913A JP5256884B2 (ja) | 2008-06-27 | 2008-06-27 | 基地局装置及び基地局間同期方法 |
Publications (2)
| Publication Number | Publication Date |
|---|---|
| JP2010011152A true JP2010011152A (ja) | 2010-01-14 |
| JP5256884B2 JP5256884B2 (ja) | 2013-08-07 |
Family
ID=41591089
Family Applications (1)
| Application Number | Title | Priority Date | Filing Date |
|---|---|---|---|
| JP2008168913A Expired - Fee Related JP5256884B2 (ja) | 2008-06-27 | 2008-06-27 | 基地局装置及び基地局間同期方法 |
Country Status (1)
| Country | Link |
|---|---|
| JP (1) | JP5256884B2 (ja) |
Cited By (2)
| Publication number | Priority date | Publication date | Assignee | Title |
|---|---|---|---|---|
| JP2012165320A (ja) * | 2011-02-09 | 2012-08-30 | Mega Chips Corp | Snr改善回路、同期情報検出回路、通信装置、snr改善方法、および、同期情報検出方法 |
| JP2014515582A (ja) * | 2011-05-31 | 2014-06-30 | 華為技術有限公司 | 基地局間の干渉の検出方法及び基地局 |
Citations (4)
| Publication number | Priority date | Publication date | Assignee | Title |
|---|---|---|---|---|
| JPS596642A (ja) * | 1982-07-03 | 1984-01-13 | Nippon Telegr & Teleph Corp <Ntt> | 移動通信衛星同期方式 |
| JPH07131853A (ja) * | 1993-11-05 | 1995-05-19 | N T T Idou Tsuushinmou Kk | 移動通信方式 |
| JP2001186117A (ja) * | 1999-12-27 | 2001-07-06 | Mitsubishi Electric Corp | フレームタイミング捕捉方法および装置ならびにtdma復調装置 |
| JP2005130296A (ja) * | 2003-10-24 | 2005-05-19 | Fujitsu Ltd | 受信装置および呼び出し信号の受信方法 |
-
2008
- 2008-06-27 JP JP2008168913A patent/JP5256884B2/ja not_active Expired - Fee Related
Patent Citations (4)
| Publication number | Priority date | Publication date | Assignee | Title |
|---|---|---|---|---|
| JPS596642A (ja) * | 1982-07-03 | 1984-01-13 | Nippon Telegr & Teleph Corp <Ntt> | 移動通信衛星同期方式 |
| JPH07131853A (ja) * | 1993-11-05 | 1995-05-19 | N T T Idou Tsuushinmou Kk | 移動通信方式 |
| JP2001186117A (ja) * | 1999-12-27 | 2001-07-06 | Mitsubishi Electric Corp | フレームタイミング捕捉方法および装置ならびにtdma復調装置 |
| JP2005130296A (ja) * | 2003-10-24 | 2005-05-19 | Fujitsu Ltd | 受信装置および呼び出し信号の受信方法 |
Cited By (3)
| Publication number | Priority date | Publication date | Assignee | Title |
|---|---|---|---|---|
| JP2012165320A (ja) * | 2011-02-09 | 2012-08-30 | Mega Chips Corp | Snr改善回路、同期情報検出回路、通信装置、snr改善方法、および、同期情報検出方法 |
| JP2014515582A (ja) * | 2011-05-31 | 2014-06-30 | 華為技術有限公司 | 基地局間の干渉の検出方法及び基地局 |
| US9137694B2 (en) | 2011-05-31 | 2015-09-15 | Huawei Technologies Co., Ltd. | Method for detecting interference between base stations and base station |
Also Published As
| Publication number | Publication date |
|---|---|
| JP5256884B2 (ja) | 2013-08-07 |
Similar Documents
| Publication | Publication Date | Title |
|---|---|---|
| US11310753B2 (en) | Wireless communication device, network node, method and computer program for achieving synchronization | |
| KR102561766B1 (ko) | 복수의 안테나 mu-mimo 시스템을 위한 제어 채널 설계 | |
| US9829560B2 (en) | Determining the position of a mobile device using the characteristics of received signals and a reference database | |
| JP5006097B2 (ja) | 受信制御方法および無線通信装置 | |
| US8825076B2 (en) | Method and device for positioning terminal in long term evolution system | |
| US20130143595A1 (en) | Determining the Position of a Mobile Device Using the Characteristics of Received Signals and a Reference Database | |
| CN110749859A (zh) | 基于多载频的单基站阵列定位方法和装置 | |
| JP2008187552A (ja) | 基地局間制御チャネルを持つ通信システム及び基地局 | |
| US20090296866A1 (en) | Efficient mechanisms for local cluster network synchonization | |
| JP2009177532A (ja) | 基地局装置 | |
| US10536316B2 (en) | NB-IoT receiver operating at minimum sampling rate | |
| CN116490802A (zh) | 基于啁啾信号的位姿估计方法和装置 | |
| KR20110104871A (ko) | 무선 기지국 및 통신 방법 | |
| JP5256884B2 (ja) | 基地局装置及び基地局間同期方法 | |
| JP2010118726A (ja) | 基地局装置 | |
| JP5083096B2 (ja) | 基地局装置 | |
| JP2008182533A (ja) | フレーム同期装置、ofdm送受信装置及びフレーム同期方法 | |
| US20140140449A1 (en) | Communication method and reception apparatus | |
| JP5355909B2 (ja) | 基地局装置 | |
| JP5332342B2 (ja) | 基地局装置 | |
| US20250293757A1 (en) | Receiver beamforming | |
| JP5206316B2 (ja) | 通信装置及び通信システム | |
| EP3711200B1 (en) | Method and device for positioning communication device | |
| US20250212144A1 (en) | Methods, system, and apparatus for low-power mode collaborative synchronization | |
| KR20240106814A (ko) | 통신 시스템에서 측위 방법 및 장치 |
Legal Events
| Date | Code | Title | Description |
|---|---|---|---|
| A621 | Written request for application examination |
Free format text: JAPANESE INTERMEDIATE CODE: A621 Effective date: 20110526 |
|
| A977 | Report on retrieval |
Free format text: JAPANESE INTERMEDIATE CODE: A971007 Effective date: 20121213 |
|
| A131 | Notification of reasons for refusal |
Free format text: JAPANESE INTERMEDIATE CODE: A131 Effective date: 20121218 |
|
| A521 | Written amendment |
Free format text: JAPANESE INTERMEDIATE CODE: A523 Effective date: 20130206 |
|
| TRDD | Decision of grant or rejection written | ||
| A01 | Written decision to grant a patent or to grant a registration (utility model) |
Free format text: JAPANESE INTERMEDIATE CODE: A01 Effective date: 20130326 |
|
| A61 | First payment of annual fees (during grant procedure) |
Free format text: JAPANESE INTERMEDIATE CODE: A61 Effective date: 20130408 |
|
| FPAY | Renewal fee payment (event date is renewal date of database) |
Free format text: PAYMENT UNTIL: 20160502 Year of fee payment: 3 |
|
| R150 | Certificate of patent or registration of utility model |
Free format text: JAPANESE INTERMEDIATE CODE: R150 |
|
| R250 | Receipt of annual fees |
Free format text: JAPANESE INTERMEDIATE CODE: R250 |
|
| LAPS | Cancellation because of no payment of annual fees |
