JP2010010597A - コイル部品 - Google Patents

コイル部品 Download PDF

Info

Publication number
JP2010010597A
JP2010010597A JP2008171012A JP2008171012A JP2010010597A JP 2010010597 A JP2010010597 A JP 2010010597A JP 2008171012 A JP2008171012 A JP 2008171012A JP 2008171012 A JP2008171012 A JP 2008171012A JP 2010010597 A JP2010010597 A JP 2010010597A
Authority
JP
Japan
Prior art keywords
electrode
core
mounting surface
coil component
coating
Prior art date
Legal status (The legal status is an assumption and is not a legal conclusion. Google has not performed a legal analysis and makes no representation as to the accuracy of the status listed.)
Granted
Application number
JP2008171012A
Other languages
English (en)
Other versions
JP4905807B2 (ja
Inventor
Hisao Tomonari
寿緒 友成
Hiroshi Suzuki
鈴木  寛
Toshihiro Kuroshima
敏浩 黒嶋
Current Assignee (The listed assignees may be inaccurate. Google has not performed a legal analysis and makes no representation or warranty as to the accuracy of the list.)
TDK Corp
Original Assignee
TDK Corp
Priority date (The priority date is an assumption and is not a legal conclusion. Google has not performed a legal analysis and makes no representation as to the accuracy of the date listed.)
Filing date
Publication date
Application filed by TDK Corp filed Critical TDK Corp
Priority to JP2008171012A priority Critical patent/JP4905807B2/ja
Publication of JP2010010597A publication Critical patent/JP2010010597A/ja
Application granted granted Critical
Publication of JP4905807B2 publication Critical patent/JP4905807B2/ja
Active legal-status Critical Current
Anticipated expiration legal-status Critical

Links

Images

Landscapes

  • Coils Or Transformers For Communication (AREA)

Abstract

【課題】電極とコアとを確実に絶縁したコイル部品の提供。
【解決手段】導電性のコア2と、コア2の巻芯部3に巻回される導線8及び導線9と、コア2の鍔部4及び鍔部5に装着される電極6及び電極7とを有し、電極6及び電極7はそれぞれ装着面を有すると共に導線8及び導線9が継線され、少なくとも装着面のコア2と接する箇所に絶縁性の樹脂コーティングが設けられ、電極6及び電極7のそれぞれに形成された樹脂コーティングにより、電極6及び電極7とコア2との絶縁性を図ったコイル部品を提供する。
【選択図】図1

Description

本発明はコイル部品に関し、特に導電性素材からなるコアを有するコイル部品に関する。
従来、高いインダクタンスを要求されるパルストランス等において、高透磁率材料であるMn−Zn系フェライトコアが使用されている。Mn−Zn系フェライトコアは導電性を備えるため、このコアに導線の継線箇所かつ実装箇所となる電極を設けるには、特許文献1に示されるようにコアに絶縁コーティングをする必要があった。
特開平05−347207号公報
コアの浸漬等によりコア全面にコーティングした場合、コーティング作業自体は簡易になるが、処理面積が大きくなるため、不具合が発生する可能性が高くなり、かつ処理されたコーティングによりコアに応力が加えられ、コアのインダスタンスが低下する場合があった。また電極とは関係ない場所までコーティングされるため、コスト高になる傾向があった。更にコーティングが施された面に金具状の電極を装着する際に、電極の角や縁部がコーティングに接触してコーティングが剥離・破損し、コーティングの絶縁性が低下するおそれがあった。そこで本発明は、電極とコアとを確実に絶縁したコイル部品を提供することを目的とする。
上記課題を解決するために本発明は、導電性のコアと、コアに巻回される巻線と、コアに装着される装着面を有すると共に巻線が継線され、少なくとも装着面のコアと接する箇所に絶縁皮膜が形成された電極と、を備えたコイル部品を提供する。
この様な構成によると、電極とコアとが当接する箇所のみに絶縁被覆があるため、絶縁被覆を形成する箇所を最低限の箇所にすることができる。またコアに絶縁被覆が施されていないため、コアに絶縁被覆に起因する応力が発生することが防がれる。また電極に予め絶縁被覆が形成されているため、コアに電極を装着する際に電極がコアに当接したとしても絶縁被覆が破損することが抑制される。
上記構成のコイル部品において、コアは凸状部を有する共に凸状部の突出端面に電極が配置される配置面を成し、装着面において絶縁皮膜が形成される領域は配置面より大きく形成されていることが好ましい。
この様な構成によると、導電性のコアから電極の絶縁被覆が形成されていない箇所(導通箇所)までの距離(延面距離)を大きくとることができ、確実にコアと電極との絶縁を図ることができる。
また電極は、装着面の周縁に位置する側面を有し、絶縁皮膜は装着面と側面とに形成されていることが好ましい。
この様な構成によると、導電性のコアから導通箇所までの延面距離を大きくとることができ、確実にコアと電極との絶縁を図ることができる。
また電極は端子金具から構成され、絶縁皮膜は端子金具の表面処理により形成されていることが好ましい。
この様な構成によると、絶縁被覆を容易に形成することができる。また剥がれ難い絶縁被覆を形成することができる。
また電極の反装着面から突出する凸形状部を有し、凸形状部の突出端面に巻線が継線される継線面が規定され、絶縁被覆は継線面を除いた電極の全表面に形成されていることが好ましい。
この様な構成によると、より確実に延面距離を稼ぐことができ、より確実にコアと電極との間の絶縁を図ることができる。
本発明のコイル部品によれば、電極とコアとを確実に絶縁することができる。
本発明の実施の形態によるコイル部品について図1、図2を参照しながら説明する。本実施の形態に係るコイル部品1は、コモンモードフィルタとして用いられるコイル部品である。コイル部品1は、コア2と電極6、7と導線8、9とから主に構成されている。
コア2は導電性を備えるMn−Zn系フェライトコアであり、長手方向に直交する断面が略長方形の巻芯部3と、巻芯部3の長手方向両端に設けられ、互いに略同一形状の一対の鍔部4、鍔部5より構成されている。
電極6と電極7とは同一形状を成しており、鍔部4と鍔部5とに嵌合若しくは接着材によってそれぞれ設けられている。電極6及び電極7と、鍔部4及び鍔部5とは、それぞれ同一形状を成しているため、以下特に言及しない限り鍔部4及び電極6について説明し、鍔部5及び電極7に係る説明を省略する。
電極6は、銅板やアルミ板から形成される一対の端子金具61、62から構成されており、端子金具61と端子金具62とは略同一形状を成している。よって代表として端子金具61について説明する。端子金具61は図2に示されるように、略コの字形状に構成され、略コの字形状の内周部分に鍔部4に装着される装着面61Aが規定されている。
装着面61Aには全面にわたって絶縁被覆である樹脂コーティング63が施されている。端子金具61と鍔部4とが当接する箇所のみに絶縁被覆である樹脂コーティング63が施されているため、絶縁被覆を施す箇所を最小の領域にしている。よって過度の絶縁被覆を必要とせず、コストを抑えることができる。またコア2に樹脂コーティング63等の絶縁被覆は施されていないため、コア2に絶縁被覆に起因する応力が発生することは防がれる。これによりコア2のインダクタンス値低下を抑制することができる。また端子金具61に予め樹脂コーティング63が形成されているため、鍔部4に端子金具61を装着する際に端子金具61がコア2に当接したとしても樹脂コーティング63が破損することが抑制され、端子金具61と鍔部4とを樹脂コーティング63により好適に絶縁することができる。
図1に示されるように導線8及び導線9は巻芯部3に巻回されている。これら導線8及び導線9は被覆導線であり、それぞれ端子金具61及び端子金具62に継線されている。
上記構成のコイル部品1によれば、電極6、電極7とコア2との間に電極6、電極7に設けられた樹脂コーティングが介在し、電極6、電極7と導電性のコア2とを確実に絶縁することができる。
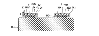
本発明のコイル部品は、上記した実施の形態に限定されず、特許請求の範囲に記載された範囲で種々の改良や変形が可能である。例えば第一の変形例として図3及び図4に示されるように、鍔部104に表面から突出する略同一形状の凸状部141、凸状部142を設け、凸状部141、凸状部142のそれぞれの突出端面を端子金具61、端子金具62が配置される配置面141A、142Aとする。配置面141Aは、装着面61Aの樹脂コーティング63が形成されている領域より小さい(装着面61Aの樹脂コーティング63が形成される領域が配置面141Aより大きい)ため、凸状部141から端子金具61の絶縁被覆が形成されていない箇所までの距離:L(延面距離)を大きく採ることができ、確実にコアと電極との絶縁を図ることができる。
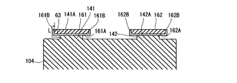
また第二の変形例として図5に示されるように、端子金具161において、装着面161Aの両側面161B、161Bを含む周縁の全周に渡って樹脂コーティング63を施していても良い。この様な構成によっても、鍔部104から端子金具161までの延面距離:Lを稼ぐことができ、より好適にコアと電極との絶縁を図ることができる。
また第三の変形例として図6に示されるように、端子金具261、262に反装着面から突出する凸形状部261C、262Cを設け、凸形状部261C、262Cの突出端面に導線8が継線される継線面261D、262Dを設ける。樹脂コーティング63が継線面261D、262Dを除いた端子金具261、262の全表面に形成されることにより、確実に延面距離:Lを稼ぐことができ、より確実にコアと電極との間の絶縁を図ることができる。また図5及び図6に示される構成では、端子金具の鍔部への装着方向先端側(図1のA部分)となる側面も樹脂コーティング63で覆われているため、端子金具を鍔部に装着する際に、端子金具の角部が鍔部に当接して鍔部が傷つくことが抑制される。
また本実施の形態及び変形例では、絶縁被覆として樹脂コーティングを用いたがこれに限らず、表面処理により電極の表面に絶縁被覆、例えば酸化アルミニウム(アルマイト)を形成し、これを絶縁被覆としても良い。この様な構成によると、絶縁被覆を容易に形成することができ、かつ剥がれ難い絶縁被覆を形成することができる。
また本実施の形態では、コモンモードフィルタについて言及したが、図7に示されるようなパルストランス301や、バルントランスにおいても適用できるのは言うまでもない。
本発明の実施の形態にかかるコイル部品の斜視図。 本発明の実施の形態にかかるコイル部品の端子金具とコアの関係を示す側面図。 本発明の実施の形態にかかるコイル部品の第一の変形例に係る鍔部と端子金具との側面図。 図3のIV−IV線に沿った断面図。 本発明の実施の形態にかかるコイル部品の第二の変形例に係る鍔部と端子金具との断面図。 本発明の実施の形態にかかるコイル部品の第三の変形例に係る鍔部と端子金具との断面図。 本発明の実施の形態にかかるコイル部品をパルストランスに適用した状態の斜視図。
符号の説明
1・・コイル部品 2・・コア 3・・巻芯部 4、5・・鍔部 6、7・・電極
8、9・・導線 61、62・・端子金具 61A・・装着面
63・・樹脂コーティング

Claims (5)

  1. 導電性のコアと、
    該コアに巻回される巻線と、
    該コアに装着される装着面を有すると共に該巻線が継線され、少なくとも該装着面の該コアと接する箇所に絶縁皮膜が形成された電極と、を備えたことを特徴とするコイル部品。
  2. 該コアは凸状部を有すると共に該凸状部の突出端面に該電極が配置される配置面を成し、
    該装着面において該絶縁皮膜が形成される領域は該配置面より大きく形成されていることを特徴とする請求項1に記載のコイル部品。
  3. 該電極は、該装着面の周縁に位置する側面を有し、該絶縁皮膜は該装着面と該側面とに形成されていることを特徴とする請求項1または請求項2のいずれかに記載のコイル部品。
  4. 該電極は端子金具から構成され、該絶縁皮膜は該端子金具の表面処理により形成されていることを特徴とする請求項1から請求項3のいずれか一に記載のコイル部品。
  5. 該電極の反装着面から突出する凸形状部を有し、該凸形状部の突出端面に該巻線が継線される継線面が規定され、
    該絶縁被覆は該継線面を除いた該電極の全表面に形成されていることを特徴とする請求項1から請求項4のいずれか一に記載のコイル部品。
JP2008171012A 2008-06-30 2008-06-30 コイル部品 Active JP4905807B2 (ja)

Priority Applications (1)

Application Number Priority Date Filing Date Title
JP2008171012A JP4905807B2 (ja) 2008-06-30 2008-06-30 コイル部品

Applications Claiming Priority (1)

Application Number Priority Date Filing Date Title
JP2008171012A JP4905807B2 (ja) 2008-06-30 2008-06-30 コイル部品

Publications (2)

Publication Number Publication Date
JP2010010597A true JP2010010597A (ja) 2010-01-14
JP4905807B2 JP4905807B2 (ja) 2012-03-28

Family

ID=41590692

Family Applications (1)

Application Number Title Priority Date Filing Date
JP2008171012A Active JP4905807B2 (ja) 2008-06-30 2008-06-30 コイル部品

Country Status (1)

Country Link
JP (1) JP4905807B2 (ja)

Cited By (6)

* Cited by examiner, † Cited by third party
Publication number Priority date Publication date Assignee Title
EP2348509A1 (en) 2010-01-21 2011-07-27 Sony Corporation Multi-layer recordable optical disk, recording device, and recording method
CN103745801A (zh) * 2014-01-14 2014-04-23 深圳顺络电子股份有限公司 一种脉冲变压器及其制造方法
JP2014099586A (ja) * 2012-10-16 2014-05-29 Tdk Corp コイル部品
US20140292465A1 (en) * 2013-03-29 2014-10-02 Tdk Corporation Pulse transformer
US20170011843A1 (en) * 2015-07-06 2017-01-12 Tdk Corporation Coil component and manufacturing method thereof
JP2022034593A (ja) * 2020-08-19 2022-03-04 Tdk株式会社 コイル部品

Citations (4)

* Cited by examiner, † Cited by third party
Publication number Priority date Publication date Assignee Title
JPS6063915A (ja) * 1983-09-17 1985-04-12 三菱電機株式会社 多端子回路素子
JPH02208907A (ja) * 1989-02-08 1990-08-20 Matsushita Electric Ind Co Ltd インダクタンス素子およびその製造方法
JPH08273947A (ja) * 1995-03-31 1996-10-18 Taiyo Yuden Co Ltd 焼結体を有する電気部品及びその製造方法
JP2004281777A (ja) * 2003-03-17 2004-10-07 Tokyo Coil Engineering Kk チョークコイル

Patent Citations (4)

* Cited by examiner, † Cited by third party
Publication number Priority date Publication date Assignee Title
JPS6063915A (ja) * 1983-09-17 1985-04-12 三菱電機株式会社 多端子回路素子
JPH02208907A (ja) * 1989-02-08 1990-08-20 Matsushita Electric Ind Co Ltd インダクタンス素子およびその製造方法
JPH08273947A (ja) * 1995-03-31 1996-10-18 Taiyo Yuden Co Ltd 焼結体を有する電気部品及びその製造方法
JP2004281777A (ja) * 2003-03-17 2004-10-07 Tokyo Coil Engineering Kk チョークコイル

Cited By (10)

* Cited by examiner, † Cited by third party
Publication number Priority date Publication date Assignee Title
EP2348509A1 (en) 2010-01-21 2011-07-27 Sony Corporation Multi-layer recordable optical disk, recording device, and recording method
JP2014099586A (ja) * 2012-10-16 2014-05-29 Tdk Corp コイル部品
US20140292465A1 (en) * 2013-03-29 2014-10-02 Tdk Corporation Pulse transformer
JP2014197591A (ja) * 2013-03-29 2014-10-16 Tdk株式会社 パルストランス
US9349526B2 (en) 2013-03-29 2016-05-24 Tdk Corporation Pulse transformer
CN103745801A (zh) * 2014-01-14 2014-04-23 深圳顺络电子股份有限公司 一种脉冲变压器及其制造方法
US20170011843A1 (en) * 2015-07-06 2017-01-12 Tdk Corporation Coil component and manufacturing method thereof
JP2017017288A (ja) * 2015-07-06 2017-01-19 Tdk株式会社 コイル部品及びその製造方法
US10418174B2 (en) * 2015-07-06 2019-09-17 Tdk Corporation Coil component and manufacturing method thereof
JP2022034593A (ja) * 2020-08-19 2022-03-04 Tdk株式会社 コイル部品

Also Published As

Publication number Publication date
JP4905807B2 (ja) 2012-03-28

Similar Documents

Publication Publication Date Title
JP4673499B2 (ja) チップ型コイル
JP6167294B2 (ja) コイル部品
JP6332073B2 (ja) コイル部品
JP3168972B2 (ja) チップ型コモンモードチョークコイル
JP4984172B2 (ja) コイル部品
JP4905807B2 (ja) コイル部品
US20150287520A1 (en) Coil component
JP5099166B2 (ja) コイル部品
JP2014192324A (ja) パルストランス
JP2003077730A (ja) コモンモードチョークコイル
WO2015115024A1 (ja) コイル部品
CN101796599A (zh) 磁性零件
JP2007103596A (ja) 巻線チップ型コモンモードチョークコイル
TW200540888A (en) Inductor
JP2014110673A (ja) 固定子の動力線接続構造
US10347416B2 (en) Coil component, circuit board provided with the same, and manufacturing method for coil component
JP2006049383A (ja) コモンモードチョークコイル
JP2016058471A (ja) 巻線型コイルおよびその製造方法
CN210668033U (zh) 一种电感器
JP5989533B2 (ja) コンデンサ
JP2004260095A (ja) 巻線型コモンモードチョークコイル
JP2012064681A (ja) コイル部品
JP5093893B2 (ja) チョークコイル
JP2023037376A (ja) コイル部品
CN113113214B (zh) 一种共模电感器

Legal Events

Date Code Title Description
A621 Written request for application examination

Free format text: JAPANESE INTERMEDIATE CODE: A621

Effective date: 20100126

A977 Report on retrieval

Free format text: JAPANESE INTERMEDIATE CODE: A971007

Effective date: 20110629

A131 Notification of reasons for refusal

Free format text: JAPANESE INTERMEDIATE CODE: A131

Effective date: 20110711

A521 Request for written amendment filed

Free format text: JAPANESE INTERMEDIATE CODE: A523

Effective date: 20110906

TRDD Decision of grant or rejection written
A01 Written decision to grant a patent or to grant a registration (utility model)

Free format text: JAPANESE INTERMEDIATE CODE: A01

Effective date: 20111215

A01 Written decision to grant a patent or to grant a registration (utility model)

Free format text: JAPANESE INTERMEDIATE CODE: A01

A61 First payment of annual fees (during grant procedure)

Free format text: JAPANESE INTERMEDIATE CODE: A61

Effective date: 20111228

FPAY Renewal fee payment (event date is renewal date of database)

Free format text: PAYMENT UNTIL: 20150120

Year of fee payment: 3

R150 Certificate of patent or registration of utility model

Ref document number: 4905807

Country of ref document: JP

Free format text: JAPANESE INTERMEDIATE CODE: R150

Free format text: JAPANESE INTERMEDIATE CODE: R150

R250 Receipt of annual fees

Free format text: JAPANESE INTERMEDIATE CODE: R250

R250 Receipt of annual fees

Free format text: JAPANESE INTERMEDIATE CODE: R250