JP2010010314A - 塗布処理方法、プログラム、コンピュータ記憶媒体及び塗布処理装置 - Google Patents

塗布処理方法、プログラム、コンピュータ記憶媒体及び塗布処理装置 Download PDF

Info

Publication number
JP2010010314A
JP2010010314A JP2008166740A JP2008166740A JP2010010314A JP 2010010314 A JP2010010314 A JP 2010010314A JP 2008166740 A JP2008166740 A JP 2008166740A JP 2008166740 A JP2008166740 A JP 2008166740A JP 2010010314 A JP2010010314 A JP 2010010314A
Authority
JP
Japan
Prior art keywords
coating
substrate
nozzle
image
coating liquid
Prior art date
Legal status (The legal status is an assumption and is not a legal conclusion. Google has not performed a legal analysis and makes no representation as to the accuracy of the status listed.)
Granted
Application number
JP2008166740A
Other languages
English (en)
Other versions
JP5276912B2 (ja
Inventor
Toshihiro Izeki
智弘 井関
Katsunori Ichino
克憲 一野
康治 ▲タカヤナギ▼
Koji Takayanagi
Current Assignee (The listed assignees may be inaccurate. Google has not performed a legal analysis and makes no representation or warranty as to the accuracy of the list.)
Tokyo Electron Ltd
Original Assignee
Tokyo Electron Ltd
Priority date (The priority date is an assumption and is not a legal conclusion. Google has not performed a legal analysis and makes no representation as to the accuracy of the date listed.)
Filing date
Publication date
Application filed by Tokyo Electron Ltd filed Critical Tokyo Electron Ltd
Priority to JP2008166740A priority Critical patent/JP5276912B2/ja
Publication of JP2010010314A publication Critical patent/JP2010010314A/ja
Application granted granted Critical
Publication of JP5276912B2 publication Critical patent/JP5276912B2/ja
Active legal-status Critical Current
Anticipated expiration legal-status Critical

Links

Images

Landscapes

  • Exposure Of Semiconductors, Excluding Electron Or Ion Beam Exposure (AREA)

Abstract

【課題】塗布ノズルの水平方向の位置調整を短時間で行い、基板面内において塗布液を均一に塗布する。
【解決手段】塗布ノズルから検査用ウェハ上に塗布液を供給して、塗布液を拡散させる(工程S1)。この拡散中の塗布液の画像を取得する(工程S2)。取得された画像と比較画像を比較し(工程S3)、比較画像と塗布ノズルの水平方向の位置との関係から、塗布ノズルの水平方向の位置を把握する。把握された塗布ノズルの位置に基づいて、塗布ノズルの水平方向の位置を調整する(工程S4)。以後、位置調整された塗布ノズルからウェハの中心に塗布液を供給し、ウェハ上に塗布液を均一に塗布する(工程S5)。
【選択図】図4

Description

本発明は、例えば半導体ウェハ等の基板上に塗布液を塗布する塗布処理方法、プログラム、コンピュータ記憶媒体及び塗布処理装置に関する。
例えば半導体デバイスの製造プロセスにおけるフォトリソグラフィー工程では、例えば半導体ウェハ(以下、「ウェハ」という。)上にレジスト液を塗布しレジスト膜を形成するレジスト塗布処理、レジスト膜を所定のパターンに露光する露光処理、露光されたレジスト膜を現像する現像処理などが順次行われ、ウェハ上に所定のレジストパターンが形成されている。
上述したレジスト塗布処理では、回転中のウェハの表面上に塗布ノズルからレジスト液を供給し、遠心力によりウェハ上でレジスト液を拡散することよってウェハの表面にレジスト液を塗布する、いわゆるスピン塗布法が多く用いられている。
このスピン塗布法において、例えば塗布ノズルがウェハの中心からずれて位置した状態でレジスト液を供給すると、レジスト液がウェハ上を均一に拡散せず、レジスト液が局部的に薄く又は厚く塗布されるといった塗布不良(塗布斑)が生じることがある。そうすると、例えば露光処理における焦点がずれるなどの要因により、最終的にウェハ上に所望の寸法のレジストパターンが形成されなくなる。
そこで、ウェハ上にレジスト液を塗布してレジスト膜を形成した後、レジスト膜に発生する塗布不良を検出し、この検出された塗布不良に基づいて、塗布ノズルのセンタリングを行うことが提案されている(特許文献1)。
特開2000−223403号公報
しかしながら、上述のようにレジスト膜を形成した後に、そのレジスト膜の塗布不良を検出する場合、塗布不良が発生した場所と塗布ノズルとの相対位置関係を把握することができない。すなわち、ウェハの中心と塗布ノズルの距離(塗布ノズルの位置ずれ量)を把握することはできるが、ウェハに対する塗布ノズルの位置ずれの方向を把握することができない。それ故、この塗布ノズルの位置ずれの方向を把握するために、試行錯誤的に塗布ノズルの位置調整を行う必要があり、塗布ノズルを正確にセンタリングするのに時間がかかっていた。
本発明は、かかる点に鑑みてなされたものであり、基板に塗布液を塗布する際に、塗布ノズルの水平方向の位置調整を短時間で行い、基板面内において塗布液を均一に塗布することを目的とする。
前記の目的を達成するため、本発明は、基板上に塗布液を塗布する方法であって、基板上に塗布ノズルから塗布液を供給し、基板を回転させながら、基板上に塗布液を拡散させ、当該基板上を拡散する塗布液の画像を取得する画像取得工程と、前記画像に基づいて、前記基板上を拡散する塗布液の波紋の中心が基板の中心と一致するように、前記塗布ノズルの水平方向の位置を調整する位置調整工程と、を有し、以後、前記位置を調整された塗布ノズルから基板の中心に塗布液を供給し、基板を回転させながら、基板上に塗布液を拡散させることを特徴としている。
本発明によれば、基板上を拡散する塗布液の画像を取得するので、当該画像から、基板上を拡散中の塗布液の波紋の中心を把握することができる。この塗布液の波紋の中心は、塗布ノズルから供給される塗布液の位置と一致するので、基板に対する塗布ノズルの水平方向の位置を把握することができる。すなわち、取得された塗布液の画像から、基板の中心と塗布ノズルとの間の水平距離のみならず、基板の中心に対する塗布ノズルの方向も把握することができる。そして、このように塗布ノズルの水平方向の位置を把握した上で、塗布液の波紋の中心、すなわち塗布ノズルの位置が基板の中心と一致するように、塗布ノズルの位置を調整するので、従来のように試行錯誤的に塗布ノズルの位置調整を行う必要がなく、短時間で塗布ノズルの水平方向の位置を調整することができる。また、このように塗布ノズルの位置調整を行ってセンタリングすることで、塗布ノズルから基板の中心に塗布液を塗布することができ、基板面内において塗布液を均一に塗布することができる。
基板上を拡散する塗布液の比較画像が予め取得され、かつ前記比較画像と塗布ノズルの水平方向の位置との関係が予め求められ、前記位置調整工程において、前記画像取得工程で取得された画像と前記比較画像とを比較し、前記関係から、前記塗布ノズルの水平方向の位置を調整してもよい。
前記画像取得工程と前記位置調整工程は、前記塗布ノズルの水平方向の位置を調整するための検査用基板を用いて行われるようにしてもよい。
別な観点による本発明によれば、前記塗布処理方法を塗布処理装置によって実行させるために、当該塗布処理装置を制御する制御部のコンピュータ上で動作するプログラムが提供される。
また別な観点による本発明によれば、前記プログラムを格納した読み取り可能なコンピュータ記憶媒体が提供される。
さらに別な観点による本発明は、基板上に塗布液を塗布する塗布処理装置であって、基板上に塗布液を供給する塗布ノズルと、基板を保持して基板を所定の速度で回転させる回転保持部と、基板上の塗布液の画像を撮像する撮像部と、基板上に前記塗布ノズルから塗布液を供給し、基板を回転させながら、基板上に塗布液を拡散させ、当該基板上を拡散する塗布液の画像を取得する画像取得工程と、前記画像に基づいて、前記基板上を拡散する塗布液の波紋の中心が基板の中心と一致するように、前記塗布ノズルの水平方向の位置を調整する位置調整工程と、を有し、以後、前記位置を調整された塗布ノズルから基板の中心に塗布液を供給し、基板を回転させながら、基板上に塗布液を拡散させるように、前記塗布ノズル、前記回転保持部及び前記撮像部を制御する制御部と、を有することを特徴としている。
前記制御部には、基板上を拡散する塗布液の比較画像が予め取得され、かつ前記比較画像と塗布ノズルの水平方向の位置との関係が予め求められ、前記位置調整工程において、前記画像取得工程で取得された画像と前記比較画像とを比較し、前記関係から、前記塗布ノズルの水平方向の位置を調整してもよい。
前記画像取得工程と前記位置調整工程は、前記塗布ノズルの水平方向の位置を調整するための検査用基板を用いて行われるようにしてもよい。
本発明によれば、塗布ノズルの水平方向の位置調整を短時間で行うことができ、基板面内において塗布液を均一に塗布することができる。
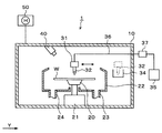
以下、本発明の実施の形態について説明する。図1は、本実施の形態にかかる塗布処理装置1の構成の概略を示す縦断面図であり、図2は、塗布処理装置1の構成の概略を示す横断面図である。なお、本実施の形態の塗布液には、例えばレジスト液が用いられる。
塗布処理装置1は、図1に示すように内部を閉鎖可能な処理容器10を有している。処理容器10内の中央部には、ウェハWを保持して回転させる回転保持部としてのスピンチャック20が設けられている。スピンチャック20は、水平な上面を有し、当該上面には、例えばウェハWを吸引する吸引口(図示せず)が設けられている。この吸引口からの吸引により、ウェハWをスピンチャック20上に吸着保持できる。
スピンチャック20は、例えばモータなどを備えたチャック駆動機構21を有し、そのチャック駆動機構21により所定の速度に回転できる。また、チャック駆動機構21には、シリンダなどの昇降駆動源が設けられており、スピンチャック20は上下動可能になっている。
スピンチャック20の周囲には、ウェハWから飛散又は落下する液体を受け止め、回収するカップ22が設けられている。カップ22の下面には、回収した液体を排出する排出管23と、カップ22内の雰囲気を排気する排気管24が接続されている。
図2に示すようにカップ22のX方向負方向(図2の下方向)側には、Y方向(図2の左右方向)に沿って延伸するレール30が設けられている。レール30は、例えばカップ22のY方向負方向(図2の左方向)側の外方からY方向正方向(図2の右方向)側の外方まで形成されている。レール30には、アーム31が取り付けられている。
アーム31には、図1及び図2に示すように塗布液を供給する塗布ノズル32が支持されている。アーム31は、図2に示すノズル駆動部33により、レール30上を移動自在である。これにより、塗布ノズル32は、カップ22のY方向正方向側の外方に設置された待機部34からカップ22内のウェハWの上方まで移動でき、さらに当該ウェハWの表面上をウェハWの径方向に移動できる。また、アーム31は、ノズル駆動部33によって昇降自在であり、塗布ノズル32の高さを調整できる。
塗布ノズル32には、図1に示すように、塗布液供給源35に連通する供給管36が接続されている。塗布液供給源35内には、塗布液が貯留されている。供給管36には、塗布液の流れを制御するバルブや流量調節部等を含む供給機器群37が設けられている。
スピンチャック20上に吸着保持されたウェハWの斜め上方には、撮像部40が設けられている。撮像部40は、処理容器10の天井部分に設けられている。撮像部40には、例えば広角型のCCDカメラが用いられ、ウェハW上を拡散する塗布液を撮像し、その画像を取得することができる。
上述のスピンチャック20の回転動作と上下動作、ノズル駆動部33による塗布ノズル32の移動動作、供給機器群37による塗布ノズル32の塗布液の供給動作などの駆動系の動作や撮像部40による撮像動作は、制御部50により制御されている。制御部50は、例えばCPUやメモリなどを備えたコンピュータにより構成され、例えばメモリに記憶されたプログラムを実行することによって、塗布処理装置1における塗布処理を実現できる。なお、塗布処理装置1における塗布処理を実現するための各種プログラムは、例えばコンピュータ読み取り可能なハードディスク(HD)、フレキシブルディスク(FD)、コンパクトディスク(CD)、マグネットオプティカルデスク(MO)、メモリーカードなどの記憶媒体Hに記憶されていたものであって、その記憶媒体Hから制御部50にインストールされたものが用いられている。
制御部50には、例えば図3に示すように、ウェハW上を拡散する塗布液の比較画像A〜Aが予め取得されて記憶されている。これらの比較画像A〜Aは、塗布ノズル32がウェハWの中心Cからずれて配置されている場合、すなわちウェハW上を拡散する塗布液の波紋の中心PがウェハWの中心Cからずれている場合に、当該塗布液がウェハW上を拡散する様子を撮像した画像である。なお、図3中の点線は、ウェハW上を拡散中の塗布液の波紋を示している。比較画像Aは、塗布液の波紋の中心PがウェハWの中心CからX方向負方向にずれた場合の塗布液の波紋の画像であり(図3(a))、比較画像Aは、塗布液の波紋の中心PがウェハWの中心CからX方向正方向にずれた場合の塗布液の波紋の画像であり(図3(b))、比較画像Aは、塗布液の波紋の中心PがウェハWの中心CからY方向正方向にずれた場合の塗布液の波紋の画像であり(図3(c))、比較画像Aは、塗布液の波紋の中心PがウェハWの中心CからY方向負方向にずれた場合の塗布液の波紋の画像である(図3(d))。このように塗布液の波紋の中心PがウェハWの中心Cからずれている場合、図3に示すようにウェハW上を拡散する塗布液は、ウェハWの同心円状に拡散しない。
また制御部50には、比較画像A〜Aと、それぞれの比較画像A〜Aが取得された際の塗布ノズル32の水平方向の位置との関係が予め求められて記憶されている。なお、本実施の形態においては、制御部50に4枚の比較画像A〜Aが記憶されている場合について説明したが、これに限定されず、その他の比較画像が記憶されていてもよい。
次に、以上のように構成された塗布処理装置1で行われる塗布処理プロセスについて、塗布処理の立ち上げ時に行われる、検査用ウェハEを用いた検査処理と共に説明する。図4は、塗布処理装置1における塗布処理プロセスの主な工程を示すフローチャートである。
塗布処理装置1に搬入された検査用ウェハEは、先ず、スピンチャック20に吸着保持される。そして、検査用ウェハEはスピンチャック20により所定の回転数で回転される。続いて回転中の検査用ウェハEに、図示しないノズルから塗布液の溶剤が供給され、検査用ウェハEがプリウェットされる。
検査用ウェハEのプリウェットが終了すると、アーム31により待機部34の塗布ノズル32が検査用ウェハEの上方まで移動する。このとき、例えば塗布ノズル32は、図5に示すように検査用ウェハEの中心Cからずれて配置される。本実施の形態においては、塗布ノズル32は検査用ウェハEの中心CからX方向正方向にずれて配置されている。そして、この塗布ノズル32から所定の回転数で回転中の検査用ウェハE上に塗布液が供給され、検査用ウェハE上を塗布液が拡散する(図4の工程S1)。
塗布液が検査用ウェハE上を拡散している間、撮像部40により、当該拡散中の塗布液が撮像され、例えば図6に示す画像が取得される(図4の工程S2)。取得された画像Bは、撮像部40から制御部50に出力される。なお、図6中の点線は、ウェハWを拡散中の塗布液の波紋を示している。また、この画像Bが取得されると、検査用ウェハEは、塗布処理装置1から搬出される。
制御部50では、撮像部40から出力された画像Bと、制御部50に記憶された比較画像A〜Aを比較する(図4の工程S3)。この比較において、比較画像A〜Aのうち、画像Bの塗布液の波紋形状(波紋の中心Pの位置)と一致する比較画像が選択され、本実施の形態においては、例えば比較画像Aが選択される。そして、制御部50に記憶された比較画像Aと塗布ノズル32の水平方向の位置との関係から、塗布ノズル32の水平方向の位置を把握する。すなわち、取得された塗布液の画像Bから、検査用ウェハEの中心Cと塗布ノズル32との間の水平距離のみならず、検査用ウェハEの中心Cに対する塗布ノズル32の方向も把握することができる。そして、この塗布ノズル32の水平方向の位置に基づいて、塗布ノズル32がウェハWの中心Cの上方に配置されるように塗布ノズル32の水平方向の位置の補正値を算出する。この算出結果は、制御部50からノズル駆動部33に出力され、塗布ノズル32の水平方向の位置が調整される(図4の工程S4)。このようにして、塗布ノズル32がセンタリングされる。なお、塗布ノズル32の水平方向の位置の調整は、制御部50による算出結果に基づいて手動で行ってもよい。
塗布ノズル32の水平方向の位置が調整されると、以後、例えば製品用のウェハWが塗布処理装置1に搬入される。搬入されたウェハWは、スピンチャック20に吸着保持される。そして、ウェハWにプリウェットが行われた後、アーム31により塗布ノズル32がウェハWの上方まで移動する。このとき、塗布ノズル32は、図7に示すようにウェハWの中心Cの上方に位置するようにセンタリングされている。そして、塗布ノズル32から所定の回転数で回転中のウェハWの中心に塗布液が供給され、図8に示すように塗布液がウェハWの同心円状に拡散する(図4の工程S5)。こうして、塗布液がウェハW上に均一に塗布されて、一連の塗布処理が終了する。
以上の実施の形態によれば、検査用ウェハE上を拡散する塗布液の画像Bを取得するので、画像Bから検査用ウェハE上を拡散中の塗布液の波紋形状(波紋の中心Pの位置)を把握することができる。そして、この画像Bと比較画像Aを比較して、制御部50に記憶された比較画像Aと塗布ノズル32の水平方向の位置との関係から、塗布ノズル32の水平方向の位置を把握することができる。このように塗布ノズル32の水平方向の位置を把握した上で、塗布ノズル32の水平方向の位置を調整するので、従来のように試行錯誤的に塗布ノズルの位置調整を行う必要がなく、短時間で塗布ノズル32の水平方向の位置を自動調整することができる。また、このように塗布ノズル32の水平方向の位置を調整して塗布ノズル32をセンタリングすることで、以後、塗布ノズル32からウェハWの中心Cに塗布液を塗布することができ、ウェハ面内において塗布液を均一に塗布することができる。
以上の実施の形態では、制御部50に、比較画像A 〜A が記憶されていたが、かかる比較画像がない場合でも、塗布ノズル32の水平方向の位置調整を行うことができる。例えば上述の図4の工程S2に示したように、検査用ウェハE上を拡散する塗布液の画像Bを取得すると、取得された画像Bから、塗布液の波紋の中心Pの位置を把握することができる。この塗布液の波紋の中心Pの位置は、塗布ノズル32から供給される塗布液の位置であり、塗布ノズル32の位置とほぼ一致する。そうすると、画像Bから塗布ノズル32の水平方向の位置を把握することができる。そして、このように塗布ノズル32の水平方向の位置を把握した上で、塗布液の波紋の中心P、すなわち塗布ノズル32の水平方向の位置がウェハWの中心Cと一致するように、塗布ノズル32の水平方向の位置調整を行う。かかる場合においても、従来のように試行錯誤的に塗布ノズルの位置調整を行う必要がなく、短時間で塗布ノズル32の水平方向の位置を調整することができる。
以上の実施の形態では、塗布処理の立ち上げ時に、検査用ウェハEを用いて塗布ノズル32の水平方向の位置を調整していたが、以後、ウェハWを用いて定期的に塗布ノズル32の水平方向の位置を調整してもよい。この場合の塗布ノズル32の位置調整は、上記実施の形態において検査用ウェハEを用いて行った位置調整と同様の方法で行われるので、説明を省略する。かかる場合、例えば塗布処理装置1を長期的に使用して塗布ノズル32の水平方向の位置がウェハWの中心Cからずれてきた場合でも、塗布ノズル32の位置調整を定期的に行うので、塗布ノズル32を確実にセンタリングすることができる。そうすると、複数のウェハWに対して塗布液を均一に塗布することができるので、最終的にウェハ製品の歩留まりを向上させることができる。
以上、添付図面を参照しながら本発明の好適な実施の形態について説明したが、本発明はかかる例に限定されない。当業者であれば、特許請求の範囲に記載された思想の範疇内において、各種の変更例または修正例に想到し得ることは明らかであり、それらについても当然に本発明の技術的範囲に属するものと了解される。本発明はこの例に限らず種々の態様を採りうるものである。例えば上述した実施の形態では、塗布液としてレジスト液を例にとって説明したが、本発明は、下部反射防止膜(BARC:Bottom Anti−Reflection Coating)や上部反射防止膜(TARC:Top Anti−Reflection Coating)など、種々の塗布液にも適用できる。また、上述した実施の形態では、ウェハに塗布処理を行う例であったが、本発明は、基板がウェハ以外のFPD(フラットパネルディスプレイ)、フォトマスク用のマスクレチクルなどの他の基板の塗布処理にも適用することができる。
本発明は、例えば半導体ウェハ等の基板上に塗布液を塗布する際に有用である。
本実施の形態にかかる塗布処理装置の構成の概略を示す縦断面図である。 塗布処理装置の構成の概略を示す横断面図である。 ウェハ上を拡散する塗布液の画像であり、(a)は塗布液の波紋の中心が中心からX方向負方向にずれた場合の塗布液の画像を示し、(b)は塗布液の波紋の中心が中心からX方向正方向にずれた場合の塗布液の画像を示し、(c)は塗布液の波紋の中心が中心からY方向正方向にずれた場合の塗布液の画像を示し、(d)は塗布液の波紋の中心が中心からY方向負方向にずれた場合の塗布液の画像を示している。 塗布処理プロセスの主な工程を示すフローチャートである。 塗布ノズルがウェハの中心からずれて配置された様子を示す説明図である。 撮像部により取得された塗布液の画像を示す説明図である。 センタリング後の塗布ノズルの配置を示す説明図である。 センタリング後の塗布ノズルから供給された塗布液が拡散する様子を示す説明図である。
符号の説明
1 塗布処理装置
20 スピンチャック
32 塗布ノズル
40 撮像部
50 制御部
〜A 比較画像
B 画像
C ウェハの中心
E 検査用ウェハ
P 波紋の中心
W ウェハ

Claims (8)

  1. 基板上に塗布液を塗布する方法であって、
    基板上に塗布ノズルから塗布液を供給し、基板を回転させながら、基板上に塗布液を拡散させ、当該基板上を拡散する塗布液の画像を取得する画像取得工程と、
    前記画像に基づいて、前記基板上を拡散する塗布液の波紋の中心が基板の中心と一致するように、前記塗布ノズルの水平方向の位置を調整する位置調整工程と、を有し、
    以後、前記位置を調整された塗布ノズルから基板の中心に塗布液を供給し、基板を回転させながら、基板上に塗布液を拡散させることを特徴とする、塗布処理方法。
  2. 基板上を拡散する塗布液の比較画像が予め取得され、かつ前記比較画像と塗布ノズルの水平方向の位置との関係が予め求められ、
    前記位置調整工程において、前記画像取得工程で取得された画像と前記比較画像とを比較し、前記関係から、前記塗布ノズルの水平方向の位置を調整することを特徴とする、請求項1に記載の塗布処理方法。
  3. 前記画像取得工程と前記位置調整工程は、前記塗布ノズルの水平方向の位置を調整するための検査用基板を用いて行われることを特徴とする、請求項1又は2に記載の塗布処理方法。
  4. 請求項1〜3の塗布処理方法を塗布処理装置によって実行させるために、当該塗布処理装置を制御する制御部のコンピュータ上で動作するプログラム。
  5. 請求項4に記載のプログラムを格納した読み取り可能なコンピュータ記憶媒体。
  6. 基板上に塗布液を塗布する塗布処理装置であって、
    基板上に塗布液を供給する塗布ノズルと、
    基板を保持して基板を所定の速度で回転させる回転保持部と、
    基板上の塗布液の画像を撮像する撮像部と、
    基板上に前記塗布ノズルから塗布液を供給し、基板を回転させながら、基板上に塗布液を拡散させ、当該基板上を拡散する塗布液の画像を取得する画像取得工程と、前記画像に基づいて、前記基板上を拡散する塗布液の波紋の中心が基板の中心と一致するように、前記塗布ノズルの水平方向の位置を調整する位置調整工程と、を有し、以後、前記位置を調整された塗布ノズルから基板の中心に塗布液を供給し、基板を回転させながら、基板上に塗布液を拡散させるように、前記塗布ノズル、前記回転保持部及び前記撮像部を制御する制御部と、を有することを特徴とする、塗布処理装置。
  7. 前記制御部には、基板上を拡散する塗布液の比較画像が予め取得され、かつ前記比較画像と塗布ノズルの水平方向の位置との関係が予め求められ、
    前記位置調整工程において、前記画像取得工程で取得された画像と前記比較画像とを比較し、前記関係から、前記塗布ノズルの水平方向の位置を調整することを特徴とする、請求項6に記載の塗布処理装置。
  8. 前記画像取得工程と前記位置調整工程は、前記塗布ノズルの水平方向の位置を調整するための検査用基板を用いて行われることを特徴とする、請求項6又は7に記載の塗布処理装置。
JP2008166740A 2008-06-26 2008-06-26 塗布処理方法、プログラム、コンピュータ記憶媒体及び塗布処理装置 Active JP5276912B2 (ja)

Priority Applications (1)

Application Number Priority Date Filing Date Title
JP2008166740A JP5276912B2 (ja) 2008-06-26 2008-06-26 塗布処理方法、プログラム、コンピュータ記憶媒体及び塗布処理装置

Applications Claiming Priority (1)

Application Number Priority Date Filing Date Title
JP2008166740A JP5276912B2 (ja) 2008-06-26 2008-06-26 塗布処理方法、プログラム、コンピュータ記憶媒体及び塗布処理装置

Publications (2)

Publication Number Publication Date
JP2010010314A true JP2010010314A (ja) 2010-01-14
JP5276912B2 JP5276912B2 (ja) 2013-08-28

Family

ID=41590465

Family Applications (1)

Application Number Title Priority Date Filing Date
JP2008166740A Active JP5276912B2 (ja) 2008-06-26 2008-06-26 塗布処理方法、プログラム、コンピュータ記憶媒体及び塗布処理装置

Country Status (1)

Country Link
JP (1) JP5276912B2 (ja)

Cited By (4)

* Cited by examiner, † Cited by third party
Publication number Priority date Publication date Assignee Title
JP2017183595A (ja) * 2016-03-31 2017-10-05 株式会社荏原製作所 基板洗浄装置
WO2018225615A1 (ja) * 2017-06-05 2018-12-13 東京エレクトロン株式会社 処理条件設定方法、記憶媒体及び基板処理システム
JP2021061333A (ja) * 2019-10-08 2021-04-15 株式会社ディスコ 樹脂保護部材形成装置、および、保護部材の形成方法
WO2023189753A1 (ja) * 2022-03-30 2023-10-05 東京エレクトロン株式会社 塗布処理方法、記憶媒体、及び塗布処理装置

Citations (8)

* Cited by examiner, † Cited by third party
Publication number Priority date Publication date Assignee Title
JPH02115072A (ja) * 1988-10-21 1990-04-27 Hitachi Ltd 塗布装置
JPH10135100A (ja) * 1996-10-25 1998-05-22 Dainippon Screen Mfg Co Ltd 処理液供給装置
JPH11354419A (ja) * 1998-06-12 1999-12-24 Dainippon Screen Mfg Co Ltd 塗布装置
JP2000223403A (ja) * 1999-02-02 2000-08-11 Tokyo Electron Ltd 塗布膜の形成方法および塗布処理システム
JP2000306973A (ja) * 1999-04-19 2000-11-02 Tokyo Electron Ltd 処理システム
JP2003218022A (ja) * 2002-01-28 2003-07-31 Tokyo Electron Ltd 基板処理方法及び基板処理装置
JP2005203440A (ja) * 2004-01-13 2005-07-28 Tokyo Electron Ltd 位置調整方法及び基板処理システム
JP2007273792A (ja) * 2006-03-31 2007-10-18 Sokudo:Kk 基板処理装置

Patent Citations (8)

* Cited by examiner, † Cited by third party
Publication number Priority date Publication date Assignee Title
JPH02115072A (ja) * 1988-10-21 1990-04-27 Hitachi Ltd 塗布装置
JPH10135100A (ja) * 1996-10-25 1998-05-22 Dainippon Screen Mfg Co Ltd 処理液供給装置
JPH11354419A (ja) * 1998-06-12 1999-12-24 Dainippon Screen Mfg Co Ltd 塗布装置
JP2000223403A (ja) * 1999-02-02 2000-08-11 Tokyo Electron Ltd 塗布膜の形成方法および塗布処理システム
JP2000306973A (ja) * 1999-04-19 2000-11-02 Tokyo Electron Ltd 処理システム
JP2003218022A (ja) * 2002-01-28 2003-07-31 Tokyo Electron Ltd 基板処理方法及び基板処理装置
JP2005203440A (ja) * 2004-01-13 2005-07-28 Tokyo Electron Ltd 位置調整方法及び基板処理システム
JP2007273792A (ja) * 2006-03-31 2007-10-18 Sokudo:Kk 基板処理装置

Cited By (8)

* Cited by examiner, † Cited by third party
Publication number Priority date Publication date Assignee Title
JP2017183595A (ja) * 2016-03-31 2017-10-05 株式会社荏原製作所 基板洗浄装置
WO2018225615A1 (ja) * 2017-06-05 2018-12-13 東京エレクトロン株式会社 処理条件設定方法、記憶媒体及び基板処理システム
JPWO2018225615A1 (ja) * 2017-06-05 2020-04-09 東京エレクトロン株式会社 処理条件設定方法、記憶媒体及び基板処理システム
JP2021061333A (ja) * 2019-10-08 2021-04-15 株式会社ディスコ 樹脂保護部材形成装置、および、保護部材の形成方法
JP7323411B2 (ja) 2019-10-08 2023-08-08 株式会社ディスコ 樹脂保護部材形成装置、および、保護部材の形成方法
WO2023189753A1 (ja) * 2022-03-30 2023-10-05 東京エレクトロン株式会社 塗布処理方法、記憶媒体、及び塗布処理装置
JPWO2023189753A1 (ja) * 2022-03-30 2023-10-05
JP7730985B2 (ja) 2022-03-30 2025-08-28 東京エレクトロン株式会社 塗布処理方法、記憶媒体、及び塗布処理装置

Also Published As

Publication number Publication date
JP5276912B2 (ja) 2013-08-28

Similar Documents

Publication Publication Date Title
KR101453576B1 (ko) 도포 처리 방법, 컴퓨터 판독 가능한 기억 매체, 및 도포 처리 장치
US8707893B2 (en) Substrate treatment system, substrate treatment method, and non-transitory computer storage medium
TWI603377B (zh) 塗布處理方法、電腦記錄媒體及塗布處理裝置
JP5337180B2 (ja) 塗布処理方法、プログラム、コンピュータ記憶媒体及び塗布処理装置
US8318247B2 (en) Coating treatment method, coating treatment apparatus, and computer-readable storage medium
JP5091722B2 (ja) 塗布処理方法、プログラム、コンピュータ記憶媒体及び塗布処理装置
JP4805758B2 (ja) 塗布処理方法、プログラム、コンピュータ読み取り可能な記録媒体及び塗布処理装置
JP5314657B2 (ja) ノズルの位置調整方法、プログラム、コンピュータ記憶媒体及び塗布処理装置
JP5296021B2 (ja) 塗布処理方法、プログラム、コンピュータ記憶媒体及び塗布処理装置
US20120238106A1 (en) Coating method and coating apparatus
KR102593787B1 (ko) 기판 처리 장치, 기판 처리 방법 및 컴퓨터 기억 매체
TW201701082A (zh) 塗布處理方法、電腦記錄媒體及塗布處理裝置
KR102404965B1 (ko) 도포 처리 방법, 컴퓨터 기억 매체 및 도포 처리 장치
US10707098B2 (en) Substrate processing apparatus, substrate processing method and memory medium
JP5276912B2 (ja) 塗布処理方法、プログラム、コンピュータ記憶媒体及び塗布処理装置
JP7478639B2 (ja) ノズルの位置調整方法及び液処理装置
JP2019021747A (ja) 基板位置調整方法、記憶媒体及び基板処理システム
TWI660251B (zh) 顯影處理方法及電腦記錄媒體
JP2020181855A (ja) 基板処理方法及び基板処理装置
JP4723631B2 (ja) 現像処理方法、プログラム、コンピュータ記憶媒体及び現像処理装置
JP2023142946A (ja) 基板処理方法、記憶媒体及び基板処理装置

Legal Events

Date Code Title Description
A621 Written request for application examination

Free format text: JAPANESE INTERMEDIATE CODE: A621

Effective date: 20101124

A977 Report on retrieval

Free format text: JAPANESE INTERMEDIATE CODE: A971007

Effective date: 20121126

A131 Notification of reasons for refusal

Free format text: JAPANESE INTERMEDIATE CODE: A131

Effective date: 20121204

A521 Request for written amendment filed

Free format text: JAPANESE INTERMEDIATE CODE: A523

Effective date: 20130121

TRDD Decision of grant or rejection written
A01 Written decision to grant a patent or to grant a registration (utility model)

Free format text: JAPANESE INTERMEDIATE CODE: A01

Effective date: 20130514

A61 First payment of annual fees (during grant procedure)

Free format text: JAPANESE INTERMEDIATE CODE: A61

Effective date: 20130520

R150 Certificate of patent or registration of utility model

Free format text: JAPANESE INTERMEDIATE CODE: R150

Ref document number: 5276912

Country of ref document: JP

Free format text: JAPANESE INTERMEDIATE CODE: R150

R250 Receipt of annual fees

Free format text: JAPANESE INTERMEDIATE CODE: R250

R250 Receipt of annual fees

Free format text: JAPANESE INTERMEDIATE CODE: R250

R250 Receipt of annual fees

Free format text: JAPANESE INTERMEDIATE CODE: R250

R250 Receipt of annual fees

Free format text: JAPANESE INTERMEDIATE CODE: R250

R250 Receipt of annual fees

Free format text: JAPANESE INTERMEDIATE CODE: R250

R250 Receipt of annual fees

Free format text: JAPANESE INTERMEDIATE CODE: R250

R250 Receipt of annual fees

Free format text: JAPANESE INTERMEDIATE CODE: R250

R250 Receipt of annual fees

Free format text: JAPANESE INTERMEDIATE CODE: R250