JP2010008773A - シート状物及びその製造方法 - Google Patents

シート状物及びその製造方法 Download PDF

Info

Publication number
JP2010008773A
JP2010008773A JP2008168733A JP2008168733A JP2010008773A JP 2010008773 A JP2010008773 A JP 2010008773A JP 2008168733 A JP2008168733 A JP 2008168733A JP 2008168733 A JP2008168733 A JP 2008168733A JP 2010008773 A JP2010008773 A JP 2010008773A
Authority
JP
Japan
Prior art keywords
sheet
metal layer
sheet body
cut
magnetic flux
Prior art date
Legal status (The legal status is an assumption and is not a legal conclusion. Google has not performed a legal analysis and makes no representation as to the accuracy of the status listed.)
Granted
Application number
JP2008168733A
Other languages
English (en)
Other versions
JP5179971B2 (ja
Inventor
Masaaki Sato
正昭 佐藤
Masakazu Sato
正和 佐藤
Hiroshi Yamagami
弘 山上
Sadao Nagai
定夫 永井
Current Assignee (The listed assignees may be inaccurate. Google has not performed a legal analysis and makes no representation or warranty as to the accuracy of the list.)
FINE LABEL KK
Oshio Industry Co Ltd
Original Assignee
FINE LABEL KK
Oshio Industry Co Ltd
Priority date (The priority date is an assumption and is not a legal conclusion. Google has not performed a legal analysis and makes no representation as to the accuracy of the date listed.)
Filing date
Publication date
Application filed by FINE LABEL KK, Oshio Industry Co Ltd filed Critical FINE LABEL KK
Priority to JP2008168733A priority Critical patent/JP5179971B2/ja
Publication of JP2010008773A publication Critical patent/JP2010008773A/ja
Application granted granted Critical
Publication of JP5179971B2 publication Critical patent/JP5179971B2/ja
Active legal-status Critical Current
Anticipated expiration legal-status Critical

Links

Images

Abstract

【課題】少なくとも金属層を有するシート状物に無線通信用のIC部を備えていながらも、通信状態の悪化を最小限に抑制したシート状物を提供する。また、このようなシート状物を簡便に製造することのできる製造方法を提供する。
【解決手段】シート体10には、短辺縁開口12aを有するように略円形状に切欠かれた切除部12が形成されている。切除部12には、IC部20が取り付けられ、IC部20のIC本体22はその全域がシート体10の切除部12に位置している。シート体10の切除部12においては、金属層(シート体10)の厚み方向における電波及び磁束の通過が許容されるとともに金属層(シート体10)の面方向における電波及び磁束の透過が許容される。
【選択図】図3

Description

本発明は、少なくとも金属層を有するシート状物及びその製造方法に関する。
従来、電波や磁束(磁界)などを用いた近距離の無線通信によって情報をやりとりするRFID(Radio Frequency Identification)技術が知られており、ICタグ(RFIDタグ)を製品に取り付けることが行われている。たとえば、ICタグに製造工場や、製造日、製品ごとに付される識別番号等の製品情報を記録させておき、ICタグとタグリーダとが通信して、情報を読み出したり書き込んだりすることで、製品の物流管理、在庫管理等を行うことができる。ICタグとタグリーダとの通信方式としては、たとえば、ICタグのアンテナとタグリーダのアンテナとを磁束結合させて信号を伝達する電磁誘導方式と、ICタグのアンテナとタグリーダのアンテナとで電波をやりとりして信号を伝達する電波方式とが知られている。
特許文献1には、積層フィルムで形成された包装袋に無線ICタグを取り付けたものが開示されている。図9に示すように、特許文献1の包装体は、金属材料を含まない材料で形成された四角箱状の外箱51の内部にアルミニウム等の金属層を含む積層フィルムで形成された内袋52が収容されている。また、外箱51の外面には、無線ICタグ53が貼り付けられている。そして、外箱51の無線ICタグ53が貼り付けられている面と内袋52との間には、間隔保持部材54が挿入されている。間隔保持部材54は、ダンボールや発泡プラスチック等の非金属材料で形成され、その厚みが10mm以上に形成されている。この間隔保持部材54の存在によって、無線ICタグ53と内袋52の金属層とが10mm以上離間する。
電磁誘導方式によって通信する場合、タグリーダのアンテナから発せられる磁束によって無線ICタグ53のアンテナが電磁誘導される。したがって、無線ICタグ53のアンテナの周りを取り囲むように磁束が通ることができるようになっていなければならない。特許文献1の包装体では、無線ICタグ53と内袋52とが10mm以上離間しているので、無線ICタグ53の周りを通る磁束が金属層によって遮られることが抑制され、電磁誘導方式による良好な通信が実現される。
特開2006−056602号公報
たとえば、ホログラム加工を施してデザイン性やセキュリティ性の向上を図ったホログラムシートや、剥離後に分離したシート側と本体側とのそれぞれに金属層が付着していることで剥離済み(開封済み)であるか否かが判別できるセキュリティシールが知られている。このようなシート状物において、一部の層として金属層が含まれている。この場合、シート状物に直接無線ICタグを貼り付けると、磁束がシート状物の金属層によって遮断されてICタグを電磁誘導することができず、電磁誘導方式による通信ができなくなる可能性がある。
ここで、特許文献1の包装体においては、内袋52とは別に無線ICタグ53が貼り付けられる外箱51が必須である。さらに、外箱51と内袋52との間には間隔保持部材54を挿入しなければならない。したがって、特許文献1の包装体においては、無線ICタグ53を機能させるために、包装体の厚みを大きく(10mm以上)せざるを得ない。このような構成をホログラムシートやセキュリティシールのようなシート状物への無線ICタグの取り付け構成として適用しようとすると、シート状物の厚みとしては過剰に大きな厚みとなってしまう。加えて、外箱51や間隔保持部材54が必要であると、材料コストの上昇や製造方法の煩雑化をもたらし、シート状物の製造コストの上昇は避けられない。したがって、特許文献1の包装体の構成をシート状物へ適用するのは、現実的には不可能である。
また、特許文献1の包装体のように間隔保持部材54を介在させたとしても、ICタグから発せられる電波及び磁束は、金属層によって吸収されて減衰してしまう。そのため、ICタグが貼り付けられた側と金属層を挟んだ反対側には、電波及び磁束が届かない。したがって、タグリーダを用いてICタグが貼り付けられた側の反対側から通信しようとしても、その感度が著しく減少したり、あるいは通信が不可能となったりすることがある。
本発明は、このような従来技術の課題を鑑みてなされたものであって、少なくとも金属層を有するシート体に無線通信用のIC部を備えていながらも、シート状物の厚みが過剰に大きくなること、及び通信状態が悪化することを最小限に抑制したシート状物を提供することを目的とする。また、このようなシート状物を簡便に製造することのできる製造方法を提供することを目的とする。
上記の目的を達成するために、請求項1に記載の発明は、少なくとも金属層を有するシート体と、ICチップ及び無線通信用のアンテナ部を備えるIC部とを備えたシート状物であって、前記シート体には、前記金属層の厚さ方向において該金属層に対する電波及び磁束の透過を許容するとともに前記金属層の面方向において該金属層に対する電波及び磁束の透過を許容する透過部が形成され、前記アンテナ部は少なくとも一部が前記透過部に位置していることを特徴とする。
この構成によれば、シート体に形成された透過部は、金属層の厚さ方向及び面方向におけるIC部とICリーダとの通信を支援するため、該通信の好適化が実現されるとともに、該通信の多方向化が実現される。また、特許文献1にあるような外箱や間隔保持部材といった構成を必須としないため、シート状物の厚みが過剰に大きくなることが抑制されるとともに、シート状物の構成を簡易にすることが可能になる。
請求項2に記載の発明は、請求項1に記載の発明のシート状物において、前記透過部は、金属層が切除されてなることを特徴とする。この構成によれば、金属層が切除されて透過部が形成されているため、金属層によって電波及び磁束の通過が害されることを抑制する。
請求項3に記載の発明は、請求項1又は請求項2に記載の発明のシート状物において、前記IC部は、非金属材料で形成されたシール部材と該シール部材の接着面に設けられるIC本体とを備え、前記透過部は、前記シール部材によって覆われていることを特徴とする。
この構成によれば、シール部材によって透過部が覆われているため、透過部を形成することによってシート体の強度が低下したり、見栄えが悪くなったりすることを抑制することができる。また、シール部材は非金属材料で形成されているため、電波や磁束が妨げられることを抑制し、良好な通信を維持することができる。
上記の目的を達成するために、請求項4に記載の発明は、少なくとも金属層を有するシート体と、無線通信用のアンテナ部及びICチップを備えるIC部とを備えたシート状物の製造方法であって、前記金属層の厚さ方向において該金属層に対する電波及び磁束の透過が許容されるとともに前記金属層の面方向において該金属層に対する電波及び磁束の透過が許容されるように前記シート体に前記IC部を取り付ける工程を備えることを特徴とする。
この構成によれば、シート体にIC部を取り付ける工程を経ることによって、金属層の厚さ方向及び面方向におけるIC部とICリーダとの通信を支援する。また、シート体に対してIC部を取り付ける工程を経ることでIC付きのシート状物を製造することができるため、シート状物の製造方法としては、従来の製造方法からの大幅な変更を強いられることはない。
本発明のシート状物は、金属層を有するシート体にIC部を備えていながらも、シート状物の厚みが過剰に大きくなること、及び通信状態が悪化することを最小限に抑制することができる。また、本発明のシート状物の製造方法によれば、このようなシート状物を比較的簡便に製造することができる。
以下、本発明のシート状物に関する実施形態を図1〜図4にしたがって説明する。図1及び図3に示すように、本実施形態のシート状物は、基材層の一方側の面に金属層が設けられたシート体10を備えるとともに、無線通信を行うIC部20を備えている。
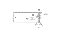
図1及び図3に示すように、シート体10は、長四角形状に形成されるとともにその一方の短辺縁(図1において左方の短辺縁)に貫通孔11が形成されている。この貫通孔11には図示しない紐体が通され、この紐体を介してシート体10が製品に取り付けられる。シート体10の他方側の短辺縁(図1において右方の短辺縁)には、金属層を有するシート体10全体が切除されてなる透過部としての切除部12が形成されている。
切除部12は、短辺縁開口12aを有するようにシート体10の他方側の短辺縁(図1において右方の短辺縁)からシート体10の長辺方向中央側へ向かって略円形状に切欠かれている。こうした構成によって、切除部12は、その中心からシート体10(金属層)の厚み方向の両方向(図1においてX方向及びY方向)に開放されているとともに、その中心からシート体10(金属層)の面方向の一方向(図1においてZ方向)に開放されている。なお、本実施形態では、前記面方向の一方向はシート体10の長辺方向と同一である。
図2に示すように、IC部20は、非金属材料で形成されたシール部材21に円形状のIC本体22を接着してなる。シール部材21は、一対の円板部21aとそれら円板部21aを連結する連結部21bとを有し、連結部21bで二つ折りしたときに、円板部21a同士が互いに重なり合って切除部12と相似形状となるように形成されている。
図4に示すように、円板部21aは、略円形状に形成されており、その直径R1は、切除部12のシート体10の短辺方向における最大幅(直径)R2よりも大きく設定されている。連結部21bは、略長方形状に形成されており、一対の円板部21aの連結方向と直交する方向の幅W1は、シート体10の短辺方向における切除部12の短辺縁開口12aの幅W2よりも大きく設定されている。なお、図4においては切除部12を点線で表している。
図2に示すように、シール部材21の接着面には、円形状のIC本体22が設けられている。IC本体22は円状の円形シート23を備え、その直径R3は切除部12の最大幅R2よりも小さく設定されている。円形シート23の表面においてその中央には、情報を保存、演算するICチップ24が取り付けられており、このICチップ24からは無線通信用のアンテナ部25が延びている。このアンテナ部25は、円形シート23の中央のICチップ24から外方に延びるとともに、円形シート23の外周に沿って略円形状に引き回されている。
図1に示すように、IC部20は、連結部21bで二つ折りにされ、シート体10を両側から挟みこんで切除部12を覆うように取り付けられている。また、IC部20のIC本体22はその全域がシート体10の切除部12に位置している。
次に、上記のシート状物を製造する方法、とくにシート体10にIC部20を取り付ける方法について説明する。本実施形態では、シート状物は、シート体10を形成して切除部12を形成する工程と、IC部20を取り付ける工程とを経て製造される。
シート体10を形成する工程では、先ず、基材層となる合成樹脂シートの片側の面にアルミニウムを蒸着して金属層を形成する。そして、長四角形状に裁断してシート体10を得るとともに、シート体10の基材層及び金属層を打ち抜いて貫通孔11及び切除部12を形成する。
次いで、シート体10にIC部20を取り付ける工程を行う。この工程では、金属層(シート体10)の厚さ方向において金属層に対する電波及び磁束の透過が許容され、さらに、金属層(シート体10)の面方向において金属層に対する電波及び磁束の透過が許容されるようにシート体10にIC部20を取り付ける。具体的には、図3に示すように、円形状の切除部12の中心とIC本体22の円形シート23の中心とが一致するようにIC部20を配置する。そして、シール部材21のIC本体22が設けられている面を内側(谷側)とするようにシール部材21を二つ折りにしつつ、シート体10の他方の短辺縁(切除部12)を挟み込むようにしてシール部材21取り付ける。このとき、シール部材21の円板部21aの直径R1が切除部12の最大幅R2よりも大きく設定されており、連結部21bの幅W1が切除部12の短辺縁開口12aの幅W2よりも大きく設定されているため、切除部12の全域がシール部材21に覆われる。また、円形シート23は、その直径R3が切除部12の最大幅R2よりも小さく設定されているので、IC本体22(アンテナ部25)はその全域がシート体10に接することなく切除部12に位置することになる。
次に、上記のシート状物の使用態様について記載する。
本実施形態のシート状物では、IC部20と図示しないICリーダとが電磁誘導方式又は電波方式によって無線通信を行う。電磁誘導方式と電波方式とでは、IC部20のIC本体22を駆動させる方法が異なっている。
電磁誘導方式による通信の場合、ICリーダから発せられる磁束(磁場)によってIC部20のIC本体22が駆動する。シート体10の切除部12においては、シート体10が切除されることで金属層も切除されており、金属層(シート体10)の厚み方向(図1においてX方向及びY方向)における磁束の通過が許容される。さらに、切除部12の短辺縁開口12aにおいては、金属層(シート体10)の面方向のうち一方向(図1においてZ方向)の磁束の通過が許容される。したがって、IC本体22のアンテナ部25のうち切除部12の短辺縁開口12aの近傍では、ICリーダから発せられた磁束がIC本体22のアンテナ部25の周りを取り囲むように通過することができる。そして、ICリーダから発せられてIC部20のアンテナ部25の周りを取り囲む磁束が変化することで、電磁誘導によってアンテナ部25に電流が流れる。
一方、電波方式による通信の場合、ICリーダから発せられる電波によってIC部20のIC本体22が駆動する。本実施形態では、シート体10の切除部12においては、金属層(シート体10)の厚み方向(図1においてX方向及びY方向)における磁束の通過が許容される。したがって、シート体10の金属層の厚み方向において、どちら側からでも(図1においてX方向からでもY方向からでも)ICリーダからの電波をIC本体22のアンテナ部25に照射することができる。ICリーダからはIC本体22のアンテナ部25の共振周波数に対応する周波数の電波が発せられるので、電波が照射されたアンテナ部25は、共振して電流が流れる。そして、本実施形態では、円形シート23の直径R3が切除部12の最大幅R2よりも小さく、それらの中心が一致するように設定されているので、アンテナ部25全体がシート体10の金属層と接触していない。したがって、アンテナ部25の共振周波数がシート体10の金属層に起因してずれたりすることはない。
アンテナ部25に電流が流れると、その電流によってICチップ24が駆動されるとともにICチップ24に保存された情報がアンテナ部25から電波として発せられる。本実施形態では、IC本体22全域が切除部12に位置しているため、アンテナ部25から発せられる電波は、シート体10の金属層によって遮られることなく、金属層の厚み方向において両方向(図1においてX方向及びY方向)に発せられる。そして、ICリーダは、シート体10に対してどの位置に配置されていても、アンテナ部25から発せられた電波を受信することができる。
上記の実施形態によれば、以下のような作用効果を得ることができる。
(1)上記実施形態では、シート体10が切除されることで該シート体10の金属層が切除された切除部12が形成されている。この切除部12は、金属層(シート体10)の厚さ方向及び面方向におけるIC部20とICリーダとの通信を支援するため、該通信の好適化が実現されるとともに、該通信の多方向化が実現される。また、IC部20を機能させるために外箱や間隔保持部材等の構成を必須としないので、シート状物の厚みが過剰に大きくなることを抑制するとともに、シート状物の構成を簡易にすることができる。
(2)上記実施形態では、シール部材21によって切除部12の全域が覆われている。そのため、切除部12を形成することによってシート体10の強度が低下したり、見栄えが悪くなったりすることを抑制することができる。また、シール部材21は非金属材料で形成されているため、磁束や電波が妨げられることを抑制し、良好な通信を維持することができる。
(3)上記実施形態では、IC本体22のアンテナ部25の全域がシート体10に接することなく切除部12に位置している。したがって、アンテナ部25の全域において、金属層(シート体10)の厚さ方向(図1においてX方向及びY方向)における電波及び磁束の透過が可能で、良好に通信することができる。加えて、上記実施形態では、アンテナ部25がシート体10の金属層に接していないため、アンテナ部25の共振周波数が変化しにくい。そのため、ICリーダから発せられる電波をより感度よく受信することができ、電波方式による良好な通信が可能である。
(4)上記実施形態では、切除部12は短辺縁開口12aを有し、金属層(シート体10)の面方向のうちの一方向(図1においてZ方向)における電波及び磁束の透過が可能である。そのため、IC本体22のアンテナ部25の周りを取り囲むように磁束が透過でき、電磁誘導方式による良好な通信が可能である。
(5)上記実施形態では、IC本体22が設けられている面を内側(谷側)とするようにシール部材21を二つ折りにしつつシート体10に取り付けているため、IC本体22もシール部材21によって覆われることになる。したがって、IC本体22のICチップ24やアンテナ部25が傷ついたりして故障することが抑制される。
(6)上記実施形態では、シート体10に対して、切除部12を形成し、IC部20を取り付ける工程を経ることでIC本体22付きのシート状物を製造することができる。そのため、シート状物の製造方法としては、従来の製造方法からの大幅な変更を強いられることはない。
なお、上記の実施形態は以下のように変更してもよく、また、以下の各変更例を互いに組み合わせて実施することも可能である。
・ 上記実施形態では、略円形状に切除部12を形成したが、切除部12の形状はこれに限らない。たとえば、短辺縁開口12aを有するように四角形状及び三角形状等の多角形状の切除部12を形成してもよい。このとき、IC部20のシール部材21を一対の多角形板部とそれら多角形板部を連結する連結部とを有するように形成すれば、多角形状の切除部12の全域をシール部材21で覆うことができる。
・ 上記実施形態では、短辺縁開口12aを有するように切除部12を形成した。この構成に代えて、たとえば、長辺縁開口を有するように切除部12を形成してもよい。このとき、金属層(シート体10)の面方向の一方向は、シート体10の短辺方向と同一である。このように、前記面方向の一方向は、シート体10の長辺方向でも短辺方向でもそれ以外のいずれの方向であってもよい。
・ 上記実施形態では、切除部12は、金属層(シート体10)の面方向のうち一方向に開放されているが、二方向、又は三方向以上の多方向に開放するようにしてもよい。二方向に開放するようにした場合、それら方向が一直線状をなすように互いに正反対の方向を指向するようにしてもよいし、そうでなくてもよい。
・ 上記実施形態では、IC本体22の全域が切除部12に位置していたが、IC本体22と切除部12との関係はこれに限らない。たとえば、切除部12の最大幅(直径)R2及び連結部21bの幅W2をIC本体22の円形シート23の直径R3よりも小さく設定して、IC本体22のアンテナ部25の一部が切除部12に位置し、他部が金属層に位置するようにしてもよい。具体的には、図5(a)に示すように、シート体10の短辺縁からシート体10の長辺方向に延びるスリット状の切除部41aを形成してもよい。また、図5(b)に示すように、シート体10の長辺縁からシート体10の短辺方向に延びるスリット状の切除部41bを形成してもよい。さらに、図5(c)に示すように、上辺縁からシート体10の短辺方向に延び、さらに長辺方向に延びる逆L字スリット状の切除部41cを形成してもよい。これらスリット状の切除部41a〜41cを採用した場合、切除部41a〜41cにIC本体22のアンテナ部25の一部が位置するようにIC本体22をシート体10に取り付ければよい。なお、図5(a)〜(c)では、IC本体22の取り付け位置を点線で示している。
・ 上記スリット状の切除部41a〜41cにおいて、その幅は、等幅でなくともよい。たとえば、徐々に幅が大きくなったり、小さくなったりするテーパ状に形成してもよく、あるいは、その幅を大きくしたり小さくしたりして変化を与えて切除部41a〜41cを構成してもよい。
・ 図6(a)に示すように、シート体10の角部を切り欠いて切除部42を形成し、この切除部42にIC本体22の一部がはみ出すようにIC本体22をシート体10に取り付けてもよい。あるいは、図6(b)に示すように、シート体10の短辺縁から外側に一部がはみ出すようにIC本体22を取り付けてもよい。なお、図6(a)及び(b)では、IC本体22の取り付け位置を点線で示している。
・ シート体10を左部44a及び右部44bの二つに分断し、この左部44aと右部44bとの間の隙間を切除部43としてもよい。具体的には、図7に示すように、円板部45aとその両方向に延びる連結部45bとを有するシール部材45を形成する。そして、このシール部材45によって左部44aと右部44bとの間に所定の幅を確保するように繋ぐ。この左部44aと右部44bとの間の隙間が切除部43となる。なお、図7では、シール部材45及びIC本体22を点線で示している。
・ 上記実施形態では、円形状の切除部12の中心とIC本体22の円形シート23の中心とが一致するようにしたが、両者の中心がずれていてもIC本体22のアンテナ部25がシート体10の金属層と接触しなければ、上記実施形態と同様の作用効果を得ることができる。また、切除部12の中心と円形シート23の中心との位置関係に拘わらず、アンテナ部25の一部が切除部12に位置しているのであれば、アンテナ部25がシート体10の金属層と接触していてもよい。
以上のように、切除部12の構成及びIC本体22の取り付け位置は、シート体10の形状、用途、デザイン、及びIC本体22の通信方式等を勘案して自由に変更することができる。
・ 上記実施形態では、シール部材21によって切除部12の全域を覆っていたが、全域を覆わなくてもよい。たとえば、シール部材21の円板部21aの直径R1を切除部12の最大幅R2より小さく設定してもよいし、連結部21bの幅W1を短辺縁開口12aの幅W2より小さく設定してもよい。ただし、上記実施形態では、IC本体22はシート体10と接しておらず、シール部材21を介して間接的にIC本体22がシート体10に取り付けられているので、シール部材21にシート体10と接着する部分を確保しなければいけない。
・ 上記実施形態では、シール部材21が一対の円板部21aと連結部21bとを有していたが、シール部材21の構成はこれに限らない。たとえば、シール部材21を長楕円形状に形成したり、長方形状に形成したりして、その長手方向中央で二つ折りにするようにしてもよい。あるいは、連結部21bが形成されておらず、互いに連結されていない一対の円板部21aで切除部12を挟み込むようにしてもよい。
・ 上記実施形態におけるIC部20のシール部材21を省略することもできる。たとえば、図5(a)〜(c)、図6(a)、(b)及び図7に示すように、IC本体22の一部が切除部に位置しているとき、IC本体22の円形シート23はシート体10と接した状態にある。そのため、円形シート23の一方の表面を接着面とすれば、IC本体22をシート体10に接着することができる。とくに、円形シート23のICチップ24及びアンテナ部25が形成されている側の面を接着面とすると、IC本体22のアンテナ部25がシート体10の金属層に接触することになる。すると、アンテナ部25とシート体10の金属層とが協調してアンテナとしての役割を果たすので、磁束の影響を受けやすくなる。したがって、電磁誘導方式の通信方法を採用する場合に好適である。また、円形シート23を省略することも可能で、この場合にはIC本体22がシール部材21に直接取り付けられることになる。
・ 上記実施形態では、シート体10を切除して透過部としての切除部12を形成したが、透過部の構成はこれに限らない。たとえば、シート体10の金属層を蒸着法で形成する場合、シート体10の表面の一部をマスキングして金属層を蒸着し、その後マスキングを除去することによって金属層が蒸着していない非蒸着域を形成し、この非蒸着域を透過部としてもよい。また、シート体10の基材層に金属シートを貼り合わせることで金属層を形成する場合、あらかじめ金属シートの一部を切除した後、金属シートを基材層に貼り合わせて金属層が切除された金属層切除部を形成し、この金属層切除部を透過部としてもよい。
・ 上記非蒸着域及び金属層切除部を透過部とする場合、円形シート23にICチップ24及びアンテナ部25を形成する構成に代えて、シート体10の基材層にICチップ24及びアンテナ部25を直接形成してもよい。たとえば、非蒸着域及び金属層切除部においてシート体10の基材層にICチップ24を取り付けるとともにアンテナ部25をプリントすることでIC本体22を形成することができる。この構成においてIC本体22は、金属層と同じ層に形成されることになる。
・ シート体10の形状は上記実施形態のものに限らない。たとえば、シート体10を円形状に形成してもよいし、三角形や五角形のような四角形以外の多角形状に形成してもよい。また、貫通孔11を複数個形成するようにしてもよいし、貫通孔11を省略してもよい。
・ 上記実施形態におけるシート状物(シート体10)とは、具体的には、たとえば、ブランドネームタグ、ブランドネーム下げ札、ブランドネームプレートといったようなものを想定している。このようなタグ、プレートに加えて、さらに、シート体10を錠剤やカプセルの包装用シートとして形成してもよい。たとえば、図8に示すシート状物においては、略四角板状のシート体46は、その一部が一方側に向かって膨出するように形成されて錠剤収容部47が形成されている。そして、シート体46の他方側の面には図示しない金属シートが貼り付けられ、この金属シートによって錠剤収容部47が密閉されている。
・ シート体10を構成する層は基材層と金属層との二つの層に限らず、少なくとも金属層を有していれば三層以上の層を有するようにしてもよい。あるいは、シート体10を金属層のみで構成してもよい。たとえば、シート体10をアルミニウムなどの金属プレートとした場合、シート体10は金属層のみで構成されることになる。
・ 上記実施形態のIC部20の通信形態は、電磁誘導方式及び電波方式に限らない。たとえば、IC部20に電源を内蔵し、ICリーダからの磁束や電波の照射なしに自ら電波を発することのできるいわゆるアクティブタイプのIC部20を採用してもよい。
・ IC本体22の構成は上記実施形態のものに限らない。たとえば、円形シート23は、円形に限らず三角形や四角形等の多角形状であってもよい。また、円形シート23上に設けられるICチップ24を円形シート23の縁部に設けてもよいし、アンテナ部25を四角形状に引き回してもよい。
次に、上記の実施形態及び変更例から把握できる技術的思想について以下に追記する。
・ 少なくとも金属層を有するシート体と、ICチップ及び無線通信用のアンテナ部を備えるIC部とを備えたシート状物であって、前記シート体には、前記金属層の厚さ方向において該金属層が切除されているとともに前記金属層の面方向の少なくとも一方向において該金属層が切除されてなる切除部が形成され、前記アンテナ部は少なくとも一部が前記切除部に位置していることを特徴とするシート状物。
実施形態におけるシート状物の斜視図。 実施形態におけるIC部の平面図。 実施形態におけるIC本体の取り付け時の模式斜視図。 実施形態におけるシート状物の部分拡大図。 (a)、(b)及び(c)は、変更例におけるシート状物の正面図。 (a)及び(b)は、変更例におけるシート状物の正面図。 変更例におけるシート状物の正面図。 変更例におけるシート状物の斜視図。 従来技術における包装体の断面図。
符号の説明
10…シート体、11…貫通孔、12…透過部としての切除部、20…IC部、21…シール部材、22…IC本体、23…円形シート、24…ICチップ、25…アンテナ部。

Claims (4)

  1. 少なくとも金属層を有するシート体と、ICチップ及び無線通信用のアンテナ部を備えるIC部とを備えたシート状物であって、
    前記シート体には、前記金属層の厚さ方向において該金属層に対する電波及び磁束の透過を許容するとともに前記金属層の面方向において該金属層に対する電波及び磁束の透過を許容する透過部が形成され、前記アンテナ部は少なくとも一部が前記透過部に位置していることを特徴とするシート状物。
  2. 前記透過部は、金属層が切除されてなることを特徴とする請求項1に記載のシート状物。
  3. 前記IC部は、非金属材料で形成されたシール部材と該シール部材の接着面に設けられるIC本体とを備え、前記透過部は、前記シール部材によって覆われていることを特徴とする請求項1又は請求項2に記載のシート状物。
  4. 少なくとも金属層を有するシート体と、無線通信用のアンテナ部及びICチップを備えるIC部とを備えたシート状物の製造方法であって、
    前記金属層の厚さ方向において該金属層に対する電波及び磁束の透過が許容されるとともに前記金属層の面方向において該金属層に対する電波及び磁束の透過が許容されるように前記シート体に前記IC部を取り付ける工程を備えることを特徴とするシート状物の製造方法。
JP2008168733A 2008-06-27 2008-06-27 シート状物及びその製造方法 Active JP5179971B2 (ja)

Priority Applications (1)

Application Number Priority Date Filing Date Title
JP2008168733A JP5179971B2 (ja) 2008-06-27 2008-06-27 シート状物及びその製造方法

Applications Claiming Priority (1)

Application Number Priority Date Filing Date Title
JP2008168733A JP5179971B2 (ja) 2008-06-27 2008-06-27 シート状物及びその製造方法

Publications (2)

Publication Number Publication Date
JP2010008773A true JP2010008773A (ja) 2010-01-14
JP5179971B2 JP5179971B2 (ja) 2013-04-10

Family

ID=41589351

Family Applications (1)

Application Number Title Priority Date Filing Date
JP2008168733A Active JP5179971B2 (ja) 2008-06-27 2008-06-27 シート状物及びその製造方法

Country Status (1)

Country Link
JP (1) JP5179971B2 (ja)

Citations (6)

* Cited by examiner, † Cited by third party
Publication number Priority date Publication date Assignee Title
JP2004269065A (ja) * 2003-03-05 2004-09-30 Dainippon Printing Co Ltd 光回折icタグ表示体と製品情報管理システム
JP2005505791A (ja) * 2001-10-09 2005-02-24 スリーエム イノベイティブ プロパティズ カンパニー 再帰反射機能および無線周波応答機能を有する物品
JP2006056602A (ja) * 2004-07-20 2006-03-02 Dainippon Printing Co Ltd 無線icタグ付き包装体
JP2006227670A (ja) * 2005-02-15 2006-08-31 Tac Kasei Kk Rfid粘着ラベル
WO2007073529A2 (en) * 2005-12-22 2007-06-28 Checkpoint Systems, Inc. Security tag for cigarette pack
JP2007199867A (ja) * 2006-01-24 2007-08-09 Mitsubishi Materials Corp Rfidタグ付き銘板

Patent Citations (6)

* Cited by examiner, † Cited by third party
Publication number Priority date Publication date Assignee Title
JP2005505791A (ja) * 2001-10-09 2005-02-24 スリーエム イノベイティブ プロパティズ カンパニー 再帰反射機能および無線周波応答機能を有する物品
JP2004269065A (ja) * 2003-03-05 2004-09-30 Dainippon Printing Co Ltd 光回折icタグ表示体と製品情報管理システム
JP2006056602A (ja) * 2004-07-20 2006-03-02 Dainippon Printing Co Ltd 無線icタグ付き包装体
JP2006227670A (ja) * 2005-02-15 2006-08-31 Tac Kasei Kk Rfid粘着ラベル
WO2007073529A2 (en) * 2005-12-22 2007-06-28 Checkpoint Systems, Inc. Security tag for cigarette pack
JP2007199867A (ja) * 2006-01-24 2007-08-09 Mitsubishi Materials Corp Rfidタグ付き銘板

Also Published As

Publication number Publication date
JP5179971B2 (ja) 2013-04-10

Similar Documents

Publication Publication Date Title
TW200905572A (en) RFID tag mounting package and manufacturing method thereof
JP2022509069A (ja) Rfidラベルの形成及び配置のための方法、システム並びに装置
AU2006330783B9 (en) Smart blister pack
EP3281153B1 (en) Radio frequency identification tag in a license plate
US8439273B2 (en) Contactless electronic tag
JP4256466B1 (ja) 非接触icカード通信調整板および非接触icカード収納具
JP4978857B1 (ja) Rfidタグ
JP2006003497A (ja) Icタグ付きラベル、及びicタグ付き容器
JP5179971B2 (ja) シート状物及びその製造方法
JP5384027B2 (ja) 包装体及びその製造方法
JP2018188199A (ja) Icタグ付き物品の収納容器
JP4769042B2 (ja) Rfidラベル及びrfidラベルの貼付方法
JP2008242768A (ja) 駐輪場のゲートシステム
JP2006318025A (ja) Icタグ対応プラスチック材とicタグ及びicタグ対応容器
JP5838737B2 (ja) Rfidモジュール、rfidモジュールの製造方法及び光メディアへの貼付方法
JP2009288833A (ja) 非接触icカード通信調整板および非接触icカード収納具
JP7320978B2 (ja) 無線タグ用保護容器
JP4839828B2 (ja) 金属対応の非接触式データキャリア装置
JP4096065B1 (ja) 非接触icカード通信調整板、非接触icカードケース、および非接触icカードを収納可能な財布
CN1773532A (zh) Rf标签保持结构
JP4406862B2 (ja) Rfidシステム及びrfidタグの上貼り方法
JP7559411B2 (ja) Rfタグ読取装置
JP5088047B2 (ja) 非接触式データキャリアラベル、非接触式データキャリアラベルシート、及び非接触式データキャリアラベルシートロール
JP2012070076A (ja) Rf−idメディア
JP2008018718A (ja) Icタグラベルリール及びその製造方法

Legal Events

Date Code Title Description
A621 Written request for application examination

Free format text: JAPANESE INTERMEDIATE CODE: A621

Effective date: 20110422

A977 Report on retrieval

Free format text: JAPANESE INTERMEDIATE CODE: A971007

Effective date: 20120629

A131 Notification of reasons for refusal

Free format text: JAPANESE INTERMEDIATE CODE: A131

Effective date: 20120703

A521 Request for written amendment filed

Free format text: JAPANESE INTERMEDIATE CODE: A523

Effective date: 20120903

A131 Notification of reasons for refusal

Free format text: JAPANESE INTERMEDIATE CODE: A131

Effective date: 20120925

A521 Request for written amendment filed

Free format text: JAPANESE INTERMEDIATE CODE: A523

Effective date: 20121126

TRDD Decision of grant or rejection written
A01 Written decision to grant a patent or to grant a registration (utility model)

Free format text: JAPANESE INTERMEDIATE CODE: A01

Effective date: 20121211

A61 First payment of annual fees (during grant procedure)

Free format text: JAPANESE INTERMEDIATE CODE: A61

Effective date: 20130110

R150 Certificate of patent or registration of utility model

Ref document number: 5179971

Country of ref document: JP

Free format text: JAPANESE INTERMEDIATE CODE: R150

R250 Receipt of annual fees

Free format text: JAPANESE INTERMEDIATE CODE: R250

R250 Receipt of annual fees

Free format text: JAPANESE INTERMEDIATE CODE: R250

R250 Receipt of annual fees

Free format text: JAPANESE INTERMEDIATE CODE: R250

R250 Receipt of annual fees

Free format text: JAPANESE INTERMEDIATE CODE: R250