JP2010007904A - 焼結機のパレット位置認識装置および漏風検知装置 - Google Patents

焼結機のパレット位置認識装置および漏風検知装置 Download PDF

Info

Publication number
JP2010007904A
JP2010007904A JP2008165248A JP2008165248A JP2010007904A JP 2010007904 A JP2010007904 A JP 2010007904A JP 2008165248 A JP2008165248 A JP 2008165248A JP 2008165248 A JP2008165248 A JP 2008165248A JP 2010007904 A JP2010007904 A JP 2010007904A
Authority
JP
Japan
Prior art keywords
pallet
sintering machine
rfid tag
pallets
position recognition
Prior art date
Legal status (The legal status is an assumption and is not a legal conclusion. Google has not performed a legal analysis and makes no representation as to the accuracy of the status listed.)
Granted
Application number
JP2008165248A
Other languages
English (en)
Other versions
JP5269496B2 (ja
Inventor
Shunji Matsumoto
俊司 松本
Masashi Shobuya
匡 菖蒲谷
Kazutoshi Fujikami
和利 藤上
Current Assignee (The listed assignees may be inaccurate. Google has not performed a legal analysis and makes no representation or warranty as to the accuracy of the list.)
Nippon Steel Corp
Nittetsu Hokkaido Control Systems Co Ltd
Original Assignee
Nippon Steel Corp
Nittetsu Hokkaido Control Systems Co Ltd
Priority date (The priority date is an assumption and is not a legal conclusion. Google has not performed a legal analysis and makes no representation as to the accuracy of the date listed.)
Filing date
Publication date
Application filed by Nippon Steel Corp, Nittetsu Hokkaido Control Systems Co Ltd filed Critical Nippon Steel Corp
Priority to JP2008165248A priority Critical patent/JP5269496B2/ja
Priority to PCT/JP2009/061547 priority patent/WO2009157499A1/ja
Priority to EP09770209.6A priority patent/EP2306131B1/en
Priority to CN200980124236.3A priority patent/CN102077048B/zh
Priority to KR1020107028902A priority patent/KR101276362B1/ko
Priority to BRPI0914677A priority patent/BRPI0914677A2/pt
Publication of JP2010007904A publication Critical patent/JP2010007904A/ja
Application granted granted Critical
Publication of JP5269496B2 publication Critical patent/JP5269496B2/ja
Active legal-status Critical Current
Anticipated expiration legal-status Critical

Links

Images

Classifications

    • CCHEMISTRY; METALLURGY
    • C22METALLURGY; FERROUS OR NON-FERROUS ALLOYS; TREATMENT OF ALLOYS OR NON-FERROUS METALS
    • C22BPRODUCTION AND REFINING OF METALS; PRETREATMENT OF RAW MATERIALS
    • C22B1/00Preliminary treatment of ores or scrap
    • C22B1/14Agglomerating; Briquetting; Binding; Granulating
    • C22B1/16Sintering; Agglomerating
    • C22B1/20Sintering; Agglomerating in sintering machines with movable grates
    • C22B1/205Sintering; Agglomerating in sintering machines with movable grates regulation of the sintering process
    • CCHEMISTRY; METALLURGY
    • C22METALLURGY; FERROUS OR NON-FERROUS ALLOYS; TREATMENT OF ALLOYS OR NON-FERROUS METALS
    • C22BPRODUCTION AND REFINING OF METALS; PRETREATMENT OF RAW MATERIALS
    • C22B1/00Preliminary treatment of ores or scrap
    • C22B1/14Agglomerating; Briquetting; Binding; Granulating
    • C22B1/16Sintering; Agglomerating
    • C22B1/20Sintering; Agglomerating in sintering machines with movable grates
    • FMECHANICAL ENGINEERING; LIGHTING; HEATING; WEAPONS; BLASTING
    • F27FURNACES; KILNS; OVENS; RETORTS
    • F27BFURNACES, KILNS, OVENS OR RETORTS IN GENERAL; OPEN SINTERING OR LIKE APPARATUS
    • F27B21/00Open or uncovered sintering apparatus; Other heat-treatment apparatus of like construction
    • F27B21/06Endless-strand sintering machines

Landscapes

  • Engineering & Computer Science (AREA)
  • Chemical & Material Sciences (AREA)
  • Mechanical Engineering (AREA)
  • Geochemistry & Mineralogy (AREA)
  • Geology (AREA)
  • Life Sciences & Earth Sciences (AREA)
  • Manufacturing & Machinery (AREA)
  • General Life Sciences & Earth Sciences (AREA)
  • Materials Engineering (AREA)
  • Environmental & Geological Engineering (AREA)
  • Metallurgy (AREA)
  • Organic Chemistry (AREA)
  • General Engineering & Computer Science (AREA)
  • Manufacture And Refinement Of Metals (AREA)

Abstract

【課題】焼結機上パレットの位置を、長期間に亘って安定的に、かつ精度よく認識するパレット位置認識装置、および、当該装置を具え、パレットに起因する漏風を精度よく検知することが可能な焼結機の漏風検知装置を提供する。
【解決手段】パレット1それぞれのサイドウォール8の外側に設置されたRFIDタグ11と、一連のパレットPに対向し、周回する各パレット1に設置されたRFIDタグ11との間で電波を送受信することが可能なアンテナ12と、アンテナ12に接続されたRFIDタグ11のリーダ/ライタ13と、リーダ/ライタ13から入力されるRFIDタグ11の識別情報に基づき、パレット1の位置を検出して認識する信号処理部14と具備するパレット位置認識装置32、およびこのパレット位置認識装置32を具備する焼結機の漏風検知装置33。
【選択図】図3

Description

本発明は、焼結機の漏風防止方法に係わり、詳しくは、原料を載せて該原料の充填層を形成し、焼結機上をエンドレスに周回している各パレットの位置を正確に認識し、これに適切な漏風検知方法を組み合わせることにより、焼結機のパレットに起因する漏風を検知するのに用いて好適な技術である。
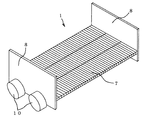
高炉鉄鋼業において、焼結機は、図9に示すように、焼結機5の長手方向に多数個のパレット1が連接して長手方向に移動可能な一連のパレットPと、一連のパレットPの下方に並列に固定して設けられた複数個のウインドボックス2からなる吸気手段とを具備する。各パレット1は、図10に示した斜視図のように、底面にグレートバー7を並べ、グレートバー7を挟んで両側面に配置されるサイドウォール8の外側に車輪10を備えている。図9(b)に示すように、一連のパレットPは先端と後端とが連接されており、エンドレスに焼結機5の筐体31内を周回する構造になっている。なお、図9(a)は焼結機5の平面図、(b)は側面図である。各ウインドボックス2は吸気管17を介してブロア(図示省略)で吸気/排気して減圧される。そして、一連のパレットPの周回中に、各パレット1に、原料供給ホッパー3からコークス粉を含む焼結原料が供給され、積載される。その焼結原料層の表面が点火炉4で着火され、同時にウインドボックス2を介して吸気される。こうして吸気されることにより、焼結原料層30(図11)の上側の表面から下方に燃焼帯を進行させ、焼結鉱を連続的に製造する。図11 は、焼結機5の長手方向から見た、パレット1およびウインドボックス2、すなわち焼結機5の断面図を示している。一連のパレットPは、焼結機5の筐体31内の両側に固定して設けられた2本の軌条26上を、各パレット1に備えられた車輪10が転がることにより、焼結機5の長手方向に移動する。
ところで、この焼結機5は、焼結鉱を連続して生産できるという長所があるが、パレット1底面に装備されたグレートバー7の破損、隣り合うパレット1間のサイドウォール8の連接部の隙間、さらにパレットシールバー6(図11参照)の磨耗などにより、密閉構造にするのが難しいという短所がある。つまり、そこには隙間が生じ、焼結原料層30を経由しない、焼結に寄与しない無駄な空気(漏風)が大量にウインドボックス2内に流れ込むという問題がある。この漏風が多いと焼結鉱の製造にそれだけ無駄な動力が消費されることになり、経済的に大きな損失となる。
そのため、従来から、漏風を検知する方法として例えば特許文献1や特許文献2に開示されているように種々の方法が考えられてきたが、これらは、二つの漏風検知方法に分類される。一つは、ウインドボックスから排出された排ガス中の酸素濃度を測定する方法であり、もう一つは、排ガスの流量(流速)を測る方法である。しかし、焼結機の一連のパレットにおいてパレットに起因する漏風を検知するためには、パレットの位置を正確に把握し、適切な漏風検知方法と組み合わせなければ、一連のパレットの中から漏風しているパレットを特定することはできない。以下、漏風しているパレットを特定するために不可欠なパレットの位置を正確に認識する従来の方法について説明する。なお、本願において「パレットの位置を正確に認識する」とは、一連のパレットのうちの特定の1つのパレットを識別すること、および、例えば焼結機の長手方向において設定したある位置に対する当該パレットの位置を、高精度に測定することを意味する。
特許文献3には、焼結燃焼前線グレート到達位置検出方法の発明が開示されている。特許文献3に記載された焼結機のパレット位置認識方法は、マイクロスイッチ等を利用したパレットセンサを用いたパレット位置の認識方法である。焼結機のパレットが上側を通過する特定の位置にパレットセンサが配置されており、このパレットセンサ上を通過する各パレットの特定部位、例えば進行方向前端を検知する。最初に、パレットセンサ上にあるパレットの番号を記憶させ、次のパレットがパレットセンサにより検出されると、あらかじめ記憶させたパレット番号順リストのパレット番号を更新するとともにそのときの時刻を記憶する。これを繰り返し、通過時刻の差とパレット一個あたりの長さからパレットの移動速度を算出する。この移動速度をもとに、特定のパレット位置を、例えば点火炉からの距離として求めるものである。
特開昭61−195929号公報 特開平11−264027号公報 特開昭59−185739号公報 クリモト技報NO.56、17−18頁
しかしながら、特許文献3に記載の「焼結機のパレット位置認識方法」では、マイクロスイッチ等を利用したパレットセンサのため、一度何らかの理由によりパレット認識漏れや二重読み込みが生じると、パレット一台丸ごと分以上、認識する位置がずれてしまい、結果として漏風していないパレットを補修し、逆に補修しなければならないパレットをそのままオンラインに残すことになり、漏風が解消されないという問題が発生する。
実際、通常焼結機の一連のパレットは100個以上のパレットで構成されており、それが約90分周期で焼結機内を一周することから、パレットセンサは1日に少なくとも1600回以上、パレットの通過を検知する必要がある。焼結機は、通常30日間以上連続稼動するため、1か月ではその認識回数は50000回にもおよび、機械的動作によりスイッチのON−OFFを繰り返すマイクロスイッチ等を用いたパレットセンサでは、耐久性の点から問題がある。又、焼結機周りの環境は、高温、多湿、高粉塵とセンサ環境上は極めて過酷なため、従来のようなパレットセンサを長期に亘って高感度で正常な状態に維持するのは容易ではない。
以上の従来の焼結機のパレット位置認識装置の問題点に鑑みて、本発明は、焼結機上をエンドレスに周回しているパレットの位置を、長期間に亘って安定的に、かつ精度よく認識することが可能な焼結機のパレット位置認識装置を提供することを第1の目的とし、当該パレット位置認識装置を具備し、パレットに起因する漏風を、長期間に亘って安定的に、かつ精度よく検知することが可能な焼結機の漏風検知装置を提供することを第2の目的とする。
本発明の要旨とするところは、以下に記載する如くである。
本発明の焼結機のパレット位置認識装置は、焼結原料を積載して移動可能な複数のパレットが移動方向に連接し、その先端部と後端部とが接続されたエンドレスの一連のパレットと、筐体に固定して前記一連のパレットの下に配設された複数のウインドボックスと、該複数のウインドボックスそれぞれの下端部に接続され前記ウインドボックス内のガスを排気するための吸気管とからなる焼結機の漏風検知装置において、焼結機内を周回する前記パレットそれぞれの焼結機長手方向の位置を検出する焼結機のパレット位置認識装置であって、前記パレットそれぞれのサイドウォールの外側に設置され、識別情報の書き込みおよび読み取りが可能なRFIDタグと、前記焼結機の筐体に固定され、前記一連のパレットに対向し、周回する各パレットに設置された前記RFIDタグとの間で電波を所定の時間だけ送受信することが可能な位置に設置されたアンテナと、前記アンテナに接続され、前記各RFIDタグの識別情報を含む信号の書き込みおよび読み取りが可能なRFIDタグのリーダ/ライタと、前記リーダ/ライタから入力されるRFIDタグの識別情報に基づいて、前記アンテナの位置を通過するパレットを識別し、該パレットの位置を検出して認識する信号処理部とを具備することを特徴とする。
又、本発明の焼結機のパレット位置認識装置は、前記RFIDタグのリーダ/ライタは、前記RFIDタグに前記識別情報を要求するプローブ信号をアンテナ経由で所定の時間周期で送信し、RFIDタグから返信された受信波から識別情報を得て、該識別情報を前記信号処理部に識別信号として出力し、前記信号処理部は、該所定の時間周期で入力された識別信号に基づき、各パレットの番号および焼結機長手方向の位置を、予め設定された前記一連のパレットの配置状態の情報を用いて導出することを特徴とする。
さらに、本発明の焼結機のパレット位置認識装置は、各パレットの移動速度を検出する速度検出器を具備し、前記信号処理部は、前記速度検出器から入力されるパレットの移動速度、および前記一連のパレットの配置状態の情報に基づき、各パレットの番号および焼結機長手方向の位置を導出することを特徴とする。
本発明の焼結機の漏風検知装置は、上記の焼結機のパレット位置認識装置を具備する焼結機の漏風検知装置であって、前記ウインドボックスの焼結機長手方向と直交する向きに対向した壁の上部に、発光器と受光器とがそれぞれ前記パレットの幅方向に対向して配設されており、該発光器からレーザ光を出射し該受光器で受光して光路中の酸素濃度を測定する1又は複数のレーザ式酸素濃度計と、前記レーザ式酸素濃度計で測定したウインドボックス中の酸素濃度の値に基づき、前記一連のパレットそれぞれについて漏風の有無と大きさとを検知するデータ処理装置とを具備することを特徴とする。
以上に記載した本発明のパレット位置認識装置によれば、焼結機上をエンドレスに周回しているパレットの位置を、長期間に亘って安定的に、かつ精度よく認識することが可能となる。また、当該パレット位置認識装置を具備する焼結機の漏風検知装置によれば、パレットに起因する漏風を、長期間に亘って安定的に、かつ精度よく検知することが可能となる。
また、本発明のパレット位置測定装置を用いた漏風検知によれば、パレットの底面に装備されたグレートバーの破損などからの漏風、隣り合うパレット間のサイドウォールの連接部からの漏風、さらにパレットシールバーの磨耗による漏風を正確に検知することが可能となり、漏風しているパレットを確実に特定することができる。したがって、特定された漏風のあるパレットを交換および補修することにより、従来に比べ大幅に、かつ安定して漏風を低減することが可能となる。その結果、焼結主排風機の電力消費量の削減ばかりでなく、焼結パレットを介して正常に吸引する風量が増えることに起因し、焼結鉱の増産も可能となる。
本発明の焼結機のパレット位置測定装置および当該パレット位置測定装置を具備する焼結機の漏風検知装置の実施の形態を、以下に図を用いて詳細に説明する。なお、各図において同じ機能を有する部分等については同一の符号を付記して、図の記載を簡単・明瞭にして説明する。
<第1の実施の形態>
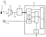
本発明の焼結機のパレット位置認識装置の実施の形態の概略構成を、図1、図2、および図3に示す。図1は、本発明にかかる位置認識装置が設けられた焼結機5を示し、(a)は平面図、(b)は側面図である。焼結機5は、図1に示すように、長手方向に多数個のパレット1が連結されて長手方向に移動可能な一連のパレットPと、一連のパレットPの下方に固定して設けられた複数個のウインドボックス2からなる吸気手段とを具備する。各パレット1は、図10に示すように、底面にグレートバー7を並べ、グレートバー7を挟んで両側面に配置されるサイドウォール8の外側に、車輪10を備えている。図1(b)に示すように、一連のパレットPは先端と後端とが連接されており、エンドレスに焼結機5の筐体31内を周回する。各ウインドボックス2は、吸気管17を介してブロア(図示省略)で吸気/排気して減圧される。一連のパレットPの周回中に、各パレット1に、原料供給ホッパー3からコークス粉を含む焼結原料が供給され、積載される。その焼結原料層30の表面が点火炉4で着火され、ウインドボックス2を介して吸気される。図2は、図1のA−A線から見た断面図である。パレット1は、焼結機5の筐体31内の両側に固定して設けられた2本の軌条26上を、各パレット1に備えられた車輪10が転がることにより移動する。
本発明では、図1、図2に示すように、焼結機5の全てのパレット1の側面部に、市販のRFIDタグ11をそれぞれ1個ずつ装着する。RFIDタグ11の装着位置は、例えば、高さ方向についてはサイドウォール8よりも下側の台車9に、走行方向については焼結機5の長手方向に隣接する二つの車輪10、10の間の中央にするのが好ましい。本実施の形態において、RFIDタグ11は、パッシブタイプを用いると良い。その選択理由は、電源が不要のため電池交換の煩わしさが無いためである。そして、パッシブタイプのRFIDタグ11としては、装着するパレット1が鋼製のためオンメタル状態で通信距離の長いUHF帯のRFIDタグ11を用いると良い。各パレット1に装着されたRFIDタグ11それぞれには、予め当該パレット番号等の識別情報を保持させておく。
なお、RFIDとはRadio Frequency Identificationの略であり、内蔵メモリに記録したID情報を埋め込んだタグ(ICチップからなるタグ)から、電波などを用いた近距離の無線通信によって所望の情報を送受信するものを言う。このRFIDタグに対して、無線通信によって外部の送受信装置を用いて、所望の情報をRFIDタグ内のメモリに読み書きをすることが可能である。
一方、図1、図2に示すように、RFIDタグ11との間で電波を送受信する情報読み書き用アンテナ12を、パレット1の側面部に装着されたRFIDタグ11に正対する向きに、情報読み書き用アンテナ(以下ではアンテナとも記す)12の指向方向を向けて、焼結機5の筐体31側に固定して設置する。パレット1に装着されているRFIDタグ11がアンテナ12のちょうど正面を通過するときのRFIDタグ11とアンテナ12の距離は、例えば約1mとする。図3に示したように、アンテナ12は、信号線RF18を介して、RFIDタグ11への情報の書込みおよび読み取りを実行するリーダ/ライタ13を経由し信号処理部14に接続されている。アンテナ12の正面近くを、RFIDタグ11を設置したパレット1が通過する際に、リーダ/ライタ13が読み取ったRFIDタグ11の例えば番号の信号に基づいて、パレット1の番号を信号処理部14が認識する。本実施の形態では、RFIDタグ番号はパレット番号と同じになるようにRFIDタグ番号を決めて、両方の番号をつき合わせる手間を省くようにする。
図3に示すパレット位置認識装置32の構成を詳細に説明する。本実施の形態においては、例えば1秒周期でリーダ/ライタ13からRFIDタグ11の上記の識別情報に基づく識別信号をリクエストするためのプローブ信号がアンテナ12へ向けて出力され、アンテナ12からプローブ信号の送信波を発信する。この送信波がRFIDタグ11で受信された後、応答信号としてRFIDタグ11から返ってくる送信波をアンテナ12で受信する。そしてアンテナ12からリーダ/ライタ13へ受信信号が入力される。次にリーダ/ライタ13から信号処理部14のRFID入力部19へ番号等の識別信号が出力される。信号処理部14のRFID入力部19は、識別信号に含まれる情報から、RFIDタグ番号すなわちパレット番号を認識する。さらに、RFID入力部19は、当該パレット番号等の識別信号と入力された時刻とを紐つけて、内蔵するメモリに保存する。このとき、保存する各識別信号に、リーダ/ライタ13から入力された信号の順番を付記すると、その後の信号処理において有用であり好ましい。なお、信号処理部14は時計機能部を内蔵している(図示省略)。本実施の形態においては、焼結機5の操業状態におけるパレット1の移動速度(パレット速度)を2500cm/分程度とする。また、このときのパレット1一台当たりの読み取り回数を10〜14回程度とする。この場合、送・受信周期(1秒)およびパレット速度から換算すると、RFIDタグ11がアンテナ12の中心から左右(すなわち焼結機長手方向)約20〜30(2500/(10〜14))cmの移動範囲にあるRFIDタグ11を読み取る。各パレット1の長手方向の長さが通常1.5mであることから、隣のパレット1に装着されたRFIDタグ11を誤って読み取ることはないと判断される。なお、上記のリーダ/ライタ13、RFID入力部19、および、以下で説明する信号処理部14に含まれる各部が備える測定のための機能は、測定制御部24による制御に基づいて実行される。
以上で説明したように、RFIDタグ11とアンテナ12との間で信号を送受信する際に、隣接するRFIDタグ11からの信号が重畳しないようにする必要がある。よって、隣接するRFIDタグ11の間隔Lには、設置可能な最小値L0がある。この最小間隔L0は、アンテナ12およびRFIDタグ11の電波を送受信する指向性、および、アンテナ12と移動するRFIDタグ11との最短間隔によって決まる。そして、RFIDタグ11の間隔Lやアンテナ12の一連のパレットPとの間隔を、(間隔L>最小間隔L0)となる範囲で適宜決めればよい。
本実施の形態においては、パレット1がアンテナ12の前を通過するとき、設置されたRFIDタグ11一つ当たりの読取回数は、前述の通り10回以上としたことから、RFIDタグ11の識別信号を一度も読み取れずに読み飛ばすことはない。
さらに、本実施の形態においては、焼結機5の筐体31に、パレット1の移動速度(パレット速度)を測定するために、例えばPLGで構成した速度検出器15を設置する(図3参照)。そして、例えばPLGから出力されるパルス信号を、図3に示したように、信号処理部14の速度信号入力部20に入力する。RFIDタグ11の不良などの原因で、パレット番号を含む識別信号を読み飛ばすことがあったとき、速度検出器15から出力されるパレット速度から算出されるタイミングでパレット番号の入力が無いことが検知され、さらに、当該RFIDタグ11の前後のRFIDタグ11のパレット番号に基づき、読み飛ばした不良なRFIDタグ11のパレット番号を特定することが可能となる。例えば、不良なRFIDタグ11の後のパレット1に装着されているRFIDタグ11の番号が読み取られれば、あらかじめパレット番号の配置順を信号処理部14に記憶させておくことにより、RFIDタグ11一個を読み飛ばしたとしても、番号を補間することが可能である。本実施の形態においては、速度検出器15を上記のように用いて、パレット速度を信号処理部14に並行して取り込んでおり、パレット速度とRFIDタグ11からの番号(すなわちパレット番号)を照らし合わせる機能を有する誤認識防止部22を信号処理部14内に備えて、読み飛ばし等のパレット番号の誤認識を防止している。
また、図3のパレット位置演算部23において、あらかじめ記憶したパレット1の配置順およびパレット番号の配列順と一連のパレットPの操業の初期状態である初期位置とを基に、速度検出器15によるパレット速度に基づいて、各パレット1の焼結機5の長手方向における位置を認識する。例えば、一連のパレットPが100台のパレットで構成され、それぞれのパレット1に順に1番から100番までの番号付けをしておく。そして、操業の初期状態として、ある時刻T0に1番パレットの前端が焼結機5の入り側(原料供給ホッパー3側)の基準位置にあるとする。以上の一連のパレットPの配置状態の情報を基にして、ある時刻Tmにおいてパレット1に装着しているRFIDタグ11による位置認識を実施するのに際して、速度検出器15による速度検出値Vmと時間(Tm−T0)とから、当該パレットの焼結機5内での進行距離Lm(Lm=Vm×(Tm−T0))が算出でき、進行距離Lmと1番パレットと当該パレットとの距離とから、上記基準位置に対する当該パレット1の位置を導出することができる。当該算出した位置と、当該パレット1に装着されたRFIDタグ11から入力される識別信号に基づき、以下で説明するような処理で導出されるパレット1の位置との導出値の差が10cm以上ずれた場合には、本実施の形態では、RFIDタグ11からの識別信号に基づく位置の測定値を正として、パレット1の位置を補正する方式を採用する。なお、上記の基準位置の代わりに、アンテナ12の焼結機5長手方向の設置位置の中心を基準位置としても良い。
上記した速度検出器15によるパレット速度の検出値Vmと時刻Tmを用いて各パレット1の位置を認識する方法は、焼結機5の構造上の理由からスリップやガタなどを避けるのが難しいという測定精度上の問題を有することから、安定して精度のよいパレット位置認識方法としては好ましくない。例えば、誤差が蓄積して、パレット1一台分(1.5m)ずれるようなことになれば、前述の特許文献1に記載の方法と同様の問題が発生することになる。そのために、RFIDタグ11から入力される識別信号に基づくパレット1の位置を推定する本発明のパレット位置認識方法を用いる。
本実施の形態のパレット位置認識装置において、各パレット1から、番号等からなる識別信号を得て、当該識別信号を基にして信号処理部14で実行されるパレット位置認識処理のフローの一例を、図4に基づいて以下に説明する。
S100:識別データ取得処理
まず、RFID入力部19の制御の下にリーダ/ライタ13から出力される、識別信号をリクエストするプローブ信号に基づき、アンテナ12からパレット1側面に向けて、一定周期ΔTの送信(又は受信)時刻Tm(m=0、1、2、・・・)に、例えば1秒間隔でプローブ信号の送信波を送信する。次に、アンテナ12から送信したプローブ信号の送信波に対する、RFIDタグ11からの応答としての受信波をアンテナ12が一定周期ΔTで受信し、リーダ/ライタ13へ伝送する。リーダ/ライタ13は受信波の信号から、パレット番号等の識別情報を含む応答信号を検出し、当該応答信号をRFID入力部19に入力する。ただし、アンテナ12に対向した位置に正常なRFIDタグ11が無いときには、リーダ/ライタ13から応答信号は出力されず、RFID入力部19に識別情報を含む応答信号は入力されない。このとき、RFID入力部19へは識別情報を含まないNULL信号が、一定周期ΔTで入力される。RFID入力部19では、上記の入力された応答信号からパレット番号等の識別信号、又は、NULL信号から非検知信号(例えば「NULL」)を、上記の送信時刻信号Tmと紐つけて識別データDmとして、順次内蔵するメモリに記録する。このとき、送信時刻信号Tmと識別信号等の各組に連番Nを付すと良い。さらに、識別データDmを順次、誤認識防止部22およびパレット位置演算部23に入力する。なお、以上の処理は、測定制御部24に内蔵する時計機能部から出力される時刻信号(タイミング信号)に同期して実行してもよい。
S101:パレット通過検出処理
RFID入力部19では、さらに、上記「NULL」が所定の回数、例えば3回連続して入力されたときには、1台のパレット(設置されたRFIDタグ)が通過完了したとして、パレット通過信号Vpsを作成する。次に、RFID入力部19は、パレット通過信号Vpsを順次、誤認識防止部22に入力する。また、パレット通過信号Vpsをパレット位置演算部23にも入力してもよい。なお、以上の処理は、測定制御部24に内蔵する時計機能部から出力される時刻信号(タイミング信号)に同期して実行してもよい。
S102:パレット位置演算処理
パレット位置演算部23では、RFID入力部19から順次入力される連続した識別データDmに基づいて、1台のパレットのRFIDタグからの識別データDmを用いて、例えば、最初の受信時刻と最終の受信時刻とから二つの中間の時刻を求め、その時刻にRFIDタグ11が装着されたパレット1のライン長手方向の中心がアンテナ12の正面に位置していたと認識する。なお、当該処理に際して、パレット通過信号Vpsをトリガー信号等として用いてもよい。
S103:パレット位置誤差演算処理
一方、パレット位置演算部23では、速度検出器15による速度検出値Vmを速度信号入力部20に入力し、当該速度検出値Vmと測定開始からの時間(Tm−T0)とから、1番パレット(一連のパレットの先頭)の焼結機内での進行距離Lm(Lm=Vm×(Tm−T0))が算出でき、進行距離Lmと1番パレットと各パレットとの距離とから、上記基準位置に対する各パレットの位置を算出する。このようにパレット速度から算出した、あるパレットについてそのパレット位置と、S102で認識したパレット位置との誤差を演算し、誤差が±Xcm未満である場合には、パレット速度から算出したパレット位置を正として出力する。又、誤差が許容範囲±Xcm以上である場合には、S102で認識したパレット位置を正として、パレット速度から算出した焼結機上にある現時点における各パレットの位置を、誤差分だけ補正する。本実施の形態では、例えばX=10cmとしたが、所望の位置検出精度に基づき適宜設定する。
S104:パレット番号の誤認識処理
誤認識防止部では、速度検出器15によるパレット速度の測定値に基づきS103で導出したパレット位置の測定値と、S100で得られた識別データDmとを照らし合わせて、RFIDタグとリーダ/ライタ13との間の送受信エラー等による応答信号の読み飛ばし等による、パレット速度に基づくパレット番号の導出をするときの誤認識を防止する処理を実行する。なお、当該誤認識処理は、速度検出器15によるパレット速度に基づくパレット番号の導出を主たる位置検出手段とするときに用いるとよい。RFIDタグからの応答信号を主たる位置検出手段とするときには、必ずしも用いる必要はない。
S105:結果出力および記録処理
以上の各処理で得られた算出結果・導出結果は、出力部25で作業者等に提示するためにコンピュータディスプレー等、又は記録装置へ出力する。
上述の処理によりパレット1の位置認識精度を向上させているが、RFIDタグ11の向きやアンテナ12の向きおよび両者の高さ位置関係などにより、読み取り状況が微妙に変わることが、あらかじめ実施したオフライン試験により判明した。したがって、本発明を実施する際には、RFIDタグ11とアンテナ12の据付に当たって、各装置の指向性・配置に細心の注意を払うとよい。
以上で説明したように、信号処理部14は、RFID入力部19、速度信号入力部20、パレット番号の誤認識防止部22およびパレット位置演算部23、測定制御部24、および出力部25で構成される(図3参照)。信号処理部14は、コンピュータシステムで構成することができる。当該コンピュータシステムは、CPU、メイン記憶装置、HDD等の外部記憶装置、キーボードやマウス等の入力装置、およびコンピュータディスプレーで構成するとよい。また、S100〜S105に記載したパレット位置を認識する一連の処理を当該コンピュータシステムに実行させるためのコンピュータプログラムを作成し、上記メイン記憶装置にロードして実行させることによって、本発明の焼結機のパレット位置認識装置を具現化することができる。
<第2の実施の形態>
本願の第2の発明である焼結機のパレットの漏風検知装置の実施の形態を、図5〜図8を用いて詳細に説明する。本実施の形態における漏風検知装置には、上記で例示した第1の発明のパレット位置認識装置が具備されている。なお、以下の説明の図面中においては、上記の図面と同一の機能を有す装置・部分の符号は同一の符号を付記して、図面の煩雑さを回避する。
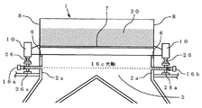
図5は、本発明にかかる漏風検知装置が設けられた焼結機5を示し、(a)は平面図、(b)は側面図である。焼結機5は、図5に示すように、長手方向に多数個のパレット1が連結され、長手方向に移動可能な一連のパレットPと、一連のパレットPの下方に固定して設けられた複数個のウインドボックス2からなる吸気手段とを具備する。各パレット1は、図10に示すように、底面にグレートバー7を並べ、グレートバー7を挟んで両側面に配置されるサイドウォール8の外側に、車輪10を備えている。図5(b)に示すように、一連のパレットPは先端と後端とが連接されており、エンドレスに焼結機5の筐体31内を周回する。各ウインドボックス2は、吸気管17を介してブロア(図示省略)で減圧される。一連のパレットPの周回中に、各パレット1に、原料供給ホッパー3からコークス粉を含む焼結原料が供給されて焼結原料層30が形成される。その焼結原料層30の表面が点火炉4で着火され、ウインドボックス2を介して吸気される。図6は、図5のB−B線から見た断面図である。また、図5のA−A線から見た断面図は図2と同様である。このように、本実施の形態は、上記の第1の実施の形態で説明したパレット位置認識装置32を具備している。また、パレット1は、焼結機5の筐体31内の両側に固定して設けられた2本の軌条26上を、各パレット1の側面に備えられた車輪10が転がることにより移動する。本実施の形態についての以下の説明では、パレット位置認識装置32に関する説明は上記第1の実施の形態と同じであるので、省略する。
本実施の形態では、図5、図6に示すように、焼結機5のライン長手方向(パレット1の移動方向)の、パレット1の直下に位置するウインドボックス2の側壁2aの最上部に、パレット1の幅方向に対向して、ウインドボックス2内の酸素濃度の変動を検知するために、例えば非特許文献1(クリモト技報NO.56、17−18頁)に記載されているようなレーザ式酸素濃度計16の、レーザ光を発射する発光器16aとレーザ光を検知する受光器16bとを設置する。ウインドボックス2の側壁2aの上部に設置する理由は、パレット1からウインドボックス2に流入した漏風は、吸気管17に向かって下方に引きこまれていくにつれて拡散していくので、酸素濃度の測定によってパレット1の漏風箇所を特定するためには、できるだけパレット1に近い方が好ましいためである。この際、パレット1の幅方向での漏風検知感度を揃えるため、発光器16aと受光器16bを結ぶ方向に平行なレーザ光の光軸16cが、地上に対し水平で且つパレット1の底面に平行になるようにすると良い。また、漏風しているパレット1の特定を容易とするため、光軸16cが焼結機5のライン長手方向に対して直角になるように、発光器16aおよび受光器16bを設置する。
図7は、本実施の形態の漏風検知装置33の構成を示す。この漏風検知装置33は、前述の図3で示したパレット位置認識装置32を具備している。レーザ式酸素濃度計16は、図7に示すように、酸素濃度信号入力部21を介して測定制御部24に接続され、測定制御部24による制御に基づいて、酸素濃度の測定が実行される。さらに、レーザ式酸素濃度計16は、酸素濃度の測定値に基づいて、それぞれのパレットについて漏風の有無と大きさとを検知するデータ処理装置41が接続されている。データ処理装置41は、例えばパーソナルコンピュータ等からなる。
本実施の形態では、図6、図8(部分拡大図)に示すように、パレット1の車輪10が転がる両側の軌条26の架台26aと、ウインドボックス2の側壁2aの対向位置に、それぞれ貫通穴を設け、貫通穴それぞれにパージ管27を通し、一方のパージ管27の端部に発光器16a、他方のパージ管27の端部に受光器16bを、それぞれフランジ28を介して接続する。発光器16aの出射口と受光器16bの受光口には、それぞれの光路に、保護用のシールガラス窓29が設けられている。シールガラス窓29の汚れ防止や、排ガス中の粉塵などによるパージ管27の詰まり防止を目的として、パージ管27内には、発光器16aと受光器16bのシールガラス窓29からウインドボックス2内部に向けて、パージガスとして窒素ガスの吹き込みを行う。ただし、窒素ガスの吹き込み流量は、吹き込まれた窒素ガスにより排ガスの組成が大きく影響されない程度とする。なお、パージガスは、窒素ガス以外の、酸素濃度測定を妨げない気体であっても良い。
漏風が無い正常時における、焼結機5の各ウインドボックス2内の排ガス中酸素濃度は、図5に示す焼結機5長手方向の焼結原料の供給側(給鉱側:パレット移動の上手側給鉱側)では17〜20%近くあり、長手方向の中間部になるにつれて10%以下にまで徐々に減少し、排鉱側(パレット移動の下手側側)では再度上昇し、21%近くになる。これは、給鉱側ではまだ焼成反応が燃焼原料層30の表面付近(上側)のみのため、未反応の酸素がそのままウインドボックス2に到達するためであり、中間部分では焼成反応が本格化し、未反応の酸素が減少し、排鉱側では焼成反応そのものが終了するため酸素濃度が再び上昇するものと考えられる。
したがって、漏風は空気であり酸素濃度が21%であることから、パレット1の劣化等による漏風が無い正常状態と、漏風がある異常状態との差が出やすい位置、すなわち、酸素濃度が低位で安定している焼結機5長手方向の中間部分に、レーザ式酸素濃度計16を設置するのが好ましい。ただし、設置スペース上、どうしても中間部に設置が不可能な場合には、酸素濃度が高位でも極力安定している箇所を選んで設置すれば、漏風を検知することが可能である。
さらに、ウインドボックス2の周辺温度は排鉱側に近いほど上昇するため、レーザ式酸素濃度計16の発光器16aと受光器16bの耐熱性およびメンテナンス性から、中間部のなかでも給鉱側に近い方に設置するのが良い。また、ウインドボックス2内の排ガス中の粉塵も給鉱側の方が少なく、粉塵によるレーザ光の減衰による影響やパージ管27の詰まりも少なく有利である。
一例として、上記の実施形態において、全26個のウインドボックス2中、給鉱側から7番目のウインドボックス2にレーザ式酸素濃度計16を設置した。この設置位置での通常操業状態における酸素濃度は7%前後であるが、漏風のあるパレット1通過時には、この値が8〜9%に上昇した。したがって、この場合、酸素濃度が8%以上で警報を出力するようにし、操業オペレータへ漏風を通知する。
ここで用いたレーザ式酸素濃度計16のレーザ光の径は約20mmΦと十分小さく、かつ3秒程度の応答性を有する。焼結機5にパレット1それぞれのライン長手方向の位置測定装置を取り付けてパレット1それぞれの位置を測定し、レーザ式酸素濃度計16で得た酸素濃度測定値を用いることにより、一連のパレットPのうちの漏風しているパレット1の特定のみならず、特定したパレット1内の進行方向の漏風位置まで特定できる。その際には、パレット位置のデータ、および酸素濃度データを、パーソナルコンピュータ等を用いて構成するデータ処理装置41に、I/Oボードを介して取り込んで、酸素濃度の異常から漏風を検知し、漏風が発生しているパレット名とともに、コンピュータディスプレー上に表示するようにしても良い。
なお、上記では、レーザ式酸素濃度計1台を用いた構成を説明したが、複数台を用いて漏風検出装置を構成してもよいことは明らかである。
以上で説明したように、本発明の第2の実施の形態である焼結機のパレット漏風検知装置33によれば、レーザ式酸素濃度計16を用いて高感度にウインドボックス内の酸素濃度を測定して、レーザ式酸素濃度計16の発光器16aと受光器16bの設置位置を通過するパレットにおける漏風を、高感度に検知することが可能である。さらに、第1の実施の形態で説明したパレット位置認識装置32を具備しているので、レーザ式酸素濃度計16の発光器16aと受光器16bの設置位置を通過するパレットの番号等を特定し、さらに当該パレット内の焼結機長手方向の漏風位置までも高精度に特定することができる。
さらに、第1の実施の形態および第2の実施の形態では、使用したRFIDタグ11はタグへの情報書き込みも可能なことから、アンテナ12の前をRFIDタグ11が通過する度に、RFIDタグ11の番号と共にRFIDタグ11に書き込んである稼動回数nを読み込み、一回カウントアップした回数n+1をRFIDタグ11に、例えば信号処理部14で制御して書き込むようにする。これにより焼結機5のオンライン上での各パレット1の稼動回数が分かることからパレット1の保全順番を決定する有効な手段となる。加えて、信号処理部14に焼結機の操業を管理する上位のコンピュータとネットワークを介して接続したり、信号処理部14に作業者用の入出力部を設けて、修理履歴などの保全情報も書き込み可能として、操業管理・トラブル予防・装置保全のツールとして用いることも可能となる。
なお、第2の実施の形態で説明した焼結機のパレット漏風検知装置33は、漏風の検知装置として、ウインドボックス2内の酸素濃度をレーザ式酸素濃度計で測定する方式を用いているが、代わりにその他の公知の漏風検知方式を採用して構成することも可能であることは明らかである。
以上では、鉄鋼業の上工程である高炉製鉄における焼結鉱を製造する焼結プロセスにおけるパレットに起因する漏風を検知する例として、本発明のパレット位置認識装置、および当該装置を用いた漏風検知装置を詳細に説明したが、本発明のパレット位置認識装置および漏風検知装置は、鉄鋼業の他プロセスや、他産業の同様なプロセス等において、移動する装置の位置検出や装置の気体流入等の検出にも適用可能であることは明らかである。
本発明のパレット位置認識装置を設けた焼結機を示し、(a)は平面図、(b)は側面図である。 図1のA−A線から見た断面図である。 本発明のパレット位置認識装置のシステム構成概略を示すブロック図である。 本発明のパレット位置認識装置の測定処理フローチャートである。 本発明のパレット位置認識装置および漏風検知装置を設けた焼結機を示し、(a)は平面図、(b)は側面図である。 図5のB−B線から見た断面図である。 本発明の漏風検知装置のシステム構成概略を示すブロック図である。 図6のレーザ式酸素濃度計部分の拡大図である。 従来の焼結機を示し、(a)は平面図、(b)は側面図である。 パレットの斜視図である。 図9のC−C線から見た断面図である。
符号の説明
1 パレット
2 ウインドボックス
2a 側壁
3 原料供給ホッパー
4 点火炉
5 焼結機
6 パレットシールバー
7 グレートバー
8 サイドウォール
9 台車
10 車輪
11 RFIDタグ
12 アンテナ
13 リーダ/ライタ
14 信号処理部
15 速度検出器
16 レーザ式酸素濃度計
16a 発光器
16b 受光器
16c 光軸
17 吸気管
18 信号線RF
19 RFID入力部
20 速度信号入力部
21 酸素濃度信号入力部
22 誤認識防止部
23 パレット位置演算部
24 測定制御部
25 出力部
26 軌条
27 パージ管
28 フランジ
29 シールガラス窓
30 焼結原料層
31 筐体
32 パレット位置認識装置
33 漏風検知装置
41 データ処理装置

Claims (4)

  1. 焼結原料を積載して移動可能な複数のパレットが移動方向に連接し、その先端部と後端部とが接続されたエンドレスの一連のパレットと、筐体に固定して前記一連のパレットの下に配設された複数のウインドボックスと、該複数のウインドボックスそれぞれの下端部に接続され前記ウインドボックス内のガスを排気するための吸気管とからなる焼結機の漏風検知装置において、焼結機内を周回する前記パレットそれぞれの焼結機長手方向の位置を検出する焼結機のパレット位置認識装置であって、
    前記パレットそれぞれのサイドウォールの外側に設置され、識別情報の書き込みおよび読み取りが可能なRFIDタグと、
    前記焼結機の筐体に固定され、前記一連のパレットに対向し、周回する各パレットに設置された前記RFIDタグとの間で電波を所定の時間だけ送受信することが可能な位置に設置されたアンテナと、
    前記アンテナに接続され、前記各RFIDタグの識別情報を含む信号の書き込みおよび読み取りが可能なRFIDタグのリーダ/ライタと、
    前記リーダ/ライタから入力されるRFIDタグの識別情報に基づいて、前記アンテナの位置を通過するパレットを識別し、該パレットの位置を検出して認識する信号処理部とを具備することを特徴とする焼結機のパレット位置認識装置。
  2. 前記RFIDタグのリーダ/ライタは、前記RFIDタグに前記識別情報を要求するプローブ信号をアンテナ経由で所定の時間周期で送信し、RFIDタグから返信された受信波から識別情報を得て、該識別情報を前記信号処理部に識別信号として出力し、
    前記信号処理部は、該所定の時間周期で入力された識別信号に基づき、各パレットの番号および焼結機長手方向の位置を、予め設定された前記一連のパレットの配置状態の情報を用いて導出することを特徴とする請求項1に記載の焼結機のパレット位置認識装置。
  3. 請求項2に記載の焼結機のパレット位置認識装置において、
    さらに、各パレットの移動速度を検出する速度検出器を具備し、
    前記信号処理部は、前記速度検出器から入力されるパレットの移動速度、および前記一連のパレットの配置状態の情報に基づき、各パレットの番号および焼結機長手方向の位置を導出することを特徴とする焼結機のパレット位置認識装置。
  4. 請求項1乃至請求項3のうちのいずれか1項に記載の焼結機のパレット位置認識装置を具備する焼結機の漏風検知装置であって、
    前記ウインドボックスの焼結機長手方向と直交する向きに対向した壁の上部に、発光器と受光器とがそれぞれ前記パレットの幅方向に対向して配設されており、該発光器からレーザ光を出射し該受光器で受光して光路中の酸素濃度を測定する1又は複数のレーザ式酸素濃度計と、
    前記レーザ式酸素濃度計で測定したウインドボックス中の酸素濃度の値に基づき、前記一連のパレットそれぞれについて漏風の有無と大きさとを検知するデータ処理装置とを具備することを特徴とする焼結機の漏風検知装置。
JP2008165248A 2008-06-25 2008-06-25 焼結機のパレット位置認識装置および漏風検知装置 Active JP5269496B2 (ja)

Priority Applications (6)

Application Number Priority Date Filing Date Title
JP2008165248A JP5269496B2 (ja) 2008-06-25 2008-06-25 焼結機のパレット位置認識装置および漏風検知装置
PCT/JP2009/061547 WO2009157499A1 (ja) 2008-06-25 2009-06-18 焼結機のパレット位置認識装置および漏風検知装置
EP09770209.6A EP2306131B1 (en) 2008-06-25 2009-06-18 Pallet position recognition device of sintering machine and air leak detector
CN200980124236.3A CN102077048B (zh) 2008-06-25 2009-06-18 烧结机的烧结小车位置识别装置及漏风检测装置
KR1020107028902A KR101276362B1 (ko) 2008-06-25 2009-06-18 팰릿 위치 인식 장치와 에어 리크 검지 장치를 구비한 소결기
BRPI0914677A BRPI0914677A2 (pt) 2008-06-25 2009-06-18 dispositivo de identificação de posição de palete e detector de vazamento de ar para máquina sinterizadora

Applications Claiming Priority (1)

Application Number Priority Date Filing Date Title
JP2008165248A JP5269496B2 (ja) 2008-06-25 2008-06-25 焼結機のパレット位置認識装置および漏風検知装置

Publications (2)

Publication Number Publication Date
JP2010007904A true JP2010007904A (ja) 2010-01-14
JP5269496B2 JP5269496B2 (ja) 2013-08-21

Family

ID=41444563

Family Applications (1)

Application Number Title Priority Date Filing Date
JP2008165248A Active JP5269496B2 (ja) 2008-06-25 2008-06-25 焼結機のパレット位置認識装置および漏風検知装置

Country Status (6)

Country Link
EP (1) EP2306131B1 (ja)
JP (1) JP5269496B2 (ja)
KR (1) KR101276362B1 (ja)
CN (1) CN102077048B (ja)
BR (1) BRPI0914677A2 (ja)
WO (1) WO2009157499A1 (ja)

Cited By (13)

* Cited by examiner, † Cited by third party
Publication number Priority date Publication date Assignee Title
CN101968314A (zh) * 2010-07-07 2011-02-09 新兴铸管股份有限公司 烧结机系统漏风率的测定方法
JP2011084758A (ja) * 2009-10-13 2011-04-28 Kobe Steel Ltd 測定データ収集方法及び測定データ収集システム
WO2011108532A1 (ja) * 2010-03-01 2011-09-09 新日本製鐵株式会社 パレット台車の漏風検知システム、パレット台車の漏風検知方法
JP2012036476A (ja) * 2010-08-10 2012-02-23 Nippon Steel Corp 焼結機パレットの漏風箇所検知方法
JP2012036477A (ja) * 2010-08-10 2012-02-23 Nippon Steel Corp 焼結機パレットの漏風箇所特定方法
JP2013122342A (ja) * 2011-12-12 2013-06-20 Nippon Steel & Sumitomo Metal Corp 焼結機のパレットのデータ測定装置およびデータ測定方法
JP2013122341A (ja) * 2011-12-12 2013-06-20 Nippon Steel & Sumitomo Metal Corp 焼結機のパレットのデータ測定装置およびデータ測定方法
JP2013159819A (ja) * 2012-02-03 2013-08-19 Nippon Steel & Sumitomo Metal Corp 焼結機の操業方法及び焼結機の操業システム
JP2014034686A (ja) * 2012-08-07 2014-02-24 Nippon Steel & Sumitomo Metal 焼結機のパレット位置認識装置を用いた焼結鉱の製造方法
JP2014092296A (ja) * 2012-10-31 2014-05-19 Nippon Steel & Sumitomo Metal レーザ式酸素濃度計
JP2014122382A (ja) * 2012-12-20 2014-07-03 Nippon Steel & Sumitomo Metal 焼結機パレットの漏風箇所特定方法
JP2018004184A (ja) * 2016-07-05 2018-01-11 Jfeスチール株式会社 ドワイトロイド式焼結機における漏風検知方法及び漏風検知システム
TWI877191B (zh) * 2019-07-30 2025-03-21 盧森堡商保爾沃特股份公司 用於監測移動式爐排機之狀況的系統及方法

Families Citing this family (3)

* Cited by examiner, † Cited by third party
Publication number Priority date Publication date Assignee Title
JP6115118B2 (ja) * 2012-12-20 2017-04-19 新日鐵住金株式会社 焼結機パレットの履歴管理方法
CN111562061A (zh) * 2020-04-30 2020-08-21 北京科技大学 一种铁矿石烧结机系统漏风率的测试方法
CN113298207B (zh) * 2021-05-27 2023-07-25 中冶长天国际工程有限责任公司 烧结台车识别方法、装置及系统

Citations (4)

* Cited by examiner, † Cited by third party
Publication number Priority date Publication date Assignee Title
JPS58189337A (ja) * 1982-04-26 1983-11-05 Kawasaki Steel Corp 焼結機のパレツト損傷検出方法
JPS61195929A (ja) * 1985-02-27 1986-08-30 Kawasaki Steel Corp 焼結設備の漏風検知方法
JPH06300460A (ja) * 1993-04-14 1994-10-28 Yaskawa Electric Corp 焼結機のパレット台車停止位置制御方法
JP2005335488A (ja) * 2004-05-26 2005-12-08 Nippon Cable Co Ltd 自動循環式索道の個別搬器情報管理装置

Family Cites Families (10)

* Cited by examiner, † Cited by third party
Publication number Priority date Publication date Assignee Title
JPS59185739A (ja) * 1983-04-05 1984-10-22 Sumitomo Metal Ind Ltd 焼結燃焼前線グレ−ト到達位置検出方法
CN2035452U (zh) * 1988-07-30 1989-04-05 治金工业部长沙黑色治金矿山设计研究院 烧结机料层厚度控制装置
JP3498973B2 (ja) * 1993-04-09 2004-02-23 新日本製鐵株式会社 焼結機の漏風検知方法
CN2682356Y (zh) * 2004-03-05 2005-03-02 史勇 步进式烧结机自动循环运行装置
US7295120B2 (en) * 2004-12-10 2007-11-13 3M Innovative Properties Company Device for verifying a location of a radio-frequency identification (RFID) tag on an item
WO2006082612A1 (ja) * 2005-01-31 2006-08-10 Fujitsu Limited Rfidキャリアセンス方法及び,これを用いるrfidシステム
US7323996B2 (en) * 2005-08-02 2008-01-29 International Business Machines Corporation RFID reader having antenna with directional attenuation panels for determining RFID tag location
JP5157054B2 (ja) * 2005-08-30 2013-03-06 大日本印刷株式会社 運搬装置、運搬装置の進入制限システム
JP5027486B2 (ja) * 2006-11-20 2012-09-19 株式会社タクマ クロムを含有する有機物を燃料とする燃焼装置及びこれを用いたクロムを含有する有機物燃料の燃焼方法
CN101082495B (zh) * 2007-07-30 2010-11-10 攀枝花新钢钒股份有限公司 烧结台车位置跟踪装置及方法

Patent Citations (4)

* Cited by examiner, † Cited by third party
Publication number Priority date Publication date Assignee Title
JPS58189337A (ja) * 1982-04-26 1983-11-05 Kawasaki Steel Corp 焼結機のパレツト損傷検出方法
JPS61195929A (ja) * 1985-02-27 1986-08-30 Kawasaki Steel Corp 焼結設備の漏風検知方法
JPH06300460A (ja) * 1993-04-14 1994-10-28 Yaskawa Electric Corp 焼結機のパレット台車停止位置制御方法
JP2005335488A (ja) * 2004-05-26 2005-12-08 Nippon Cable Co Ltd 自動循環式索道の個別搬器情報管理装置

Cited By (16)

* Cited by examiner, † Cited by third party
Publication number Priority date Publication date Assignee Title
JP2011084758A (ja) * 2009-10-13 2011-04-28 Kobe Steel Ltd 測定データ収集方法及び測定データ収集システム
CN102782432A (zh) * 2010-03-01 2012-11-14 新日本制铁株式会社 托盘台车的漏风检测系统和托盘台车的漏风检测方法
WO2011108532A1 (ja) * 2010-03-01 2011-09-09 新日本製鐵株式会社 パレット台車の漏風検知システム、パレット台車の漏風検知方法
KR101397244B1 (ko) * 2010-03-01 2014-05-22 신닛테츠스미킨 카부시키카이샤 팔레트 대차의 누풍 검지 시스템, 팔레트 대차의 누풍 검지 방법
JP4890663B2 (ja) * 2010-03-01 2012-03-07 新日本製鐵株式会社 パレット台車の漏風検知システム、パレット台車の漏風検知方法
CN101968314A (zh) * 2010-07-07 2011-02-09 新兴铸管股份有限公司 烧结机系统漏风率的测定方法
JP2012036477A (ja) * 2010-08-10 2012-02-23 Nippon Steel Corp 焼結機パレットの漏風箇所特定方法
JP2012036476A (ja) * 2010-08-10 2012-02-23 Nippon Steel Corp 焼結機パレットの漏風箇所検知方法
JP2013122342A (ja) * 2011-12-12 2013-06-20 Nippon Steel & Sumitomo Metal Corp 焼結機のパレットのデータ測定装置およびデータ測定方法
JP2013122341A (ja) * 2011-12-12 2013-06-20 Nippon Steel & Sumitomo Metal Corp 焼結機のパレットのデータ測定装置およびデータ測定方法
JP2013159819A (ja) * 2012-02-03 2013-08-19 Nippon Steel & Sumitomo Metal Corp 焼結機の操業方法及び焼結機の操業システム
JP2014034686A (ja) * 2012-08-07 2014-02-24 Nippon Steel & Sumitomo Metal 焼結機のパレット位置認識装置を用いた焼結鉱の製造方法
JP2014092296A (ja) * 2012-10-31 2014-05-19 Nippon Steel & Sumitomo Metal レーザ式酸素濃度計
JP2014122382A (ja) * 2012-12-20 2014-07-03 Nippon Steel & Sumitomo Metal 焼結機パレットの漏風箇所特定方法
JP2018004184A (ja) * 2016-07-05 2018-01-11 Jfeスチール株式会社 ドワイトロイド式焼結機における漏風検知方法及び漏風検知システム
TWI877191B (zh) * 2019-07-30 2025-03-21 盧森堡商保爾沃特股份公司 用於監測移動式爐排機之狀況的系統及方法

Also Published As

Publication number Publication date
KR20110014216A (ko) 2011-02-10
JP5269496B2 (ja) 2013-08-21
CN102077048B (zh) 2013-09-18
EP2306131A1 (en) 2011-04-06
WO2009157499A1 (ja) 2009-12-30
CN102077048A (zh) 2011-05-25
EP2306131A4 (en) 2015-04-15
BRPI0914677A2 (pt) 2015-10-20
KR101276362B1 (ko) 2013-06-18
EP2306131B1 (en) 2019-01-09

Similar Documents

Publication Publication Date Title
JP5269496B2 (ja) 焼結機のパレット位置認識装置および漏風検知装置
JP7115485B2 (ja) 異常検知システム、異常検知装置、異常検知方法、コンピュータプログラム、及びチェーン
JP5777500B2 (ja) 焼結機のパレットのデータ測定装置およびデータ測定方法
US7378967B2 (en) RFID tag sensitivity
JP5298629B2 (ja) 焼結機の漏風検知装置
CN106529867B (zh) 一种出入库管理系统和方法
US20060049249A1 (en) RFID sensor array
JP2020027095A (ja) 搬送システム検査装置(ドクター物流)
US8459082B2 (en) System for changing a roller
US20150061838A1 (en) Monitoring system, notification apparatus and monitoring method
US7891663B2 (en) Overlapped conveyance detection apparatus for printing sheet
US20130271267A1 (en) Apparatus for encoding rfid tag
JP5777501B2 (ja) 焼結機のパレットのデータ測定装置およびデータ測定方法
JP5442965B2 (ja) 物品位置検出システム
JP2014122380A (ja) 焼結機パレットの履歴管理方法
CN109597381A (zh) 一种基于大数据的物联网安全管理系统
JP5418439B2 (ja) 焼結機パレットの漏風箇所特定方法
JP2010018093A (ja) タイヤ情報検出システム
JP5303436B2 (ja) 測定値管理システムおよび測定値管理方法
JP5573482B2 (ja) 焼結機パレットの漏風箇所検知方法
KR20110001263A (ko) Rfid 태그 검사장치 및 방법
US12430523B2 (en) Systems and methods for monitoring a plurality of assets
KR101782583B1 (ko) 선택적촉매환원 촉매 정품 확인 장치 및 선택적촉매환원 촉매 정품 확인 방법
BRPI0914677B1 (pt) Dispositivo de identificação de posição de palete de máquina sinterizadora
JP2008243091A (ja) 認証タグ選定システム及び該システムに用いられる情報処理装置、認証タグ選定方法、認証タグ選定プログラム

Legal Events

Date Code Title Description
A621 Written request for application examination

Free format text: JAPANESE INTERMEDIATE CODE: A621

Effective date: 20100816

A131 Notification of reasons for refusal

Free format text: JAPANESE INTERMEDIATE CODE: A131

Effective date: 20130122

A521 Request for written amendment filed

Free format text: JAPANESE INTERMEDIATE CODE: A523

Effective date: 20130325

TRDD Decision of grant or rejection written
A01 Written decision to grant a patent or to grant a registration (utility model)

Free format text: JAPANESE INTERMEDIATE CODE: A01

Effective date: 20130416

A61 First payment of annual fees (during grant procedure)

Free format text: JAPANESE INTERMEDIATE CODE: A61

Effective date: 20130508

R150 Certificate of patent or registration of utility model

Free format text: JAPANESE INTERMEDIATE CODE: R150

Ref document number: 5269496

Country of ref document: JP

Free format text: JAPANESE INTERMEDIATE CODE: R150

S111 Request for change of ownership or part of ownership

Free format text: JAPANESE INTERMEDIATE CODE: R313115

R350 Written notification of registration of transfer

Free format text: JAPANESE INTERMEDIATE CODE: R350

R250 Receipt of annual fees

Free format text: JAPANESE INTERMEDIATE CODE: R250

R250 Receipt of annual fees

Free format text: JAPANESE INTERMEDIATE CODE: R250

R250 Receipt of annual fees

Free format text: JAPANESE INTERMEDIATE CODE: R250

R250 Receipt of annual fees

Free format text: JAPANESE INTERMEDIATE CODE: R250

S533 Written request for registration of change of name

Free format text: JAPANESE INTERMEDIATE CODE: R313533

R350 Written notification of registration of transfer

Free format text: JAPANESE INTERMEDIATE CODE: R350

S533 Written request for registration of change of name

Free format text: JAPANESE INTERMEDIATE CODE: R313533

R350 Written notification of registration of transfer

Free format text: JAPANESE INTERMEDIATE CODE: R350

R250 Receipt of annual fees

Free format text: JAPANESE INTERMEDIATE CODE: R250

R250 Receipt of annual fees

Free format text: JAPANESE INTERMEDIATE CODE: R250

R250 Receipt of annual fees

Free format text: JAPANESE INTERMEDIATE CODE: R250

R250 Receipt of annual fees

Free format text: JAPANESE INTERMEDIATE CODE: R250

R250 Receipt of annual fees

Free format text: JAPANESE INTERMEDIATE CODE: R250

R250 Receipt of annual fees

Free format text: JAPANESE INTERMEDIATE CODE: R250