JP2010007803A - 継手用挿入ガイドと挿入ガイド自動供給方法とワンタッチ継手 - Google Patents

継手用挿入ガイドと挿入ガイド自動供給方法とワンタッチ継手 Download PDF

Info

Publication number
JP2010007803A
JP2010007803A JP2008169745A JP2008169745A JP2010007803A JP 2010007803 A JP2010007803 A JP 2010007803A JP 2008169745 A JP2008169745 A JP 2008169745A JP 2008169745 A JP2008169745 A JP 2008169745A JP 2010007803 A JP2010007803 A JP 2010007803A
Authority
JP
Japan
Prior art keywords
insertion guide
joint
rail
inner peripheral
outer peripheral
Prior art date
Legal status (The legal status is an assumption and is not a legal conclusion. Google has not performed a legal analysis and makes no representation as to the accuracy of the status listed.)
Granted
Application number
JP2008169745A
Other languages
English (en)
Other versions
JP5270982B2 (ja
Inventor
Yoichi Iijima
陽一 飯島
Satoshi Imamura
智 今村
Current Assignee (The listed assignees may be inaccurate. Google has not performed a legal analysis and makes no representation or warranty as to the accuracy of the list.)
Kitz Corp
Original Assignee
Kitz Corp
Priority date (The priority date is an assumption and is not a legal conclusion. Google has not performed a legal analysis and makes no representation as to the accuracy of the date listed.)
Filing date
Publication date
Application filed by Kitz Corp filed Critical Kitz Corp
Priority to JP2008169745A priority Critical patent/JP5270982B2/ja
Publication of JP2010007803A publication Critical patent/JP2010007803A/ja
Application granted granted Critical
Publication of JP5270982B2 publication Critical patent/JP5270982B2/ja
Active legal-status Critical Current
Anticipated expiration legal-status Critical

Links

Images

Landscapes

  • Joints With Sleeves (AREA)
  • Quick-Acting Or Multi-Walled Pipe Joints (AREA)

Abstract

【課題】高いシール性を確保しながら樹脂製の接合パイプをスムーズに接合できる機能を有する継手用挿入ガイドであり、その機能性を損なうことなく装着時の方向性を適正に判別可能な継手用挿入ガイドと挿入ガイド自動供給方法と樹脂管用ワンタッチ継手とを提供する。
【解決手段】継手本体2内に装着されて接合パイプ3の接合時にこの接合パイプ3の挿入をガイドする環状の挿入ガイド1である。この挿入ガイド1は、何れか一方の端面側に方向性判別用の突出片11が一体に突出形成されている。
【選択図】 図1

Description

本発明は、架橋ポリエチレン管やポリブテン管等の樹脂管を接続する際にガイドする機能を発揮する継手用挿入ガイドと、この挿入ガイドを所定の向きにより自動供給する挿入ガイド自動供給方法と、挿入ガイドを装着したワンタッチ継手に関する。
住宅設備の給水・給湯用の配管には、上記のような樹脂管が多く用いられている。ワンタッチ継手は、施工が容易であり、かつ、施工時間も短くなるという利点から樹脂管接続用の継手として広く利用されている。
この種のワンタッチ継手として、例えば、特許文献1の樹脂管用ワンタッチ継手や、特許文献2、3の差込み式管継手がある。これらのワンタッチ継手は、内部にガイドリングを有している。ガイドリングは、接合パイプをガイドし、このガイド機能によりワンタッチ継手内に装着されたシール部材が接合パイプの端面で傷付けられることを防ぎ、パイプ接合後におけるシール性を確保できるようになっている。
そのため、ガイドリングは、先端側にシール部材を乗越えるための円弧部位、後端側に接合パイプが当接する平面部位が設けられ、この先端側・後端側は、それぞれガイドリングの中心軸を中心に回転対称になっている。この形状により、円弧部位とシール部材、平面部位と接合パイプ端面とがそれぞれ均圧に接触し、この状態で挿入されるようになっている。その際、ガイドリングがその機能を確実に発揮するためには、ワンタッチ継手に対して適正な装着方向で装着されていなければならず、仮に、異なる装着方向でガイドリングが装着された場合には、接合パイプが正しく挿入されず、接合後のシール性が確保されなくなって漏れを生じることがある。
そして、この種の機械部品を組み込む際には、手作業でおこなったり、パーツフィーダを利用して組み込むことが通常である。特に、パーツフィーダは、アタッチメントと呼ばれる判別機構により部品を適正な向きに自動的に整列させながら供給できるため、このパーツフィーダを用いることで部品の装着方向を確認することなく手動組み込み、又は組立装置により組み込みできる。そのため、パーツフィーダを用いた場合、迅速且つ正確に組み込み作業でき、作業の効率化が図られる。
特開2007−198585号公報 特開2005−76853号公報 特開2006−183732号公報
しかしながら、特許文献1〜3におけるガイドリングを継手内に装着しようとした場合、このガイドリングは、先端側と後端側とがそれぞれ回転対称の形状を呈しているため、手で触れたときに先端側と後端側との区別がつきにくく、また、見た目にも分かり難くなっている。そのため、このガイドリングは手作業により装着し難くなっていた。また、このガイドリングをパーツフィーダにより自動供給しようとしても、先端側と後端側との判別をおこなうことが難しくなるため自動供給が困難になっている。
また、この種のガイドリングは、樹脂を材料として射出成形によって成形される場合が一般的であるが、射出成形時にはゲートが成形品に残る場合がある。ゲートが成形品に残ると、このゲートが継手内部に接触して接合パイプ挿入時の挿入荷重に悪影響を与えたり、シール部材に接触してこのシール部材を傷めたりするおそれがあった。ゲートは、ニッパ等を用いて取り除くことも可能ではあるが、この場合、余計な手間が増えて生産性に劣るという問題が生じることになる。
本発明は、従来の課題点を解決するために開発したものであり、その目的とするところは、高いシール性を確保しながら樹脂製の接合パイプをスムーズに接合できる機能を有する継手用挿入ガイドであり、その機能性を損なうことなく装着時の方向性を適正に判別可能な継手用挿入ガイドと挿入ガイド自動供給方法と樹脂管用ワンタッチ継手とを提供することにある。
上記目的を達成するため、請求項1に係る発明は、継手内に装着されて接合パイプの接合時にこの接合パイプの挿入をガイドする環状の挿入ガイドであって、何れか一方の端面側に方向性判別用の突出片を一体に突出形成した継手用挿入ガイドである。
請求項2に係る発明は、突出片は、その内周径が前記継手内に装着される内周シール部材の外径よりも大径であり、その外周側先端部が先端外周側に形成されたテーパ面部の延長線上に形成された継手用挿入ガイドである。
請求項3に係る発明は、突出片は、一対の係合片である継手用挿入ガイドである。
請求項4に係る発明は、突出片の少なくとも何れか一方に樹脂射出成形用の切欠部を設けた継手用挿入ガイドである。
請求項5に係る発明は、接合パイプのガイド用であり、何れか一方の端面側に突出片を有する挿入ガイドをパーツフィーダに投入し、突出片をパーツフィーダの部品供給用レールに係合させて挿入ガイドを自動供給するようにした挿入ガイドの自動供給方法である。
請求項6に係る発明は、レールに振動を与えて突出片をこのレールに係合させて挿入ガイドをレールに対して適正方向に載置させて自動供給すると共に、挿入ガイドがレールに対して非適正方向に載置した場合にこの挿入ガイドをレールから脱落させるようにした挿入ガイドの自動供給方法である。
請求項7に係る発明は、レールを挿入ガイドの供給方向と交差する方向に傾斜させて挿入ガイドの非適正方向時におけるレールからの脱落を促進するようにした挿入ガイドの自動供給方法である。
請求項8に係る発明は、継手内に一体に又は別体に設けた内筒部の外周面に装着溝を形成し、この装着溝に内周シール部材を装着し、内筒部には弾性材料で形成されて接合パイプの挿入をガイドする挿入ガイドを収納し、この挿入ガイドは、先端面側に外部から継手への装着方向を判別可能な突出片が一体に突出形成されているワンタッチ継手である。
請求項9に係る発明は、突出片は、その内周径が継手内に装着される内周シール部材の外径よりも大径であるワンタッチ継手である。
請求項10に係る発明は、突出片は、その内周径が継手内に装着される内周シール部材の外径よりも大径であり、その外周側先端部が先端外周側に形成されたテーパ面部の延長線上に形成されたワンタッチ継手である。
請求項1に係る発明によると、高いシール性を確保しながら樹脂製の接合パイプをスムーズに接合できる機能を有する継手用挿入ガイドであり、その機能性を損なうことなく装着時の方向性を適正に判別可能な継手用挿入ガイドである。
請求項2に係る発明によると、継手内に装着した状態で接合パイプを挿入する際に、継手内に装着されたシール部材を無理なく変形させてシール性を確保しながら接合パイプを接合でき、また、パイプ挿入時に挿入荷重に影響を与えることなくスムーズに挿入可能な継手用挿入ガイドである。
請求項3に係る発明によると、パーツフィーダのレールに載ったときにこのレールに係合片が係合し、パーツフィーダにより適正な向きに整列されながら連続供給される継手用挿入ガイドである。
請求項4に係る発明によると、継手内への装着後に射出成形用のゲートが接合パイプ挿入時の荷重に悪影響を与えたり、シール部材を傷めたりすることがなく、優れた機能を維持しながら接合パイプを接合でき、しかも、射出成形後の切断後に後加工を施す必要もないため工数の増加を抑えて生産性に優れる継手用挿入ガイドである。
請求項5に係る発明によると、継手用の挿入ガイドをパーツフィーダにより適正な向きに整列して画一的に連続供給することができ、この連続供給された挿入ガイドを手動又は自動により正確に装着して短時間に継手を大量に製作することができる挿入ガイドの自動供給方法である。
請求項6に係る発明によると、適正方向にある状態の挿入ガイドをレールの所定位置まで搬送でき、また、非適正状態の挿入ガイドの搬送を防いで適正方向のみの挿入ガイドを連続供給することができる挿入ガイドの自動供給方法である。
請求項7に係る発明によると、挿入ガイドが適正な向きに整列するまでの効率を高めることができ、この挿入ガイドをより高い精度で安定して連続供給できる挿入ガイドの自動供給方法である。
請求項8に係る発明によると、高いシール性を確保しながら樹脂製の接合パイプをスムーズに接合できる機能を有するワンタッチ継手であり、容易に挿入ガイドの方向性を適正に判別して装着してその機能性を十分に発揮できるワンタッチ継手である。
請求項9に係る発明によると、接合パイプの挿入時に挿入ガイドが内周シール部材を傷付けることなく、この挿入ガイドにより内周シール部材を無理なく変形させてシール性を確保しながら接合パイプを接合することができるワンタッチ継手である。
請求項10に係る発明によると、接合パイプの挿入時に挿入ガイドが内周シール部材を傷付けることが無いことに加えて、外周シール用の外周シール部材を設けた場合にこの外周シール部材を無理なく変形させて、挿入荷重に悪影響を与えることなく高いシール性を確保しながら挿入することができ、しかも、挿入ガイドが突出片により外周シール部材に対してガイド機能を発揮しながら挿入されることでこの挿入ガイドがスムーズに挿入されるワンタッチ継手である。
以下、本発明における継手用挿入ガイドの一実施形態を図面に基づいて詳細に説明する。
図1において、挿入ガイド本体1は、例えば、ポリエチレンなどの樹脂等の弾性材料により環状に形成され、ワンタッチ継手本体(以下、継手本体)2内に装着される。挿入ガイド本体1は、接合パイプ3を継手本体2に接合する時に、この接合パイプ3の挿入をガイドする機能を有し、テーパ面5、テーパ面部6、段部7、後端面8、先端アール面9、スリット10、突出片11を有している。
テーパ面5とテーパ面部6との間には段部7が設けられ、この段部7には、後述する図7に示すように、ロックリング12の保持爪13が仮着可能になっている。テーパ面5は、段部7から後端面8にかけて接合パイプ3の図示しない外径と略同径に拡径するように形成され、後端面8には接合パイプ3の端面3aが当接可能に設けられている。また、テーパ面部6は、段部7よりも先端外周側に形成されている。
先端アール面9は、テーパ面部6よりも先端側の内周側から外周側にかけて形成される。この先端アール面9は、内周側に内側アール面15、外周側に外側アール面16を有している。
スリット10は、挿入ガイド本体1の先端側及び後端側から、軸方向に適宜の長さにより複数本交互に設けられる。スリット10は、本実施形態においては、挿入ガイド本体1の先端側に90度毎に設けたスリット10aと後端側に90度毎に設けたスリット10bとからなっており、各スリット10a、10bは、挿入ガイド本体1の先端側及び後端側からそれぞれ4本ずつ形成されている。これにより、挿入ガイド本体1が軸方向に変形できるようになっている。
突出片11は、挿入ガイド本体1の方向性を判別するために設けられ、挿入ガイド本体1の何れか一方の端面側に一体に突出形成され、本実施形態においては、挿入ガイド本体の先端側に一体に突出形成されている。この突出片11は、図8、図9に示すように、その内周径D1が継手本体2内に装着される後述の内周シール部材(内周Oリング)17の外径D2よりも大径に形成され、また、その外周側先端部20がテーパ面部6の延長線上に形成されている。また、この突出片11は、後述するパーツフィーダ21のレール22に係合可能な係合片になっている。
また、本実施形態における突出片11は、先端側のスリット10aとスリット10aとの間に形成されている。そのため、挿入ガイド本体1を継手本体2に装着する際に、挿入ガイド本体1が径方向に均等に拡縮することを妨げることなく突出片11を設けることができる。
更に、突出片11は、挿入ガイド本体1の先端側の円周方向において、対向する2ヶ所に円弧状に設けられている。これにより、突出片11の強度を増すことができる。
また、突出片11の少なくとも何れか一方には樹脂射出成形用の湯道となる切欠部23が設けられている。この切欠部23の軸方向における長さLは、外周側において突出片11が形成されていない先端アール面9の位置まで差し掛かることが無く、また、内周側において内側アール面15に差し掛かることが無い大きさに切欠き形成される。
次いで、挿入ガイドを自動供給するためのパーツフィーダの一実施形態と、挿入ガイドの自動供給方法並び作用を述べる。
図2において、パーツフィーダ21は、部品である挿入ガイド本体1供給用のレール22と、ボウル24とを有し、挿入ガイド本体1をこのパーツフィーダ21に投入したときに、突出片11をレール22に係合させてこの挿入ガイド本体1を自動供給できるようにした装置である。
レール22は、ボウル24の図示しない内壁に沿うように設けられ、このボウル24の外部へと連続して形成されている。このレール22には、ボウル24側の始点部位から外部の終点部位にかけて図示しない緩やかな勾配が設けられている。また、本実施形態におけるレール22は、図4に示すように断面略矩形状であり、その両側部位に対して突出片11が係合するようになっている。
レール22の終点部位側には自動又は手動組立機(組立機)25が配設されている。この組立機25は、適宜の態様によって設けることができ、この組立機25を用いてパーツフィーダ21により供給された挿入ガイド本体1を継手本体2内に装着できるようになっている。
ボウル24は、挿入ガイド本体1を収容可能な容器状に形成され、このボウル24には図示しない振動部が設けられている。振動部は、例えば、電磁石と板ばねにより構成され、電磁石による力を板ばねにより増幅させてボウル24に振動を伝達できるようになっている。
図2、3において、ボウル24内に挿入ガイド本体1を収容し、振動部を動作させると、この振動がボウル24からレール22に伝達される。このとき、挿入ガイド本体1にも振動が伝達され、レール付近に位置する挿入ガイド本体1がこのレール22に載置した状態になる。
このとき、図4に示すように、挿入ガイド本体1の突出片11側(先端側)が下方を向いた状態で、しかも、レールの両側部位に突出片11が係合することにより挿入ガイド本体1がレール22に対して適正方向に載置されると、挿入ガイド本体1は、レール22の振動によってこのレール22の勾配方向、すなわち、図4(b)の矢印方向に向けて終点部位に自動供給される。このとき、挿入ガイド本体1は、図4(a)に示すように、突出片11のレール22への係合により供給方向と交差する方向への移動が規制され、レール22から脱落することが防止される。
挿入ガイド本体1がレール22の終点部位まで達した場合には、組立機25を用いて挿入ガイド本体1を継手本体2内に装着する。このとき、挿入ガイド本体1は、必ず突出片11がレール22に対して下方に向いた状態で供給されるため、組立機25が自動である場合には、この自動組立機25により挿入ガイド本体1を継手本体2内に適正な方向性により画一的に装着することが可能となる。また、組立機25が手動である場合には、作業者が挿入ガイド本体1の方向をわざわざ確認することなく画一的な動作により効率的に継手本体2内に装着することができる。このため、作業工数の削減にも寄与できる。
また、ここで、挿入ガイド本体1を手作業で装着しようとする場合においても、方向性判別用の突出片11が先端側に突出形成されていることで、作業者は、この突出片11に手を触れることにより先端側を確認でき、先端側と後端側とを容易に判別できる。更に、突出片11を視認することにより、見た目にも容易に先端側と後端側を判別できる。これらにより、挿入ガイド本体1を簡単に手作業で継手本体2内に装着可能になっている。
以上のように、本発明の挿入ガイドは、先端面側に方向判別用の突出片11が形成されているので、この挿入ガイドを自動供給、又は手作業によって簡単に判別して継手本体内に適正な方向で装着できる。
一方、挿入ガイド本体1がレール22に載置して振動が加わったときに、突出片11がレール22に係合しないか、又は、挿入ガイド本体1の後端面8側が下方を向いた状態でレール22に載置した場合には、この挿入ガイド本体1はレール22に対して非適正方向に載置したことになる。この状態で更にレール22に振動が加わると、挿入ガイド本体1がレール22から脱落する。このため、レール22に対して非適正状態に載置した挿入ガイド本体1が自動供給されることはない。更に、この脱落した挿入ガイド本体1は、再度振動によりレール22に載置するが、このレール22に対して適正方向に載置した場合には前述のように自動供給され、また、非適正方向に載置した場合にはレール22からの脱落が繰り返される。このようにして、レール22に対して適正方向に載置した挿入ガイド本体1のみが自動供給される。
図6においては、レール22を挿入ガイド本体1の供給方向と交差する方向に傾斜させた例を示しており、この例においては、レール22を挿入ガイド本体1の供給方向と垂直方向に傾斜させている。この場合、図6(b)に示すように、挿入ガイド本体1がレール22に対して非適正方向に載置した際には、挿入ガイド本体1は傾斜方向に滑りやすくなるためレール22からの脱落が促進される。一方、図6(a)に示すように、挿入ガイド本体1がレール22に対して適正方向にした際には、この挿入ガイド本体1がレール22の傾斜により傾いたとしても突出片11がレールから外れることが無く、確実に自動供給される。
続いて、本発明の継手用挿入ガイドを装着したワンタッチ継手の一実施形態を説明する。
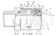
図7に示すように、本実施形態における継手本体2は、継手部30と被覆部31とを有し、この継手部30と被覆部31の内部に筒状インジケータ32、内周Oリング17、外周シール部材(外周Oリング)18、ロックリング12が装着されている。
筒状インジケータ32は、内筒部35とこの内筒部35の奥側から一体に形成される外筒部36とを有する二重筒構造になっており、この構造により、内筒部35と外筒部36との間には接合パイプ3が挿入可能な挿入間隙部37が形成されている。また、筒状インジケータ32は、透明又は半透明の樹脂によって形成される。
内周Oリング17は、内筒部35の外周側に形成された装着溝38に装着され、接合パイプ1が挿入間隙部37に挿入されたときにこの接合パイプ1の内周面側をシールする。一方、外周Oリング18は、外筒部36の内周側に形成された装着凹部39に装着され、接合パイプ1が挿入間隙部37に挿入されたときにこの接合パイプ3の外周面側をシールする。
ロックリング12は、ステンレス鋼等により略環状に形成され、被覆部31内に装着されている。このロックリング12は、内径側に前述した保持爪13を有し、この保持爪13は、所定の傾斜角度に屈曲形成され、接合パイプ3の外周表面側に係止してこの接合パイプ3を抜け止めするようになっている。
挿入ガイド本体1を継手本体2に装着する際には、この挿入ガイド本体1は、内筒部35の外周側に継手本体2の開口側から装着され、装着時には、開口側のロックリング12の保持爪13が段部7に係止して継手本体2内の所定位置に仮着される。このため、挿入ガイド本体1は、手作業による装入時の手ごたえや、図示しない取付け治具を用いた場合にもその装入ストロークを確認するだけで継手本体2に対して容易に装着でき、自動化も簡単になっている。
なお、上記の実施形態においては、継手本体2の内部に筒状インジケータ32を別体に設けているが、この筒状インジケータ32は、継手本体1と一体であってもよい。この場合、内筒部35及び外筒部36が継手本体に一体に形成されることになる。
継手本体2に接合パイプ3を接合する場合には、図7に示すように接合パイプ3をセットし、後端面8に端面3aを当接させながら接合パイプ3を継手本体2内に挿入する。
この挿入により、図8に示すように挿入ガイド本体1が内周Oリング17に差し掛かった場合には、前述のように突出片11の内周径D1が内周Oリング17の外径D2よりも大径であることから、この突出片11が内周Oリング17に接触することが無く、内周Oリング17に対して突出片11を設けない場合と同様に内側アール面15が接触する。このため、接合パイプ3挿入時の最大荷重に影響を与えることが無い。
また、図9に示すように、挿入ガイド本体1が外周Oリング18に差し掛かると、前述のように突出片11の外周側先端部20がテーパ面部6の延長線上に形成されていることから、この突出片11がテーパ面部6と同じ角度で外周Oリング18に当接してこの外周Oリング18を無理なく変形させる。このため、接合パイプ3挿入時の最大荷重に影響を与えることが防いで無理なく接合することができる。
このとき、挿入ガイド本体1の突出片11の先端側には切欠部23が切欠き形成されているが、この切欠部23の長さLが外周側において先端アール面9の位置まで差し掛かることが無く、また、内周側において内周アール面15に差し掛かることが無い大きさに形成されているので、この切欠部23が挿入ガイド本体1に接触して接合パイプ3挿入時の荷重に影響を与えたり、内周Oリング17、外周Oリング18に接触してこれらを傷付けたりするおそれもない。
しかも、樹脂成形時において、挿入ガイド本体1を図示しない樹脂成形型の湯道から切欠部23の位置で切り離す際には、図1(a)に示すように、バリ26が切欠部23の形成される空間内に納まり、このバリ26を切欠部23の長さLよりも短く切断することで、内周Oリング17、外周Oリング18を傷付けることがない。すなわち、前述したように内周径D1を外径D2よりも大径に設け、外周側先端部20をテーパ面部6の延長線上に形成した突出片11に対して切欠部23を設けているので、挿入ガイド本体1が内周Oリング17を乗り越える際にはこの内周Oリング17に切欠部23が触れることが無く、また、外周Oリング18を乗り越える際には、切欠部23を形成した部位が突出片11の形成されていない先端アール面9とほぼ同形状となるため、切欠部23が内周Oリング17、外周Oリング18に引っ掛かることがない。このため、挿入荷重への影響を抑えることができる。
また、このバリ26は、切断後に切欠部23から突出しないため、図10の比較例に示したガイドリング体40のように先端側にバリ部41が形成されることがなく、このバリ部41のように内周Oリング17、外周Oリング18に噛み込まれるおそれが無い。
続いて、更に継手本体2に接合パイプ3を挿入すると、挿入ガイド本体1は内周Oリング17、外周Oリング18を乗越え、やがて、挿入間隙部37の奥部37aに突き当る。この際、前述したように突出片11が円弧状になっていることで強度が増して変形しにくくなっているため、挿入ガイド本体1は、奥部37aに対してその位置が確実に決まった状態で装着される。
接合パイプ3の接続完了時には、この接合パイプ3の後端部付近が継手本体2に貫通形成した確認窓42より、透明又は半透明の筒状インジケータ32を介して正確に視認することができ、接合パイプ3を確実に所定の挿入位置まで挿入できる。
本発明における継手用挿入ガイドを示した概略図である。(a)は、挿入ガイドの正面図である。(b)は、挿入ガイドの前方斜視図である。(c)は、挿入ガイドの後方斜視図である。 パーツフィーダを示した概略平面図である。 挿入ガイドの自動供給方法を示したフローチャートである。 挿入ガイドの突出片がレールに適正方向に係合した状態を示した概略図である。 挿入ガイドがレールに非適正方向に載置した状態を示した概略図である。 挿入ガイドの突出片が傾斜したレールに適正方向に係合した状態を示した概略図である。 ワンタッチ継手を示した半截断面図である。 ワンタッチ継手に接合パイプを挿入した状態を示す一部拡大断面図である。 ワンタッチ継手に更に接合パイプを挿入した状態を示す一部拡大断面図である。 ゲートを有するガイドリングをワンタッチ継手に挿入した状態を示す断面図である。
符号の説明
1 挿入ガイド本体
2 継手本体
3 接合パイプ
6 テーパ面部
11 突出片
17 内周Oリング(内周シール部材)
20 外周側先端部
21 パーツフィーダ
22 レール
23 切欠部
35 内筒部
38 装着溝
D1 内周径
D2 外径

Claims (10)

  1. 継手内に装着されて接合パイプの接合時にこの接合パイプの挿入をガイドする環状の挿入ガイドであって、何れか一方の端面側に方向性判別用の突出片を一体に突出形成したことを特徴とする継手用挿入ガイド。
  2. 前記突出片は、その内周径が前記継手内に装着される内周シール部材の外径よりも大径であり、その外周側先端部が先端外周側に形成されたテーパ面部の延長線上に形成された請求項1に記載の継手用挿入ガイド。
  3. 前記突出片は、一対の係合片である請求項1又は2に記載の継手用挿入ガイド。
  4. 前記突出片の少なくとも何れか一方に樹脂射出成形用の切欠部を設けた請求項1乃至3の何れか1項に記載の継手用挿入ガイド。
  5. 接合パイプのガイド用であり、何れか一方の端面側に突出片を有する挿入ガイドをパーツフィーダに投入し、前記突出片を前記パーツフィーダの部品供給用レールに係合させて前記挿入ガイドを自動供給するようにしたことを特徴とする挿入ガイドの自動供給方法。
  6. 前記レールに振動を与えて前記突出片をこのレールに係合させて前記挿入ガイドを前記レールに対して適正方向に載置させて自動供給すると共に、前記挿入ガイドが前記レールに対して非適正方向に載置した場合にこの挿入ガイドを前記レールから脱落させるようにした請求項5に記載の挿入ガイドの自動供給方法。
  7. 前記レールを前記挿入ガイドの供給方向と交差する方向に傾斜させて前記挿入ガイドの非適正方向時における前記レールからの脱落を促進するようにした請求項6に記載の挿入ガイドの自動供給方法。
  8. 継手内に一体に又は別体に設けた内筒部の外周面に装着溝を形成し、この装着溝に内周シール部材を装着し、前記内筒部には弾性材料で形成されて接合パイプの挿入をガイドする挿入ガイドを収納し、この挿入ガイドは、先端面側に外部から前記継手への装着方向を判別可能な突出片が一体に突出形成されていることを特徴とするワンタッチ継手。
  9. 前記突出片は、その内周径が前記継手内に装着される内周シール部材の外径よりも大径である請求項8に記載のワンタッチ継手。
  10. 前記突出片は、その内周径が前記継手内に装着される内周シール部材の外径よりも大径であり、その外周側先端部が先端外周側に形成されたテーパ面部の延長線上に形成された請求項8に記載のワンタッチ継手。
JP2008169745A 2008-06-30 2008-06-30 ワンタッチ継手と挿入ガイドの自動供給方法 Active JP5270982B2 (ja)

Priority Applications (1)

Application Number Priority Date Filing Date Title
JP2008169745A JP5270982B2 (ja) 2008-06-30 2008-06-30 ワンタッチ継手と挿入ガイドの自動供給方法

Applications Claiming Priority (1)

Application Number Priority Date Filing Date Title
JP2008169745A JP5270982B2 (ja) 2008-06-30 2008-06-30 ワンタッチ継手と挿入ガイドの自動供給方法

Publications (2)

Publication Number Publication Date
JP2010007803A true JP2010007803A (ja) 2010-01-14
JP5270982B2 JP5270982B2 (ja) 2013-08-21

Family

ID=41588537

Family Applications (1)

Application Number Title Priority Date Filing Date
JP2008169745A Active JP5270982B2 (ja) 2008-06-30 2008-06-30 ワンタッチ継手と挿入ガイドの自動供給方法

Country Status (1)

Country Link
JP (1) JP5270982B2 (ja)

Citations (4)

* Cited by examiner, † Cited by third party
Publication number Priority date Publication date Assignee Title
JP2003314775A (ja) * 2002-04-19 2003-11-06 Jfe Pipe Fitting Mfg Co Ltd 差込み式管継手、及び差込み式管継手への管差込み方法
JP2006266326A (ja) * 2005-03-22 2006-10-05 Hitachi Metals Ltd 管継手
JP2008025819A (ja) * 2006-07-24 2008-02-07 Sanyo Seisakusho:Kk 継手
JP2010002022A (ja) * 2008-06-23 2010-01-07 Kitz Corp 樹脂管用ワンタッチ継手

Patent Citations (4)

* Cited by examiner, † Cited by third party
Publication number Priority date Publication date Assignee Title
JP2003314775A (ja) * 2002-04-19 2003-11-06 Jfe Pipe Fitting Mfg Co Ltd 差込み式管継手、及び差込み式管継手への管差込み方法
JP2006266326A (ja) * 2005-03-22 2006-10-05 Hitachi Metals Ltd 管継手
JP2008025819A (ja) * 2006-07-24 2008-02-07 Sanyo Seisakusho:Kk 継手
JP2010002022A (ja) * 2008-06-23 2010-01-07 Kitz Corp 樹脂管用ワンタッチ継手

Also Published As

Publication number Publication date
JP5270982B2 (ja) 2013-08-21

Similar Documents

Publication Publication Date Title
US6334634B1 (en) Push-to-connect tubing fitting
JP2009513886A (ja) 差込継手
KR101434767B1 (ko) 플라스틱 튜브를 니플에 연결하는 장치
CN102667293B (zh) 一种用于启封管道组合件内的管道的设备
KR102447847B1 (ko) 파이프 커플러 및 커플링 방법
KR101543367B1 (ko) 삽입 고정식 파이프 연결장치
US20170184240A1 (en) Connecting arrangement for connecting tube member to article
WO2016048867A1 (en) Pipe fitting apparatus and methods
CN106715993A (zh) 管连接器
JP4947706B2 (ja) 管継手
US9310006B2 (en) Hose connector
KR101358520B1 (ko) 관 조인트의 웅형 조인트 부재
JP5270982B2 (ja) ワンタッチ継手と挿入ガイドの自動供給方法
JP2011163474A (ja) 管継手
JP5400367B2 (ja) 電気融着継手
US10738929B2 (en) Sanitary Tee or Wye fitting component and use in a DWV system
TWM545859U (zh) 具管線定位確認之油管快速接頭
TWI803552B (zh) 蝶形閥的配管用定心機構
JP2009138869A (ja) 管継手連結部品及び配管構造体
JP4808757B2 (ja) 支管
CN105972346A (zh) 管接头
CN208927751U (zh) 集成水路板与管路的连接结构及水处理设备
JP6696705B2 (ja) 分水用コアの装着装置
JP6571987B2 (ja) 継手部の構造および管の敷設方法
JP2021055763A (ja) 継手

Legal Events

Date Code Title Description
A621 Written request for application examination

Free format text: JAPANESE INTERMEDIATE CODE: A621

Effective date: 20110622

A977 Report on retrieval

Free format text: JAPANESE INTERMEDIATE CODE: A971007

Effective date: 20130110

A131 Notification of reasons for refusal

Free format text: JAPANESE INTERMEDIATE CODE: A131

Effective date: 20130115

A521 Request for written amendment filed

Free format text: JAPANESE INTERMEDIATE CODE: A523

Effective date: 20130318

TRDD Decision of grant or rejection written
A01 Written decision to grant a patent or to grant a registration (utility model)

Free format text: JAPANESE INTERMEDIATE CODE: A01

Effective date: 20130416

A61 First payment of annual fees (during grant procedure)

Free format text: JAPANESE INTERMEDIATE CODE: A61

Effective date: 20130510

R150 Certificate of patent or registration of utility model

Free format text: JAPANESE INTERMEDIATE CODE: R150

Ref document number: 5270982

Country of ref document: JP

Free format text: JAPANESE INTERMEDIATE CODE: R150

R250 Receipt of annual fees

Free format text: JAPANESE INTERMEDIATE CODE: R250

R250 Receipt of annual fees

Free format text: JAPANESE INTERMEDIATE CODE: R250

R250 Receipt of annual fees

Free format text: JAPANESE INTERMEDIATE CODE: R250

R250 Receipt of annual fees

Free format text: JAPANESE INTERMEDIATE CODE: R250

R250 Receipt of annual fees

Free format text: JAPANESE INTERMEDIATE CODE: R250

R250 Receipt of annual fees

Free format text: JAPANESE INTERMEDIATE CODE: R250

R250 Receipt of annual fees

Free format text: JAPANESE INTERMEDIATE CODE: R250

R250 Receipt of annual fees

Free format text: JAPANESE INTERMEDIATE CODE: R250

S531 Written request for registration of change of domicile

Free format text: JAPANESE INTERMEDIATE CODE: R313531

R350 Written notification of registration of transfer

Free format text: JAPANESE INTERMEDIATE CODE: R350

R250 Receipt of annual fees

Free format text: JAPANESE INTERMEDIATE CODE: R250

R250 Receipt of annual fees

Free format text: JAPANESE INTERMEDIATE CODE: R250