JP2010006687A - 単結晶引上げ装置用超電導マグネット装置 - Google Patents

単結晶引上げ装置用超電導マグネット装置 Download PDF

Info

Publication number
JP2010006687A
JP2010006687A JP2009100618A JP2009100618A JP2010006687A JP 2010006687 A JP2010006687 A JP 2010006687A JP 2009100618 A JP2009100618 A JP 2009100618A JP 2009100618 A JP2009100618 A JP 2009100618A JP 2010006687 A JP2010006687 A JP 2010006687A
Authority
JP
Japan
Prior art keywords
cryostat
single crystal
superconducting
superconducting magnet
refrigerator
Prior art date
Legal status (The legal status is an assumption and is not a legal conclusion. Google has not performed a legal analysis and makes no representation as to the accuracy of the status listed.)
Granted
Application number
JP2009100618A
Other languages
English (en)
Other versions
JP5889509B2 (ja
Inventor
Shohei Takami
正平 高見
Tsutomu Shimonosono
勉 下之園
Tomoko Ota
智子 太田
Yuji Minemoto
祐二 峯元
Yoshifumi Nagamoto
義史 長本
Makoto Ushijima
誠 牛嶋
Current Assignee (The listed assignees may be inaccurate. Google has not performed a legal analysis and makes no representation or warranty as to the accuracy of the list.)
Toshiba Corp
Toshiba Industrial Technology Corp
Original Assignee
Toshiba Corp
Toshiba Industrial Technology Corp
Priority date (The priority date is an assumption and is not a legal conclusion. Google has not performed a legal analysis and makes no representation as to the accuracy of the date listed.)
Filing date
Publication date
Application filed by Toshiba Corp, Toshiba Industrial Technology Corp filed Critical Toshiba Corp
Priority to JP2009100618A priority Critical patent/JP5889509B2/ja
Priority to EP09754657.6A priority patent/EP2287366B1/en
Priority to PCT/JP2009/059539 priority patent/WO2009145149A1/ja
Priority to US12/994,838 priority patent/US8280468B2/en
Publication of JP2010006687A publication Critical patent/JP2010006687A/ja
Application granted granted Critical
Publication of JP5889509B2 publication Critical patent/JP5889509B2/ja
Active legal-status Critical Current
Anticipated expiration legal-status Critical

Links

Images

Classifications

    • HELECTRICITY
    • H01ELECTRIC ELEMENTS
    • H01FMAGNETS; INDUCTANCES; TRANSFORMERS; SELECTION OF MATERIALS FOR THEIR MAGNETIC PROPERTIES
    • H01F6/00Superconducting magnets; Superconducting coils
    • H01F6/04Cooling
    • CCHEMISTRY; METALLURGY
    • C30CRYSTAL GROWTH
    • C30BSINGLE-CRYSTAL GROWTH; UNIDIRECTIONAL SOLIDIFICATION OF EUTECTIC MATERIAL OR UNIDIRECTIONAL DEMIXING OF EUTECTOID MATERIAL; REFINING BY ZONE-MELTING OF MATERIAL; PRODUCTION OF A HOMOGENEOUS POLYCRYSTALLINE MATERIAL WITH DEFINED STRUCTURE; SINGLE CRYSTALS OR HOMOGENEOUS POLYCRYSTALLINE MATERIAL WITH DEFINED STRUCTURE; AFTER-TREATMENT OF SINGLE CRYSTALS OR A HOMOGENEOUS POLYCRYSTALLINE MATERIAL WITH DEFINED STRUCTURE; APPARATUS THEREFOR
    • C30B15/00Single-crystal growth by pulling from a melt, e.g. Czochralski method
    • C30B15/30Mechanisms for rotating or moving either the melt or the crystal
    • C30B15/305Stirring of the melt
    • YGENERAL TAGGING OF NEW TECHNOLOGICAL DEVELOPMENTS; GENERAL TAGGING OF CROSS-SECTIONAL TECHNOLOGIES SPANNING OVER SEVERAL SECTIONS OF THE IPC; TECHNICAL SUBJECTS COVERED BY FORMER USPC CROSS-REFERENCE ART COLLECTIONS [XRACs] AND DIGESTS
    • Y10TECHNICAL SUBJECTS COVERED BY FORMER USPC
    • Y10TTECHNICAL SUBJECTS COVERED BY FORMER US CLASSIFICATION
    • Y10T117/00Single-crystal, oriented-crystal, and epitaxy growth processes; non-coating apparatus therefor
    • Y10T117/10Apparatus
    • Y10T117/1024Apparatus for crystallization from liquid or supercritical state
    • Y10T117/1032Seed pulling
    • Y10T117/1068Seed pulling including heating or cooling details [e.g., shield configuration]

Landscapes

  • Engineering & Computer Science (AREA)
  • Chemical & Material Sciences (AREA)
  • Power Engineering (AREA)
  • Crystallography & Structural Chemistry (AREA)
  • Materials Engineering (AREA)
  • Metallurgy (AREA)
  • Organic Chemistry (AREA)
  • Crystals, And After-Treatments Of Crystals (AREA)
  • Containers, Films, And Cooling For Superconductive Devices (AREA)

Abstract

【課題】引上げ装置との干渉を抑制でき、装置上における作業性及び作業安全性を向上できると共に、印加する磁場の調整代を良好に確保できること。
【解決手段】単結晶材料を溶融させる坩堝が内蔵された引上げ炉の外側に配置され、溶融した単結晶材料に磁場を印加する単結晶引上げ装置用超電導マグネット装置10において、超電導コイルを内包するクライオスタット17と、このクライオスタット17の外側周面18に設置され、超電導コイルを冷却する極低温冷凍機20を備えた冷凍機ポート19とを有し、クライオスタット外側面の領域における超伝導コイルにより発生する磁場の強度の弱い領域に極低温冷凍機20が設けられていることを特徴とするものである。
【選択図】 図2

Description

本発明は、単結晶(例えば半導体単結晶)を製造する単結晶引上げ装置に用いられる単結晶引上げ装置用超電導マグネット装置に関する。
単結晶引上げ装置には、単結晶材料(特に半導体単結晶材料)を溶融させる坩堝が引上げ炉に内蔵され、この引上げ炉の外側に超電導マグネット装置が配置され、この超電導マグネット装置により、坩堝内で溶融した単結晶材料に磁場を印加して、溶融した単結晶材料の対流を防止する、MCZ(磁界印加型チョクラルスキー)法を用いた単結晶引上げ装置が知られている。
このMCZ法を用いたシリコン単結晶の製造では、磁場印加用の超電導マグネット装置は、引上げ装置との機械的干渉を避けるために、形状や大きさに制限を受ける場合が多い。特に、超電導マグネット装置の上端面は、引上げ装置本体(例えば引上げ機)との取合いが比較的厳しく、またこの上端面上で作業する作業者の作業性・安全性を考慮すると、冷凍機や電流導入端子のような突起物の配置には注意が必要となる。
図13に示す特許文献1に記載の単結晶引上げ装置用超電導マグネット装置100では、円筒型クライオスタット101上に存在する極低温冷凍機102や電流導入端子103等が冷凍機ポート104にまとめて配置されて、引上げ装置本体との干渉が回避されている。
また、図14に示す特許文献2に記載の単結晶引上げ装置用超電導マグネット装置110では、極低温冷凍機102や電流導入端子103が円筒型クライオスタット101の下端面112に取り付けられることで、クライオスタット101の上端面111が完全にフラットに設けられている。特許文献3にも、特許文献2に記載と同種の単結晶引上げ装置用超電導マグネット装置が開示されている。
特開2004−51475号公報 特開2000−114028号公報 特開平11−199366号公報
上述の特許文献2に記載の単結晶引上げ装置用超電導マグネット装置110は、特許文献1に記載の単結晶引上げ装置用超電導マグネット装置100に比べ、クライオスタット101の上端面111における引上げ装置本体との干渉、並びに作業者による作業性及び作業安全性の面において優れている。
しかしながら、極低温冷凍機102は定期的なメンテナンスを必要とし、設置面から垂直方向に800mm以上のメンテナンススペースを、冷凍機引抜のために確保する必要がある。このため、極低温冷凍機102をクライオスタット101の下端面112から挿入する特許文献2に記載の超電導マグネット装置110では、この下端面112にメンテナンススペース確保ための脚部113が設置されており、この結果、超電導マグネット装置110の全高さ寸法が高くなってしまう。一般に、円筒型の単結晶引上げ装置用超電導マグネット装置では、単結晶引上げ装置に据付後、上下方向に昇降させることで、印加する磁場の調整が行なわれるため、装置の全高さ寸法が高いと磁場の調整代が小さくなってしまう。
本発明の目的は、上述の事情を考慮してなされたものであり、引上げ装置との干渉を抑制でき、装置上における作業性及び作業安全性を向上できると共に、印加する磁場の調整代を良好に確保できる単結晶引上げ装置用超電導マグネット装置を提供することにある。
本発明は、単結晶材料を溶融させる坩堝が内蔵された引上げ炉の外側に配置され、溶融した前記単結晶材料に磁場を印加する単結晶引上げ装置用超電導マグネット装置において、超電導コイルを内包するクライオスタットと、このクライオスタットの外側面に設置され、前記超電導コイルを冷却する極低温冷凍機を備えた冷凍機ポートと、を有することを特徴とするものである。
本発明によれば、極低温冷凍機を備えた冷凍機ポートがクライオスタットの外側面に設置されたので、クライオスタットの上端面がフラットになり、このため引上げ装置との干渉を抑制でき、更に装置上における作業性及び作業安全性を向上させることができる。また、クライオスタットの下端面に脚部等の突起物が存在せず、従って装置の全高さ寸法を低く設定できるので、装置を昇降させることで印加する磁場を調整する磁場の調整代を良好に確保できる。
本発明に係る単結晶引上げ装置用超電導マグネット装置の第1の実施の形態を、単結晶引上げ装置の一部と共に示す側断面図。 図1の超電導マグネット装置を示す斜視図。 図2の超電導マグネット装置において、超電導コイルを実線で示す平面図。 図3の超電導マグネット装置を示す側面図。 図3及び図4に示す極低温冷凍機を示す側面図。 図5の第2シリンダ及び第2ディスプレーサを示す断面図。 図2の超電導マグネット装置において、超電導コイルの他の例を実線で示す平面図。 図7の超電導マグネット装置を示す側面図。 図2の超電導マグネット装置において、超電導コイルの更に他の例を実線で示す平面図。 図9の超電導マグネット装置を示す側面図。 本発明に係る単結晶引上げ装置用超電導マグネット装置の第2の実施の形態を示す斜視図。 本発明に係る単結晶引上げ装置用超電導マグネット装置の第4の実施の形態を示す斜視図。 従来の単結晶引上げ装置用超電導マグネット装置を示す斜視図。 従来の他の単結晶引上げ装置用超電導マグネット装置を示す斜視図。
以下、本発明を実施するための最良の形態を、図面に基づき説明する。
[A]第1実施の形態(図1〜図10)
図1は、本発明に係る単結晶引上げ装置用超電導マグネット装置の第1の実施の形態を、単結晶引上げ装置の一部と共に示す側断面図である。図2は、図1の超電導マグネット装置を示す斜視図である。図3は、図2の超電導マグネット装置において、超電導コイルを実線で示す平面図である。
図1に示す超電導マグネット装置10を備えた単結晶引上げ装置11は、半導体の単結晶材料1を溶融させる坩堝12が内蔵された引上げ炉13の外側に超電導マグネット装置10が配置されて、坩堝12内で溶融した単結晶材料1に一方向の横磁場(図1に磁力線2で表示)を印加して、溶融した単結晶材料1の坩堝12内での対流を防止するものであり、いわゆるMCZ法(磁界印加型チョクラルスキー法)が適用されたものである。
つまり、この単結晶引上げ装置11は、上方が開口した引上げ炉13に坩堝12が内蔵され、この引上げ炉13と坩堝12との間に、坩堝12内の単結晶材料1を加熱溶融するためのヒータ14が配置されている。引上げ炉13の外側に、一対の超電導コイル15(図3)を備えた超電導マグネット装置10が配置される。また、引上げ炉13の上方には、図示しないが、坩堝12の中心線Oに沿って単結晶体3(後述)を引き上げるための引上げ機が設けられている。
単結晶体3の製造に際しては、まず、坩堝12内に単結晶材料1を投入し、ヒータ14により加熱して溶融させる。この溶融した単結晶材料1中に、図示しない種結晶を、例えば坩堝12の中央部上方から下降して挿入し、この種結晶を前記引上げ機により所定速度で引上げ方向αの方向に引き上げていく。これにより、固体・液体境界層に結晶が成長し、単結晶体3が生成される。
この際、ヒータ14の加熱によって誘起される、溶融した単結晶材料1の坩堝12内での対流を防止するために、超電導マグネット装置10の超電導コイル15へ通電がなされる。坩堝12内の溶融した単結晶材料1は、超電導コイル15が発生する横磁場(図1に磁力線2で表示)によって動作抑止力を受け、坩堝12内で対流することなく、種結晶の引上げに伴ってゆっくりと引き上げられ、固体の単結晶体3として製造される。
超電導マグネット装置10は、図2〜図4に示すように、超電導コイル15及び輻射シールド16を内包するクライオスタット17と、このクライオスタット17の外側周面18に設置され、極低温冷凍機20、電流導入端子23及びバルブ(不図示)等を備える単一の冷凍機ポート19と、を有して構成される。
クライオスタット17は、円筒形状の円筒型クライオスタットであり、断熱のために内部が真空に保持される。輻射シールド16は、クライオスタット17内で超電導コイル15を覆い、クライオスタット17外側からの超電導コイル15への熱輻射を遮る。超電導コイル15は、クライオスタット17のボア部24を介して対向して配置された鞍形状の一対のコイルであり、クライオスタット17のボア部24内に同一方向の横磁場(図3に磁力線2で表示)を生成する。このクライオスタット17のボア部24内に、前記引上げ炉13及び坩堝12が配置される。
ここで、クライオスタット17に内包される超電導コイルは、超電導コイル15の如く鞍形状のコイルに限らず、図7及び図8に示すように、クライオスタット17のボア部24を介して対向配置された一対の円形状の超電導コイル27であってもよい。更に、クライオスタット17内の超電導コイルは、図9及び図10に示すように、クライオスタット17のボア部24を介してそれぞれ対向配置された複数対(例えば2対)の超電導コイル28A、28Bであってもよい。これら一対の超電導コイル27、複数対の超電導コイル28A、28Bによっても、クライオスタット17のボア部24内に同一方向の横磁場(図7、図9に磁力線2で表示)が生成される。
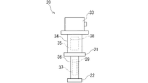
極低温冷凍機20は、図4に示すように、第1冷却ステージ21が、伝熱板25介して輻射シールド16に接続され、この輻射シールド16を例えば40Kの極低温に冷却し、第2冷却ステージ22が、伝熱板26を介して超電導コイル15、27、28境界X、28Bに接続され、これらの超電導コイル15、27、28A、28Bを例えば4Kの極低温に冷却する。この極低温冷凍機20は、冷凍機ポート19に1個または複数個設置される。また、電流導入端子23は、超電導コイル15、27、28A、28Bへ電流を供給する、いわゆる電流リードである。
この極低温冷凍機20は、図4及び図5に示すように、第1冷却ステージ21の下方に第2冷却ステージ22が配置され、最上部に駆動モータ33が設置された一般的なタイプの冷凍機である。このタイプの極低温冷凍機20では、図5及び図6に示すように、下端に第1冷却ステージ21が設けられた第1シリンダ34内に第1ディスプレーサ(第1蓄冷器)35が、下端に第2冷却ステージ22が設置された第2シリンダ36内に第2ディスプレーサ(第2蓄冷器)37が、シリンダの長手方向(この場合はそれぞれ鉛直方向)に往復移動可能に収容される。そして、これらの第1ディスプレーサ35及び第2ディスプレーサ37の往復移動により、第1シリンダ34の下端と第1ディスプレーサ35との間、第2シリンダ36の下端と第2ディスプレーサ37との間にそれぞれ導入された作動流体(例えばHeガス等)が断熱膨張して所定の冷凍能力を得る。
図4に示すように、前記冷凍機ポート19は、クライオスタット17の上端面17Aと下端面17Bとの範囲内において、クライオスタット17の外側周面18に設置される。更に、この冷凍機ポート19に搭載される極低温冷凍機20、電流導入端子23及びバルブ等は、上述のクライオスタット17の上端面17Aと下端面17Bとの範囲内に設置される。つまり、極低温冷凍機20、電流導入端子23及びバルブ等は、冷凍機ポート19の上端面19A側または下端面19B側から冷凍機ポート19に差し込まれて配置されるが、このとき上端面19Aまたは下端面19Bからの露出部分が、クライオスタット17の上端面17Aと下端面17Bとの範囲内に設置される。これにより、冷凍機ポート19と、極低温冷凍機20、電流導入端子23及びバルブ等の露出部分とが、クライオスタット17の上端面17A及び下端面17Bから突出することが防止される。
更に、冷凍機ポート19は、図3に示すように、超電導コイル15、27、28A、28Bが発生する磁場によって極低温冷凍機20の駆動モータ33(図5)が変調をきたすことのない磁場領域に設置される。つまり、図3、図7、図9には、磁界の強さが40〜50mT(ミリテスラ)の境界を符号Xで示す。冷凍機ポート19、特に冷凍機ポート19に搭載される極低温冷凍機20は、磁界の強さが40〜50mT以下の磁場領域W(境界Xよりも外側の領域)に配置されることで、極低温冷凍機20の駆動モータ33に変調(停止を含む)が生ずることが回避される。
このように、クライオスタット17の外側面の領域における超伝導コイル15により発生する磁場の強度の弱い領域に、極低温冷凍機20が設けられている。すなわち、クライオスタット17内の超電導コイル15が発生する磁場の強度は、極低温冷凍機20が設けられたクライオスタット17の外側面の領域が、クライオスタット17の外側面の他の領域の磁場の強度よりも弱い。
ここで、図3、図7及び図9に示す磁界の強さが40〜50mTの境界Xは、図4、図8、図10に示す超電導マグネット装置10における軸方向(鉛直方向)中央位置の中央平面29Aでの磁界の強さである。また、超電導マグネット装置10における中央平面29Aと、クライオスタット17の上端面17A、下端面17Bとの間の平面29B、29Cにおいて、前記境界Xと同等な磁界の強さの境界を、図3、図7、図9に符号Yで示す。更に、クライオスタット17の上端面17A、下端面17Bのそれぞれを含む平面29D、29Eにおいて、上記境界Xと同等な磁界の強さの境界を、図3、図7、図9に符号Zで示す。
このように、超電導マグネット装置10では、同等な磁界の強さ(例えば40〜50mT)は、鉛直方向の各平面において相似な形状であり、超電導マグネット装置10の軸方向(鉛直方向)において中央平面29Aから離れるに従って小さくなる。極低温冷凍機20は、磁界の強さが40〜50mTのうちで最も大きい境界Xの外側(磁場領域W)に設置されており、40〜50mT以上の強さの磁界に晒さらされることがない。
従って、本実施の形態によれば、次の効果(1)〜(3)を奏する。
(1)極低温冷凍機20、電流導入端子23及びバルブ等を備えた冷凍機ポート19が、クライオスタット17の上端面17Aと下端面17Bとの範囲内において、クライオスタット17の外側周面18に設置され、しかも、極低温冷凍機20、電流導入端子23及びバルブ等が、クライオスタット17の上端面17Aと下端面17Bとの範囲内において冷凍機ポート19に搭載されている。このため、冷凍機ポート19と、極低温冷凍機20、電流導入端子23及びバルブ等の露出部分とが、クライオスタット17の上端面17Aから突出することが防止されるので、クライオスタット17の上端面17Aをフラットに構成できる。従って、単結晶引上げ装置11の特に引上げ機と超電導マグネット装置10とが干渉することを抑制でき、更に、クライオスタット17の上端面17A上で作業する作業員の作業性及び作業安全性を向上させることができる。
(2)極低温冷凍機20、電流導入端子23及びバルブなどの露出部分がクライオスタット17の下端面17Bよりも下方へ突出せず、しかもこの下端面17Bに脚部等の突出物も存在しないので、超電導マグネット装置10の全高さ寸法を低く設定できる。この結果、超電導マグネット装置10を昇降させることで、この超電導マグネット装置10が印加する磁場を調整する磁場の調整代を良好に確保できる。
(3)極低温冷凍機20は、第1ディスプレーサ35、第2ディスプレーサ37が第1シリンダ34、第2シリンダ36内でそれぞれ鉛直方向に往復移動するタイプであり、重力の作用で、第1ディスプレーサ35、第2ディスプレーサ37がそれぞれ第1シリンダ34、第2シリンダ36内に鉛直配置されるので、これらが擦れ合って摩擦熱が発生することがない。更に、この極低温冷凍機20では、第1ディスプレーサ35、第2ディスプレーサ37の上部にそれぞれ設置されたシール部38、39が第1シリンダ34、第2シリンダ36のそれぞれの内周面に片当りすることがないので、シール性が良好に維持される。これらの結果、この極低温冷凍機20では、冷凍能力を好適に確保できると共に、前記摩擦等による駆動モータ33の負荷蓄積や、第1ディスプレーサ35、第2ディスプレーサ37、シール部38、39の損傷を防止できるため、極低温冷凍機20の運転寿命及び信頼性を向上させることができる。
また、第1ディスプレーサ35、第2ディスプレーサ37は、運転状態において軸方向(鉛直方向)における上端が高温端となり、下端が低温端となる温度勾配を有する。また、第1シリンダ31、第2シリンダ36内に導入された作動流体(Heガス等)は、温度による密度差によって、上方が高温、下方が低温の如く、鉛直方向に温度勾配を有する。縦置きタイプの極低温冷凍機20では、上述の第1ディスプレーサ35及び第2ディスプレーサ37の温度勾配の方向と、作動流体の温度勾配の方向とが一致するので、熱交換効率が良好に維持されて、極低温冷凍機20の冷凍能力を好適に確保できる。
更に、極低温冷凍機20は、第1ディスプレーサ35、第2ディスプレーサ37が第1シリンダ34、第2シリンダ36内でそれぞれ鉛直方向に往復移動するタイプであるため、第1ディスプレーサ35、第2ディスプレーサ37を交換するメンテナンス時には、重力の作用で、これらの第1ディスプレーサ35、第2ディスプレーサ37を第1シリンダ34、第2シリンダ36内にそれぞれ同心円状に高精度に挿入することができる。このため、このメンテナンス作業の作業性を向上できると共に、第1ディスプレーサ35、第2ディスプレーサ37、第1シリンダ34、第2シリンダ35の衝突による損傷を防止できる。
[B]第2の実施の形態(図11)
図11は、本発明に係る単結晶引上げ装置用超電導マグネット装置の第2の実施の形態を示す斜視図である。この第2の実施の形態において、前記第1の実施の形態と同様な部分については、同一の符号を付すことにより説明を簡略化し、または省略する。
本実施の形態の単結晶引上げ装置用超電導マグネット装置30が前記第1の実施の形態の超電導マグネット装置10と異なる点は、複数の冷凍機ポート31がクライオスタット17の外側周面18に分散して配置され、各冷凍機ポート31に1個または複数個(本実施の形態では1個)の極低温冷凍機20が搭載された点である。
従って、本実施の形態においても、前記第1実施の形態の効果(1)〜(3)と同様な効果を奏する他、次の効果(4)を奏する。
(4)極低温冷凍機20を搭載する冷凍機ポート31がクライオスタット17の外側周面18の複数箇所に分散配置されたことで、極低温冷凍機20の1台当たりの最長伝熱距離を例えば半分に低減できる。この結果、極低温冷凍機20と超電導コイル15、27、28A、28Bとの最大温度差も例えば約半分に低減できるので、クライオスタット17内の超電導コイル15、27、28A、28Bをより一層均一に冷却することができる。
[C]第3の実施の形態
この第3の実施の形態において、前記第1及び第2の実施の形態と同様な部分については、同一の符号を用いることにより説明を簡略化し、または省略する。
本実施の形態における単結晶引上げ装置用超電導マグネット装置が前記第1及び第2の実施の形態の超電導マグネット装置10及び30と異なる点は、極低温冷凍機20を複数搭載する冷凍機ポートが、クライオスタット17の外側周面18に連続して円環形状に設置された点である。
従って、本実施の形態においても、前記第1及び第2の実施の形態の効果(1)〜(4)と同様な効果を奏する他、次の効果(5)を奏する。
(5)冷凍機ポートがクライオスタット17の外側周面18に連続して円環形状に設置されたことから、極低温冷凍機20の個数が多い場合にも、冷凍機ポートを多数設置する必要がない。このため、超電導マグネット装置の製作を容易化できると共に、材料費も削減できるので、超電導マグネット装置の製作コストを低減できる。
[D]第4の実施の形態(図12)
図12は、本発明に係る単結晶引上げ装置用超電導マグネット装置の第4の実施の形態を示す斜視図である。この第4の実施の形態において、前記第1の実施の形態と同様な部分については、同一の符号を付すことにより説明を簡略化し、または省略する。
本実施の形態の単結晶引上げ装置用超電導マグネット装置40が前記第1の実施の形態の超電導マグネット装置10と異なる点は、極低温冷凍機20、電流導入端子23及びバルブ等を搭載した冷凍機ポート19が、直方体形状のスプリット型のクライオスタット41の外側面42に設置された点である。
つまり、スプリット型のクライオスタット41は、複数個が対向して配置され、それぞれの間隔が調整可能にサポート部材43により連結されている。各クライオスタット41内に超電導コイル27及び輻射シールド16が内包される。これらの超電導コイル27および輻射シールド16が極低温冷凍機20により極低温に冷却される。また、これらのクライオスタット41間に、超電導コイル27によって一方向の横磁場が生成される。この横磁場が、クライオスタット41間に配置された単結晶引上げ装置11の引上げ炉13及び坩堝12に印加される。
そして、各クライオスタット41の外側面42に冷凍機ポート19が、クライオスタット41の上端面41Aと下端面41Bとの範囲内となるように設置される。更に、極低温冷凍機20、電流導入端子23及びバルブ等は、それらの露出部分が、クライオスタット41の上端面41Aと下端面41Bとの範囲内となるように冷凍機ポート19に設置される。更に、冷凍機ポート19は、クライオスタット41内の超電導コイル27が発生する磁場によって、極低温冷凍機20の駆動モータが変調をきたすことがない磁場領域に設置される。
従って、本実施の形態においても、前記第1の実施の形態の効果(1)〜(3)と同様な効果を奏する。
以上、本発明を上記実施の形態に基づいて説明したが、本発明はこれに限定されるものではない。例えば、上述の各実施の形態においては、クライオスタット17、41内の超電導コイル15、27、28は、伝熱板26を介して極低温冷凍機20により極低温に冷却される伝導冷却方式の場合を述べたが、クライオスタット17、41内の冷媒容器に充填された液体ヘリウムに浸漬されて、極低温冷凍機20により極低温に冷却される浸漬冷却方式であってもよい。
1 単結晶材料
10 超電導マグネット装置
11 単結晶引上げ装置
12 坩堝
13 引上げ炉
15 超電導コイル
17 クライオスタット
17A 上端面
17B 下端面
18 外側周面(外側面)
19 冷凍機ポート
20 極低温冷凍機
23 電流導入端子
26 伝熱板
30 超電導マグネット装置
31 冷凍機ポート
40 超電導マグネット装置
41 クライオスタット
41A 上端面
41B 下端面
W 磁場領域

Claims (8)

  1. 単結晶材料を溶融させる坩堝が内蔵された引上げ炉の外側に配置され、溶融した前記単結晶材料に磁場を印加する単結晶引上げ装置用超電導マグネット装置において、
    超電導コイルを内包するクライオスタットと、
    前記クライオスタットの外側面に設置され、前記超電導コイルを冷却する極低温冷凍機を備えた冷凍機ポートとを有し、
    前記クライオスタット外側面の領域における前記超伝導コイルにより発生する磁場の強度の弱い領域に前記極低温冷凍機が設けられていることを特徴とする単結晶引上げ装置用超電導マグネット装置。
  2. 前記冷凍機ポート及び前記極低温冷凍機は、クライオスタット外側面の上端面と下端面の範囲内に設置されたことを特徴とする請求項1に記載の単結晶引上げ装置用超電導マグネット装置。
  3. 前記極低温冷凍機の駆動モータは、前記クライオスタット内の前記超電導コイルが発生する磁場によって変調をきたすことのない磁場領域に設置されることを特徴とする請求項1に記載の単結晶引上げ装置用超電導マグネット装置。
  4. 前記冷凍機ポートは、クライオスタットの外側面における複数の箇所に設置されたことを特徴とする請求項1に記載の単結晶引上げ装置用超電導マグネット装置。
  5. 前記冷凍機ポートは、クライオスタットの外側面に連続して設置されたことを特徴とする請求項1に記載の単結晶引上げ装置用超電導マグネット装置。
  6. 前記クライオスタットは、円筒形状の円筒型クライオスタット、または直方体形状のスプリット型クライオスタットであることを特徴とする請求項1に記載の単結晶引上げ装置用超電導マグネット装置。
  7. 前記クライオスタット内の超電導コイルは、伝熱板を介して極低温冷凍機により極低温に冷却され、または、前記クライオスタット内の冷媒容器に充填された液体ヘリウムに浸漬されて前記極低温冷凍機により極低温に冷却されることを特徴とする請求項1に記載の単結晶引上げ装置用超電導マグネット装置。
  8. 前記超電導コイルは、一対の鞍形超電導コイル、または一対若しくは複数対の円形超電導コイルであることを特徴とする請求項1に記載の単結晶引上げ装置用超電導マグネット装置。
JP2009100618A 2008-05-26 2009-04-17 単結晶引上げ装置用超電導マグネット装置 Active JP5889509B2 (ja)

Priority Applications (4)

Application Number Priority Date Filing Date Title
JP2009100618A JP5889509B2 (ja) 2008-05-26 2009-04-17 単結晶引上げ装置用超電導マグネット装置
EP09754657.6A EP2287366B1 (en) 2008-05-26 2009-05-25 Superconducting magnet device for single crystal puller
PCT/JP2009/059539 WO2009145149A1 (ja) 2008-05-26 2009-05-25 単結晶引上げ装置用超電導マグネット装置
US12/994,838 US8280468B2 (en) 2008-05-26 2009-05-25 Superconducting magnet device for single crystal pulling apparatus

Applications Claiming Priority (3)

Application Number Priority Date Filing Date Title
JP2008136515 2008-05-26
JP2008136515 2008-05-26
JP2009100618A JP5889509B2 (ja) 2008-05-26 2009-04-17 単結晶引上げ装置用超電導マグネット装置

Publications (2)

Publication Number Publication Date
JP2010006687A true JP2010006687A (ja) 2010-01-14
JP5889509B2 JP5889509B2 (ja) 2016-03-22

Family

ID=41377022

Family Applications (1)

Application Number Title Priority Date Filing Date
JP2009100618A Active JP5889509B2 (ja) 2008-05-26 2009-04-17 単結晶引上げ装置用超電導マグネット装置

Country Status (4)

Country Link
US (1) US8280468B2 (ja)
EP (1) EP2287366B1 (ja)
JP (1) JP5889509B2 (ja)
WO (1) WO2009145149A1 (ja)

Cited By (2)

* Cited by examiner, † Cited by third party
Publication number Priority date Publication date Assignee Title
WO2021187017A1 (ja) * 2020-03-17 2021-09-23 信越半導体株式会社 単結晶引上げ装置および単結晶引上げ方法
WO2025063036A1 (ja) * 2023-09-21 2025-03-27 住友重機械工業株式会社 超伝導磁石装置

Families Citing this family (10)

* Cited by examiner, † Cited by third party
Publication number Priority date Publication date Assignee Title
CN103106994B (zh) * 2013-01-29 2015-08-26 西部超导材料科技股份有限公司 一种用于磁控直拉单晶的MgB2超导绕组装置
CN110129883A (zh) * 2018-03-30 2019-08-16 杭州慧翔电液技术开发有限公司 一种用于磁控直拉单晶的磁体结构及磁控直拉单晶的方法
CN110136915A (zh) * 2019-06-10 2019-08-16 杭州慧翔电液技术开发有限公司 一种超导磁体和磁控直拉单晶设备
CN111009375A (zh) * 2019-12-19 2020-04-14 西部超导材料科技股份有限公司 一种传导冷却磁控拉单晶超导磁体装置
CN110957101A (zh) * 2019-12-19 2020-04-03 西部超导材料科技股份有限公司 一种传导冷却闭环马鞍形磁控拉单晶超导磁体装置
US20230247795A1 (en) 2022-01-28 2023-08-03 The Research Foundation For The State University Of New York Regenerative preheater for phase change cooling applications
CN115289716A (zh) * 2022-06-09 2022-11-04 北京交通大学 一种双极冷头制冷机冷插拔装置
US12486593B2 (en) 2022-08-29 2025-12-02 Globalwafers Co., Ltd. Axial positioning of magnetic poles while producing a silicon ingot
US12486594B2 (en) 2022-08-29 2025-12-02 Globalwafers Co., Ltd. Ingot puller apparatus that axially position magnetic poles
CN119332336B (zh) * 2024-11-07 2025-06-10 连城凯克斯科技有限公司 一种磁控直拉单晶装置

Citations (12)

* Cited by examiner, † Cited by third party
Publication number Priority date Publication date Assignee Title
JPH09326513A (ja) * 1996-04-05 1997-12-16 Nippon Steel Corp 磁気シールド体および超電導マグネット装置
JPH107486A (ja) * 1996-06-20 1998-01-13 Mitsubishi Electric Corp 磁界印加式単結晶製造装置
JPH10120485A (ja) * 1996-10-18 1998-05-12 Mitsubishi Steel Mfg Co Ltd 単結晶製造装置
JPH11176630A (ja) * 1997-12-08 1999-07-02 Toshiba Corp 単結晶育成用超電導磁石システム
JPH11199366A (ja) * 1998-01-20 1999-07-27 Mitsubishi Electric Corp 単結晶シリコン引き上げ装置
JPH11199367A (ja) * 1998-01-14 1999-07-27 Sumitomo Heavy Ind Ltd 単結晶引上げ装置用の冷凍機冷却型超電導磁石装置
JP2000095597A (ja) * 1998-09-25 2000-04-04 Toshiba Ceramics Co Ltd 単結晶引上装置
JP2004051475A (ja) * 2002-05-31 2004-02-19 Toshiba Corp 単結晶引上げ装置、超電導磁石および単結晶引上げ方法
JP2004091240A (ja) * 2002-08-30 2004-03-25 Sumitomo Mitsubishi Silicon Corp 磁場印加式シリコン単結晶の引上げ方法
JP2004349477A (ja) * 2003-05-22 2004-12-09 Sumitomo Heavy Ind Ltd 冷凍機冷却型超電導マグネット装置
JP2005123313A (ja) * 2003-10-15 2005-05-12 Sumitomo Heavy Ind Ltd 単結晶引上げ装置用超電導磁石装置における冷凍機の装着構造及び冷凍機のメンテナンス方法
JP2005185550A (ja) * 2003-12-25 2005-07-14 Mitsubishi Electric Corp 磁石装置及び磁気共鳴イメ−ジング装置

Family Cites Families (8)

* Cited by examiner, † Cited by third party
Publication number Priority date Publication date Assignee Title
JPS5670614A (en) * 1979-11-15 1981-06-12 Toshiba Corp Current supply device
US4565671A (en) * 1983-08-05 1986-01-21 Kabushiki Kaisha Toshiba Single crystal manufacturing apparatus
US5410286A (en) * 1994-02-25 1995-04-25 General Electric Company Quench-protected, refrigerated superconducting magnet
US6011810A (en) * 1996-04-23 2000-01-04 The Regents Of The University Of California Doping of germanium and silicon crystals with non-hydrogenic acceptors for far infrared lasers
JP3592467B2 (ja) * 1996-11-14 2004-11-24 株式会社東芝 単結晶引上げ装置用超電導磁石
JP3421837B2 (ja) 1998-10-08 2003-06-30 住友重機械工業株式会社 単結晶引上げ装置用の冷凍機冷却型超電導磁石装置
US6667676B2 (en) * 2001-09-12 2003-12-23 Hitachi, Ltd. Superconducting magnet and magnetic resonance imaging apparatus using the same
US6664876B2 (en) * 2001-09-12 2003-12-16 Hitachi, Ltd. Superconducting magnet and magnetic resonance imaging apparatus using the same

Patent Citations (12)

* Cited by examiner, † Cited by third party
Publication number Priority date Publication date Assignee Title
JPH09326513A (ja) * 1996-04-05 1997-12-16 Nippon Steel Corp 磁気シールド体および超電導マグネット装置
JPH107486A (ja) * 1996-06-20 1998-01-13 Mitsubishi Electric Corp 磁界印加式単結晶製造装置
JPH10120485A (ja) * 1996-10-18 1998-05-12 Mitsubishi Steel Mfg Co Ltd 単結晶製造装置
JPH11176630A (ja) * 1997-12-08 1999-07-02 Toshiba Corp 単結晶育成用超電導磁石システム
JPH11199367A (ja) * 1998-01-14 1999-07-27 Sumitomo Heavy Ind Ltd 単結晶引上げ装置用の冷凍機冷却型超電導磁石装置
JPH11199366A (ja) * 1998-01-20 1999-07-27 Mitsubishi Electric Corp 単結晶シリコン引き上げ装置
JP2000095597A (ja) * 1998-09-25 2000-04-04 Toshiba Ceramics Co Ltd 単結晶引上装置
JP2004051475A (ja) * 2002-05-31 2004-02-19 Toshiba Corp 単結晶引上げ装置、超電導磁石および単結晶引上げ方法
JP2004091240A (ja) * 2002-08-30 2004-03-25 Sumitomo Mitsubishi Silicon Corp 磁場印加式シリコン単結晶の引上げ方法
JP2004349477A (ja) * 2003-05-22 2004-12-09 Sumitomo Heavy Ind Ltd 冷凍機冷却型超電導マグネット装置
JP2005123313A (ja) * 2003-10-15 2005-05-12 Sumitomo Heavy Ind Ltd 単結晶引上げ装置用超電導磁石装置における冷凍機の装着構造及び冷凍機のメンテナンス方法
JP2005185550A (ja) * 2003-12-25 2005-07-14 Mitsubishi Electric Corp 磁石装置及び磁気共鳴イメ−ジング装置

Cited By (5)

* Cited by examiner, † Cited by third party
Publication number Priority date Publication date Assignee Title
WO2021187017A1 (ja) * 2020-03-17 2021-09-23 信越半導体株式会社 単結晶引上げ装置および単結晶引上げ方法
JPWO2021187017A1 (ja) * 2020-03-17 2021-09-23
JP7439900B2 (ja) 2020-03-17 2024-02-28 信越半導体株式会社 単結晶引上げ装置および単結晶引上げ方法
US12188153B2 (en) 2020-03-17 2025-01-07 Shin-Etsu Handotai Co., Ltd. Single-crystal pulling apparatus with saddle-shaped superconducting coils and single-crystal pulling method
WO2025063036A1 (ja) * 2023-09-21 2025-03-27 住友重機械工業株式会社 超伝導磁石装置

Also Published As

Publication number Publication date
EP2287366A4 (en) 2012-11-21
US8280468B2 (en) 2012-10-02
JP5889509B2 (ja) 2016-03-22
EP2287366A1 (en) 2011-02-23
WO2009145149A1 (ja) 2009-12-03
EP2287366B1 (en) 2016-01-06
US20110077161A1 (en) 2011-03-31

Similar Documents

Publication Publication Date Title
JP5889509B2 (ja) 単結晶引上げ装置用超電導マグネット装置
KR100508210B1 (ko) 단결정 인상장치용 초전도 자석장치에 있어서의 냉동기의장착구조 및 냉동기의 유지보수 방법
JP4031121B2 (ja) クライオスタット装置
CN101118798B (zh) 超导磁铁装置以及磁共振成像装置
CN103985499B (zh) 高温超导磁体液氮零蒸发冷却系统
US9494359B2 (en) Horizontal finned heat exchanger for cryogenic recondensing refrigeration
CN116031040B (zh) 一种用于磁控直拉单晶的超导磁体及制冷方法
CN101030470B (zh) 超导电磁铁
EP2860781B1 (en) Cooling container
CN116798724A (zh) 一种超导磁体、磁控拉单晶设备及控制方法
CN109887701B (zh) 一种用于超导磁悬浮列车的超导磁体冷却装置及使用方法
KR100282562B1 (ko) 초전도 마그네트 장치
KR101478288B1 (ko) 극저온유체의 재응축형 극저온 프로브스테이션
JP5916517B2 (ja) 冷却容器
JP5307628B2 (ja) 超電導電磁石装置
JP3535343B2 (ja) 磁界印加方式の単結晶製造装置
JPH107486A (ja) 磁界印加式単結晶製造装置
JP5057941B2 (ja) 超電導マグネット装置
CN221175890U (zh) 一种具有cusp磁场的u形mcz超导磁体
JP5920924B2 (ja) 超電導磁石装置及び磁気共鳴撮像装置
JP2000312036A (ja) 低温容器内に配置される重量構造物の支持構造
JP2013247323A (ja) 冷却容器
CN116779275A (zh) 一种用于磁悬浮电磁推进的高温超导磁体及磁悬浮列车
JP5217308B2 (ja) 超電導部冷却装置とその運転方法
JPH11199367A (ja) 単結晶引上げ装置用の冷凍機冷却型超電導磁石装置

Legal Events

Date Code Title Description
RD04 Notification of resignation of power of attorney

Free format text: JAPANESE INTERMEDIATE CODE: A7424

Effective date: 20100422

RD01 Notification of change of attorney

Free format text: JAPANESE INTERMEDIATE CODE: A7421

Effective date: 20111207

A621 Written request for application examination

Free format text: JAPANESE INTERMEDIATE CODE: A621

Effective date: 20120222

A131 Notification of reasons for refusal

Free format text: JAPANESE INTERMEDIATE CODE: A131

Effective date: 20131217

A521 Request for written amendment filed

Free format text: JAPANESE INTERMEDIATE CODE: A523

Effective date: 20140214

A131 Notification of reasons for refusal

Free format text: JAPANESE INTERMEDIATE CODE: A131

Effective date: 20140507

A521 Request for written amendment filed

Free format text: JAPANESE INTERMEDIATE CODE: A523

Effective date: 20140707

A02 Decision of refusal

Free format text: JAPANESE INTERMEDIATE CODE: A02

Effective date: 20141028

A521 Request for written amendment filed

Free format text: JAPANESE INTERMEDIATE CODE: A523

Effective date: 20150127

A911 Transfer to examiner for re-examination before appeal (zenchi)

Free format text: JAPANESE INTERMEDIATE CODE: A911

Effective date: 20150203

A912 Re-examination (zenchi) completed and case transferred to appeal board

Free format text: JAPANESE INTERMEDIATE CODE: A912

Effective date: 20150306

A61 First payment of annual fees (during grant procedure)

Free format text: JAPANESE INTERMEDIATE CODE: A61

Effective date: 20160217

R150 Certificate of patent or registration of utility model

Ref document number: 5889509

Country of ref document: JP

Free format text: JAPANESE INTERMEDIATE CODE: R150

S111 Request for change of ownership or part of ownership

Free format text: JAPANESE INTERMEDIATE CODE: R313115

R350 Written notification of registration of transfer

Free format text: JAPANESE INTERMEDIATE CODE: R350

S111 Request for change of ownership or part of ownership

Free format text: JAPANESE INTERMEDIATE CODE: R313115

R350 Written notification of registration of transfer

Free format text: JAPANESE INTERMEDIATE CODE: R350