JP2010005604A - 接触塔 - Google Patents
接触塔 Download PDFInfo
- Publication number
- JP2010005604A JP2010005604A JP2008180562A JP2008180562A JP2010005604A JP 2010005604 A JP2010005604 A JP 2010005604A JP 2008180562 A JP2008180562 A JP 2008180562A JP 2008180562 A JP2008180562 A JP 2008180562A JP 2010005604 A JP2010005604 A JP 2010005604A
- Authority
- JP
- Japan
- Prior art keywords
- liquid
- cell
- fluid
- contact
- descending
- Prior art date
- Legal status (The legal status is an assumption and is not a legal conclusion. Google has not performed a legal analysis and makes no representation as to the accuracy of the status listed.)
- Granted
Links
Images
Classifications
-
- B—PERFORMING OPERATIONS; TRANSPORTING
- B01—PHYSICAL OR CHEMICAL PROCESSES OR APPARATUS IN GENERAL
- B01D—SEPARATION
- B01D3/00—Distillation or related exchange processes in which liquids are contacted with gaseous media, e.g. stripping
- B01D3/14—Fractional distillation or use of a fractionation or rectification column
- B01D3/32—Other features of fractionating columns ; Constructional details of fractionating columns not provided for in groups B01D3/16 - B01D3/30
-
- B—PERFORMING OPERATIONS; TRANSPORTING
- B01—PHYSICAL OR CHEMICAL PROCESSES OR APPARATUS IN GENERAL
- B01D—SEPARATION
- B01D11/00—Solvent extraction
- B01D11/04—Solvent extraction of solutions which are liquid
- B01D11/0426—Counter-current multistage extraction towers in a vertical or sloping position
- B01D11/043—Counter-current multistage extraction towers in a vertical or sloping position with stationary contacting elements, sieve plates or loose contacting elements
-
- B—PERFORMING OPERATIONS; TRANSPORTING
- B01—PHYSICAL OR CHEMICAL PROCESSES OR APPARATUS IN GENERAL
- B01D—SEPARATION
- B01D3/00—Distillation or related exchange processes in which liquids are contacted with gaseous media, e.g. stripping
- B01D3/14—Fractional distillation or use of a fractionation or rectification column
- B01D3/141—Fractional distillation or use of a fractionation or rectification column where at least one distillation column contains at least one dividing wall
-
- B—PERFORMING OPERATIONS; TRANSPORTING
- B01—PHYSICAL OR CHEMICAL PROCESSES OR APPARATUS IN GENERAL
- B01D—SEPARATION
- B01D3/00—Distillation or related exchange processes in which liquids are contacted with gaseous media, e.g. stripping
- B01D3/14—Fractional distillation or use of a fractionation or rectification column
- B01D3/16—Fractionating columns in which vapour bubbles through liquid
- B01D3/24—Fractionating columns in which vapour bubbles through liquid with sloping plates or elements mounted stepwise
-
- B—PERFORMING OPERATIONS; TRANSPORTING
- B01—PHYSICAL OR CHEMICAL PROCESSES OR APPARATUS IN GENERAL
- B01D—SEPARATION
- B01D53/00—Separation of gases or vapours; Recovering vapours of volatile solvents from gases; Chemical or biological purification of waste gases, e.g. engine exhaust gases, smoke, fumes, flue gases, aerosols
- B01D53/14—Separation of gases or vapours; Recovering vapours of volatile solvents from gases; Chemical or biological purification of waste gases, e.g. engine exhaust gases, smoke, fumes, flue gases, aerosols by absorption
- B01D53/18—Absorbing units; Liquid distributors therefor
-
- B—PERFORMING OPERATIONS; TRANSPORTING
- B01—PHYSICAL OR CHEMICAL PROCESSES OR APPARATUS IN GENERAL
- B01J—CHEMICAL OR PHYSICAL PROCESSES, e.g. CATALYSIS OR COLLOID CHEMISTRY; THEIR RELEVANT APPARATUS
- B01J8/00—Chemical or physical processes in general, conducted in the presence of fluids and solid particles; Apparatus for such processes
- B01J8/18—Chemical or physical processes in general, conducted in the presence of fluids and solid particles; Apparatus for such processes with fluidised particles
- B01J8/20—Chemical or physical processes in general, conducted in the presence of fluids and solid particles; Apparatus for such processes with fluidised particles with liquid as a fluidising medium
- B01J8/22—Chemical or physical processes in general, conducted in the presence of fluids and solid particles; Apparatus for such processes with fluidised particles with liquid as a fluidising medium gas being introduced into the liquid
-
- B—PERFORMING OPERATIONS; TRANSPORTING
- B01—PHYSICAL OR CHEMICAL PROCESSES OR APPARATUS IN GENERAL
- B01J—CHEMICAL OR PHYSICAL PROCESSES, e.g. CATALYSIS OR COLLOID CHEMISTRY; THEIR RELEVANT APPARATUS
- B01J2208/00—Processes carried out in the presence of solid particles; Reactors therefor
- B01J2208/00008—Controlling the process
- B01J2208/00017—Controlling the temperature
- B01J2208/00106—Controlling the temperature by indirect heat exchange
- B01J2208/00168—Controlling the temperature by indirect heat exchange with heat exchange elements outside the bed of solid particles
- B01J2208/00247—Reflux columns
-
- B—PERFORMING OPERATIONS; TRANSPORTING
- B01—PHYSICAL OR CHEMICAL PROCESSES OR APPARATUS IN GENERAL
- B01J—CHEMICAL OR PHYSICAL PROCESSES, e.g. CATALYSIS OR COLLOID CHEMISTRY; THEIR RELEVANT APPARATUS
- B01J2208/00—Processes carried out in the presence of solid particles; Reactors therefor
- B01J2208/00008—Controlling the process
- B01J2208/00017—Controlling the temperature
- B01J2208/00106—Controlling the temperature by indirect heat exchange
- B01J2208/00265—Part of all of the reactants being heated or cooled outside the reactor while recycling
- B01J2208/00274—Part of all of the reactants being heated or cooled outside the reactor while recycling involving reactant vapours
-
- B—PERFORMING OPERATIONS; TRANSPORTING
- B01—PHYSICAL OR CHEMICAL PROCESSES OR APPARATUS IN GENERAL
- B01J—CHEMICAL OR PHYSICAL PROCESSES, e.g. CATALYSIS OR COLLOID CHEMISTRY; THEIR RELEVANT APPARATUS
- B01J2208/00—Processes carried out in the presence of solid particles; Reactors therefor
- B01J2208/00008—Controlling the process
- B01J2208/00017—Controlling the temperature
- B01J2208/00106—Controlling the temperature by indirect heat exchange
- B01J2208/00265—Part of all of the reactants being heated or cooled outside the reactor while recycling
- B01J2208/00283—Part of all of the reactants being heated or cooled outside the reactor while recycling involving reactant liquids
-
- B—PERFORMING OPERATIONS; TRANSPORTING
- B01—PHYSICAL OR CHEMICAL PROCESSES OR APPARATUS IN GENERAL
- B01J—CHEMICAL OR PHYSICAL PROCESSES, e.g. CATALYSIS OR COLLOID CHEMISTRY; THEIR RELEVANT APPARATUS
- B01J2208/00—Processes carried out in the presence of solid particles; Reactors therefor
- B01J2208/00743—Feeding or discharging of solids
- B01J2208/00769—Details of feeding or discharging
- B01J2208/00787—Bringing the solid in the form of a slurry before feeding it to the reactor
-
- B—PERFORMING OPERATIONS; TRANSPORTING
- B01—PHYSICAL OR CHEMICAL PROCESSES OR APPARATUS IN GENERAL
- B01J—CHEMICAL OR PHYSICAL PROCESSES, e.g. CATALYSIS OR COLLOID CHEMISTRY; THEIR RELEVANT APPARATUS
- B01J2208/00—Processes carried out in the presence of solid particles; Reactors therefor
- B01J2208/00796—Details of the reactor or of the particulate material
- B01J2208/00823—Mixing elements
- B01J2208/00831—Stationary elements
- B01J2208/0084—Stationary elements inside the bed, e.g. baffles
Landscapes
- Chemical & Material Sciences (AREA)
- Chemical Kinetics & Catalysis (AREA)
- Engineering & Computer Science (AREA)
- Combustion & Propulsion (AREA)
- Organic Chemistry (AREA)
- Analytical Chemistry (AREA)
- General Chemical & Material Sciences (AREA)
- Oil, Petroleum & Natural Gas (AREA)
- Physical Or Chemical Processes And Apparatus (AREA)
- Gas Separation By Absorption (AREA)
- Vaporization, Distillation, Condensation, Sublimation, And Cold Traps (AREA)
Abstract
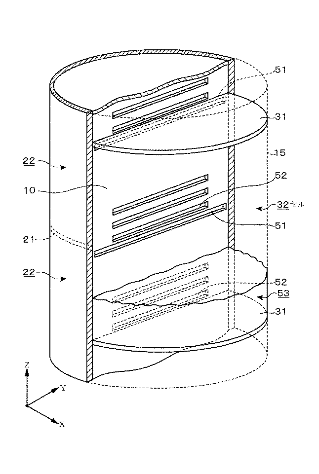
【解決手段】接触塔1は、内部を隔壁(垂直壁10、水平壁21、31)により複数のセル22、32に分離され、各セル22、32は、当該接触塔1内を上昇する上昇流体と、接触塔1内を下降する下降流体との向流接触空間となる。各段の垂直壁10に設けられた下降流体噴出孔52は隔壁に堰き止められて溜まった下降流体を隣接する下段側のセル22、32に噴出させ、この噴出孔52の上方側に設けられた上昇流体入口51は下段側のセル22、32からの上昇流体を流入させる。
【選択図】図6
Description
前記上昇流体及び下降流体の向流接触空間を形成するセルを、上昇流体及び下降流体の流路に沿って互いに隣接する上段側のセルと下段側のセルとが段違いになるように多段に設けたことと、
前記上段側のセルと前記下段側のセルとを隔壁により分離したことと、
各段の隔壁において、前記上段側のセルの下部には、当該隔壁に堰き止められて溜まった下降流体が前記下段側のセルに噴出するように下降流体噴出孔が設けられると共に下降流体が溜まる領域よりも上方側には、当該下段側のセルからの上昇流体が当該上段側のセルに流入する上昇流体流入口が設けられていることと、を特徴とする。
前記上昇流体及び下降流体の向流接触空間を形成するセルを、上昇流体及び下降流体の流路に沿って互いに隣接する上段側のセルと下段側のセルとが段違いになるように多段に設けたことと、
前記上段側のセルと前記下段側のセルとを隔壁により分離したことと、
各段の隔壁において、前記上段側のセルの下部には、当該上段側のセルに溜まった下降流体がその位置エネルギーにより前記下段側のセルに噴出するように下降流体噴出孔が設けられると共に下降流体噴出孔よりも上方側には、当該下段側のセルからの上昇流体がその浮力により当該上段側のセルに流入する上昇流体流入口が設けられていることと、を特徴とする。
前記上昇流体及び下降流体の向流接触空間を形成するセルを、上昇流体及び下降流体の流路に沿って互いに隣接する上段側のセルと下段側のセルとが段違いになるように多段に設けたことと、
前記上段側のセルと前記下段側のセルとを隔壁により分離したことと、
各段の隔壁において、前記下段側のセルの上部には、当該下段側のセルに溜まった上昇流体がその浮力により前記上段側のセルに噴出するように上昇流体噴出孔が設けられると共に上昇流体噴出孔よりも下方側には、当該上段側のセルからの下降流体がその位置エネルギーにより当該下段側のセルに流入する下降流体流入口が設けられていることと、を特徴とする。
またこれらの接触空間は、塔内を隔壁により分離するだけで簡単に形成できるので、容易に多段化することが可能であり、高性能の接触塔を低コストで建設することが可能となる。
なお、液溜まりからの浮力を受けて昇降するシャッタープレート73、73a、73bは、内部が中空の部材で構成する場合に限定されず、例えばプラスチックなど、気液接触塔1にて処理される液体よりも比重の軽い部材で構成してもよい。
図8(a)、図8(b)に示したものとほぼ同様の構成を備えた気液接触塔1を製作し、気液接触の状態を確認した。
A.実験方法
気液接触塔1の本体には塔径が210mm、高さが1,200mmの塩ビ製で透明な円筒管を用い、ステンレス(SUS304)製の隔壁(垂直壁10、水平壁21、31)を用いてセル22、32、42を形成した。各セル22、32、42の高さは200mmとし、5段に積み上げたセル列が横方向に3列並ぶように前記円筒管内を分離した。各セル22、32、42の側面は、図3(b)に示したものとほぼ同様の構成であり、液体通流口52のスリットの上下方向の高さを3mmとし、気体通流口51のスリットではこれを10mmとした。
(実施例1)空気を空塔速度0.5m/sで供給し、水の空塔速度を0.5、1.0、1.5cm/sと変化させた。
(実施例2)空気の空塔速度を1.0m/sとし、実施例1と同様の条件で水の空塔速度を変化させた。
(実施例3)空気の空塔速度を1.5m/sとし、実施例1と同様の条件で水の空塔速度を変化させた。
(実施例4)空気の空塔速度を1.0m/sとし、水の代わりに発泡性の水溶液である低濃度(0.5wt%)エタノール水溶液を供給し、空塔速度を0.5、1.0、1.5cm/sと変化させた。
(実施例5)空気の空塔速度を1.0m/sとし、水の代わりに発泡性の水溶液として界面活性剤TRITON X−100の微量を水に混入(5mg/L)し、これを0.5、1.0、1.5cm/sと変化させた。
目視による気液状態の観察結果によると、(実施例1)〜(実施例3)のいずれの条件においても、各セル22、32内にて水は液滴となって分散すると共に、その後、気相から分離され滞留部53に液溜まりが形成されることを確認できた。また(実施例4)及び(実施例5)では発泡が全くないことを確認した。低濃度エタノール水溶液や微量界面活性剤含有水溶液に気体を分散させると、液体の上層部に気泡層が生成するため、棚段塔での気液接触ではフォーミングが発生し、処理能力が低下する問題が生ずる。しかし、本例のように気体中に液滴を分散させると、発泡が回避でき、気泡層が生成しないため、フォーミングによる処理能力低下を防ぐ効果が得られる。
図9に示したものと同様に、垂直壁10及び水平壁21、31に液体通流口52を設け、垂直壁10側の液体通流口52の直ぐ下方位置に気体通流口51を設け、列数が2のセル22、32を製作し(図23)、既設の蒸留塔に組み込んで、蒸留試験、放散試験を行った。
A.実験方法
蒸留塔は塔内径198mm、高さ3,300mmで、これに2列7段(合計14段)のセル22、32を設置した。各セル22、32の高さは400mm、気体通流口51は20mm幅、液体通流口52は水平壁に3mm幅スリットが2列、垂直壁に3mm幅スリットが3列とした。また当該蒸留塔は、塔底部にリボイラー62を備え、塔頂部にコンデンサー61を備えている。
つぎに、原料であるエチルベンゼンとクロロベンゼンの混合物を蒸留塔の塔頂に供給して、原料供給量ならびにリボイラー62の温度を変え、還流なしで放散試験を行った。いずれの実験においても、塔頂からの蒸気をコンデンサー61に導き、圧力を大気圧に保った。
(実施例6)
エチルベンゼン−クロロベンゼン混合液(エチルベンゼン重量分率0.50、クロロベンゼン重量分率0.50)を蒸留塔の塔底に仕込んだ後、この一部をリボイラー62に送り、リボイラー出口液を塔底に戻しながら、塔底液を所定温度まで上昇させた。塔頂から流出する蒸気はコンデンサー61に導き、冷却液化させた後、留出液全量を塔頂に還流する。コンデンサー61の圧力を大気圧に保ち、リボイラー出口、塔底、塔頂の各液温度、還流流量が一定になってから、塔頂液、塔底液をサンプリングし、ガスクロマトグラムで分析した。定常状態に達したときの塔頂液、塔底液の測定結果を表1に示す。
(実施例7)
エチルベンゼン−クロロベンゼン混合液(エチルベンゼンモル分率0.379、クロロベンゼンモル分率0.621)を放散塔の塔頂に連続的に供給し、塔頂から留出液全量、塔底から缶出液を抜き出した。定常状態に達した後、塔頂液、塔底液をサンプリングし、ガスクロマトグラムで分析した。測定結果を表2に示す。
(実施例8)
放散塔への原料(エチルベンゼンモル分率0.426、クロロベンゼンモル分率0.574)供給量を実施例7より約17%増加させ、同じ方法で運転し、データを採取した。測定結果を表2に示す。
(表1)
(表2)
(表1)に示した実験結果によれば、(実施例6)の全還流蒸留試験において、仕込み時の組成と比較して塔頂部にて低沸点のクロロベンゼン(132℃)の濃度が高くなり、塔底部にて高沸点のエチルベンゼン(136.2℃)の濃度が高くなっているので、蒸留塔内にて両成分の分留が行われていることがわかる。リボイラー62の出口温度137.4℃、コンデンサー61からの還流量261kg/hのとき、測定した塔頂、塔底の各組成(モル分率(mol fr.))から計算した理論段数は6.9段であり、総括セル効率は49%であった。
以下の比較例ならびに実施例においては、いずれも濃度29wt%の酢酸水溶液(以下、原料という)から、酢酸を酢酸エチル80vol%+シクロヘキサン20vol%の混合溶剤(以下、溶剤という)で抽出する液々抽出操作を行った。
(比較例1)
抽出装置として、図24に示す構造をもつ堰板型液々抽出塔120(特許文献3)を用いた。当該液々抽出塔120は内径が208mmであり、棚段121の液流路123開口面積比(液流路面積/塔断面積)を32%とし、分散相液流路として25mm×20mmの矩形の開口部124を4個有する堰板型棚段121を、棚段間隔100mmで25段配置した。
原料が重液、溶剤が軽液であり、前者を分散相として、溶剤比(溶剤/原料の重量比)を2/1に選び、温度約20℃、大気圧下で液々向流接触させた。
原料供給量 218kg/h、溶剤(酢酸濃度0%)供給量 436kg/hのとき、抽残量は液流量 131kg/hで酢酸濃度 2.3wt%であった。液々平衡計算を行って一理論段数当りの高さ(以下、「HETS」という。)を求めたところ、 0.64mであった。
原料および溶剤の供給量を増加し、原料 335kg/h、溶剤 670kg/hとしたとき、フラッディングが発生した。
抽出装置として、図25に示す構造を備えた本発明の実施の形態に係るセル式抽出装置(液々接触塔1c)を用いて実験を行った。内径208mmの塔内に3列12段のセル22、32、42を設置し、各セル22、32、42の高さを200mm、重液通流口52のスリットを幅5mm、2列とし、軽液通流口51の幅を20mmとした。原料及び溶剤の供給量以外の条件は比較例1と同様にした。
原料供給量 218kg/h、溶剤(酢酸濃度0%)供給量 436kg/hのとき、抽残量は液流量 132kg/hで酢酸濃度 1.5wt%であった。液々平衡計算を行ってHETSを求めたところ、 0.54mであった。
原料供給量 335kg/h、溶剤(酢酸濃度0%)供給量 670kg/hのとき、抽残量は液流量 205kg/hで酢酸濃度 1.2wt%であった。液々平衡計算を行って一理論段数当りの高さ(以下、「HETS」という。)を求めたところ、 0.49mであった。
原料および溶剤の供給量を増加し、原料 450kg/h、溶剤 900kg/hとしたとき、フラッディングが発生した。
比較例1と本発明による処理量、抽出効率をまとめると、表3の通りである。
1a〜1c 液々接触塔
10 垂直壁
11 液体供給部、重液供給部
12 液体抜出部、重液抜出部
13 気体供給部、軽液供給部
14 気体抜出部、軽液抜出部
15 周壁
16 液流
17 気流
18 梁
20 左側領域
21 水平壁
22 セル
30 右側領域
31 水平壁
32 セル
41 水平壁
42 セル
51 気体通流口、軽液通流口
51a 重液通流口
52 液体通流口、重液通流口
52a 軽液通流口
53 滞留部
61 コンデンサー
62 リボイラー
71、72、73、73a、73b
シャッタープレート
711、721
回動軸
712、722
軸受部
731 スライダー
732 ガイド部材
74 突出プレート
75 浮力調整部材
Claims (20)
- 塔内の下部から気体である上昇流体を供給すると共に、前記塔内の上部から液体である下降流体を供給して、気体及び液体を向流接触させる接触塔において、
前記上昇流体及び下降流体の向流接触空間を形成するセルを、上昇流体及び下降流体の流路に沿って互いに隣接する上段側のセルと下段側のセルとが段違いになるように多段に設けたことと、
前記上段側のセルと前記下段側のセルとを隔壁により分離したことと、
各段の隔壁において、前記上段側のセルの下部には、当該隔壁に堰き止められて溜まった下降流体が前記下段側のセルに噴出するように下降流体噴出孔が設けられると共に下降流体が溜まる領域よりも上方側には、当該下段側のセルからの上昇流体が当該上段側のセルに流入する上昇流体流入口が設けられていることと、を特徴とする接触塔。 - 前記下降流体噴出孔には、下段側のセルを流れる上昇流体が当該下降流体噴出孔を介して上段側のセルへと流れ込むことを防止するために、前記隔壁に堰き止められた下降流体の量に応じて開閉する第1のシャッターが設けられていることを特徴とする請求項1に記載の接触塔。
- 前記第1のシャッターは第1の付勢手段により付勢されて閉じられるように当該下降流体噴出孔の流出側に設けられ、上段側のセルに溜まった下降流体からの圧力により前記第1の付勢手段の付勢に抗して開かれることを特徴とする請求項2に記載の接触塔。
- 前記下降流体噴出孔はセルの側面に設けられ、前記第1のシャッターはこの下降流体噴出孔を閉じる下降位置と、当該下降流体噴出孔を開く上昇位置との間で昇降するように構成され、上段側のセルに溜まった下降流体の浮力により下降位置から上昇することを特徴とする請求項2に記載の接触塔。
- 前記下降流体噴出孔は更にセルの底面にも設けられ、前記第1のシャッターは前記下降位置において当該底面の下降流体噴出孔を閉じるように構成されていることを特徴とする請求項4に記載の接触塔。
- 前記第1のシャッターは、上段側のセル側へ向けて横方向に突出する浮力調整部材を備えていることを特徴とする請求項4に記載の接触塔。
- 前記上昇流体流入口には、下段側のセルから上段側のセルへと流入する上昇流体の圧力に応じて当該上昇流体流入口の一部を開閉する第2のシャッターが設けられていることを特徴とする請求項1ないし6のいずれか一つに記載の接触塔。
- 前記第2のシャッターは第2の付勢手段により付勢されて閉じられるように前記上昇流体流入口の流出側に設けられ、上昇流体からの圧力により前記第2の付勢手段の付勢に抗して開かれることを特徴とする請求項7に記載の接触塔。
- 塔内の下部から液体である上昇流体を供給すると共に、前記塔内の上部から液体である下降流体を供給して、液体同士を向流接触させる接触塔において、
前記上昇流体及び下降流体の向流接触空間を形成するセルを、上昇流体及び下降流体の流路に沿って互いに隣接する上段側のセルと下段側のセルとが段違いになるように多段に設けたことと、
前記上段側のセルと前記下段側のセルとを隔壁により分離したことと、
各段の隔壁において、前記上段側のセルの下部には、当該上段側のセルに溜まった下降流体がその位置エネルギーにより前記下段側のセルに噴出するように下降流体噴出孔が設けられると共に下降流体噴出孔よりも上方側には、当該下段側のセルからの上昇流体がその浮力により当該上段側のセルに流入する上昇流体流入口が設けられていることと、を特徴とする接触塔。 - 前記上段側のセルと前記下段側のセルとは、互いに一部が上下に積層された位置関係にあり、
前記下降流体の噴出孔は、前記上段側のセルの下部側面及び底面の少なくとも一方に設けられていることを特徴とする請求項1ないし9のいずれか一つに記載の接触塔。 - 前記下降流体の噴出孔は、横方向若しくは縦方向に延びるスリット、または横方向若しくは縦方向に多数配列された孔部により構成されていることを特徴とする請求項1ないし10のいずれか一つに記載の接触塔。
- 前記上昇流体の流入口は、横方向若しくは縦方向に延びるスリット、または横方向若しくは縦方向に多数配列された孔部により構成されていることを特徴とする請求項1ないし11のいずれか一つに記載の接触塔。
- 前記セルの底面は、当該セルに設けられた噴出孔に向けて低くなるように傾斜していることを特徴とする請求項1ないし12のいずれか一つに記載の接触塔。
- 塔内の下部から液体である上昇流体を供給すると共に、前記塔内の上部から液体である下降流体を供給して、液体同士を向流接触させる接触塔において、
前記上昇流体及び下降流体の向流接触空間を形成するセルを、上昇流体及び下降流体の流路に沿って互いに隣接する上段側のセルと下段側のセルとが段違いになるように多段に設けたことと、
前記上段側のセルと前記下段側のセルとを隔壁により分離したことと、
各段の隔壁において、前記下段側のセルの上部には、当該下段側のセルに溜まった上昇流体がその浮力により前記上段側のセルに噴出するように上昇流体噴出孔が設けられると共に上昇流体噴出孔よりも下方側には、当該上段側のセルからの下降流体がその位置エネルギーにより当該下段側のセルに流入する下降流体流入口が設けられていることと、を特徴とする接触塔。 - 前記上段側のセルと前記下段側のセルとは、互いに一部が上下に積層された位置関係にあり、
前記上昇流体の噴出孔は、それぞれ前記下段側のセルの上部側面及び天井面の少なくとも一方に設けられていることを特徴とする請求項14に記載の接触塔。 - 前記上昇流体の噴出孔は、横方向若しくは縦方向に延びるスリット、または横方向若しくは縦方向に多数配列された孔部により構成されていることを特徴とする請求項14または15に記載の接触塔。
- 前記下降流体の流入口は、横方向若しくは縦方向に延びるスリット、または横方向若しくは縦方向に多数配列された孔部により構成されていることを特徴とする請求項14ないし16のいずれか一つに記載の接触塔。
- 多数の前記セルを縦1列に配置したセル列が複数列配置され、各セル列に属するセルと、そのセル列に隣接するセル列のセルとが段違いに配置されていることを特徴とする請求項1ないし17のいずれか一つに記載の接触塔。
- 前記各セル列は、一方向に沿って横に並んでいることを特徴とする請求項18に記載の接触塔。
- 接触塔は円筒状に形成され、前記各セル列は同心円状に横に並んでいることを特徴とする請求項18に記載の接触塔。
Priority Applications (9)
| Application Number | Priority Date | Filing Date | Title |
|---|---|---|---|
| JP2008180562A JP5410044B2 (ja) | 2007-08-16 | 2008-07-10 | 接触塔及び処理方法 |
| BRPI0813843-5A BRPI0813843B1 (pt) | 2007-08-16 | 2008-08-13 | Contactor |
| KR1020107003231A KR101176277B1 (ko) | 2007-08-16 | 2008-08-13 | 접촉탑 |
| CN200880103404.6A CN101784334B (zh) | 2007-08-16 | 2008-08-13 | 接触塔 |
| EP08792546.7A EP2179785B1 (en) | 2007-08-16 | 2008-08-13 | Contact column |
| CA2695181A CA2695181C (en) | 2007-08-16 | 2008-08-13 | Contactor |
| PCT/JP2008/064766 WO2009022753A1 (ja) | 2007-08-16 | 2008-08-13 | 接触塔 |
| AU2008287772A AU2008287772B8 (en) | 2007-08-16 | 2008-08-13 | Contactor |
| US12/673,441 US8240640B2 (en) | 2007-08-16 | 2008-08-13 | Contactor |
Applications Claiming Priority (5)
| Application Number | Priority Date | Filing Date | Title |
|---|---|---|---|
| JP2007212394 | 2007-08-16 | ||
| JP2007212394 | 2007-08-16 | ||
| JP2008141520 | 2008-05-29 | ||
| JP2008141520 | 2008-05-29 | ||
| JP2008180562A JP5410044B2 (ja) | 2007-08-16 | 2008-07-10 | 接触塔及び処理方法 |
Publications (3)
| Publication Number | Publication Date |
|---|---|
| JP2010005604A true JP2010005604A (ja) | 2010-01-14 |
| JP2010005604A5 JP2010005604A5 (ja) | 2011-06-23 |
| JP5410044B2 JP5410044B2 (ja) | 2014-02-05 |
Family
ID=40350801
Family Applications (1)
| Application Number | Title | Priority Date | Filing Date |
|---|---|---|---|
| JP2008180562A Active JP5410044B2 (ja) | 2007-08-16 | 2008-07-10 | 接触塔及び処理方法 |
Country Status (9)
| Country | Link |
|---|---|
| US (1) | US8240640B2 (ja) |
| EP (1) | EP2179785B1 (ja) |
| JP (1) | JP5410044B2 (ja) |
| KR (1) | KR101176277B1 (ja) |
| CN (1) | CN101784334B (ja) |
| AU (1) | AU2008287772B8 (ja) |
| BR (1) | BRPI0813843B1 (ja) |
| CA (1) | CA2695181C (ja) |
| WO (1) | WO2009022753A1 (ja) |
Cited By (3)
| Publication number | Priority date | Publication date | Assignee | Title |
|---|---|---|---|---|
| JP2015047564A (ja) * | 2013-09-02 | 2015-03-16 | 三菱重工業株式会社 | 発電システム |
| WO2018179082A1 (ja) * | 2017-03-28 | 2018-10-04 | 日揮株式会社 | 藻類濃縮方法、及び藻類濃縮装置 |
| JP2021021553A (ja) * | 2019-07-30 | 2021-02-18 | 森松工業株式会社 | 洗浄塔を備えた熱利用ユニット |
Families Citing this family (20)
| Publication number | Priority date | Publication date | Assignee | Title |
|---|---|---|---|---|
| CN103813841B (zh) * | 2011-09-19 | 2015-07-29 | Lg化学株式会社 | 双模式分隔壁塔 |
| FR2988713A1 (fr) * | 2012-04-03 | 2013-10-04 | Tmw | Distillateur d'eau a courants d'air sature et recuperation optimisee de chaleur latente |
| CN102847499B (zh) * | 2012-09-04 | 2014-09-17 | 万华化学集团股份有限公司 | 一种急冷吸收塔及利用其吸收甲基丙烯醛和甲基丙烯酸的方法 |
| CN104936674B (zh) | 2013-01-25 | 2016-11-09 | 埃克森美孚上游研究公司 | 气体料流与液体料流的接触 |
| US9333456B2 (en) * | 2013-05-03 | 2016-05-10 | Fluor Technologies Corporation | Systems and methods for multi-celled gas processing |
| AR096132A1 (es) | 2013-05-09 | 2015-12-09 | Exxonmobil Upstream Res Co | Separar dióxido de carbono y sulfuro de hidrógeno de un flujo de gas natural con sistemas de co-corriente en contacto |
| AR096078A1 (es) | 2013-05-09 | 2015-12-02 | Exxonmobil Upstream Res Co | Separación de impurezas de una corriente de gas usando un sistema de contacto en equicorriente orientado verticalmente |
| KR102228895B1 (ko) * | 2013-10-23 | 2021-03-16 | 차이나 페트로리움 앤드 케미컬 코포레이션 | 분리판형 탑체 |
| CN103893987B (zh) * | 2014-03-26 | 2015-11-11 | 窦福合 | 一种气体水平流动的垂直筛孔板 |
| RU2568706C1 (ru) * | 2014-10-17 | 2015-11-20 | Игорь Анатольевич Мнушкин | Контактное устройство для проведения тепломассообмена и раздела фаз в секционированных перекрестноточных насадочных колоннах в системах газ-жидкость и жидкость-жидкость |
| MX2017007708A (es) | 2015-01-09 | 2017-10-27 | Exxonmobil Upstream Res Co | Separando impurezas de una corriente de fluido usando contactores multiples de corrientes en igual sentido. |
| MX2017008682A (es) | 2015-02-17 | 2017-10-11 | Exxonmobil Upstream Res Co | Caracteristicas de superficie interiores para contactores de co-corriente. |
| CN107427738A (zh) | 2015-03-13 | 2017-12-01 | 埃克森美孚上游研究公司 | 用于共流接触器的聚结器 |
| DE102015014676A1 (de) * | 2015-11-16 | 2017-06-01 | Julius Montz Gmbh | Kolonne mit zylindrischer Trennwand |
| WO2017099725A1 (en) * | 2015-12-08 | 2017-06-15 | Wong Lee Wa | Cooling tower with multiple-layer cooling unit |
| WO2018231332A1 (en) | 2017-06-15 | 2018-12-20 | Exxonmobil Upstream Research Company | Fractionation system using bundler compact co-current contacting systems |
| EP3638391B1 (en) | 2017-06-15 | 2024-09-11 | ExxonMobil Technology and Engineering Company | Fractionation system using compact co-current contacting systems |
| MX394342B (es) | 2017-06-20 | 2025-03-24 | Exxonmobil Upstream Res Co | Sistemas de contacto compactos y metodos para depurar compuestos que contienen azufre. |
| CN110997109B (zh) | 2017-08-21 | 2022-09-09 | 埃克森美孚上游研究公司 | 冷溶剂和酸气脱除的集成 |
| FR3135211B1 (fr) * | 2022-05-06 | 2024-03-29 | Ifp Energies Now | Colonne d’extraction à sections de déversoir alternées |
Citations (6)
| Publication number | Priority date | Publication date | Assignee | Title |
|---|---|---|---|---|
| JPS57113804A (en) * | 1980-12-29 | 1982-07-15 | Kobe Steel Ltd | Tray type gas-liquid contact device |
| JPS5995903A (ja) * | 1982-11-24 | 1984-06-02 | Nippon Kayaku Co Ltd | バツフル・トレイ塔 |
| JPS60108344U (ja) * | 1983-12-27 | 1985-07-23 | 三井造船株式会社 | 洗浄装置付棚段式気液接触塔 |
| JPS62193602A (ja) * | 1986-02-18 | 1987-08-25 | ソシエテ・ナシオナル・エルフ・アキテ−ヌ | たな段式蒸留塔 |
| JP2001293330A (ja) * | 2000-04-12 | 2001-10-23 | Babcock Hitachi Kk | 気液接触方法と装置 |
| JP2003522630A (ja) * | 2000-02-16 | 2003-07-29 | シエル・インターナシヨナル・リサーチ・マートスハツペイ・ベー・ヴエー | 気液トレイ |
Family Cites Families (23)
| Publication number | Priority date | Publication date | Assignee | Title |
|---|---|---|---|---|
| US169970A (en) * | 1875-11-16 | Improvement in stills | ||
| US732548A (en) * | 1902-11-25 | 1903-06-30 | Emile Guillaume | Column for column-stills. |
| US960223A (en) * | 1906-05-26 | 1910-05-31 | Emile Guillaume | Baffle-plate for column-stills. |
| US1886957A (en) * | 1926-03-10 | 1932-11-08 | Universal Oil Prod Co | Method and apparatus for dephlegmation |
| GB624615A (en) * | 1945-02-08 | 1949-06-14 | Jacques Jean Estignard Bluard | A method and apparatus for contacting a liquid and a gaseous fluid |
| US2767068A (en) * | 1954-03-03 | 1956-10-16 | Shell Dev | Method and apparatus for contacting liquids by reciprocal dispersion |
| US3730690A (en) * | 1971-10-18 | 1973-05-01 | Phillips Petroleum Co | Liquid-liquid contacting means |
| US4230533A (en) * | 1978-06-19 | 1980-10-28 | Phillips Petroleum Company | Fractionation method and apparatus |
| EP0057493B2 (en) * | 1981-01-22 | 1990-01-24 | Distillation Technology Limited | Mass transfer apparatus |
| US4582569A (en) * | 1981-01-22 | 1986-04-15 | Distillation Technology Limited | Mass transfer apparatus |
| DE3937671A1 (de) | 1989-11-13 | 1991-05-16 | Uhde Gmbh | Vorrichtung zum umsetzen von alkalichlorat mit saeure, insbesondere mit salzsaeure |
| JP2576744B2 (ja) * | 1991-11-05 | 1997-01-29 | 日揮株式会社 | 液液接触塔 |
| JP2679630B2 (ja) | 1993-07-19 | 1997-11-19 | 日揮株式会社 | 堰板型液液接触塔 |
| US5500116A (en) * | 1993-07-19 | 1996-03-19 | Jgc Corporation | Liquid-liquid contactor |
| RU2104732C1 (ru) | 1995-08-10 | 1998-02-20 | Ярославский государственный технический университет | Контактный элемент клапанной тарелки |
| KR20010012453A (ko) | 1997-05-12 | 2001-02-15 | 코크-글리취 인코포레이티드 | 2단 하강유로를 구비한 기액 접촉 트레이 |
| JP4183331B2 (ja) | 1999-03-05 | 2008-11-19 | 日本リファイン株式会社 | 棚段式気液接触装置 |
| JP2002336657A (ja) | 2001-05-15 | 2002-11-26 | Hitachi Eng Co Ltd | 気液反応塔 |
| US6645350B1 (en) * | 2001-06-15 | 2003-11-11 | Uop Llc | Dividing wall column fractionation tray |
| US20030183957A1 (en) * | 2002-03-28 | 2003-10-02 | Nader Zarabi | Downcomer vapor/liquid flood windows and hinged downcomer weir for reducing tray tower floodings |
| DE10233386A1 (de) | 2002-07-23 | 2004-02-12 | Basf Ag | Verfahren zur kontinuierlich betriebenen Reindestillation des bei der koppel-produktfreien Propylenoxidsynthese verwendeten Lösungsmittels Methanol unter gleichzeitiger Abtrennung der Methoxypropanole |
| FR2860990B1 (fr) * | 2003-10-20 | 2006-01-06 | Air Liquide | Distributeur de fluides pour colonne d'echange de chaleur et de matiere, notamment a garnissage, et colonne munie d'un tel distributeur |
| US7270316B2 (en) * | 2004-06-09 | 2007-09-18 | Joseph Michael Burch | Distillation column tray configuration |
-
2008
- 2008-07-10 JP JP2008180562A patent/JP5410044B2/ja active Active
- 2008-08-13 BR BRPI0813843-5A patent/BRPI0813843B1/pt not_active IP Right Cessation
- 2008-08-13 US US12/673,441 patent/US8240640B2/en active Active
- 2008-08-13 WO PCT/JP2008/064766 patent/WO2009022753A1/ja not_active Ceased
- 2008-08-13 EP EP08792546.7A patent/EP2179785B1/en not_active Not-in-force
- 2008-08-13 CA CA2695181A patent/CA2695181C/en active Active
- 2008-08-13 AU AU2008287772A patent/AU2008287772B8/en not_active Ceased
- 2008-08-13 CN CN200880103404.6A patent/CN101784334B/zh not_active Expired - Fee Related
- 2008-08-13 KR KR1020107003231A patent/KR101176277B1/ko active Active
Patent Citations (6)
| Publication number | Priority date | Publication date | Assignee | Title |
|---|---|---|---|---|
| JPS57113804A (en) * | 1980-12-29 | 1982-07-15 | Kobe Steel Ltd | Tray type gas-liquid contact device |
| JPS5995903A (ja) * | 1982-11-24 | 1984-06-02 | Nippon Kayaku Co Ltd | バツフル・トレイ塔 |
| JPS60108344U (ja) * | 1983-12-27 | 1985-07-23 | 三井造船株式会社 | 洗浄装置付棚段式気液接触塔 |
| JPS62193602A (ja) * | 1986-02-18 | 1987-08-25 | ソシエテ・ナシオナル・エルフ・アキテ−ヌ | たな段式蒸留塔 |
| JP2003522630A (ja) * | 2000-02-16 | 2003-07-29 | シエル・インターナシヨナル・リサーチ・マートスハツペイ・ベー・ヴエー | 気液トレイ |
| JP2001293330A (ja) * | 2000-04-12 | 2001-10-23 | Babcock Hitachi Kk | 気液接触方法と装置 |
Cited By (3)
| Publication number | Priority date | Publication date | Assignee | Title |
|---|---|---|---|---|
| JP2015047564A (ja) * | 2013-09-02 | 2015-03-16 | 三菱重工業株式会社 | 発電システム |
| WO2018179082A1 (ja) * | 2017-03-28 | 2018-10-04 | 日揮株式会社 | 藻類濃縮方法、及び藻類濃縮装置 |
| JP2021021553A (ja) * | 2019-07-30 | 2021-02-18 | 森松工業株式会社 | 洗浄塔を備えた熱利用ユニット |
Also Published As
| Publication number | Publication date |
|---|---|
| EP2179785A4 (en) | 2015-04-08 |
| AU2008287772B8 (en) | 2011-10-06 |
| US8240640B2 (en) | 2012-08-14 |
| CN101784334A (zh) | 2010-07-21 |
| BRPI0813843A2 (pt) | 2015-01-06 |
| KR101176277B1 (ko) | 2012-08-22 |
| CA2695181A1 (en) | 2009-02-19 |
| WO2009022753A1 (ja) | 2009-02-19 |
| AU2008287772A1 (en) | 2009-02-19 |
| EP2179785A1 (en) | 2010-04-28 |
| JP5410044B2 (ja) | 2014-02-05 |
| AU2008287772B2 (en) | 2011-09-15 |
| CA2695181C (en) | 2013-01-08 |
| KR20100041832A (ko) | 2010-04-22 |
| BRPI0813843B1 (pt) | 2018-02-06 |
| CN101784334B (zh) | 2013-07-24 |
| US20110210457A1 (en) | 2011-09-01 |
| EP2179785B1 (en) | 2018-10-10 |
Similar Documents
| Publication | Publication Date | Title |
|---|---|---|
| JP5410044B2 (ja) | 接触塔及び処理方法 | |
| US9889390B2 (en) | Liquid-liquid extraction system and process for use thereof | |
| US9545598B2 (en) | Absorber | |
| CN106794387B (zh) | 用于流体热处理的具有回流管线的塔 | |
| US20170259187A1 (en) | Extraction Column and Process for Use Thereof | |
| WO2008079157A1 (en) | Gas-liquid contact apparatus | |
| CN105026005B (zh) | 用于质量转移塔的混合接触托盘 | |
| US10357740B2 (en) | Liquid redistributor | |
| US6905112B2 (en) | Column for counter-currently contacting vapor and liquid | |
| US2460019A (en) | Method and apparatus for countercurrent contacting of liquids | |
| JP6575348B2 (ja) | 気液接触方法 | |
| RU2446872C2 (ru) | Контактор | |
| JP2679630B2 (ja) | 堰板型液液接触塔 | |
| JP7572029B2 (ja) | 液液混相流路を形成・消滅させる方法及びそのためのモジュール | |
| US10646819B2 (en) | Absorber | |
| RU2521966C1 (ru) | Барботажный экстрактор | |
| ES2964741T3 (es) | Recipiente de separación vertical para efluente catalizado por líquido iónico |
Legal Events
| Date | Code | Title | Description |
|---|---|---|---|
| A521 | Request for written amendment filed |
Free format text: JAPANESE INTERMEDIATE CODE: A523 Effective date: 20110510 |
|
| A621 | Written request for application examination |
Free format text: JAPANESE INTERMEDIATE CODE: A621 Effective date: 20110510 |
|
| A131 | Notification of reasons for refusal |
Free format text: JAPANESE INTERMEDIATE CODE: A131 Effective date: 20130806 |
|
| A521 | Request for written amendment filed |
Free format text: JAPANESE INTERMEDIATE CODE: A523 Effective date: 20131003 |
|
| TRDD | Decision of grant or rejection written | ||
| A01 | Written decision to grant a patent or to grant a registration (utility model) |
Free format text: JAPANESE INTERMEDIATE CODE: A01 Effective date: 20131029 |
|
| A61 | First payment of annual fees (during grant procedure) |
Free format text: JAPANESE INTERMEDIATE CODE: A61 Effective date: 20131106 |
|
| R150 | Certificate of patent or registration of utility model |
Ref document number: 5410044 Country of ref document: JP Free format text: JAPANESE INTERMEDIATE CODE: R150 |
|
| R250 | Receipt of annual fees |
Free format text: JAPANESE INTERMEDIATE CODE: R250 |
|
| S531 | Written request for registration of change of domicile |
Free format text: JAPANESE INTERMEDIATE CODE: R313531 |
|
| R350 | Written notification of registration of transfer |
Free format text: JAPANESE INTERMEDIATE CODE: R350 |
|
| R250 | Receipt of annual fees |
Free format text: JAPANESE INTERMEDIATE CODE: R250 |
|
| R250 | Receipt of annual fees |
Free format text: JAPANESE INTERMEDIATE CODE: R250 |
|
| R250 | Receipt of annual fees |
Free format text: JAPANESE INTERMEDIATE CODE: R250 |
|
| S533 | Written request for registration of change of name |
Free format text: JAPANESE INTERMEDIATE CODE: R313533 |
|
| S111 | Request for change of ownership or part of ownership |
Free format text: JAPANESE INTERMEDIATE CODE: R313111 |
|
| R350 | Written notification of registration of transfer |
Free format text: JAPANESE INTERMEDIATE CODE: R350 |
|
| R350 | Written notification of registration of transfer |
Free format text: JAPANESE INTERMEDIATE CODE: R350 |
|
| R250 | Receipt of annual fees |
Free format text: JAPANESE INTERMEDIATE CODE: R250 |
|
| R250 | Receipt of annual fees |
Free format text: JAPANESE INTERMEDIATE CODE: R250 |
|
| R250 | Receipt of annual fees |
Free format text: JAPANESE INTERMEDIATE CODE: R250 |
|
| R250 | Receipt of annual fees |
Free format text: JAPANESE INTERMEDIATE CODE: R250 |
|
| R250 | Receipt of annual fees |
Free format text: JAPANESE INTERMEDIATE CODE: R250 |
|
| R250 | Receipt of annual fees |
Free format text: JAPANESE INTERMEDIATE CODE: R250 |
