JP2010004716A - 永久磁石形回転電機の回転子構造 - Google Patents

永久磁石形回転電機の回転子構造 Download PDF

Info

Publication number
JP2010004716A
JP2010004716A JP2008163577A JP2008163577A JP2010004716A JP 2010004716 A JP2010004716 A JP 2010004716A JP 2008163577 A JP2008163577 A JP 2008163577A JP 2008163577 A JP2008163577 A JP 2008163577A JP 2010004716 A JP2010004716 A JP 2010004716A
Authority
JP
Japan
Prior art keywords
adhesive
permanent magnet
rotor
silicone rubber
epoxy
Prior art date
Legal status (The legal status is an assumption and is not a legal conclusion. Google has not performed a legal analysis and makes no representation as to the accuracy of the status listed.)
Granted
Application number
JP2008163577A
Other languages
English (en)
Other versions
JP5428218B2 (ja
Inventor
Katsuhiko Yanagawa
克彦 柳川
Takashi Sakiyama
貴史 崎山
Current Assignee (The listed assignees may be inaccurate. Google has not performed a legal analysis and makes no representation or warranty as to the accuracy of the list.)
Fuji Electric Co Ltd
Original Assignee
Fuji Electric Systems Co Ltd
Priority date (The priority date is an assumption and is not a legal conclusion. Google has not performed a legal analysis and makes no representation as to the accuracy of the date listed.)
Filing date
Publication date
Application filed by Fuji Electric Systems Co Ltd filed Critical Fuji Electric Systems Co Ltd
Priority to JP2008163577A priority Critical patent/JP5428218B2/ja
Publication of JP2010004716A publication Critical patent/JP2010004716A/ja
Application granted granted Critical
Publication of JP5428218B2 publication Critical patent/JP5428218B2/ja
Active legal-status Critical Current
Anticipated expiration legal-status Critical

Links

Images

Landscapes

  • Permanent Field Magnets Of Synchronous Machinery (AREA)

Abstract

【課題】ネオジム(NdFeB)焼結磁石で作られた円筒型永久磁石と鉄材系の軸との間を接着剤で構造接着する場合に、接着剤の物性を巧みに活かして高温側から低温側までの使用温度範囲で生じる熱応力を効果的に吸収緩和できるようにした永久磁石形回転電機の回転子構造を提供する。
【解決手段】ネオジム焼結磁石で作られた円筒型永久磁石を回転軸の外周に嵌め合わせ、その嵌め合わせ面に接着剤を塗布して構造接着した構成になる永久磁石形回転電機の回転子において、前記接着剤には高弾性率の高分子系接着剤とゴム弾性を持った低弾性率の高分子系接着剤をブレンドした海島構造の接着剤を採用し、具体的にはエポキシ系成分にシリコーンゴム系成分を分散させて海島構造を形成したエポキシ・シリコーンゴム混合系接着剤で、そのガラス転移温度をモータ使用温度範囲のほぼ中間温度ないしそれ以下の温度に合わせて調製したものを使用する。
【選択図】 図1

Description

本発明は,ネオジム(NdFeB)焼結磁石で作られた円筒型永久磁石を回転子に用いたサーボモータなどを実施対象とする永久磁石形回転電機の回転子構造に関する。
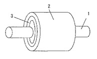
まず、頭記した永久磁石形回転電機(同期モータ)の従来構造(例えば、特許文献1参照)を図4に示す。図4において1は回転子の軸、2は軸1の外周面に嵌め合わせて構造接着したリング形ネオジム(NdFeB)焼結磁石になる円筒型永久磁石(例えば、直径:50mmφ,軸との間の間隙:100μm)であり、軸1と円筒型永久磁石2との間が流動性型のシリコーンゴム系接着剤3で接着されている。なお、円筒型永久磁石3は、接着完成後にその周上に沿ってN極とS極が交互に配列するように着磁されている。
上記構造の回転子組立方法は、軸1の外周面,および円筒型永久磁石2の内周面にそれぞれ定量の流動性型シリコーンゴム系接着剤3を塗布した上で円筒型永久磁石2を軸1に嵌め合わせ、端面からはみ出た余剰の接着剤を拭き取った後に120℃,2時間のキュアー条件で接着剤3を硬化し、その後に室温まで徐冷して回転子が完成する。
なお、この永久磁石形回転電機の使用温度範囲は、一例として高温側が110℃、低温側が−10℃に定められている。
特開平8−223838号公報
ところで、接着剤に先記の流動性型シリコーンゴム系接着剤3を用いて軸1に円筒型永久磁石2を接着した従来の回転子構造では次のような問題点がある。
よく知られているように、ネオジム(NdFeB)焼結磁石はそれ自身の自発体積磁歪により、磁化容易方向に対して直角方向での熱膨張率が“負”の値(−1.2×10-6(1/℃))を持っている。このために、前記した永久磁石形回転電機のように回転子の周面にN極とS極が交互に配列するよう半径方向に着磁したネオジム磁石の円筒型永久磁石2では、使用温度範囲の高温側(+110℃)で円筒型永久磁石2が熱収縮して径寸法が僅かながら縮小するのに対して、鉄材の炭素鋼(例えば、S45C、熱膨張率:+1.2×10-5(1/℃))で作られた回転軸1は、高温側では熱膨張して径寸法が増加する。一方、使用温度範囲の低温側(−10℃)では前記と逆に回転軸1が熱収縮して径寸法が縮小するのに対して、円筒型永久磁石2は逆に熱膨張して径寸法が拡大するように、軸1の外周面と円筒型永久磁石2の内周面との間の間隔極が微小ながら増減変化する。
したがって、図4の従来例(特許文献1)のように低弾性率のシリコーンゴム系接着剤3を用いて軸1と円筒型永久磁石2と間を構造接着した回転子構造を採用することにより、先記した使用温度範囲の高温側(110℃)では軸1と円筒型永久磁石2との熱膨張差による熱応力を低弾性率の接着剤層で有効に吸収緩和できる。これに対して、低温側(−10℃)では接着剤層に引っ張り応力が加わるが、シリコーンゴム系の接着剤層は低温になるとゴム弾性が低下してヤング率が増加する(固くなる)ので、前記の引っ張り応力を吸収し切れずに接着剤層自身が界面剥離するか凝集破壊して層内に亀裂が生じ、これが原因で軸1と円筒型永久磁石2との接着結合が破断する危険性がある。
かかる点、シリコーンゴム系接着剤に比べて接着強度,弾性率が高いエポキシ系接着剤を用いれば、低温側での引っ張り応力に対して界面剥離,凝集破壊の発生なしに充分耐えられるものの、高温側ではエポキシ系接着剤が高弾性率(ヤング率:2000MPa)であるために、熱収縮するネオジム焼結磁石(熱膨張率の値が“負”)には過大な応力が加わって脆性破壊を引き起こし、円筒型永久磁石2が割れる恐れがある。
この発明は上記の点に鑑みなされたものであり、その目的はネオジム(NdFeB)焼結磁石で作られた円筒型永久磁石と鉄材系の軸との間を接着剤で構造接着する場合に、接着剤の物性を巧みに活かして高温側から低温側までの使用温度範囲で生じる熱応力を効果的に吸収緩和できるように改良した信頼性の高い永久磁石形回転電機の回転子構造を提供することにある。
上記目的を達成するために、この発明によれば、表面着磁した円筒形のネオジム焼結磁石を回転軸の外周に嵌め合わせ、その嵌め合わせ面に接着剤を塗布して構造接着した構成になる永久磁石形回転電機の回転子において、
前記接着剤として、高弾性率の高分子系接着剤とゴム弾性を持った低弾性率の高分子系接着剤とを分散混合して構成した海島構造の接着剤を使用し(請求項1)、具体的には次記態様の接着剤を用いるものとする。
(1)前記した海島構造の接着剤は、エポキシ系成分にシリコーンゴム系成分を分散させて海島構造を形成したエポキシ・シリコーンゴム混合系接着剤である(請求項2)。
(2)前記のエポキシ・シリコーンゴム混合系接着剤は、そのガラス転移温度をモータ使用温度範囲のほぼ中間温度ないしそれ以下の温度に合わせて調製したものである(請求項3)。
前記の回転子構造で使用する海島構造の接着剤は、『海』にあたる部分がエポキシ樹脂、『島』にあたる部分がシリコーンゴムとなるようにエポキシ樹脂中にシリコーンゴム成分を添加して分散混合した混合系の接着剤であり、この接着剤は高温側の温度領域においてはシリコーンゴム成分の低弾性率(ゴム弾性)が効果を発揮し、軸と円筒型永久磁石との熱膨張差によって加わる圧縮応力を吸収緩和する。また、低温側の温度領域では高弾性率のエポシキ樹脂が効果を発揮し、その高い接着強度とエポシキ樹脂自身の弾性変形により引っ張り応力を吸収して円筒型永久磁石に加わる応力を緩和する。
さらに、前記した海島構造のエポキシ・シリコーンゴム混合系接着剤について、そのガラス転移温度(Tg)をモータ使用温度範囲のほぼ中間温度ないしそれ以下の温度に合わせて調製することにより、永久磁石形回転電機の使用温度範囲(−10℃〜+110℃)において、−10℃〜+25℃の温度領域では接着剤層の弾性率(縦弾性係数)が1200MPaで、+25℃〜+80℃にかけては温度上昇に伴って弾性率が低くなる傾向を示す。また、+80℃〜+110℃の温度範囲では弾性率が15MPa程度にまで低下し、高温側領域においては低弾性率となる。
これは、海島構造のエポキシ・シリコーンゴム混合系接着剤に混合されたシリコーンゴム成分が、+50℃(使用温度範囲のほぼ中間温度)以上ではガラス転移(Tg=50℃)してガラス状態からゴム状態に変化して低弾性率となるためである。
これにより、永久磁石形回転電機の使用温度範囲(例えば−10℃〜+110℃)での冷熱サイクルで、鉄系材の軸とネオジム焼結磁石の円筒型永久磁石との熱膨張率差に起因して生じる熱応力を接着剤層自身が効果的に吸収緩和し、ネオジム焼結磁石が脆性破壊するおそれのない高信頼性の回転子構造を提供できる。
以下、この発明の実施の形態を図1〜図3に基づいて説明する。なお、図1,図2はそれぞれ第1,第2の実施例による回転子構造の構成斜視図、図3は実施例1,2に採用したエポシキ・シリコーンゴム混合系接着剤の温度−弾性率の関係をエポシキ系接着剤と対比して表した特性図である。
図1はこの発明の実施例1に係わる回転子の構成図である。図1において、1は回転子の軸(材料はS45C)、2は軸1の外周面に接着されるネオジム(NdFeB)焼結磁石で作られた円筒型永久磁石であり、この発明では軸1と円筒型永久磁石2の間がエポキシ・シリコーンゴム混合系接着剤4で接着されている。
このエポキシ・シリコーンゴム混合系接着剤4は、『海』にあたる部分がエポキシ樹脂、『島』にあたる部分がシリコーンゴムとなるような配合比率でエポキシ樹脂中にシリコーンゴム成分を分散させて海島構造を形成した混合系の接着剤であり、例えば、商品名:T−834/R2201(ナガセケムテックス(株)製)のものを使用する。
また、この実施例に採用するエポキシ・シリコーンゴム混合系接着剤4は、後記のようにガラス転移温度(Tg)が回転電機の使用温度範囲(−10℃〜+110℃)のほぼ中間温度近傍,ないしそれ以下に合わせて調製されたものを使用する。なお、エポキシ・シリコーンゴム混合系接着剤4のガラス転移温度は、エポキシ樹脂,シリコーンゴムの各成分の組成,配合比率を変えることで調整される。
上記構造の回転子を組立てるには、まず軸1の外周面,および円筒型永久磁石2の内周面にそれぞれ定量のエポキシ・シリコーンゴム混合系接着剤4を塗布した状態で、軸1の外面に円筒型磁石2を嵌合させる。次に、嵌合面からはみ出た余剰の接着剤を拭き取った上で、80℃,2時間のキュアー条件でエポキシ・シリコーンゴム混合系接着剤4を硬化させ、さらに室温まで徐冷して回転子を完成する。
次に、前記のエポキシ・シリコーンゴム混合系接着剤4について、永久磁石形回転電機の使用温度範囲(−10℃〜+110℃)における温度−弾性率の関係を表す特性を、比較例として挙げたエポキシ系接着剤と対比して図4に示す。すなわち、高弾性率のエポキシ系接着剤は、使用温度範囲である−10℃〜+110℃の全温度領域で2000MPa前後の高い弾性率を維持しているのに対して、海島構造のエポキシ・シリコーンゴム混合系接着剤4の弾性率は、−10℃〜25℃の温度領域で1200MPa、+25℃から+80℃にかけて弾性率が低くなる傾向を示し、+80℃〜+110℃の領域では15MPaと高温側においては非常に低弾性率な状態に変化することが分かる。
これは、海島構造のエポキシ・シリコーンゴム混合系接着剤に混合されたシリコーンゴム成分が、+50℃(使用温度範囲のほぼ中間温度)以上ではガラス転移(Tg=50℃)し、硬質なガラス状態から低弾性率なゴム状態に変化するためである。
したがって、鉄系材で作られた軸1とネオジム焼結磁石で作られた円筒形磁石2との物性の相違から両者の間に熱膨張率(軸1の熱膨張率は“正”であるが、ネオジム磁石の熱膨張率 “負”)に大きな差がある永久磁石形回転電機の回転子を組み立てる場合において、前記した弾性特性を持った海島構造のエポキシ・シリコーンゴム混合系接着剤を使用することにより、その使用温度範囲(例えば−10℃〜+110℃)における冷熱サイクルで、軸1と円筒型永久磁石2との熱膨張率差に起因して生じる熱応力を接着剤層自身が効果的に吸収緩和し、ネオジム焼結磁石の脆性破壊による円筒型永久磁石2の割れを回避することができる。
図2はこの発明の実施例による回転子の構成図であり、軸1には長手方向に沿って2個の円筒型永久磁石2a,2bを装着した構造になり、ここで軸1と円筒型永久磁石2a,2bとの間が、先記従来と同様にエポキシ・シリコーンゴム混合系接着剤4を使用して接着されている。
この実施例で、回転子を組立てるには、軸1の外周面,および2個の円筒型永久磁石2a,2bのそれぞれに定量のエポキシ・シリコーンゴム混合系接着剤4を塗布した上で、軸1の左右両端側から中央位置に向けて2個の円筒型磁石2a,2bを嵌合させる。その後は先記の実施例1と同様に、嵌合部からはみ出た余剰の接着剤を拭き取り、80℃,2時間のキュアー条件でエポキシ・シリコーンゴム混合系接着剤4を硬化させ、室温まで徐冷して回転子を完成する。
この発明の実施例1に係わる回転子の斜視構成図 この発明の実施例2に係わる回転子の斜視構成図 図1,図2におけるエポキシ・シリコーンゴム混合系接着剤とエポシキ系接着剤とを対比して表した温度−弾性率の特性図 従来例の回転子を表す斜視構成図
符号の説明
1 回転子の軸
2 円筒型永久磁石
4 エポキシ・シリコーンゴム混合系接着剤

Claims (3)

  1. 表面着磁した円筒形のネオジム焼結磁石を回転軸の外周に嵌め合わせ、その嵌め合わせ面に接着剤を塗布して構造接着した構成になる永久磁石形回転電機の回転子において、
    前記接着剤として、高弾性率の高分子系接着剤と低弾性率の高分子系接着剤とを分散混合して構成した海島構造の接着剤を使用することを特徴とする永久磁石形回転電機の回転子構造。
  2. 請求項1に記載の回転子構造において、海島構造の接着剤がエポキシ成分にシリコーンゴム成分を分散して海島構造を形成したエポキシ・シリコーンゴム混合系接着剤であることを特徴とする永久磁石形回転電機の回転子構造。
  3. 請求項2に記載の回転子構造において、エポキシ・シリコーンゴム混合系接着剤のガラス転移温度を、モータ使用温度範囲のほぼ中間温度ないしそれ以下の温度に合わせて調製したことを特徴とする永久磁石形回転電機の回転子構造。
JP2008163577A 2008-06-23 2008-06-23 永久磁石形回転電機の回転子構造 Active JP5428218B2 (ja)

Priority Applications (1)

Application Number Priority Date Filing Date Title
JP2008163577A JP5428218B2 (ja) 2008-06-23 2008-06-23 永久磁石形回転電機の回転子構造

Applications Claiming Priority (1)

Application Number Priority Date Filing Date Title
JP2008163577A JP5428218B2 (ja) 2008-06-23 2008-06-23 永久磁石形回転電機の回転子構造

Publications (2)

Publication Number Publication Date
JP2010004716A true JP2010004716A (ja) 2010-01-07
JP5428218B2 JP5428218B2 (ja) 2014-02-26

Family

ID=41585933

Family Applications (1)

Application Number Title Priority Date Filing Date
JP2008163577A Active JP5428218B2 (ja) 2008-06-23 2008-06-23 永久磁石形回転電機の回転子構造

Country Status (1)

Country Link
JP (1) JP5428218B2 (ja)

Cited By (20)

* Cited by examiner, † Cited by third party
Publication number Priority date Publication date Assignee Title
WO2015064911A1 (ko) * 2013-10-29 2015-05-07 소문섭 나선형 구조를 갖는 네오디뮴자석을 이용한 전기발생장치
CN111106722A (zh) * 2018-10-26 2020-05-05 发那科株式会社 装入有定子的马达护套的制造方法
WO2020129948A1 (ja) * 2018-12-17 2020-06-25 日本製鉄株式会社 積層コア、その製造方法及び回転電機
CN114513075A (zh) * 2020-10-29 2022-05-17 通用汽车环球科技运作有限责任公司 具有粘合剂增强的转子的旋转电机
US11710990B2 (en) 2018-12-17 2023-07-25 Nippon Steel Corporation Laminated core with circumferentially spaced adhesion parts on teeth
US11742129B2 (en) 2018-12-17 2023-08-29 Nippon Steel Corporation Adhesively-laminated core, manufacturing method thereof, and electric motor
US11863017B2 (en) 2018-12-17 2024-01-02 Nippon Steel Corporation Laminated core and electric motor
US11915860B2 (en) 2018-12-17 2024-02-27 Nippon Steel Corporation Laminated core and electric motor
US11923130B2 (en) 2018-12-17 2024-03-05 Nippon Steel Corporation Laminated core and electric motor
US11973369B2 (en) 2018-12-17 2024-04-30 Nippon Steel Corporation Laminated core with center electrical steel sheets adhered with adhesive and some electrical steel sheets fixed to each other on both ends of the center sheets
US11979059B2 (en) 2018-12-17 2024-05-07 Nippon Steel Corporation Laminated core and electric motor
US11990795B2 (en) 2018-12-17 2024-05-21 Nippon Steel Corporation Adhesively-laminated core for stator, method of manufacturing same, and electric motor
US11996231B2 (en) 2018-12-17 2024-05-28 Nippon Steel Corporation Laminated core and electric motor
US12068097B2 (en) 2018-12-17 2024-08-20 Nippon Steel Corporation Laminated core, core block, electric motor and method of producing core block
US12074476B2 (en) 2018-12-17 2024-08-27 Nippon Steel Corporation Adhesively-laminated core for stator and electric motor
US12081068B2 (en) 2018-12-17 2024-09-03 Nippon Steel Corporation Laminated core with some electrical steel sheets adhered with adhesive and some electrical steel sheets fixed to each other
US12104096B2 (en) 2018-12-17 2024-10-01 Nippon Steel Corporation Laminated core, laminated core manufacturing method, and electric motor
US12154711B2 (en) 2018-12-17 2024-11-26 Nippon Steel Corporation Adhesively-laminated core for stator and electric motor
US12261482B2 (en) 2018-12-17 2025-03-25 Nippon Steel Corporation Laminated core and electric motor
US12266971B2 (en) 2018-12-17 2025-04-01 Nippon Steel Corporation Adhesively-laminated core for stator, method of manufacturing the same, and electric motor

Families Citing this family (1)

* Cited by examiner, † Cited by third party
Publication number Priority date Publication date Assignee Title
CN104485787B (zh) * 2014-12-15 2017-06-27 哈尔滨电气动力装备有限公司 永磁电动机转子磁钢固定工艺

Citations (3)

* Cited by examiner, † Cited by third party
Publication number Priority date Publication date Assignee Title
JPS6268874A (ja) * 1985-09-19 1987-03-28 Toyota Motor Corp 接着剤組成物
JPH08223838A (ja) * 1995-02-17 1996-08-30 Fuji Electric Co Ltd 原動機の回転子及びその製造方法
JP2001019929A (ja) * 1999-07-08 2001-01-23 Somar Corp 一液型エポキシ樹脂系接着剤

Patent Citations (3)

* Cited by examiner, † Cited by third party
Publication number Priority date Publication date Assignee Title
JPS6268874A (ja) * 1985-09-19 1987-03-28 Toyota Motor Corp 接着剤組成物
JPH08223838A (ja) * 1995-02-17 1996-08-30 Fuji Electric Co Ltd 原動機の回転子及びその製造方法
JP2001019929A (ja) * 1999-07-08 2001-01-23 Somar Corp 一液型エポキシ樹脂系接着剤

Cited By (28)

* Cited by examiner, † Cited by third party
Publication number Priority date Publication date Assignee Title
US9966806B2 (en) 2013-10-29 2018-05-08 Mun Seop SO Electricity generation device using neodymium magnet having helical structure
WO2015064911A1 (ko) * 2013-10-29 2015-05-07 소문섭 나선형 구조를 갖는 네오디뮴자석을 이용한 전기발생장치
CN111106722B (zh) * 2018-10-26 2024-05-10 发那科株式会社 装入有定子的马达护套的制造方法
CN111106722A (zh) * 2018-10-26 2020-05-05 发那科株式会社 装入有定子的马达护套的制造方法
US12068097B2 (en) 2018-12-17 2024-08-20 Nippon Steel Corporation Laminated core, core block, electric motor and method of producing core block
US11923130B2 (en) 2018-12-17 2024-03-05 Nippon Steel Corporation Laminated core and electric motor
JPWO2020129948A1 (ja) * 2018-12-17 2021-11-04 日本製鉄株式会社 積層コア、その製造方法及び回転電機
US12266971B2 (en) 2018-12-17 2025-04-01 Nippon Steel Corporation Adhesively-laminated core for stator, method of manufacturing the same, and electric motor
JP7180690B2 (ja) 2018-12-17 2022-11-30 日本製鉄株式会社 積層コア、その製造方法及び回転電機
KR102531969B1 (ko) 2018-12-17 2023-05-12 닛폰세이테츠 가부시키가이샤 적층 코어, 그 제조 방법 및 회전 전기 기기
US11710990B2 (en) 2018-12-17 2023-07-25 Nippon Steel Corporation Laminated core with circumferentially spaced adhesion parts on teeth
US11742129B2 (en) 2018-12-17 2023-08-29 Nippon Steel Corporation Adhesively-laminated core, manufacturing method thereof, and electric motor
US11855485B2 (en) 2018-12-17 2023-12-26 Nippon Steel Corporation Laminated core, method of manufacturing same, and electric motor
US11863017B2 (en) 2018-12-17 2024-01-02 Nippon Steel Corporation Laminated core and electric motor
US11915860B2 (en) 2018-12-17 2024-02-27 Nippon Steel Corporation Laminated core and electric motor
KR20210091259A (ko) * 2018-12-17 2021-07-21 닛폰세이테츠 가부시키가이샤 적층 코어, 그 제조 방법 및 회전 전기 기기
US11973369B2 (en) 2018-12-17 2024-04-30 Nippon Steel Corporation Laminated core with center electrical steel sheets adhered with adhesive and some electrical steel sheets fixed to each other on both ends of the center sheets
US11979059B2 (en) 2018-12-17 2024-05-07 Nippon Steel Corporation Laminated core and electric motor
TWI725670B (zh) * 2018-12-17 2021-04-21 日商日本製鐵股份有限公司 積層鐵芯、其製造方法及旋轉電機
US11990795B2 (en) 2018-12-17 2024-05-21 Nippon Steel Corporation Adhesively-laminated core for stator, method of manufacturing same, and electric motor
US11996231B2 (en) 2018-12-17 2024-05-28 Nippon Steel Corporation Laminated core and electric motor
WO2020129948A1 (ja) * 2018-12-17 2020-06-25 日本製鉄株式会社 積層コア、その製造方法及び回転電機
US12074476B2 (en) 2018-12-17 2024-08-27 Nippon Steel Corporation Adhesively-laminated core for stator and electric motor
US12081068B2 (en) 2018-12-17 2024-09-03 Nippon Steel Corporation Laminated core with some electrical steel sheets adhered with adhesive and some electrical steel sheets fixed to each other
US12104096B2 (en) 2018-12-17 2024-10-01 Nippon Steel Corporation Laminated core, laminated core manufacturing method, and electric motor
US12154711B2 (en) 2018-12-17 2024-11-26 Nippon Steel Corporation Adhesively-laminated core for stator and electric motor
US12261482B2 (en) 2018-12-17 2025-03-25 Nippon Steel Corporation Laminated core and electric motor
CN114513075A (zh) * 2020-10-29 2022-05-17 通用汽车环球科技运作有限责任公司 具有粘合剂增强的转子的旋转电机

Also Published As

Publication number Publication date
JP5428218B2 (ja) 2014-02-26

Similar Documents

Publication Publication Date Title
JP5428218B2 (ja) 永久磁石形回転電機の回転子構造
US8987965B2 (en) Rotor and permanent magnet rotating machine
CN102634147B (zh) 一种行波型旋转超声电机用聚偏氟乙烯基复合摩擦材料及其制备方法
CN103378672B (zh) 电动机及其制造方法
JP2019149934A (ja) 永久磁石片
CA3131358A1 (en) Laminated core, core block, electric motor and method of producing core block
JP2009201235A (ja) 電動機固定子の固定方法
CN112534685B (zh) 线圈以及电流激励式同步电机
WO2011106756A3 (en) Improved magnet rotor assembly with increased physical strength
JP2005151757A (ja) ローター及びローターの製造方法
CN108880040A (zh) 一种稀土永磁电机用耐高温抗退磁磁钢
CN204886469U (zh) 转子及具有该转子的电动机
CN208596977U (zh) 一种稀土永磁电机用耐高温抗退磁磁钢
JP4613654B2 (ja) モータ、およびその製造方法
JP2005015563A (ja) 電動パワーステアリング装置のためのエポキシ系接着剤組成物、接着構造体及び電動パワーステアリング装置
JP6429604B2 (ja) 熱衝撃に強いボンド磁石を搭載したインナーロータ型モータ
JP4124215B2 (ja) ブラシレスモータ
JP6393737B2 (ja) 希土類ボンド磁石
JP2020198682A (ja) ロータ
JP2009060754A (ja) ステータ用コア、ステータ、その組立方法およびモータ
JP2012120366A (ja) 永久磁石モータ及びその磁石並びにその磁石接着構造
WO2023053307A1 (ja) 回転子および電動機
CN203537093U (zh) 一种定子永磁式双转子电机的隔磁鼠笼外转子结构
JPH08223838A (ja) 原動機の回転子及びその製造方法
CN102832729A (zh) 一种永磁同步电机转子及其制造工艺

Legal Events

Date Code Title Description
A711 Notification of change in applicant

Free format text: JAPANESE INTERMEDIATE CODE: A712

Effective date: 20110422

A621 Written request for application examination

Free format text: JAPANESE INTERMEDIATE CODE: A621

Effective date: 20110614

A977 Report on retrieval

Free format text: JAPANESE INTERMEDIATE CODE: A971007

Effective date: 20130116

A131 Notification of reasons for refusal

Free format text: JAPANESE INTERMEDIATE CODE: A131

Effective date: 20130312

A521 Request for written amendment filed

Free format text: JAPANESE INTERMEDIATE CODE: A523

Effective date: 20130509

TRDD Decision of grant or rejection written
A01 Written decision to grant a patent or to grant a registration (utility model)

Free format text: JAPANESE INTERMEDIATE CODE: A01

Effective date: 20131105

A61 First payment of annual fees (during grant procedure)

Free format text: JAPANESE INTERMEDIATE CODE: A61

Effective date: 20131118

R150 Certificate of patent or registration of utility model

Free format text: JAPANESE INTERMEDIATE CODE: R150

Ref document number: 5428218

Country of ref document: JP

Free format text: JAPANESE INTERMEDIATE CODE: R150

R250 Receipt of annual fees

Free format text: JAPANESE INTERMEDIATE CODE: R250

R250 Receipt of annual fees

Free format text: JAPANESE INTERMEDIATE CODE: R250

R250 Receipt of annual fees

Free format text: JAPANESE INTERMEDIATE CODE: R250

R250 Receipt of annual fees

Free format text: JAPANESE INTERMEDIATE CODE: R250

R250 Receipt of annual fees

Free format text: JAPANESE INTERMEDIATE CODE: R250

R250 Receipt of annual fees

Free format text: JAPANESE INTERMEDIATE CODE: R250

R250 Receipt of annual fees

Free format text: JAPANESE INTERMEDIATE CODE: R250

R250 Receipt of annual fees

Free format text: JAPANESE INTERMEDIATE CODE: R250

R250 Receipt of annual fees

Free format text: JAPANESE INTERMEDIATE CODE: R250

R250 Receipt of annual fees

Free format text: JAPANESE INTERMEDIATE CODE: R250