JP2010004489A - 撮像装置及びその制御方法 - Google Patents

撮像装置及びその制御方法 Download PDF

Info

Publication number
JP2010004489A
JP2010004489A JP2008163706A JP2008163706A JP2010004489A JP 2010004489 A JP2010004489 A JP 2010004489A JP 2008163706 A JP2008163706 A JP 2008163706A JP 2008163706 A JP2008163706 A JP 2008163706A JP 2010004489 A JP2010004489 A JP 2010004489A
Authority
JP
Japan
Prior art keywords
flash
light emission
time
exposure time
luminance information
Prior art date
Legal status (The legal status is an assumption and is not a legal conclusion. Google has not performed a legal analysis and makes no representation as to the accuracy of the status listed.)
Granted
Application number
JP2008163706A
Other languages
English (en)
Other versions
JP2010004489A5 (ja
JP5264318B2 (ja
Inventor
Isamu Senoo
勇 妹尾
Current Assignee (The listed assignees may be inaccurate. Google has not performed a legal analysis and makes no representation or warranty as to the accuracy of the list.)
Canon Inc
Original Assignee
Canon Inc
Priority date (The priority date is an assumption and is not a legal conclusion. Google has not performed a legal analysis and makes no representation as to the accuracy of the date listed.)
Filing date
Publication date
Application filed by Canon Inc filed Critical Canon Inc
Priority to JP2008163706A priority Critical patent/JP5264318B2/ja
Publication of JP2010004489A publication Critical patent/JP2010004489A/ja
Publication of JP2010004489A5 publication Critical patent/JP2010004489A5/ja
Application granted granted Critical
Publication of JP5264318B2 publication Critical patent/JP5264318B2/ja
Expired - Fee Related legal-status Critical Current
Anticipated expiration legal-status Critical

Links

Images

Landscapes

  • Exposure Control For Cameras (AREA)
  • Stroboscope Apparatuses (AREA)
  • Transforming Light Signals Into Electric Signals (AREA)
  • Studio Devices (AREA)

Abstract

【課題】 低輝度化の撮影時に、画面全体に亘ってより適正な明るさで撮影すること。
【解決手段】 2次元に配置した複数の光電変換素子を有する撮像素子(8)と、フラッシュ(23)のプリ発光前後に前記撮像素子により撮像して得られた画像データの輝度情報に基づいて、前記撮像素子を複数の分割領域に分割するエリア分割回路(19)と、前記輝度情報に基づいて、前記フラッシュの発光時間を演算するフラッシュ用演算部(21)と、前記フラッシュのプリ発光前後の輝度情報及びフラッシュ用演算部により演算された発光時間に基づいて、前記複数の分割領域それぞれについて露光時間を演算する露光時間演算部(20)と、前記露光時間の終了時間が前記複数の分割領域で同じになるように、露光開始タイミングを前記複数の分割領域毎に異ならせる露光時間制御手段(2、14)と、前記演算された発光時間に基づいて、前記フラッシュの発光を制御する発光制御回路(22)とを有する。
【選択図】 図1

Description

本発明は、撮像装置及びその制御方法に関する。
従来の撮像装置において、露出制御は自動化され、カメラ操作が未熟な人でも通常の被写体であれば失敗することなく撮影を行うことが可能となっている。また、これらのカメラにおいて夜景や夕景などの低照度下で静止画撮影を行う場合に、フラッシュを用いた撮影やスローシャッターを用いた撮影が行われている。また、フラッシュ光が距離的に届かず、背景が暗くなってしまうような状況においては、シャッターを低速シャッターとすることで背景を明るくし、人物はフラッシュ光により明るくするスローシンクロ撮影の手法がとられている。
特にこのスローシンクロ撮影において、人物が画面の真中にいない場合にカメラが人物を背景だと認識し、人物が白飛びしてしまうのを改善する方法として、エリア分割して測光する方法を用いた撮像装置がある(例えば、特許文献1参照)。この撮像装置において、各エリアから得られる測光データに基づいて、露光時間の制御及びフラッシュの発光制御を行うことが開示されている。
また、撮像素子としてCMOSセンサ等のXYアドレス方式の撮像素子を採用した撮像装置がある(例えば、特許文献2参照)。
特開2002−229094号公報 特開2003−32556号公報
しかしながら、上述した従来のスローシンクロ撮影方法では、全画面を同じ露光時間で露光するため、背景を十分な明るさで撮影できないことがあった。
本発明は上記問題点を鑑みてなされたものであり、低照度下の撮影時に、画面全体に亘ってより適正な明るさで撮影できるようにすることを目的とする。
上記目的を達成するために、本発明の撮像装置は、2次元に配置した複数の光電変換素子を有する撮像素子と、フラッシュのプリ発光前後にそれぞれ前記撮像素子により撮像して得られた画像データの輝度情報に基づいて、前記撮像素子を複数の分割領域に分割する分割手段と、前記輝度情報に基づいて、前記フラッシュの発光時間を演算する発光時間演算手段と、前記フラッシュのプリ発光前後の輝度情報及び前記発光時間演算手段により演算された発光時間に基づいて、前記複数の分割領域それぞれについて露光時間を演算する露光時間演算手段と、前記露光時間の終了時間が前記複数の分割領域で同じになるように、露光開始タイミングを前記複数の分割領域毎に異ならせる露光時間制御手段と、前記演算された発光時間に基づいて、前記フラッシュの発光を制御する発光制御手段とを有する。
また、2次元に配置した複数の光電変換素子を有する撮像素子を有する撮像装置の本発明の制御方法は、フラッシュのプリ発光前後にそれぞれ前記撮像素子により撮像して得られた画像データの輝度情報に基づいて、前記撮像素子を複数の分割領域に分割する分割工程と、前記輝度情報に基づいて、前記フラッシュの発光時間を演算する発光時間演算工程と、前記フラッシュのプリ発光前後の輝度情報及び前記発光時間演算工程で演算された発光時間に基づいて、前記複数の分割領域それぞれについて露光時間を演算する露光時間演算工程と、前記露光時間の終了時間が前記複数の分割領域で同じになるように、露光開始タイミングを前記複数の分割領域毎に異ならせる露光時間制御工程と、前記演算された発光時間に基づいて、前記フラッシュの発光を制御する発光制御工程と、前記露光時間の経過後に、前記撮像素子から画像データを読み出す読み出し工程とを有する。
本発明によれば、低輝度化の撮影時に、画面全体に亘ってより適正な明るさで撮影することが可能となる。
以下、添付図面を参照して本発明を実施するための最良の形態を詳細に説明する。
図1は、本実施の形態における撮像装置の主要構成を示すブロック図である。同図において、1はレンズ群(図1では、簡略的に1枚で示している。)、2は絞り、3は絞りを駆動させる絞り駆動モータ、4は絞り2の位置を検出する絞り状態検出センサを示している。本実施の形態においては、絞り2がメカシャッター機能(遮光手段)を兼用しており、静止画撮影時には絞り2を瞬時に閉じることでメカシャッターを実現している。5はNDフィルタ、6はNDフィルタ6を駆動させるNDフィルタ駆動モータ、7はNDフィルタ6の位置を検出するNDフィルタ状態検出検出センサ、8はCMOSセンサ等の撮像素子を示している。なお、撮像素子8はCMOSセンサに限られるものではなく、2次元に配置した複数の光電変換素子をXYアドレス方式で駆動するXYアドレス型のセンサであれば、他の撮像素子であっても構わない。
9はCDS/AGC回路、10はA/D変換器を示している。ここで、CDS/AGC回路9、A/D変換器10は撮像素子8に組み込んだり、デジタル信号処理回路11に含まれるように構成しても構わない。11はA/D変換器10から出力された映像信号をデジタル処理するデジタル信号処理回路、12はデジタル信号処理回路11からの輝度・色等の情報を受けて各種演算を行い、制御信号を出力するマイクロコンピュータである。13は絞り機構駆動回路、14は撮像素子8の電荷読出しを制御したり、電荷をリセットするリセットパルスをコントロールする電子シャッター機能を含む撮像素子駆動回路である。この撮像素子駆動回路14の電子シャッター機能及び絞り2のメカシャッター機能により、撮像素子8の露光時間が制御されることになる。即ち、撮像素子駆動回路14と絞り2が露光時間制御手段を構成する。15はNDフィルタの光路への挿入/退避をするNDフィルタ駆動回路、16はゲインを制御するAGC制御回路を示している。
17は映像信号の輝度情報を検出する輝度情報検波回路、18は検波の情報に基づき演算する輝度情報演算回路、19は輝度情報演算回路18の演算結果に基づいてエリア分割を行うエリア分割回路である。20はマイクロコンピュータ12または、輝度情報検波回路17の検波結果、輝度情報演算回路18の演算結果、エリア分割回路19のエリア分割結果に基づいて各エリアの露光時間を演算する露光時間演算部である。21は同様にマイクロコンピュータ12または輝度情報検波回路17、輝度情報演算回路18、エリア分割回路19により得られるに情報に基づいてフラッシュ23の発光する場合に発光量や発光タイミングを演算するフラッシュ用演算部(発光時間演算手段)である。22は発光制御回路であり、フラッシュ用演算部21の演算結果により実際のフラッシュ発光を制御する装置であり、フラッシュ23のフラッシュ発光管へ信号を送り、フラッシュの発光が行われる。なお、フラッシュ23は、撮像装置に一体的に備えられたものであっても、着脱可能な構成であっても構わない。また、24は撮像装置の映像を記録する記録媒体を示している。
上記構成を有する撮像装置における通常の撮影では、先ず、撮像素子8に蓄えられた電荷をCDS/AGC回路9でサンプリング及び増幅させA/D変換器10でデジタル画像データに変換し、デジタル信号処理回路11へ送る。そして輝度情報検波回路17にて画像データから被写体の輝度成分を抽出し測光を行い、マイクロコンピュータ12にて被写体の適正輝度を求める。マイクロコンピュータ12は、この輝度情報を基に適正な露出値の画像信号が得られるように、絞り機構駆動回路13、NDフィルタ駆動回路15、AGC制御回路16、及び撮像素子駆動回路14(電子シャッター機能および読出し機能)を制御をする。
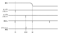
次に、本実施の形態における露出制御及びフラッシュ制御方法について、図2〜図4を参照して説明する。図2及び図3は、エリア分割を説明するための図であり、図4は、撮像素子8と絞り2の駆動タイミングを示すタイミングチャートである。
先ず、輝度情報検波回路17において、静止画撮影時のフラッシュプリ発光前後の輝度情報をそれぞれ検出する。このフラッシュプリ発光前後の輝度情報を基に、輝度情報演算回路18にて輝度情報の反射率および輝度差に基づき、フラッシュ光が届くエリアと届かない背景エリアとの情報を検出する。そして、この情報に基づきエリア分割回路19にて静止画本撮影時の制御エリアとしてエリア分割を行う。
例えば、低照度の場合にフラッシュプリ発光して得られる被写体の画像が図2に示すような場合、フラッシュプリ発光前後の輝度情報の反射率および輝度差を基に、図3のような2つのエリア(分割領域)にエリア分割する。
そして、本撮影ではこのエリア分割の結果及び輝度情報演算回路18の結果を用いて、露光時間演算部20により各エリア(分割領域毎)の露光時間を、そしてフラッシュ用演算部21によりフラッシュ23の本発光量を演算する。ここで、フラッシュが到達しないと判断されたエリア(図3に示す例では、エリア1)に関しては露光時間を長くする必要がある。そのため、露光時間演算部20による演算結果に基づき、露光時間を長くすべきエリアと判断されたエリア(エリア1)では、露光時間が短いと判断されたエリアよりも時間的に先に撮像素子駆動回路14の電子シャッター制御により一括リセットを行う(t1)。このように、露光時間に応じてエリア毎に露光開始タイミングが異なるように制御する。ただし、読出し動作時に読み出しパルスにより電荷が読み出されることで電荷が無くなりリセット動作と同様の効果が得られるため、露光時間が一番長いエリアに関してはリセット動作を必ず行う必要は無い。その後、エリア間の露光時間差をおいて、フラッシュ光が到達すると判断された、露光時間の短いエリア(図3の例ではエリア2)の一括リセット動作を行う(t2)。その後、本撮影の読出しが行われまでの間の時間において、フラッシュ23の本発光をフラッシュ用演算部21により演算された本発光量に従って行う(t3)。その後、露光時間の終了時間になると(露光時間の経過後)、絞り2を閉じることで全画面の露光を同時に終了し、読出し動作を行う(t4)。この動作により、画面全体の露光の同時性が維持される。
次に本実施の形態における撮像装置の露出制御の手順について、図5に示すフローチャートを用いて説明を行う。
処理が開始されると、まず、ステップS101にて、上述したエリア別の露光制御を行うかどうかの条件判断を行う。ここでは、例えばボタン操作やメニュー設定にて本制御が切り替えられる場合などでは、本制御開始されるかをユーザー設定の条件により判断する。ステップS101にてユーザー設定が上述した制御を行うと設定していない場合はステップS101へ戻る。また、本制御を行う設定になっている場合には、ステップS102へ進む。
ステップS102では静止画撮影の一連の動作においてフラッシュプリ発光前の輝度情報を取得し、次に、フラッシュ用演算部21により、フラッシュ23のプリ発光のための発光量を演算する(ステップS103)。ステップS103にて計算されたプリ発光量に基づき、フラッシュ23のプリ発光制御を行い(ステップS104)、プリ発光して得られた画像の輝度情報を取得する(ステップS105)。そして、ステップS102で得た輝度情報と、ステップS105で得た輝度情報(フラッシュプリ発光前後の輝度情報)に基づき、反射率や輝度差等の輝度情報を演算する(ステップS106)。
次にステップS107では、ステップS106の演算結果を用いてエリア分割の必要があるかどうかを判断する。エリア分割が必要かどうかの判断は、例えば、フラッシュプリ発光前後に得られる画像の輝度差を求め、求めた輝度差が、予め設定された閾値よりも少ないかどうかを調べることにより判断することができる。輝度差が予め設定された閾値よりも低い場合には、エリア毎に露光時間を変えなくても、各エリアの明るさが十分な画像を得ることができるため、エリア分割の必要が無いと判断する(ステップS107でNO)。一方、輝度が予め設定された閾値以上の場合には、全画面で同じ露光時間で撮影を行った場合に、明るい領域では白飛び、暗い領域では黒潰れが発生する可能性がある。そのため、上述したエリア毎の露光時間の制御を行うべく、エリア分割が必要であると判断する(ステップS107でYES)。
エリア分割の必要が無いと判断された場合にはステップS112へ進み、従来から行われている方法により撮影を行う。ステップS112で撮影を行った後、ステップS113へ進んで撮影は終了となり、ステップS101へ戻る。
一方、エリア分割の必要があると判断された場合には(ステップS107でYES)、上述したエリア分割を含む露光制御を行うべく、ステップS108へ進む。ステップS108ではステップS106の演算結果に従って、図2及び図3を参照して上述したようにしてエリア分割を行う。ステップS109ではエリア分割を受けて、露光時間演算部20により各エリアの露光時間を算出する。更に、ステップS110では、各エリア毎にフラッシュ用演算部21によりステップS105で得られた輝度情報に基づいてフラッシュ23の本発光量および発光タイミングを制御する。そして、ステップS111では、図4を参照して上述したように、ステップS109及びS110において算出された各エリアに対する露光時間と、フラッシュ23の本発光量及び発光タイミングとを制御して本撮影を行う。次のステップS113にて撮影の一連の動作を終了し、ステップS101へ戻る。
ここで、特にステップS109の露光時間演算と、ステップS110のフラッシュ発光量演算、及び、ステップS113の撮影の制御が本発明の特徴となるため、以下により具体的に説明する。
まず、露光時間とフラッシュ発光量の演算の説明を行う。露光時間とフラッシュ発光量はそれぞれ別々に演算が行われる。フラッシュ発光量の演算方法としては、各エリア毎に下記の式(1)に基づいて算出される。
Target=(((Ltarget−L2)+(L2−L1))/(L2−L1))xTp …(1)
なお、上記式(1)において、TTargetは目標とするフラッシュの発光時間、Ltargetは目標輝度値、L1はプリ発光前の輝度値、L2はプリ発光後の輝度値、Tpプリ発光時間を表している。
まず、予め定められた適正露出とされる輝度目標値Ltargetからプリ発光後の輝度値L2を引き算することで、輝度目標値Ltargetに対してプリ発光後の輝度値L2がどの程度が過不足しているかを算出する。次にプリ発光後の輝度値L2からプリ発光前の輝度値Lを引き算することにより、プリ発光を行ったことでどの程度被写体に影響を及ぼしたかを演算する。これらの2つの結果を加算することで、輝度目標値Ltargetとするために、プリ発光前の輝度値L1に対してどの程度輝度を増加させるかを算出することができる。この結果に対して、プリ発光によりどの程度輝度が増加したかで除することにより、本発光ではどの程度発光すれば良いかを算出することができる。この一連の演算が式(1)により算出可能となる。
また、露光時間は、各エリア毎に下記の式(2)に基づいて算出する。
e=(((Ltarget−((L2−L1)x(Tf/Tp)+L)+L)/L)xTs …(2)
なお、上記式(2)において、Teは露光時間、Tsはプリ発光時の電子シャッター時間(露光時間)を示している。
まず、プリ発光後の輝度値L2からプリ発光前L1の輝度値を引き算し、その値にプリ発光時間Tpに対する本発光時間Tfの割合を掛けることにより、本発光にてどの程度の輝度が増加すると予想できるかを算出する。その値にプリ発光前の輝度値L1を足すことで、本発光時に想定される輝度値が算出される。これを輝度目標値Ltargetから引き算することで、本発光時にどの程度露光量が足りないかを算出する。これをプリ発光前の輝度値L1で割り算し、プリ発光時の電子シャッター時間Tsを掛け算することで、本撮影時の露出時間Teを算出することが可能となる。
上記の通り本実施の形態によれば、低輝度化の撮影時に、画面全体に亘ってより適正な明るさで撮影することが可能となる。
本発明の実施の形態における撮像装置の概略構成を説明するブロック図である。 従来の撮影方法により得られる画像の一例を示す図である。 本発明の実施の形態におけるエリア分割に係る一例の図である。 本発明の露光制御及びフラッシュ発光のタイミングを示す図である。 本発明の実施の形態における撮像装置の露出制御の手順を示すフローチャートである。
符号の説明
1 レンズ群
2 絞り
3 絞り駆動モータ
4 絞り状態検出センサ
5 NDフィルタ
6 NDフィルタ駆動モータ
7 NDフィルタ状態検出センサ
8 撮像素子
9 CDS/AGC
10 A/D変換器
11 デジタル信号処理回路
12 マイクロコンピュータ
13 絞り機構駆動回路
14 撮像素子駆動回路
15 NDフィルタ駆動回路
16 AGC制御回路
17 輝度情報検波回路
18 輝度情報演算回路
19 エリア分割回路
20 露光時間演算部
21 フラッシュ用演算部
22 発光制御回路
23 フラッシュ
24 記録媒体

Claims (4)

  1. 2次元に配置した複数の光電変換素子を有する撮像素子と、
    フラッシュのプリ発光前後にそれぞれ前記撮像素子により撮像して得られた画像データの輝度情報に基づいて、前記撮像素子を複数の分割領域に分割する分割手段と、
    前記輝度情報に基づいて、前記フラッシュの発光時間を演算する発光時間演算手段と、
    前記フラッシュのプリ発光前後の輝度情報及び前記発光時間演算手段により演算された発光時間に基づいて、前記複数の分割領域それぞれについて露光時間を演算する露光時間演算手段と、
    前記露光時間の終了時間が前記複数の分割領域で同じになるように、露光開始タイミングを前記複数の分割領域毎に異ならせる露光時間制御手段と、
    前記演算された発光時間に基づいて、前記フラッシュの発光を制御する発光制御手段と
    を有することを特徴とする撮像装置。
  2. 撮像素子を遮光するための遮光手段を更に有し、
    前記露光時間の終了時間に、前記遮光手段により前記撮像素子を遮光することを特徴とする請求項1に記載の撮像装置。
  3. 前記撮像素子は、XYアドレス型の撮像素子であることを特徴とする請求項1または2に記載の撮像装置。
  4. 2次元に配置した複数の光電変換素子を有する撮像素子を有する撮像装置の制御方法であって、
    フラッシュのプリ発光前後にそれぞれ前記撮像素子により撮像して得られた画像データの輝度情報に基づいて、前記撮像素子を複数の分割領域に分割する分割工程と、
    前記輝度情報に基づいて、前記フラッシュの発光時間を演算する発光時間演算工程と、
    前記フラッシュのプリ発光前後の輝度情報及び前記発光時間演算工程で演算された発光時間に基づいて、前記複数の分割領域それぞれについて露光時間を演算する露光時間演算工程と、
    前記露光時間の終了時間が前記複数の分割領域で同じになるように、露光開始タイミングを前記複数の分割領域毎に異ならせる露光時間制御工程と、
    前記演算された発光時間に基づいて、前記フラッシュの発光を制御する発光制御工程と、
    前記露光時間の経過後に、前記撮像素子から画像データを読み出す読み出し工程と
    を有することを特徴とする制御方法。
JP2008163706A 2008-06-23 2008-06-23 撮像装置及びその制御方法 Expired - Fee Related JP5264318B2 (ja)

Priority Applications (1)

Application Number Priority Date Filing Date Title
JP2008163706A JP5264318B2 (ja) 2008-06-23 2008-06-23 撮像装置及びその制御方法

Applications Claiming Priority (1)

Application Number Priority Date Filing Date Title
JP2008163706A JP5264318B2 (ja) 2008-06-23 2008-06-23 撮像装置及びその制御方法

Publications (3)

Publication Number Publication Date
JP2010004489A true JP2010004489A (ja) 2010-01-07
JP2010004489A5 JP2010004489A5 (ja) 2011-07-28
JP5264318B2 JP5264318B2 (ja) 2013-08-14

Family

ID=41585775

Family Applications (1)

Application Number Title Priority Date Filing Date
JP2008163706A Expired - Fee Related JP5264318B2 (ja) 2008-06-23 2008-06-23 撮像装置及びその制御方法

Country Status (1)

Country Link
JP (1) JP5264318B2 (ja)

Cited By (3)

* Cited by examiner, † Cited by third party
Publication number Priority date Publication date Assignee Title
WO2012117774A1 (ja) * 2011-03-01 2012-09-07 ソニー株式会社 撮像装置、および撮像装置制御方法、並びにプログラム
JP2015219416A (ja) * 2014-05-19 2015-12-07 リコーイメージング株式会社 撮像装置及び露光量制御方法
CN118018862A (zh) * 2024-01-31 2024-05-10 北京晶品特装科技股份有限公司 基于微光夜视产品的降低传输延时的方法

Citations (9)

* Cited by examiner, † Cited by third party
Publication number Priority date Publication date Assignee Title
JPH05204022A (ja) * 1992-01-29 1993-08-13 Nikon Corp 閃光照明装置
JP2000278595A (ja) * 1999-03-26 2000-10-06 Minolta Co Ltd デジタルカメラ及び撮像方法
JP2002229094A (ja) * 2001-02-06 2002-08-14 Canon Inc 露光制御装置、露光制御方法、及び記憶媒体
JP2003116142A (ja) * 2001-08-02 2003-04-18 Olympus Optical Co Ltd 電子カメラ
JP2005031424A (ja) * 2003-07-14 2005-02-03 Olympus Corp ストロボ調光機能付きカメラ
JP2005354199A (ja) * 2004-06-08 2005-12-22 Canon Inc 撮像装置及びその制御方法
JP2006157862A (ja) * 2004-11-08 2006-06-15 Matsushita Electric Ind Co Ltd Mos型撮像素子および撮像装置
JP2006166294A (ja) * 2004-12-10 2006-06-22 Seiko Epson Corp 撮像装置及び撮像素子
JP2009038479A (ja) * 2007-07-31 2009-02-19 Nikon Corp 露出制御装置および撮像装置

Patent Citations (9)

* Cited by examiner, † Cited by third party
Publication number Priority date Publication date Assignee Title
JPH05204022A (ja) * 1992-01-29 1993-08-13 Nikon Corp 閃光照明装置
JP2000278595A (ja) * 1999-03-26 2000-10-06 Minolta Co Ltd デジタルカメラ及び撮像方法
JP2002229094A (ja) * 2001-02-06 2002-08-14 Canon Inc 露光制御装置、露光制御方法、及び記憶媒体
JP2003116142A (ja) * 2001-08-02 2003-04-18 Olympus Optical Co Ltd 電子カメラ
JP2005031424A (ja) * 2003-07-14 2005-02-03 Olympus Corp ストロボ調光機能付きカメラ
JP2005354199A (ja) * 2004-06-08 2005-12-22 Canon Inc 撮像装置及びその制御方法
JP2006157862A (ja) * 2004-11-08 2006-06-15 Matsushita Electric Ind Co Ltd Mos型撮像素子および撮像装置
JP2006166294A (ja) * 2004-12-10 2006-06-22 Seiko Epson Corp 撮像装置及び撮像素子
JP2009038479A (ja) * 2007-07-31 2009-02-19 Nikon Corp 露出制御装置および撮像装置

Cited By (4)

* Cited by examiner, † Cited by third party
Publication number Priority date Publication date Assignee Title
WO2012117774A1 (ja) * 2011-03-01 2012-09-07 ソニー株式会社 撮像装置、および撮像装置制御方法、並びにプログラム
US9420193B2 (en) 2011-03-01 2016-08-16 Sony Corporation Image pickup apparatus, method of controlling image pickup apparatus, and program
JP2015219416A (ja) * 2014-05-19 2015-12-07 リコーイメージング株式会社 撮像装置及び露光量制御方法
CN118018862A (zh) * 2024-01-31 2024-05-10 北京晶品特装科技股份有限公司 基于微光夜视产品的降低传输延时的方法

Also Published As

Publication number Publication date
JP5264318B2 (ja) 2013-08-14

Similar Documents

Publication Publication Date Title
JP4823743B2 (ja) 撮像装置,及び撮像方法
EP2709355B1 (en) Imaging apparatus and control method
US7570883B2 (en) Image pickup method and apparatus with ISO sensitivity setting variable
TWI423664B (zh) 影像裝置與曝光控制方法
JP4615458B2 (ja) 露出制御方法及び撮像装置
US9456145B2 (en) Apparatus for photographing that carries out a pre-flash photography
JP4815330B2 (ja) 撮影装置及びその制御方法
JP5264318B2 (ja) 撮像装置及びその制御方法
JP5258527B2 (ja) カメラシステムおよび撮像装置
JP4971190B2 (ja) Ledフラッシュ制御
JP4813439B2 (ja) 撮影装置及びその制御方法
JP2008271227A (ja) 撮像装置
US8149291B2 (en) Image capture apparatus, control method thereof, program, and storage medium
JP2009118263A (ja) 撮像装置及びその制御方法
JP2006197236A (ja) 撮像装置及び撮像装置の制御方法
JP4869801B2 (ja) 撮影装置
JP2006173860A (ja) 電子カメラ
JP2007228532A (ja) 撮像装置及びそのプログラム
JP4464170B2 (ja) 撮像装置及びその制御方法
JP5887759B2 (ja) 撮像装置及び撮像方法
JP2006243371A (ja) ストロボ装置,及びその制御方法、並びにデジタルスチルカメラ
JP2006017854A (ja) 撮像装置及び閃光発光装置
JP2004325588A (ja) ストロボ発光制御方法
JP4874750B2 (ja) デジタルカメラおよびその制御方法
JP2021152575A (ja) 発光制御装置及び発光制御方法

Legal Events

Date Code Title Description
A521 Request for written amendment filed

Free format text: JAPANESE INTERMEDIATE CODE: A523

Effective date: 20110613

A621 Written request for application examination

Free format text: JAPANESE INTERMEDIATE CODE: A621

Effective date: 20110613

A977 Report on retrieval

Free format text: JAPANESE INTERMEDIATE CODE: A971007

Effective date: 20120918

A131 Notification of reasons for refusal

Free format text: JAPANESE INTERMEDIATE CODE: A131

Effective date: 20120921

A521 Request for written amendment filed

Free format text: JAPANESE INTERMEDIATE CODE: A523

Effective date: 20121115

TRDD Decision of grant or rejection written
A01 Written decision to grant a patent or to grant a registration (utility model)

Free format text: JAPANESE INTERMEDIATE CODE: A01

Effective date: 20130405

A61 First payment of annual fees (during grant procedure)

Free format text: JAPANESE INTERMEDIATE CODE: A61

Effective date: 20130430

R151 Written notification of patent or utility model registration

Ref document number: 5264318

Country of ref document: JP

Free format text: JAPANESE INTERMEDIATE CODE: R151

LAPS Cancellation because of no payment of annual fees