JP2010004451A - 車載無線装置用ノイズ低減装置 - Google Patents

車載無線装置用ノイズ低減装置 Download PDF

Info

Publication number
JP2010004451A
JP2010004451A JP2008163199A JP2008163199A JP2010004451A JP 2010004451 A JP2010004451 A JP 2010004451A JP 2008163199 A JP2008163199 A JP 2008163199A JP 2008163199 A JP2008163199 A JP 2008163199A JP 2010004451 A JP2010004451 A JP 2010004451A
Authority
JP
Japan
Prior art keywords
vehicle
antenna
vehicle interior
amplitude
radio wave
Prior art date
Legal status (The legal status is an assumption and is not a legal conclusion. Google has not performed a legal analysis and makes no representation as to the accuracy of the status listed.)
Granted
Application number
JP2008163199A
Other languages
English (en)
Other versions
JP5029510B2 (ja
Inventor
Minoru Okada
実 岡田
Current Assignee (The listed assignees may be inaccurate. Google has not performed a legal analysis and makes no representation or warranty as to the accuracy of the list.)
Denso Corp
Original Assignee
Denso Corp
Priority date (The priority date is an assumption and is not a legal conclusion. Google has not performed a legal analysis and makes no representation as to the accuracy of the date listed.)
Filing date
Publication date
Application filed by Denso Corp filed Critical Denso Corp
Priority to JP2008163199A priority Critical patent/JP5029510B2/ja
Publication of JP2010004451A publication Critical patent/JP2010004451A/ja
Application granted granted Critical
Publication of JP5029510B2 publication Critical patent/JP5029510B2/ja
Expired - Fee Related legal-status Critical Current
Anticipated expiration legal-status Critical

Links

Images

Landscapes

  • Noise Elimination (AREA)

Abstract

【課題】簡素な構成で、車室内で発生する電波(ノイズ信号)の影響を効率よく低減させる車載無線装置用ノイズ低減装置を提供する。
【解決手段】車外の電波を受信するための指向性を有する第1車外用アンテナ10で車外の電波を受信し、車両の車室内の電波を受信するための指向性を有する第1車室内用アンテナ20で車室内の電波を受信する。そして、第1車室内用アンテナ20で受信した電波の振幅及び位相を第1振幅位相制御部30で制御し、その出力を第1車外用アンテナ10で受信した電波に加算する。加算した電力を第1電力検出部50で検出し、復調制御部60で、第1振幅位相制御部30を制御することにより、第1電力検出部50で検出した電力を最小化する。これにより、車室内で発生する電波(ノイズ信号)が車載無線装置に及ぼす影響を低減させることができる。
【選択図】図1

Description

本発明は、受信した無線信号に混入するノイズ成分を低減させる車載無線装置用ノイズ低減装置に関する。
従来、無線信号を受信する主アンテナとその主アンテナを備えた装置近傍で発生しているノイズをスキャンするためのノイズスキャンアンテナを備え、主アンテナで受信した無線信号からノイズスキャンアンテナで受信した信号を逆相加算することにより、主アンテナで受信した無線信号のノイズ成分を低減させるノイズ装置がある。
このノイズ低減装置では、主アンテナとノイズスキャンアンテナとの距離あるいは受信信号のピーク値のレベル差から減衰回路の最適減衰率を設定し、主アンテナからの受信信号からノイズスキャンアンテナからの受信信号を逆相加算している(例えば、特許文献1参照)
特開2004−173063号公報
ところが、上記ノイズ低減装置では、ノイズスキャンアンテナで受信したノイズの位相が主アンテナからの受信信号と同相でない場合には逆相加算をすることができないため、十分なノイズ低減効果が得られない可能性がある。
また、ノイズスキャンアンテナにも主アンテナと同じ無線信号が混入するため、主アンテナからの受信信号からノイズスキャンアンテナからの受信信号を単純に逆相加算すると、ノイズ成分だけでなく無線信号のレベルも低下し、ひいては信号品質が劣化する可能性もある。
さらに、逆相加算を主アンテナとノイズスキャンアンテナ各々の受信回路部の後段で行っているため各アンテナに受信回路が必要である。したがって、回路規模が大きくなるので、装置の小型化が困難であり、コストも大きくなるという問題もある。
また、従来、車室内のノイズ源は、オーディオ機器のように車室内に固定されているディジタル機器が多かったが、近年では、パソコンや携帯電話など車室内で移動するようになってきている。したがって、ノイズスキャンアンテナで受信したノイズの位相を、車室内におけるノイズ源の移動に従って適応的に制御して、ノイズ低減を行う必要が生じている。
本発明は、こうした問題に鑑みなされたもので、簡素な構成で、車室内で発生する電波(ノイズ信号)の影響を効率よく低減させる車載無線装置用ノイズ低減装置を提供することを目的とする。
かかる問題を解決するためになされた請求項1に記載の車載無線装置用ノイズ低減装置(1:この欄においては、発明に対する理解を容易にするため、必要に応じて「発明を実施するための最良の形態」欄において用いた符号を付すが、この符号によって請求の範囲を限定することを意味するものではない。)は、第1車外用アンテナ(10)、第1車室内用アンテナ(20)、第1振幅位相制御手段(30)、第1加算手段(40)、第1電力検出手段(50)及び最適制御手段(60)を備えたことを特徴とする。
第1車外用アンテナ(10)は、車外の電波を受信し、第1車室内用アンテナ(20)は、車室内の電波を受信する。また、第1振幅位相制御手段(30)は、第1車室内用アンテナ(20)で受信した電波の振幅及び位相を制御して出力し、第1加算手段(40)は、第1振幅位相制御手段(30)の出力と第1車外用アンテナ(10)で受信した電波とを加算して出力する。
第1電力検出手段(50)は、第1加算手段(40)の出力の電力を検出し、最適制御手段(60)は、第1振幅位相制御手段(30)を制御することにより、第1電力検出手段(50)で検出した電力を最小化する。
このように構成された車載無線装置用ノイズ低減装置では、第1車室内用アンテナ(20)で受信した電波(主にノイズ信号を含む)が第1加算手段(40)により第1車外用アンテナ(10)で受信した電波に加算される。その際、加算された電波の電力が最小となるように、第1車室内用アンテナ(20)で受信した電波(主にノイズ信号を含む)の振幅及び位相が制御される。
つまり、第1車外用アンテナ(10)で受信した電波(主に本来受信すべき信号を含む)に第1車室内用アンテナ(20)で受信した電波(主にノイズ信号を含む)を単純に逆位相加算するのではなく、第1車室内用アンテナで受信した電波の振幅と位相とを制御することにより、第1車外用アンテナ(10)で受信した電波と第1車室内用アンテナ(20)で受信した電波とを加算した電波のノイズ成分の強度が最小になるようにしている。
したがって、第1車室内用アンテナ(20)で受信したノイズ信号と第1車室内用アンテナ(20)で受信したノイズ信号とが同相でなくとも十分なノイズ低減効果を得ることができる。
また、第1車室内用アンテナ(20)に本来に受信すべき信号が混入しても、本来受信すべき信号とノイズ信号との振幅比及び位相差が、第1車外用アンテナ(10)の受信電波とは異なるので、ノイズ成分だけを低減することができ、本来受信すべき信号のレベルが必要以上に低下することがなくなるので、信号品質が劣化する可能性も減少する。
さらに、加算を第1車外用アンテナ(10)と第1車室内用アンテナ(20)各々の受信回路部の後段で行うことができるため、アンテナごとの受信回路が不要となる。したがって、回路規模を小さくすることができるので、装置の小型化ができるとともに、コストも低減することができる。
また、車室内のノイズ源が、パソコンや携帯電話など車室内で移動するようなものであっても、第1車室内用アンテナ(20)で受信した電波(主にノイズ信号を含む)の振幅及び位相を車室内におけるノイズ源の移動に従って適応的に制御するので、ノイズ源が移動するものであっても、適切にノイズを低減させることができる。
ところで、第1車外用アンテナ(10)は、車外から送信される電波を受信するためのものであり、第1車室内用アンテナ(20)は、車室内で発生する電波を受信するためのものである。
したがって、請求項2に記載のように、第1車外用アンテナ(10)は、車両の車外の電波を受信するための指向性を有し、第1車室内用アンテナ(20)は、車両の車室内の電波を受信するための指向性を有していると、それぞれの目的に応じた電波を効率よく受信することができ、かつ、目的以外の電波を受信しにくくなるので、効率よくノイズ低減を行うことができる。
さらに、請求項3に記載のように、第1車外用アンテナ(10)を、車両の天井の車外側に設置し、第1車室内用アンテナ(20)を、車両の車室内側に設置すると、第1車外用アンテナ(10)を車室内に設置する場合に比べ、外部から送信される電波を受信する際に、車体の天井部分が障害とならない。
また、第1車室内用アンテナ(20)を天井の車室外に設置する場合に比べ、車室内で発生する電波を受信する際に、車体の天井部分が障害とならない。したがって、各々のアンテナの指向性を生かして、最適な電波受信環境を得ることができるので、ノイズ低減効果を向上させることができる。
また、第1車外用アンテナ(10)及び第1車室内用アンテナ(20)を請求項4に記載のように配置してもよい。すなわち、第1車外用アンテナ(10)及び第1車室内用アンテナ(20)を車室内の天井部分の前部に設置されたルームミラーの車室側から見て背面若しくは上部の天井に配置するのである。
このように配置すると、第1車外用アンテナ(10)の受信能力は多少劣るものの、2つのアンテナをルームミラーの背面若しくは上部の天井に配置するので、車室内において各アンテナを目立たないように配置することができる。
ところで、車室内のノイズには、異なる特性を有する種々の種類のものがある。そこで、請求項5に記載のように、第1車室内用アンテナ(20)とは異なる放射源の車室内の電波を抑圧するための第2車室内用アンテナ(22)及び第2車室内用アンテナ(22)で受信した電波の振幅及び位相を制御して出力する第2振幅位相制御手段(32)を備えるようにする。
また、第1加算手段(40)を、第1車外用アンテナ(10)で受信した電波に第1振幅位相制御手段(30)の出力及び第2振幅位相制御手段(32)の出力を加算して出力するようにし、最適制御手段(60)によって、第1振幅位相制御手段(30)及び第2振幅位相制御手段(32)を制御することにより、第1電力検出手段(50)で検出した電力を最小化するようにするとよい。
このようにすると、第1車室内用アンテナ(20)で電波(主にノイズ信号を含む)を受信するとともに、第1車室内用アンテナ(20)で受信する電波とは異なる振幅比、位相差を有する電波(主にノイズ信号を含む)を第2車室内用アンテナ(22)で受信することができる。そして、第1振幅位相制御手段(30)及び第2振幅位相制御手段(32)によって、受信した各ノイズ信号の振幅及び移相を制御して、各ノイズ信号の影響を最小化することができる。
つまり、車室内で発生する異なる放射源のノイズ信号に対して、その影響を最小化することができるので、ノイズ低減効果を向上させることができる。
また、車外からの電波を受信する場合、異なる伝搬経路の複数の電波を受信する場合がある。例えば、複数の車両間でデータ通信を行う車車間通信や、路側の基地局と車両間でデータ通信を行う路車間通信を行う際に、地面や周囲の反射物によって複数の伝搬経路が生じる場合である。
この場合には、請求項6に記載のように、第2車外用アンテナ(12)、分配手段(70)、第3振幅位相制御手段(34)、第2加算手段(42)及び第2電力検出手段(52)を備えるようにするとよい。
そして、第2車外用アンテナ(12)は、第1車外用アンテナ(10)とは異なる位置及び指向性で車外の電波を受信し、分配手段(70)は、第1車室内用アンテナ(20)の受信電波を分配する。また、第3振幅位相制御手段(34)は、分配手段(70)により分配された受信電波のうちの1つの振幅及び位相を制御して出力する。
さらに、第2加算手段(42)は、第2車外用アンテナ(12)で受信した電波に第3振幅位相制御手段(34)の出力を加算して出力し、第2電力検出手段(52)は、第2加算手段(42)の出力の電力を検出する。
また、最適制御手段(60)は、第1振幅位相制御手段(30)及び第3振幅位相制御手段(34)を制御することにより、第1電力検出手段(50)及び第2電力検出手段(52)で検出した電力を最小化する。
このようにすると、第1車外用アンテナ(10)及び第2車外用アンテナ(12)によって、複数の異なる伝搬経路の車外からの電波を異なる位相関係で受信することができるので、複数の異なる伝搬経路で到来した電波を合成して通信品質を高めることができる。
また、複数の各々の電波に対し、第1車室内用アンテナ(20)で受信した車室内電波(主にノイズ信号を含む)を分配手段(70)で分配したうえで、その振幅及び位相を制御して加算する。そして、加算した電波の電力が各々最小となるように制御している。
したがって、第1車外用アンテナ(10)と第2車外用アンテナ(12)とで受信した各々の電波に対し、第1車室内用アンテナ(20)で受信した電波(主にノイズ信号を含む)の振幅及び位相を制御して加算するので、第1車外用アンテナ(10)と第2車外用アンテナ(12)とで受信した各々の電波に対しノイズを低減することができる。
ところで、第1車室内用アンテナ(20)で受信した電波の振幅及び位相を制御して出力する場合、受信した電波の振幅及び位相を直接制御する方法以外に、中間周波数に変換する課程で制御する方法がある。つまり、請求項7に記載のように、所定の基準周波数のクロック信号を出力する基準信号発生器(90)、基準信号発生器(90)が出力するクロック信号に基づいて車外から入力される電波の周波数近傍の局部発振信号を出力する第1局部発振器(92)及び車外から入力される電波の周波数を第1局部発振器(92)が出力する局部発振信号に基づいて車外から入力される周波数よりも低い周波数の中間周波数に変換する第1周波数変換器(94)を、第1車外用アンテナ(10)と第1加算手段(40)との間に設ける。
また、第1振幅位相制御手段(30)を、基準信号発生器(90)が出力するクロック信号の位相を移相して出力する第1移相器(100)、第1移相器(100)が出力する信号に基づいて、車室内から入力される電波の周波数近傍の局部発振信号を出力する第2局部発振器(102)及び車室内から入力される電波の周波数を、第2局部発振器(102)が出力する局部発振信号に基づいて車室内から入力される周波数よりも低い周波数の中間周波数に変換する第2周波数変換器(104)から構成する。
このようにすると、第1車室内用アンテナ(20)で受信された電波の位相制御を基準信号発生器(90)が出力する所定の基準周波数のクロック信号によって正確に実現することができる。したがって、第1車室内用アンテナ(20)で受信した電波の位相を、アナログ移相器を用いて移相する場合に比べ、位相制御を高精度かつ広範囲にわたって行うことができるので、高いノイズ低減効果を得ることができる。
ところで、第1車外用アンテナ(10)で本来受信すべき信号を受信しているときに第1電力検出手段(50)で検出した電力を最小化すると本来受信すべき信号を抑圧する可能性がある。これは、抑圧すべきノイズ信号の振幅及び位相の変化速度が、本来受信すべき信号の振幅及び位相の変化速度と同程度の場合に起こる可能性が高い。
そこで、請求項8に記載のように、最適制御手段(60)は、第1車外用アンテナ(10)で受信した電波の信号が所定の信号であるか否かを判定し、受信した電波の信号が所定の信号でないと判定されている限り、第1振幅位相制御手段(30)を動的に制御することにより、第1電力検出手段(50)で検出した電力を最小化し、受信した電波の信号が所定の信号であると判定された場合には、第1振幅位相制御手段(30)の制御を停止し、電力の最小化を行わないようにするとよい。
このようにすると、抑圧すべきノイズ信号の振幅及び位相の変化速度が、本来受信すべき信号の振幅及び位相の変化速度と同程度の場合でも、本来受信すべき信号を抑圧することがない。
なお、抑圧すべきノイズ信号の振幅及び位相の変化速度が、本来受信すべき信号の振幅及び位相の変化速度に比べて大幅に低い場合には、最適制御手段の応答速度を低くすることにより本来受信すべき信号を抑圧することを避けられる。
ここで、「動的に制御する」とは、ノイズ信号の振幅や位相の変化速度に基づいて、第1振幅位相制御手段(30)の振幅や位相の制御を行うという意味である。
以下、本発明が適用された実施形態について図面を用いて説明する。なお、本発明の実施の形態は、下記の実施形態に何ら限定されることはなく、本発明の技術的範囲に属する限り種々の形態を採りうる。
[第1実施形態]
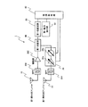
図1は、本発明が適用された車載無線装置用ノイズ低減装置1の概略の構成を示すブロック図であり、図2は、車両に取り付けられたアンテナの取付位置と指向性を示す図である。
車載無線装置用ノイズ低減装置1は、第1車外用アンテナ10、バンドパスフィルタ(以下、BPFと呼ぶ)200,204、増幅器202、第1車室内用アンテナ20、第1振幅位相制御部30、第1加算器40、第1電力検出部50、復調制御部60及び第1受信回路80を備えている。
第1車外用アンテナ10は、車外の電波を受信するためのアンテナであり、図2に示すように、車両後部の天井の車外側に設置されている。第1車外用アンテナ10は、車両の車外の電波を受信するための指向性を有するモノポールアンテナであり、その指向性は、図2に示すように、車両の上方に、車両の存在する平面と平行な面にアンテナのポール部分を中心としてドーナッツ状に広がっている。
BPF200は、所定の帯域幅を有する高周波帯域通過フィルタであり、第1車外用アンテナ10で受信した電波のうち、本来受信したい電波の中心周波数から所定の周波数帯域分の電波のみを通過させ、それ以外の高域及び低域の電波を通過させないフィルタである。
増幅器202は、低雑音の高周波増幅器であり、BPF200で濾波した電波を所定の倍率で増幅し、第1加算器40に出力する。
第1加算器40は、第1車外用アンテナ10で受信され、BPF200で濾波され、さらに増幅器202で増幅された電波に第1振幅位相制御部30の出力を加算して出力する多入力1出力(本第1実施形態では、2入力1出力)の高周波加算器である。
第1電力検出部50は、第1加算器40の出力の電力を検出する高周波電力計である。また、第1受信回路80は、第1加算器40の出力の周波数をベースバンドに変換する変換器であり、局部発振器、混合器及び利得制御器などから構成され、第1加算器40の出力をベースバンド信号に変換する。
第1車室内用アンテナ20は、車室内の電波を受信するためのアンテナであり、図2に示すように、車両の天井の車室内側に設置されている。第1車室内用アンテナ20は、車両の車室内の電波を受信するための指向性を有するマイクロストリップアンテナであり、図2に示すように、アンテナ部分から車室内側に略球状に広がっている。
BPF204は、所定の帯域幅を有する高周波帯域通過フィルタであり、第1車室内用アンテナ20で受信した電波のうち、本来受信したい電波の中心周波数から所定の周波数帯域分の電波のみを通過させ、それ以外の高域及び低域の電波を通過させないフィルタである。
第1振幅位相制御部30は、第1車室内用アンテナ20で受信され、BPF204で濾波された電波の振幅及び位相を制御して出力するものであり、図1に示すように、入力された電波の振幅を復調制御部60からの指令信号に応じて増幅する可変増幅器30a及び入力された電波の位相を復調制御部60からの指令信号に応じて変化(移相)させる可変移相器30bとから構成される。
復調制御部60は、第1受信回路80から出力される電波を復調するするとともに第1振幅位相制御部30を制御することにより、第1電力検出部50で検出した電力を最小化するものである。
復調制御部60は、第1受信回路80から出力されるベースバンド信号をアナログディジタル変換するADC、ディジタル化したベースバンド信号を復調する復調器(FPGAなど)及び第1振幅移相制御部30を制御するためのCPU、ROM、RAM及びI/Oから構成されており、第1電力検出部50で検出した電力値を入力し、第1振幅位相制御部30の可変増幅器30a及び可変移相器30bに対して制御信号を出力し、第1電力検出部50で検出される電力を最小化する最適化処理を行う。
(最適化処理)
次に、復調制御部60において実行される最適化処理について、図3に基づき説明する。図3は、最適化処理の流れを示すフローチャートである。最適化処理は、復調制御部60の電源が投入された後、処理が開始され、図3に示すように、S100において利得制御電圧Vg(以下、単にVgと呼ぶ)、移相制御電圧Vp(以下、単にVpと呼ぶ)、Vgのステップ幅ΔVg(以下、単にΔVgと呼ぶ)、Vpのステップ幅ΔVp(以下、単にΔVpと呼ぶ)に初期値が設定される。
続くS105において、第1電力検出部50から受信電力値が取得され、取得された受信電力値が変数F0に代入される。ただし、この受信電力値は、本来受信すべき信号がない状態、すなわちパケットの受信中でない状態で所定時間受信した場合の受信電力値を平均したものである(以下同様)。
続くS110において、Vpにステップ幅ΔVpが加えられ、続くS115において、再度第1電力検出部50から受信電力値を取得し、取得した受信電力値が変数F1に代入される。
続くS120では、S105で得られたF0の値とS115において得られたF1の値とが比較される。そして、予め設定された所定時間内であって、F1の値がF0の値より小さくなっていない場合(S120:Yes)、処理がS125へ移行され、F1の値がF0の値以上か又は所定時間を経過した場合(S120:No)、処理がS150へ移行される。
S150においては、F1の値とF0の値の差と受信電力値変化の閾値Lm(以下、単にLmと呼ぶ)とが比較され、差がLmより小さい場合(S150:Yes)処理がS155へ移行され、差がLm以上の場合(S150:No)、処理がS160へ移行される。
S155では、ΔVpが、ステップ幅調整用の定数であるkで除されて符号が反転されたものが新たなΔVpとされ、S160では、ΔVpの初期ステップ幅であるΔVpiがΔVpに代入され、処理がS110へ戻される。
一方、S125では、F0にF1の値が代入され、続くS130において、Vgにステップ幅ΔVgが加えられ、続くS135において、再度第1電力検出部50から受信電力値が取得され、取得された受信電力値がF1に代入される。
続くS140では、S125で得られたF0の値とS135において得られたF1の値とが比較される。そして、予め設定された所定時間内であって、F1の値がF0の値より小さくなっていない場合(S140:Yes)、処理がS145へ移行され、F1の値がF0の値以上か又は所定時間を経過した場合(S140:No)、処理がS165へ移行される。
S165においては、F1の値とF0の値の差と受信電力値変化の閾値Lmとが比較され、差がLmより小さい場合(S165:Yes)処理がS170へ移行され、差がLm以上の場合(S165:No)、処理がS175へ移行される。
S170では、ΔVgがkで除されて符号が反転されたものが新たなΔVgとされ、S175では、ΔVgの初期ステップ幅であるΔVgiがΔVgに代入され、処理がS130へ戻される。
一方、S145では、F0にF1の値が代入された後、処理がS110へ戻され、最適化処理が繰り返される。
(車載無線装置用ノイズ低減装置1の特徴)
以上に説明した車載無線装置用ノイズ低減装置1では、第1車室内用アンテナ20で受信した車室内の電波(主にノイズ信号を含む)が第1加算器40により第1車外用アンテナ10で受信した電波に加算される。その際、加算された電波の電力が最小となるように、第1車室内用アンテナ20で受信した電波(主にノイズ信号を含む)の振幅及び位相が制御される。
つまり、第1車外用アンテナ10で受信した電波に第1車室内用アンテナ20で受信した電波を単純に逆位相加算するのではなく、第1車室内用アンテナ20で受信した電波の振幅と位相とを制御することにより、第1車外用アンテナ10で受信した電波と第1車室内用アンテナ20で受信した電波とを加算した電波のノイズ成分の強度が最小になるように制御する。
したがって、第1車室内用アンテナ20で受信したノイズ信号と第1車室内用アンテナ20で受信したノイズ信号とが同相でなくとも十分なノイズ低減効果を得ることができる。
また、第1車室内用アンテナ20に本来受信すべき信号が混入しても、本来受信すべき信号とノイズ信号との振幅比及び位相差が、第1車外用アンテナ10の受信電波とは異なるので、ノイズ成分だけを低減することができ、本来受信すべき信号のレベルが必要以上に低下することがなくなるので、信号品質が劣化する可能性も減少する。
さらに、加算を第1車外用アンテナ10と第1車室内用アンテナ20各々の受信回路部の後段で行うことができるためアンテナごとの受信回路が不要となる。したがって、回路規模を小さくすることができるので、装置の小型化ができるとともに、コストも低減することができる。
さらに、車室内のノイズ源が、パソコンや携帯電話など車室内で移動するようなものであっても、第1車室内用アンテナ20で受信したノイズ信号の振幅及び位相を車室内におけるノイズ源の移動に従って適応的に制御するので、ノイズ源が移動するものであっても、適切にノイズを低減させることができる。
また、第1車外用アンテナ10は、車両の車外の電波を受信するための指向性を有し、第1車室内用アンテナ20は、車両の車室内の電波を受信するための指向性を有している。したがって、それぞれの目的に応じた電波を効率よく受信することができ、かつ、目的以外の電波を受信しにくくなるので、効率よくノイズ低減を行うことができる。
さらに、第1車外用アンテナ10は、車両の天井の車外側に設置され、第1車室内用アンテナ20は、車両の車室内側に設置されている。したがって、第1車外用アンテナ10を車室内に設置する場合に比べ、外部から送信される電波を受信する際に、車体の天井部分が障害とならない。また、第1車室内用アンテナ20を天井の車室外に設置する場合に比べ、車室内で発生する電波を受信する際に、車体の天井部分が障害とならない。
したがって、各々のアンテナの指向性を生かして、最適な電波受信環境を得ることができるので、ノイズ低減効果を向上させることができる。
[第2実施形態]
次に、第1実施形態の車載無線装置用ノイズ低減装置1に対して、主に車室内ノイズを受信するアンテナを複数にした第2実施形態の車載無線装置用ノイズ低減装置2について、図4に基づいて説明する。図4は、車載無線装置用ノイズ低減装置2の概略の構成を示すブロック図である。
なお、第2実施形態の車載無線装置用ノイズ低減装置2は、第1実施形態の車載無線装置用ノイズ低減装置1と同じ構成品が多いので、同じ構成品には同じ符号を付し、その説明を省略する。
車載無線装置用ノイズ低減装置2は、図4に示すように、車載無線装置用ノイズ低減装置1(図1参照)に対し、第1車室内用アンテナ20とは異なる放射源の車室内の電波を抑圧するための第2車室内用アンテナ22、第2車室内用アンテナ22で受信した電波のうち所定の周波数帯域分の電波のみを通過させるBPF206及び第2車室内用アンテナ22で受信した電波の振幅及び位相を制御して出力する第2振幅位相制御部32を備えている。
第1実施形態で説明したように、第1車室内用アンテナ20は、マイクロストリップアンテナであり、車両の天井の車室内側に設置してあるが、第2車室内用アンテナ22は、第1車室内用アンテナ20とは異なる振幅比、位相差を有する電波を受信するものであるので、第1車室内用アンテナとは異なる指向性のアンテナ(例えば、ループアンテナ、形状が異なるマイクロストリップアンテナなど)で、異なる位置(例えば、車両天井の車室内側の異なる位置、ダッシュボード、車室内側の側面など)に設置されていることが望ましい。
そして、第1加算器40を、3入力1出力の高周波加算器とし、第1車外用アンテナ10、第1振幅位相制御部30の出力及び第2振幅位相制御部32の出力を入力として加算して出力する。つまり、第1車外用アンテナ10で受信した電波に第1振幅位相制御部30の出力及び第2振幅位相制御部32の出力を加算して出力する。
第2振幅位相制御部32は、第2車室内用アンテナ22で受信され、BPF206で濾波された電波の振幅及び位相を制御して出力するものであり、図4に示すように、入力された電波の振幅を復調制御部60からの指令信号に応じて増幅する可変増幅器32a及び入力された電波の位相を復調制御部60からの指令信号に応じて変化(移相)させる可変移相器32bとから構成される。
復調制御部60は、第1振幅位相制御部30に加え、第2振幅位相制御部32を制御することにより、第1電力検出部50で検出した電力を最小化する。
第1電力検出部50で検出した電力を最小化するための最適化処理では、第1振幅位相制御部30を最適化した後、第1振幅位相制御部30の最適化処理と同様な処理で第2振幅位相制御部32を最適化する。
以上に説明した車載無線装置用ノイズ低減装置2では、第1車室内用アンテナ20でノイズ信号を受信するとともに、第1車室内用アンテナ20で受信する電波とは異なる振幅及び位相のノイズ信号を第2車室内用アンテナ22で受信することができる。
そして、第1振幅位相制御部30及び第2振幅位相制御部32によって、受信した各ノイズ信号の振幅及び移相を制御して、各ノイズ信号の影響を最小化することができる。
つまり、車室内で発生する異なる放射減のノイズ信号に対して、その影響を最小化することができるので、ノイズ低減効果を向上させることができる。
[第3実施形態]
次に、第1実施形態の車載無線装置用ノイズ低減装置1に対して、主に車外からの電波を受信するアンテナを複数にした第3実施形態の車載無線装置用ノイズ低減装置3について、図5に基づいて説明する。図5は、車載無線装置用ノイズ低減装置3の概略の構成を示すブロック図である。
なお、第3実施形態の車載無線装置用ノイズ低減装置3は、第1実施形態の車載無線装置用ノイズ低減装置1と同じ構成品が多いので、同じ構成品には同じ符号を付し、その説明を省略する。
車載無線装置用ノイズ低減装置3は、図5に示すように、車載無線装置用ノイズ低減装置1(図1参照)に対し、第2車外用アンテナ12、BPF208、増幅器210、分配器70、第3振幅位相制御部34、第2加算器42、第2受信回路82及び第2電力検出部52を備えている。
第2車外用アンテナ12は、第1車外用アンテナ10とは異なる位置及び指向性のいずれかで主に車外の電波を受信するアンテナであり、例えば、第1車外用アンテナ10が車両後部の天井の車外側に設置されているモノポールアンテナであれば、第2車外用アンテナ12は車両前部の天井の車外側に設置されているモノポールアンテナであったり、ルームミラー付近に設置されているループアンテナであったりする。
BPF208は、所定の帯域幅を有する高周波帯域通過フィルタであり、第2車外用アンテナ12で受信した電波のうち、本来受信したい電波の中心周波数から所定の周波数帯域分の電波のみを通過させ、それ以外の高域及び低域の電波を通過させないフィルタである。
増幅器210は、低雑音の高周波増幅器であり、BPF208で濾波した電波を所定の倍率で増幅し、第2加算器42に出力する。
分配器70は、1入力多出力の高周波分配器であり、本第3実施形態では、第1車室内用アンテナ20の受信電波を第1振幅位相制御部30及び第3振幅位相制御部34に分配する。
第3振幅位相制御部34は、入力された電波の振幅を復調制御部60からの指令信号に応じて増幅する可変増幅器34a及び入力された電波の位相を復調制御部60からの指令信号に応じて変化(移相)させる可変移相器34bとから構成され、分配器70により分配された受信電波のうちの1つの振幅を制御して第2加算器42に出力する。
第2加算器42は、第2車外用アンテナ12で受信した電波に第3振幅位相制御部34の出力を加算して第1受信回路80に出力する。
第2電力検出部52は、第2加算器42の出力の電力を検出する。そして、復調制御部60は、第1振幅位相制御部30に加え、第3振幅位相制御部34を制御することにより、第1電力検出部50及び第2電力検出部52で検出した電力を最小化する。
第1電力検出部50で検出した電力を最小化するための最適化処理では、第1振幅位相制御部30を最適化した後、第1振幅位相制御部30の最適化処理と同様な処理で第3振幅位相制御部34を最適化する。
以上に説明した車載無線装置用ノイズ低減装置3では、第1車外用アンテナ10及び第2車外用アンテナ12によって、複数の異なる位置及び指向性のいずれかで車外からの電波を受信することができるので、複数の異なる伝搬経路で到来した電波を合成して通信品質を高めることができる。
また、複数の各々の電波に対し、第1車室内用アンテナ20で受信した車室内で発生するノイズ信号を分配器70で分配したうえで、その振幅及び位相を制御して加算する。そして、加算した電波の電力が各々最小となるように制御している。
したがって、第1車外用アンテナ10と第2車外用アンテナ12とで受信した各々の電波に対し、第1車室内用アンテナ20で受信したノイズ信号の振幅及び位相を制御して加算するので、第1車外用アンテナ10と第2車外用アンテナ12とで受信した各々の電波に対しノイズを低減することができる。
[第4実施形態]
次に、第1実施形態の車載無線装置用ノイズ低減装置1に対して、基準周波数のクロック信号に基づいて位相制御を行うようにした第4実施形態の車載無線装置用ノイズ低減装置4について、図6に基づいて説明する。図6は、車載無線装置用ノイズ低減装置4の概略の構成を示すブロック図である。
なお、第4実施形態の車載無線装置用ノイズ低減装置4は、第1実施形態の車載無線装置用ノイズ低減装置1と同じ構成品が多いので、同じ構成品には同じ符号を付し、その説明を省略する。
車載無線装置用ノイズ低減装置4は、図6に示すように、車載無線装置用ノイズ低減装置1(図1参照)に対し、第1車外用アンテナ10と第1加算器40との間に、基準信号発生器90、第1局部発振器92及び第1周波数変換器94を備えている。
基準信号発生器90は、所定の基準周波数のクロック信号を出力する
第1局部発振器92は、基準信号発生器90が出力するクロック信号に基づいて、車外から入力される電波の周波数近傍の局部発振信号を出力する
第1周波数変換器94は、車外から入力される電波の周波数を、第1局部発振器92が出力する局部発振信号に基づいて車外から入力される周波数よりも低い周波数の中間周波数に変換する。
さらに、第1振幅位相制御部30を、第1移相器100、第2局部発振器102、第2周波数変換器104及び第1可変増幅器106で構成する。
第1移相器100は、基準信号発生器90が出力するクロック信号の位相を移相して出力する
第2局部発振器102は、第1移相器100が出力する信号に基づいて、前記車室内から入力される電波の周波数近傍の局部発振信号を出力する
第2周波数変換器104は、車室内から入力される電波の周波数を、第2局部発振器102が出力する局部発振信号に基づいて前記車室内から入力される周波数よりも低い周波数の中間周波数に変換する。
第1可変増幅器106は、復調制御部60からの指令電圧により増幅率を変化させることができる増幅器であり、第2周波数変換器104の出力を復調制御部60により所定の増幅率で第1加算器40に出力する。
以上に説明した車載無線装置用ノイズ低減装置4では、第1車室内用アンテナ20で受信された電波の位相制御を基準信号発生器90が出力する所定の基準周波数のクロック信号によって正確に実現することができる。したがって、第1車室内用アンテナ20で受信した電波の位相を、アナログ移相器を用いて移相する場合に比べ、位相制御を高精度かつ広範囲にわたって行うことができるので、高いノイズ低減効果を得ることができる。
[その他の実施形態]
以上、本発明の実施形態について説明したが、本発明は、本実施形態に限定されるものではなく、以下のように種々の態様を採ることができる。
(1)上記実施形態では、第1車外用アンテナ10を車室の天井の外側、第1車室内用アンテナ20を車室内の天井部分に取り付けていた(図2参照)が、図7に示すように、第1車外用アンテナ10及び第1車室内用アンテナ20を、車室内の天井部分の前部に設置されたルームミラーの車室側から見て背面若しくは上部の天井に配置してもよい。
このように配置すると、第1車外用アンテナ10の受信能力は多少劣るものの、2つのアンテナをルームミラーの背面若しくは上部の天井に配置するので、車室内において各アンテナを目立たないように配置することができる。
(2)上記実施形態では、振幅制御部、加算器及び電力検出部をアナログ回路で構成していたが、図8に示すように構成してもよい。
つまり、第1振幅位相制御部30、第1加算器40及び第1電力検出部50などの機能を復調制御部60に内蔵させ、増幅器212の出力を第2受信回路82でベースバンド信号に変換して復調制御部60に入力する。つまり、第1車外用アンテナ10で受信した電波と第1車室内用アンテナ20で受信した電波との合成を、ディジタル信号処理で行うのである。
このようにすると、各アンテナで受信した電波の合成前の信号が得られるため、公知のディジタル処理による最適化手法(最急降下法、直接解法、再帰的最小二乗法など)を用いて最適化に必要な時間を短縮することができるので、ノイズ低減の応答性を高めることができる。また、振幅制御部の精度を高められるため、ノイズ低減の効果も高めることができる。
なお、本実施形態(図8参照)では、第1車外用アンテナ10と第1車室内用アンテナ20を用いているが、実施形態1乃至3に示すように、各々のアンテナを増やしてもそれらを独立に処理すれば同様な効果が得られる。
(3)第1実施形態では、BPF200,204は、アンテナ10,20の直後段に配置され、増幅器202,210はその直後段に配置されていたが、図9に示すように、それらを第1加算器40の後段に配置するようにしてもよい。
このようにすると、受信機としての受信感度は多少劣ることになるが、受信感度が低くてもよい場合には、適用可能であり、構造が簡単でコストが低減できるというメリットがある。
第1実施形態における車載無線装置用ノイズ低減装置1の概略の構成を示すブロック図である。 第1実施形態におけるアンテナの取付位置と指向性を示す図である。 最適化処理の流れを示すフローチャートである。 第2実施形態における車載無線装置用ノイズ低減装置2の概略の構成を示すブロック図である。 第3実施形態における車載無線装置用ノイズ低減装置3の概略の構成を示すブロック図である。 第4実施形態における車載無線装置用ノイズ低減装置4の概略の構成を示すブロック図である。 車室内にアンテナを配置した場合のアンテナの取付位置と指向性を示す図である。 第4実施形態における車載無線装置用ノイズ低減装置4の回路構成を変更した場合の概略の構成を示すブロック図である。 車載無線装置用ノイズ低減装置1においてBPF200,204及び増幅器202,210の配置位置を変更した場合の概略の構成を示すブロック図である。
符号の説明
1,2,3,4…車載無線装置用ノイズ低減装置、10…第1車外用アンテナ、12…第2車外用アンテナ、20…第1車室内用アンテナ、22…第2車室内用アンテナ、30…第1振幅位相制御部、30a,32a,34a…可変増幅器、30b,32b,34b…可変移相器、32…第2振幅位相制御部、34…第3振幅位相制御部、40…第1加算器、42…第2加算器、50…第1電力検出部、52…第2電力検出部、60…復調制御部、70…分配器、80…第1受信回路、82…第2受信回路、90…基準信号発生器、92…第1局部発振器、94…第1周波数変換器、100…第1移相器、102…第2局部発振器、104…第2周波数変換器、106…第1可変増幅器、200,204,206,208…バンドパスフィルタ(BPF)、202,210,212…増幅器。

Claims (8)

  1. 車外の電波を受信する第1車外用アンテナと、
    車室内の電波を受信する第1車室内用アンテナと、
    前記第1車室内用アンテナで受信した電波の振幅及び位相を制御して出力する第1振幅位相制御手段と、
    前記第1車外用アンテナで受信した電波に前記第1振幅位相制御手段の出力を加算して出力する第1加算手段と、
    前記第1加算手段の出力の電力を検出する第1電力検出手段と、
    前記第1振幅位相制御手段を制御することにより、前記第1電力検出手段で検出した電力を最小化する最適制御手段と、
    を備えたことを特徴とする車載無線装置用ノイズ低減装置。
  2. 請求項1に記載の車載無線装置用ノイズ低減装置において、
    前記第1車外用アンテナは、前記車両の車外の電波を受信するための指向性を有し、
    前記第1車室内用アンテナは、前記車両の車室内の電波を受信するための指向性を有していることを特徴とする車載無線装置用ノイズ低減装置。
  3. 請求項1又は請求項2に記載の車載無線装置用ノイズ低減装置において、
    前記第1車外用アンテナは、前記車両の天井の車外側に設置され、
    前記第1車室内用アンテナは、前記車両の車室内側に設置されていることを特徴とする車載無線装置用ノイズ低減装置。
  4. 請求項1又は請求項2に記載の車載無線装置用ノイズ低減装置において、
    前記第1車外用アンテナ及び前記第1車室内用アンテナは、
    前記車室内の天井部分の前部に設置されたルームミラーの車室側から見て背面若しくは上部の天井に配置されていることを特徴とする車載無線装置用ノイズ低減装置。
  5. 請求項1〜請求項4の何れかに記載の車載無線装置用ノイズ低減装置において、
    前記第1車室内用アンテナとは異なる振幅比及び位相差で車室内の電波を受信する第2車室内用アンテナと、
    前記第2車室内用アンテナで受信した電波の振幅及び位相を制御して出力する第2振幅位相制御手段と、
    を備え、
    前記第1加算手段は、前記第1車外用アンテナで受信した電波に前記第1振幅位相制御手段の出力及び前記第2振幅位相制御手段を加算して出力し、
    前記最適制御手段は、
    前記第1振幅位相制御手段及び前記第2振幅位相制御手段を制御することにより、前記第1電力検出手段で検出した電力を最小化することを特徴とする車載無線装置用ノイズ低減装置。
  6. 請求項1〜請求項5の何れかに記載の車載無線装置用ノイズ低減装置において、
    前記第1車外用アンテナとは異なる位置及び指向性で車外の電波を受信する第2車外用アンテナと、
    前記第1車室内用アンテナの受信電波を分配する分配手段と、
    前記分配手段により分配された受信電波のうちの1つの振幅及び位相を制御して出力する第3振幅位相制御手段と、
    前記第2車外用アンテナで受信した電波に前記第3振幅位相制御手段の出力を加算して出力する第2加算手段と、
    前記第2加算手段の出力の電力を検出する第2電力検出手段と、
    を備え、
    前記最適制御手段は、
    前記第1振幅位相制御手段及び前記第3振幅位相制御手段を制御することにより、前記第1電力検出手段及び前記第2電力検出手段で検出した電力を最小化することを特徴とする車載無線装置用ノイズ低減装置。
  7. 請求項1〜請求項5の何れかに記載の車載無線装置用ノイズ低減装置において、
    所定の基準周波数のクロック信号を出力する基準信号発生器と、
    前記基準信号発生器が出力するクロック信号に基づいて、前記車外から入力される電波の周波数近傍の局部発振信号を出力する第1局部発振器と、
    前記車外から入力される電波の周波数を、前記第1局部発振器が出力する局部発振信号に基づいて前記車外から入力される周波数よりも低い周波数の中間周波数に変換する第1周波数変換器と、
    を前記第1車外用アンテナと前記第1加算手段との間に備え、
    前記第1振幅位相制御手段は、
    前記基準信号発生器が出力するクロック信号の位相を移相して出力する第1移相器と、
    前記第1移相器が出力する信号に基づいて、前記車室内から入力される電波の周波数近傍の局部発振信号を出力する第2局部発振器と、
    前記車室内から入力される電波の周波数を、前記第2局部発振器が出力する局部発振信号に基づいて前記車室内から入力される周波数よりも低い周波数の中間周波数に変換する第2周波数変換器と、
    から構成されていることを特徴とする車載無線装置用ノイズ低減装置。
  8. 請求項1〜請求項7の何れかに記載の車載無線装置用ノイズ低減装置において、
    前記最適制御手段は、
    前記第1車外用アンテナで受信した電波の信号が所定の信号であるか否かを判定し、前記受信した電波の信号が所定の信号でないと判定されている限り、前記第1振幅位相制御手段を動的に制御することにより、前記第1電力検出手段で検出した電力を最小化し、前記受信した電波の信号が所定の信号であると判定された場合には、前記第1振幅位相制御手段の制御を停止し、前記電力の最小化を行わないことを特徴とする車載無線装置用ノイズ低減装置。
JP2008163199A 2008-06-23 2008-06-23 車載無線装置用ノイズ低減装置 Expired - Fee Related JP5029510B2 (ja)

Priority Applications (1)

Application Number Priority Date Filing Date Title
JP2008163199A JP5029510B2 (ja) 2008-06-23 2008-06-23 車載無線装置用ノイズ低減装置

Applications Claiming Priority (1)

Application Number Priority Date Filing Date Title
JP2008163199A JP5029510B2 (ja) 2008-06-23 2008-06-23 車載無線装置用ノイズ低減装置

Publications (2)

Publication Number Publication Date
JP2010004451A true JP2010004451A (ja) 2010-01-07
JP5029510B2 JP5029510B2 (ja) 2012-09-19

Family

ID=41585743

Family Applications (1)

Application Number Title Priority Date Filing Date
JP2008163199A Expired - Fee Related JP5029510B2 (ja) 2008-06-23 2008-06-23 車載無線装置用ノイズ低減装置

Country Status (1)

Country Link
JP (1) JP5029510B2 (ja)

Cited By (4)

* Cited by examiner, † Cited by third party
Publication number Priority date Publication date Assignee Title
WO2011114726A1 (ja) * 2010-03-18 2011-09-22 パナソニック株式会社 車載用ラジオ受信装置およびノイズキャンセル方法
JP7072730B1 (ja) * 2021-03-09 2022-05-20 三菱電機株式会社 無線通信装置
JP2023139670A (ja) * 2022-03-22 2023-10-04 パナソニックIpマネジメント株式会社 信号処理装置、及び、信号処理方法
JP2023152289A (ja) * 2022-03-31 2023-10-16 原田工業株式会社 車載用アンテナ装置

Families Citing this family (1)

* Cited by examiner, † Cited by third party
Publication number Priority date Publication date Assignee Title
CN113647024B (zh) 2019-03-29 2022-12-20 原田工业株式会社 降噪装置

Citations (6)

* Cited by examiner, † Cited by third party
Publication number Priority date Publication date Assignee Title
JPS5892116A (ja) * 1981-11-27 1983-06-01 Nissan Motor Co Ltd 車両用ノイズ検出装置
JPH1127160A (ja) * 1997-07-04 1999-01-29 Kokusai Electric Co Ltd 無線情報端末
JP2000040989A (ja) * 1998-06-23 2000-02-08 Ford Motor Co 比例ダイバ―シティ・ラジオ受信機システム
JP2001004736A (ja) * 1999-06-24 2001-01-12 Matsushita Electric Works Ltd Gps受信装置
JP2004064563A (ja) * 2002-07-30 2004-02-26 Toyota Motor Corp ディジタル信号処理受信装置
WO2006065883A2 (en) * 2004-12-14 2006-06-22 Quellan, Inc. Method and system for reducing signal interference

Patent Citations (6)

* Cited by examiner, † Cited by third party
Publication number Priority date Publication date Assignee Title
JPS5892116A (ja) * 1981-11-27 1983-06-01 Nissan Motor Co Ltd 車両用ノイズ検出装置
JPH1127160A (ja) * 1997-07-04 1999-01-29 Kokusai Electric Co Ltd 無線情報端末
JP2000040989A (ja) * 1998-06-23 2000-02-08 Ford Motor Co 比例ダイバ―シティ・ラジオ受信機システム
JP2001004736A (ja) * 1999-06-24 2001-01-12 Matsushita Electric Works Ltd Gps受信装置
JP2004064563A (ja) * 2002-07-30 2004-02-26 Toyota Motor Corp ディジタル信号処理受信装置
WO2006065883A2 (en) * 2004-12-14 2006-06-22 Quellan, Inc. Method and system for reducing signal interference

Cited By (10)

* Cited by examiner, † Cited by third party
Publication number Priority date Publication date Assignee Title
WO2011114726A1 (ja) * 2010-03-18 2011-09-22 パナソニック株式会社 車載用ラジオ受信装置およびノイズキャンセル方法
US9100081B2 (en) 2010-03-18 2015-08-04 Panasonic Intellectual Property Management Co., Ltd. Radio reception device for vehicle and noise cancellation method
JP5842140B2 (ja) * 2010-03-18 2016-01-13 パナソニックIpマネジメント株式会社 車載用ラジオ受信装置およびノイズキャンセル方法
EP2549656A4 (en) * 2010-03-18 2017-03-01 Panasonic Intellectual Property Management Co., Ltd. Radio reception device for vehicle and noise cancellation method
JP7072730B1 (ja) * 2021-03-09 2022-05-20 三菱電機株式会社 無線通信装置
WO2022190185A1 (ja) * 2021-03-09 2022-09-15 三菱電機株式会社 無線通信装置
JP2023139670A (ja) * 2022-03-22 2023-10-04 パナソニックIpマネジメント株式会社 信号処理装置、及び、信号処理方法
JP7736608B2 (ja) 2022-03-22 2025-09-09 パナソニックオートモーティブシステムズ株式会社 信号処理装置、及び、信号処理方法
JP2023152289A (ja) * 2022-03-31 2023-10-16 原田工業株式会社 車載用アンテナ装置
JP7766928B2 (ja) 2022-03-31 2025-11-11 原田工業株式会社 車載用アンテナ装置

Also Published As

Publication number Publication date
JP5029510B2 (ja) 2012-09-19

Similar Documents

Publication Publication Date Title
US8270924B2 (en) Antenna diversity system having two antennas for radio reception in vehicles
JP5029510B2 (ja) 車載無線装置用ノイズ低減装置
US20130165059A1 (en) Beamforming apparatus and method in mobile communication system
US10205249B2 (en) Diversified antenna system for vehicle-to-vehicle or vehicle-to-infrastructure communication
JP4655153B2 (ja) 受信装置とこれを用いた電子機器
JPH05259736A (ja) 電子制御アンテナシステム
JP5117316B2 (ja) 無線受信装置及び無線受信方法
EP1727289A2 (en) Vehicle-mounted receiving apparatus for reducing distortion, improving reception sensitivity, and saving power
JP6392710B2 (ja) 車載通信装置
US20070117529A1 (en) Onboard reception device, and noise cancellation method for onboard reception device
US7191022B1 (en) Public addressing system
US20190027834A1 (en) Mobile active and adaptive antenna arrays
JP2005286789A (ja) Am受信回路
CN101176275A (zh) 在数字广播信号接收机中利用中频切换的天线分集
JP2009253491A (ja) チューナ及びテレビジョンチューナ、車載用信号受信装置
JP2021136632A (ja) 受信装置、及び受信方法
US9979461B2 (en) RF repeater
JP3951927B2 (ja) コンバーティブル車用アンテナ受信システム
JPH08146117A (ja) ダイバーシチ受信装置
JP4604198B2 (ja) 適応指向性受信装置、自動車用アンテナ及び自動車
JP2011182280A (ja) 車載用アンテナシステム
JP2009224908A (ja) 地上デジタルテレビの受信システム
JP2006352674A (ja) 受信装置
JP2007158759A (ja) 無線通信装置
JP4654826B2 (ja) 受信装置、受信回路及び受信方法

Legal Events

Date Code Title Description
A621 Written request for application examination

Free format text: JAPANESE INTERMEDIATE CODE: A621

Effective date: 20101027

A977 Report on retrieval

Free format text: JAPANESE INTERMEDIATE CODE: A971007

Effective date: 20120229

A131 Notification of reasons for refusal

Free format text: JAPANESE INTERMEDIATE CODE: A131

Effective date: 20120313

A521 Request for written amendment filed

Free format text: JAPANESE INTERMEDIATE CODE: A523

Effective date: 20120509

TRDD Decision of grant or rejection written
A01 Written decision to grant a patent or to grant a registration (utility model)

Free format text: JAPANESE INTERMEDIATE CODE: A01

Effective date: 20120529

A01 Written decision to grant a patent or to grant a registration (utility model)

Free format text: JAPANESE INTERMEDIATE CODE: A01

A61 First payment of annual fees (during grant procedure)

Free format text: JAPANESE INTERMEDIATE CODE: A61

Effective date: 20120611

R151 Written notification of patent or utility model registration

Ref document number: 5029510

Country of ref document: JP

Free format text: JAPANESE INTERMEDIATE CODE: R151

FPAY Renewal fee payment (event date is renewal date of database)

Free format text: PAYMENT UNTIL: 20150706

Year of fee payment: 3

R250 Receipt of annual fees

Free format text: JAPANESE INTERMEDIATE CODE: R250

R250 Receipt of annual fees

Free format text: JAPANESE INTERMEDIATE CODE: R250

R250 Receipt of annual fees

Free format text: JAPANESE INTERMEDIATE CODE: R250

R250 Receipt of annual fees

Free format text: JAPANESE INTERMEDIATE CODE: R250

R250 Receipt of annual fees

Free format text: JAPANESE INTERMEDIATE CODE: R250

R250 Receipt of annual fees

Free format text: JAPANESE INTERMEDIATE CODE: R250

LAPS Cancellation because of no payment of annual fees