JP2010004193A - 半導体集積回路装置及びオフセットキャンセル設定システム - Google Patents

半導体集積回路装置及びオフセットキャンセル設定システム Download PDF

Info

Publication number
JP2010004193A
JP2010004193A JP2008159885A JP2008159885A JP2010004193A JP 2010004193 A JP2010004193 A JP 2010004193A JP 2008159885 A JP2008159885 A JP 2008159885A JP 2008159885 A JP2008159885 A JP 2008159885A JP 2010004193 A JP2010004193 A JP 2010004193A
Authority
JP
Japan
Prior art keywords
voltage
circuit
semiconductor integrated
resistor
amplifier circuit
Prior art date
Legal status (The legal status is an assumption and is not a legal conclusion. Google has not performed a legal analysis and makes no representation as to the accuracy of the status listed.)
Granted
Application number
JP2008159885A
Other languages
English (en)
Other versions
JP5251285B2 (ja
Inventor
Yutaka Ogawa
裕 小川
Mitsufusa Narita
光房 成田
Current Assignee (The listed assignees may be inaccurate. Google has not performed a legal analysis and makes no representation or warranty as to the accuracy of the list.)
Mitsumi Electric Co Ltd
Original Assignee
Mitsumi Electric Co Ltd
Priority date (The priority date is an assumption and is not a legal conclusion. Google has not performed a legal analysis and makes no representation as to the accuracy of the date listed.)
Filing date
Publication date
Application filed by Mitsumi Electric Co Ltd filed Critical Mitsumi Electric Co Ltd
Priority to JP2008159885A priority Critical patent/JP5251285B2/ja
Publication of JP2010004193A publication Critical patent/JP2010004193A/ja
Application granted granted Critical
Publication of JP5251285B2 publication Critical patent/JP5251285B2/ja
Active legal-status Critical Current
Anticipated expiration legal-status Critical

Links

Images

Landscapes

  • Amplifiers (AREA)

Abstract

【課題】本発明は、縦続接続された増幅回路の段間のカップリングコンデンサをなくしオフセットキャンセルを行う半導体集積回路装置及びオフセットキャンセル設定システムを提供することを目的とする。
【解決手段】縦続接続される複数の増幅回路を搭載した半導体集積回路装置において、発生したキャンセル電圧と最終段直前の増幅回路の出力信号を加算して最終段の増幅回路に供給するオフセットキャンセル回路を有する。
【選択図】 図1

Description

本発明は半導体集積回路装置及びオフセットキャンセル設定システムに係り、縦続接続される複数の増幅回路を搭載した半導体集積回路装置及びオフセットキャンセル設定システムに関する。
従来から、微小電圧信号を増幅するため縦続接続した複数段の増幅回路を有する半導体集積回路装置がある。
図5は、従来の半導体集積回路装置の一例の回路構成図を示す。同図中、端子1から入力される微小電圧信号は増幅回路2に供給されて増幅される。増幅回路2の出力信号はカップリングコンデンサCf1を介して増幅回路3に供給されて増幅される。
増幅回路3の出力信号はカップリングコンデンサCf2を介して増幅回路4に供給されて増幅される。増幅回路4の出力信号はカップリングコンデンサCf3を介して端子5から出力される。
定電圧回路6は基準電圧Vrefを増幅回路2,3,4それぞれの演算増幅器の反転入力端子に供給する。また、定電圧回路6は基準電圧Vrefを抵抗Rf1,Rf2,Rf3を介して増幅回路3,4それぞれの演算増幅器の非反転入力端子及び端子5に供給してこれらの動作点を基準電圧Vrefに固定している。
なお、フィルタを必要としないオフセット除去回路が知られている(例えば特許文献1参照)。この他にも様々な種類の多種のオフセット調整回路が知られている(例えば特許文献2,3参照)。
特開平5−235659号公報 特開平9−138141号公報 特開平11−194160号公報
従来は、増幅回路2,3,4それぞれの出力をカップリングコンデンサCf1,Cf2,Cf3により次段に接続すると共に、抵抗Rf1,Rf2,Rf3を介して基準電圧Vrefを供給し動作点を固定している。
カップリングコンデンサCf1と抵抗Rf1、カップリングコンデンサCf2と抵抗Rf2、カップリングコンデンサCf3と抵抗Rf3それぞれは高域フィルタを構成している。端子1に入力される微小電圧信号の帯域が例えば100Hz以上である場合には、上記高域フィルタのカットオフ周波数を100Hz未満としなければならず、時定数Cf1・Rf1,Cf2・Rf2,Cf3・Rf3それぞれは、かなり大きい値となる。
例えばCf1=3300pF,Rf=500kΩとなり、これらのカップリングコンデンサと抵抗を形成するための半導体チップ上の面積が大きくなり、面積の増大に伴いコストが高くなるという問題があった。また、これらのカップリングコンデンサと抵抗を半導体集積回路に外付けすると、部品点数が増大するという問題があった。
本発明は、上記の点に鑑みてなされたもので、縦続接続された増幅回路の段間のカップリングコンデンサをなくしオフセットキャンセルを行う半導体集積回路装置及びオフセットキャンセル設定システムを提供することを目的とする。
本発明の一実施態様による半導体集積回路装置は、縦続接続される複数の増幅回路(11,12,13)を搭載した半導体集積回路装置において、
発生したキャンセル電圧と最終段直前の増幅回路(12)の出力信号を加算して最終段の増幅回路に供給するオフセットキャンセル回路(14)を有する。
好ましくは、前記オフセットキャンセル回路(14)は、前記キャンセル電圧を発生する可変定電圧回路(16)と、
前記最終段直前の増幅回路(12)の出力信号を最終段の増幅回路(13)に供給する第1の抵抗(R7)と、
前記第1の抵抗(R7)と一端を接続されており、前記可変定電圧回路(16)の出力する前記キャンセル電圧を最終段の増幅回路(13)に供給する第2の抵抗(R8)とを有し、
前記第1の抵抗(R7)は、前記最終段直前の増幅回路(13)の利得を設定する分圧抵抗(R5)と同一抵抗値であり、
前記第2の抵抗(R8)は、前記最終段直前の増幅回路(13)の利得を設定する帰還抵抗(R6)と同一抵抗値である。
好ましくは、前記第1の抵抗(R7)と前記最終段直前の増幅回路の利得を設定する分圧抵抗(R5)は、互いに連動した可変抵抗である。
好ましくは、前記縦続接続される複数の増幅回路の初段の増幅回路に信号を供給する入力端子(20)と基準電圧を供給する定電圧回路(15)との間を接続又は遮断するスイッチ(30)を有し、
前記スイッチ(30)を接続させて前記可変定電圧回路(16)の出力する前記キャンセル電圧の調整を行う。
本発明の一実施態様によるオフセットキャンセル設定システムは、請求項4記載の半導体集積回路装置のキャンセル電圧を調整するオフセットキャンセル設定システムにおいて、
前記スイッチ(30)を接続させる手段(S1)と、
前記最終段の増幅回路の出力電圧を計測する手段(S4)と、
計測した前記最終段の増幅回路の出力電圧と前記基準電圧との差電圧が閾値を超えると前記キャンセル電圧を可変する手段(S8)と、
前記差電圧が前記閾値以下となると前記スイッチ(30)を遮断させる手段(S9)とを有する。
なお、上記括弧内の参照符号は、理解を容易にするために付したものであり、一例にすぎず、図示の態様に限定されるものではない。
本発明によれば、縦続接続された増幅回路の段間のカップリングコンデンサをなくしオフセットキャンセルを行うことができる。
<第1実施形態>
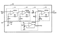
図1は、本発明の半導体集積回路装置の第1実施形態の回路構成図を示す。同図中、半導体集積回路装置10は、縦続接続された非反転増幅回路11,12,13と、オフセットキャンセル回路14を有している。
増幅回路11,12,13それぞれは非反転入力端子に信号を入力され、反転入力端子に利得を設定する2つの抵抗R1〜R6が接続された演算増幅器OPA1,OPA2,OPA3から構成されている。抵抗R1,R3,R5それぞれの一端には定電圧回路15の正極から基準電圧Vrefが供給されている。定電圧回路15の負極は接地されている。
ここで、増幅回路13において、抵抗R6は演算増幅器OPA3の出力を演算増幅器OPA3の反転入力端子に帰還する帰還抵抗であり、抵抗R5は演算増幅器OPA3の出力を抵抗R6と共に分圧する分圧抵抗である。そして、増幅回路13の利得はR6/R5で表される。増幅回路11,12の抵抗R1,R2,R3,R4についても同様である。
なお、増幅回路11の利得は例えば数10倍程度であり、増幅回路12の利得は例えば数倍程度である。増幅回路13の2つの抵抗のうちの一方である抵抗R5は可変抵抗とされており、増幅回路13の利得を可変することができ、増幅回路13の利得は例えば数倍から数10倍まで可変される。
オフセットキャンセル回路14は、キャンセル電圧Vclを発生する可変定電圧回路16と、キャンセル電圧Vclを非反転入力端子に供給され、出力端子を反転入力端子に接続されたバッファアンプ構成の演算増幅器OPA4と、抵抗R7,R8から構成されている。
抵抗R7は一端を増幅回路12の出力端子に接続され、他端を増幅回路13の入力端子及び抵抗R8の他端に接続されている。抵抗R8は一端を演算増幅器OPA4の出力端子に接続され、他端を増幅回路13の入力端子に接続されている。
オフセットキャンセル回路14の2つの抵抗のうちの一方である抵抗R7は可変抵抗とされている。抵抗R5,R7は互いに連動し同一抵抗値とされている。また、抵抗R6,R8は同一抵抗値とされている。
半導体集積回路装置10の外部端子20から入力される信号電圧Vin1は、増幅回路11,12で増幅されたのち、オフセットキャンセル回路14が出力するキャンセル電圧Vclを加算され、初段の増幅回路11と第2段の増幅回路12で発生したオフセット電圧をキャンセルされたのち、最終段の増幅回路13で増幅されて外部端子21から出力される。なお、外部端子22は定電圧回路15の正極に接続されている。
ここで、増幅回路12の出力電圧Vout2は増幅回路11,12で発生したオフセット電圧Vof2を含んでいる場合、増幅回路13の出力電圧Vout3に含まれるオフセット電圧Vof3は(1)式で表される。
Vof3=(R6/R5)・Vof2 …(1)
また、増幅回路13の入力電圧をVin3、抵抗R7,R8を流れる電流をI1,I2とすると、I1=I2であるから、(2)式が得られる。
(Vout2−Vin3)/R7=(Vin3−Vcl)/R8
Vout2=R7/R8・Vin3−R7/R8・Vcl+Vin3
={(R7+R8)/R8}・Vin3−{R7/R8}・Vcl …(2)
また、増幅回路12の出力電圧Vout2に含まれるオフセット電圧Vof2は(3)式で表される。
Vout2=Vof2+Vref …(3)
ここで、オフセット電圧Vof2をキャンセルするには(2)式において、Vin3=Vrefとすれば良く、この条件で(2),(3)式から(4)式が得られる。
Vof2=(R7/R8)・(Vref−Vcl) …(4)
また、(4)式を(1)式に代入して(5)式が得られる。
Vof3=(R6/R5)・(R7/R8)・(Vref−Vcl) …(5)
ここで、R5=R7,R6=R8であるため、(6)式が得られる。
Vof3=Vref−Vcl …(6)
すなわち、オフセットキャンセル回路14で用いた抵抗比R7/R8を増幅回路13の利得を決定する抵抗比R6/R5の逆数とすることにより、キャンセル電圧Vclのみをパラメータとして調整すれば、増幅回路13の利得の変化に拘わらず、増幅回路13の出力電圧のオフセット電圧Vof3をキャンセルすることができる。
図2に、抵抗R5,R7を互いに連動した可変抵抗として抵抗値を可変し、増幅回路13の利得=2,30それぞれの場合のキャンセル電圧Vclとオフセット電圧Vof3の関係を実線,一点鎖線それぞれで示す。この図から利得が変化してもキャンセル電圧Vclとオフセット電圧Vof3の関係が変わらないことが分かる。
また、図2に示すようなキャンセル電圧Vcl/オフセット電圧Vof3特性を得ておけば、オフセット電圧Vof3を計測して計測値がVaの場合、キャンセル電圧Vcl/オフセット電圧Vof3特性からオフセット電圧Vof3=Vaに対応するキャンセル電圧Vcl=Vbを求め、可変定電圧回路16の発生するキャンセル電圧VclをVbとする調整を行う。これにより、オフセット電圧Vof3を0にすることができる。
なお、上記実施形態では、抵抗R5,R7を可変抵抗としているが、抵抗R5,R7を固定抵抗とし、抵抗R6,R8を可変抵抗(互いに連動し同一抵抗値)として良く、上記実施形態に限定されるものではない。
また、上記実施形態では、3段の増幅回路11,12,13が縦続接続されているが、2段又は4段以上の増幅回路が縦続接続されても良く、この場合、オフセットキャンセル回路は最終段の増幅回路とその前段の増幅回路との間に設けられる。
<第2実施形態>
ところで、半導体集積回路装置10の外部端子20,22には、抵抗(数100kΩ)及びカップリングコンデンサが接続され、カップリングコンデンサを介して信号源に接続される。信号源から外部端子20,22までの配線や抵抗及びカップリングコンデンサのアンテナ効果で拾った外来ノイズが外部端子20に入来する。
この外来ノイズは増幅回路11,12,13で増幅されるために、外部端子21の電圧は外来ノイズによる変動が顕著になり、信号源の出力を停止させた状態で外部端子21のオフセット電圧Vof3の計測が困難になる。これを解決するのが以下に説明する実施形態である。
図3は、本発明の半導体集積回路装置の第2実施形態の回路構成図を示す。同図中、図1と同一部分には同一符号を付す。図3において、半導体集積回路装置10は、縦続接続された増幅回路11,12,13と、オフセットキャンセル回路14を有している。
増幅回路11,12,13それぞれは非反転入力端子に信号を入力され、反転入力端子に利得を設定する2つの抵抗R1〜R6が接続された演算増幅器OPA1,OPA2,OPA3から構成されている。抵抗R1,R3,R5それぞれの一端には定電圧回路15の正極から基準電圧Vrefが供給されている。定電圧回路15の負極は接地されている。
ここで、増幅回路13において、抵抗R6は演算増幅器OPA3の出力を演算増幅器OPA3の反転入力端子に帰還する帰還抵抗であり、抵抗R5は演算増幅器OPA3の出力を抵抗R6と共に分圧する分圧抵抗である。そして、増幅回路13の利得はR6/R5で表される。増幅回路11,12の抵抗R1,R2,R3,R4についても同様である。
なお、増幅回路11の利得は例えば数10倍程度であり、増幅回路12の利得は例えば数倍程度である。増幅回路13の2つの抵抗のうちの一方である抵抗R5は可変抵抗とされており、増幅回路13の利得を可変することができ、増幅回路13の利得は例えば数倍から数10倍まで可変される。
オフセットキャンセル回路14は、キャンセル電圧Vclを発生する可変定電圧回路16と、キャンセル電圧Vclを非反転入力端子に供給され、出力端子を反転入力端子に接続されたバッファアンプ構成の演算増幅器OPA4と、抵抗R7,R8から構成されている。
抵抗R7は一端を増幅回路12の出力端子に接続され、他端を増幅回路13の入力端子に接続されている。抵抗R8は一端を演算増幅器OPA4の出力端子に接続され、他端を増幅回路13の入力端子に接続されている。
オフセットキャンセル回路14の2つの抵抗のうちの一方である抵抗R7は可変抵抗とされている。抵抗R5,R7は互いに連動し同一抵抗値とされている。また、抵抗R6,R8は同一抵抗値とされている。
半導体集積回路装置10の外部端子22は定電圧回路15の正極に接続されている。半導体集積回路装置10の内部において、外部端子20,22間には開閉スイッチ30が設けられており、また、外部端子21と定電圧回路15の正極との間には選択スイッチ31が設けられている。
開閉スイッチ30は制御ロジック部40からの制御信号に応じて閉成(オン)/開成(オフ)し、制御信号が供給されないときは常時オフする。選択スイッチ31は制御ロジック部40からの制御信号に応じ、制御ロジック部40のAD変換入力端子41に定電圧回路15の正極又は外部端子21を接続する。
半導体集積回路装置10の外部において、外部端子20にカップリングコンデンサC0の一端が接続され、カップリングコンデンサC0の他端に信号源23が接続されている。また、外部端子22は抵抗R0(数100kΩ)を介してカップリングコンデンサC0の一端に接続されている。
本実施形態では、オフセットキャンセル設定を行う際に開閉スイッチ30を閉成させて外部端子20,22間を接続(短絡)する。これにより、入力インピーダンスが低下しノイズ成分を除去することができ、外部端子20が基準電圧Vrefに固定され、外来ノイズによって外部端子20の電圧が変動しなくなる。
オフセットキャンセル設定を終了した後は、開閉スイッチ30を開成させて外部端子20,22間を遮断(開放)する。これにより、半導体集積回路装置10の外部端子20から入力される信号電圧Vin1は、増幅回路11,12で増幅されたのち、オフセットキャンセル回路14が出力するキャンセル電圧Vclを加算され、増幅回路11,12で発生したオフセット電圧をキャンセルされたのち、増幅回路13で増幅されて外部端子21から出力される。
図4は、制御ロジック部40が実行するオフセットキャンセル設定処理の一実施形態のフローチャートを示す。同図中、ステップS1で制御ロジック部40は端子44から開閉スイッチ30に制御信号を供給してオンさせ、端子42から選択スイッチ31に制御信号を供給して選択スイッチ31に定電圧回路15の正極を選択接続させる。その後、ステップS2でAD変換入力端子41に供給される基準電圧Vrefを測定する。
次に、ステップS3で制御ロジック部40は端子43から抵抗R5,R7に制御信号を供給して増幅回路13の利得を任意の値に設定する。ステップS4では制御ロジック部40は端子42から選択スイッチ31に制御信号を供給して選択スイッチ31に外部端子21を選択接続させ、キャンセル電圧Vcl=Vrefとする制御信号を生成して端子45から可変定電圧回路16に供給する。
ステップS5では端子41に入力される外部端子21の出力電圧Vout3をAD変換して測定する。次に、ステップS6でオフセット量=出力電圧Vout3−基準電圧Vrefを算出する。
ステップS7では算出したオフセット量が予め決められている閾値以下であるか否かを判別する。オフセット量>閾値の場合にはステップS8で、オフセット量を小さくする方向にキャンセル電圧Vclを変更し、変更したキャンセル電圧Vclとする制御信号を生成して端子45から可変定電圧回路16に供給してステップS5に進む。
一方、オフセット量≦閾値の場合にはステップS9でキャンセル電圧Vclを確定させてオフセットキャンセル設定を完了し、端子44から開閉スイッチ30に制御信号を供給してオフさせて、この処理を終了する。
このようにして、外来ノイズの影響を受けないで、オフセット電圧Vof3をキャンセルするためのキャンセル電圧Vclを自動的に設定することができる。
本発明の半導体集積回路装置の第1実施形態の回路構成図である。 キャンセル電圧/オフセット電圧特性図である。 本発明の半導体集積回路装置の第2実施形態の回路構成図である。 オフセットキャンセル設定処理の一実施形態のフローチャートである。 従来の半導体集積回路装置の一例の回路構成図である。
符号の説明
10 半導体集積回路装置
11,12,13 増幅回路
14 オフセットキャンセル回路
15 定電圧回路
16 可変定電圧回路
20〜22 外部端子
30 開閉スイッチ
31 選択スイッチ
40 制御ロジック部
C0 カップリングコンデンサ
OPA1〜OPA4 演算増幅器
R0〜R8 抵抗

Claims (5)

  1. 縦続接続される複数の増幅回路を搭載した半導体集積回路装置において、
    発生したキャンセル電圧と最終段直前の増幅回路の出力信号を加算して最終段の増幅回路に供給するオフセットキャンセル回路を
    有することを特徴とする半導体集積回路装置。
  2. 請求項1記載の半導体集積回路装置において、
    前記オフセットキャンセル回路は、前記キャンセル電圧を発生する可変定電圧回路と、
    前記最終段直前の増幅回路の出力信号を最終段の増幅回路に供給する第1の抵抗と、
    前記第1の抵抗と一端を接続されており、前記可変定電圧回路の出力する前記キャンセル電圧を最終段の増幅回路に供給する第2の抵抗とを有し、
    前記第1の抵抗は、前記最終段直前の増幅回路の利得を設定する分圧抵抗と同一抵抗値であり、
    前記第2の抵抗は、前記最終段直前の増幅回路の利得を設定する帰還抵抗と同一抵抗値であることを特徴とする半導体集積回路装置。
  3. 請求項2記載の半導体集積回路装置において、
    前記第1の抵抗と前記最終段直前の増幅回路の利得を設定する分圧抵抗は、互いに連動した可変抵抗であることを特徴とする半導体集積回路装置。
  4. 請求項3記載の半導体集積回路装置において、
    前記縦続接続される複数の増幅回路の初段の増幅回路に信号を供給する入力端子と基準電圧を供給する定電圧回路との間を接続又は遮断するスイッチを有し、
    前記スイッチを接続させて前記可変定電圧回路の出力する前記キャンセル電圧の調整を行うことを特徴とする半導体集積回路装置。
  5. 請求項4記載の半導体集積回路装置のキャンセル電圧を調整するオフセットキャンセル設定システムにおいて、
    前記スイッチを接続させる手段と、
    前記最終段の増幅回路の出力電圧を計測する手段と、
    計測した前記最終段の増幅回路の出力電圧と前記基準電圧との差電圧が閾値を超えると前記キャンセル電圧を可変する手段と、
    前記差電圧が前記閾値以下となると前記スイッチを遮断させる手段と
    を有することを特徴とするオフセットキャンセル設定システム。
JP2008159885A 2008-06-19 2008-06-19 半導体集積回路装置及びオフセットキャンセル設定システム Active JP5251285B2 (ja)

Priority Applications (1)

Application Number Priority Date Filing Date Title
JP2008159885A JP5251285B2 (ja) 2008-06-19 2008-06-19 半導体集積回路装置及びオフセットキャンセル設定システム

Applications Claiming Priority (1)

Application Number Priority Date Filing Date Title
JP2008159885A JP5251285B2 (ja) 2008-06-19 2008-06-19 半導体集積回路装置及びオフセットキャンセル設定システム

Publications (2)

Publication Number Publication Date
JP2010004193A true JP2010004193A (ja) 2010-01-07
JP5251285B2 JP5251285B2 (ja) 2013-07-31

Family

ID=41585551

Family Applications (1)

Application Number Title Priority Date Filing Date
JP2008159885A Active JP5251285B2 (ja) 2008-06-19 2008-06-19 半導体集積回路装置及びオフセットキャンセル設定システム

Country Status (1)

Country Link
JP (1) JP5251285B2 (ja)

Cited By (1)

* Cited by examiner, † Cited by third party
Publication number Priority date Publication date Assignee Title
JP2011193178A (ja) * 2010-03-15 2011-09-29 Casio Computer Co Ltd 電波受信装置及び電波時計

Citations (13)

* Cited by examiner, † Cited by third party
Publication number Priority date Publication date Assignee Title
JPS5651727A (en) * 1979-10-03 1981-05-09 Fuji Photo Film Co Ltd Exposure control method
JPS5651728A (en) * 1979-10-03 1981-05-09 Fuji Photo Film Co Ltd Exposure control method
JPS63279607A (ja) * 1987-05-11 1988-11-16 Iwatsu Electric Co Ltd レベル・シフト回路
JPH03108906A (ja) * 1989-09-22 1991-05-09 Fujitsu Ten Ltd 増幅回路
JPH06174513A (ja) * 1992-12-09 1994-06-24 Fuji Electric Co Ltd 電磁流量計の空検知回路
JPH0818353A (ja) * 1994-07-05 1996-01-19 Fuji Electric Co Ltd 演算増幅回路
JPH08180977A (ja) * 1994-12-22 1996-07-12 Matsushita Electric Works Ltd 照明装置
JP2002374131A (ja) * 2001-06-14 2002-12-26 Seiko Instruments Inc 演算増幅器オフセット電圧自動校正回路
JP2003075735A (ja) * 2001-09-05 2003-03-12 Sony Corp 薄膜光学装置
JP2004096324A (ja) * 2002-08-30 2004-03-25 Nippon Precision Circuits Inc 増幅回路
JP2007019850A (ja) * 2005-07-07 2007-01-25 Sony Corp Dcオフセットキャンセル回路およびこれを用いた表示装置
JP2007243994A (ja) * 2007-06-11 2007-09-20 Toshiba Corp オフセット補償回路
JP2007318394A (ja) * 2006-05-25 2007-12-06 Toyota Industries Corp オフセット電圧調整回路

Patent Citations (13)

* Cited by examiner, † Cited by third party
Publication number Priority date Publication date Assignee Title
JPS5651727A (en) * 1979-10-03 1981-05-09 Fuji Photo Film Co Ltd Exposure control method
JPS5651728A (en) * 1979-10-03 1981-05-09 Fuji Photo Film Co Ltd Exposure control method
JPS63279607A (ja) * 1987-05-11 1988-11-16 Iwatsu Electric Co Ltd レベル・シフト回路
JPH03108906A (ja) * 1989-09-22 1991-05-09 Fujitsu Ten Ltd 増幅回路
JPH06174513A (ja) * 1992-12-09 1994-06-24 Fuji Electric Co Ltd 電磁流量計の空検知回路
JPH0818353A (ja) * 1994-07-05 1996-01-19 Fuji Electric Co Ltd 演算増幅回路
JPH08180977A (ja) * 1994-12-22 1996-07-12 Matsushita Electric Works Ltd 照明装置
JP2002374131A (ja) * 2001-06-14 2002-12-26 Seiko Instruments Inc 演算増幅器オフセット電圧自動校正回路
JP2003075735A (ja) * 2001-09-05 2003-03-12 Sony Corp 薄膜光学装置
JP2004096324A (ja) * 2002-08-30 2004-03-25 Nippon Precision Circuits Inc 増幅回路
JP2007019850A (ja) * 2005-07-07 2007-01-25 Sony Corp Dcオフセットキャンセル回路およびこれを用いた表示装置
JP2007318394A (ja) * 2006-05-25 2007-12-06 Toyota Industries Corp オフセット電圧調整回路
JP2007243994A (ja) * 2007-06-11 2007-09-20 Toshiba Corp オフセット補償回路

Cited By (1)

* Cited by examiner, † Cited by third party
Publication number Priority date Publication date Assignee Title
JP2011193178A (ja) * 2010-03-15 2011-09-29 Casio Computer Co Ltd 電波受信装置及び電波時計

Also Published As

Publication number Publication date
JP5251285B2 (ja) 2013-07-31

Similar Documents

Publication Publication Date Title
US20110043279A1 (en) Electronic volume circuit
CN110622413B (zh) 放大电路、芯片和电子设备
US10436828B2 (en) Load detector
JP5722270B2 (ja) 増幅装置及び信号の増幅方法
US20090079502A1 (en) Differential circuit providing a function to cancel input offset voltage
JP6173180B2 (ja) マイクロホン及びマイクロホン装置
KR20110083991A (ko) 차동 증폭기 회로
JP7019882B2 (ja) ドハティ増幅器及び通信装置
JP5251285B2 (ja) 半導体集積回路装置及びオフセットキャンセル設定システム
US20190182589A1 (en) Excursion control based on an audio signal bandwidth estimate obtained from back-emf analysis
JP5152512B2 (ja) プローブ
US11835977B2 (en) Constant voltage circuit for improvement of load transient response with stable operation in high frequency, and electronic device therewith
TW202303165A (zh) 電流感測電路
CN109275071B (zh) 音频处理装置、芯片、系统和方法
JP4087228B2 (ja) スイッチトキャパシタ増幅回路および電子機器
CN222283490U (zh) 一种扬声器阻抗测量电路及扬声器阻抗测量系统
US7123080B2 (en) Differential amplification input circuit
JP2019092103A (ja) 計装アンプ
EP4290882A1 (en) A capacitive linearization method applied to mems microphones systems
CN115729295B (zh) 电压控制电流源
JP2006155100A (ja) 電源回路
US9225301B2 (en) Amplifier apparatus with controlled negative output impedance
JP7104208B2 (ja) 半導体装置、電池監視システム、及び基準電圧生成方法
CN108886343B (zh) 负反馈放大电路
KR102818493B1 (ko) 저잡음 전하 증폭 장치 및 비교기

Legal Events

Date Code Title Description
A621 Written request for application examination

Free format text: JAPANESE INTERMEDIATE CODE: A621

Effective date: 20110413

A977 Report on retrieval

Free format text: JAPANESE INTERMEDIATE CODE: A971007

Effective date: 20120223

A131 Notification of reasons for refusal

Free format text: JAPANESE INTERMEDIATE CODE: A131

Effective date: 20120710

A521 Request for written amendment filed

Free format text: JAPANESE INTERMEDIATE CODE: A523

Effective date: 20120903

A131 Notification of reasons for refusal

Free format text: JAPANESE INTERMEDIATE CODE: A131

Effective date: 20120925

A521 Request for written amendment filed

Free format text: JAPANESE INTERMEDIATE CODE: A523

Effective date: 20121122

A02 Decision of refusal

Free format text: JAPANESE INTERMEDIATE CODE: A02

Effective date: 20121211

A521 Request for written amendment filed

Free format text: JAPANESE INTERMEDIATE CODE: A523

Effective date: 20130218

A911 Transfer to examiner for re-examination before appeal (zenchi)

Free format text: JAPANESE INTERMEDIATE CODE: A911

Effective date: 20130226

TRDD Decision of grant or rejection written
A01 Written decision to grant a patent or to grant a registration (utility model)

Free format text: JAPANESE INTERMEDIATE CODE: A01

Effective date: 20130319

A61 First payment of annual fees (during grant procedure)

Free format text: JAPANESE INTERMEDIATE CODE: A61

Effective date: 20130401

R150 Certificate of patent or registration of utility model

Ref document number: 5251285

Country of ref document: JP

Free format text: JAPANESE INTERMEDIATE CODE: R150

Free format text: JAPANESE INTERMEDIATE CODE: R150

FPAY Renewal fee payment (event date is renewal date of database)

Free format text: PAYMENT UNTIL: 20160426

Year of fee payment: 3