JP2010004007A - 強誘電性酸化物とその製造方法、圧電体、圧電素子 - Google Patents
強誘電性酸化物とその製造方法、圧電体、圧電素子 Download PDFInfo
- Publication number
- JP2010004007A JP2010004007A JP2008267049A JP2008267049A JP2010004007A JP 2010004007 A JP2010004007 A JP 2010004007A JP 2008267049 A JP2008267049 A JP 2008267049A JP 2008267049 A JP2008267049 A JP 2008267049A JP 2010004007 A JP2010004007 A JP 2010004007A
- Authority
- JP
- Japan
- Prior art keywords
- composition
- ferroelectric oxide
- crystal structure
- ferroelectric
- formula
- Prior art date
- Legal status (The legal status is an assumption and is not a legal conclusion. Google has not performed a legal analysis and makes no representation as to the accuracy of the status listed.)
- Granted
Links
Images
Classifications
-
- H—ELECTRICITY
- H10—SEMICONDUCTOR DEVICES; ELECTRIC SOLID-STATE DEVICES NOT OTHERWISE PROVIDED FOR
- H10N—ELECTRIC SOLID-STATE DEVICES NOT OTHERWISE PROVIDED FOR
- H10N30/00—Piezoelectric or electrostrictive devices
- H10N30/704—Piezoelectric or electrostrictive devices based on piezoelectric or electrostrictive films or coatings
-
- H—ELECTRICITY
- H10—SEMICONDUCTOR DEVICES; ELECTRIC SOLID-STATE DEVICES NOT OTHERWISE PROVIDED FOR
- H10N—ELECTRIC SOLID-STATE DEVICES NOT OTHERWISE PROVIDED FOR
- H10N30/00—Piezoelectric or electrostrictive devices
- H10N30/80—Constructional details
- H10N30/85—Piezoelectric or electrostrictive active materials
- H10N30/853—Ceramic compositions
- H10N30/8561—Bismuth-based oxides
-
- H—ELECTRICITY
- H10—SEMICONDUCTOR DEVICES; ELECTRIC SOLID-STATE DEVICES NOT OTHERWISE PROVIDED FOR
- H10N—ELECTRIC SOLID-STATE DEVICES NOT OTHERWISE PROVIDED FOR
- H10N30/00—Piezoelectric or electrostrictive devices
- H10N30/01—Manufacture or treatment
- H10N30/07—Forming of piezoelectric or electrostrictive parts or bodies on an electrical element or another base
- H10N30/074—Forming of piezoelectric or electrostrictive parts or bodies on an electrical element or another base by depositing piezoelectric or electrostrictive layers, e.g. aerosol or screen printing
- H10N30/076—Forming of piezoelectric or electrostrictive parts or bodies on an electrical element or another base by depositing piezoelectric or electrostrictive layers, e.g. aerosol or screen printing by vapour phase deposition
-
- H—ELECTRICITY
- H10—SEMICONDUCTOR DEVICES; ELECTRIC SOLID-STATE DEVICES NOT OTHERWISE PROVIDED FOR
- H10N—ELECTRIC SOLID-STATE DEVICES NOT OTHERWISE PROVIDED FOR
- H10N30/00—Piezoelectric or electrostrictive devices
- H10N30/20—Piezoelectric or electrostrictive devices with electrical input and mechanical output, e.g. functioning as actuators or vibrators
- H10N30/204—Piezoelectric or electrostrictive devices with electrical input and mechanical output, e.g. functioning as actuators or vibrators using bending displacement, e.g. unimorph, bimorph or multimorph cantilever or membrane benders
- H10N30/2047—Membrane type
Landscapes
- Engineering & Computer Science (AREA)
- Chemical & Material Sciences (AREA)
- Ceramic Engineering (AREA)
- Manufacturing & Machinery (AREA)
- Particle Formation And Scattering Control In Inkjet Printers (AREA)
- Formation Of Insulating Films (AREA)
- Semiconductor Memories (AREA)
- General Electrical Machinery Utilizing Piezoelectricity, Electrostriction Or Magnetostriction (AREA)
- Compositions Of Oxide Ceramics (AREA)
Abstract
【解決手段】ACO3で表される強誘電性酸化物の最も安定な結晶構造Xと、BDO3で表される強誘電性酸化物の最も安定な結晶構造Yとが互いに異なる対称性及び分極方向を有し、式(1)を充足する条件で、式(a)で表される強誘電性酸化物の組成を決定し、その組成の強誘電性酸化物を製造する。
(Ax,B1-x)(Cy,D1-y)O3・・・(a)
(式(a)中、0≦x≦1、0≦y≦1。A,B:Aサイト元素、C,D:Bサイト元素、O:酸素原子、A〜Dは各々1種又は複数種の金属元素。)、
|E(X)−E(Y)|≦E・PV・・・(1)
(式(1)中、E(X)及びE(Y)はそれぞれ、上記一般式(a)で表される強誘電性酸化物の結晶構造X及びYの時のエネルギー、Pは電場をかける前の自発分極密度ベクトル、Eは駆動電場ベクトル、Vは基本格子の体積である。E・PはEとPの内積である。)
【選択図】なし
Description
本発明はまた、上記材料設計思想に基づいてペロブスカイト型酸化物を製造するペロブスカイト型酸化物の製造方法、及び上記材料設計思想に基づいて設計されたペロブスカイト型酸化物を提供することを目的とするものである。
(Ax,B1-x)(Cy,D1-y)O3・・・(a)
(式(a)中、0≦x≦1、0≦y≦1。A,B:Aサイト元素、C,D:Bサイト元素、O:酸素原子、A〜Dは各々1種又は複数種の金属元素。A,Bは互いに異なる組成でもよいし、共通の組成でもよい。ただし、AとBが共通の組成の場合、CとDとは互いに異なる組成である。C,Dは互いに異なる組成でもよいし、共通の組成でもよい。ただし、CとDが共通の組成の場合、AとBとは互いに異なる組成である。)
|E(X)−E(Y)|≦E・PV ・・・(1)、
(式(1)中、E(X)及びE(Y)はそれぞれ、上記一般式(a)で表される強誘電性酸化物の結晶構造X及びYの時のエネルギー、Pは電場をかける前の自発分極密度ベクトル、Eは駆動電場ベクトル、Vは基本格子の体積である。E・P はEとPの内積である。)、
|Px/Py|>1.1 ・・・(2)、
|Py/Px|>1.1 ・・・(3)、
c/a≧1.008 ・・・(4)
(式(4)中、cは正方晶である結晶構造X又は結晶構造Yにおけるc軸長、aは正方晶である結晶構造X又は結晶構造Yにおけるa軸長。)
本発明は特に、本発明者が特開2007−116091号にて提案している電界誘起相転移の系において好適な材料設計思想を提供するものである。本発明によれば、相転移が起こりやすく、比較的低い電界強度においても大きな歪変位量が得られるドメイン構造の強誘電性酸化物を提供することができる。
また、上記式(2)又は(3)を充足する強誘電性酸化物においては、相転移の前後での自発分極密度の差が大きいため、より大きな歪み変位量を得ることができる。
上記材料設計思想に基づいて設計された本発明の強誘電性酸化物を用いることにより、圧電性能に優れた圧電素子を提供することができる。
本発明の強誘電性酸化物の製造方法は、下記一般式(a)で表される組成を有する強誘電性酸化物の製造方法において、ACO3で表される強誘電性酸化物の最も安定な結晶構造Xと、BDO3で表される強誘電性酸化物の最も安定な結晶構造Yとが互いに異なる対称性及び分極方向を有し、下記式(1)を充足するように前記強誘電性酸化物の組成を決定し、該組成の強誘電性酸化物を製造することを特徴とするものである。本発明の強誘電性酸化物の製造方法においては、更に、結晶構造Xの時の自発分極密度Pxと、結晶構造Yの時の自発分極密度Pyとが、下記式(2)又は下記式(3)を充足するように組成を決定することが好ましい。また、結晶構造X又はYが正方晶である場合は、正方晶である結晶構造において、下記式(4)を充足するように組成を決定することが好ましい。
(Ax,B1-x)(Cy,D1-y)O3・・・(a)
(式(a)中、0≦x≦1、0≦y≦1。A,B:Aサイト元素、C,D:Bサイト元素、O:酸素原子、A〜Dは各々1種又は複数種の金属元素。A,Bは互いに異なる組成でもよいし、共通の組成でもよい。ただし、AとBが共通の組成の場合、CとDとは互いに異なる組成である。C,Dは互いに異なる組成でもよいし、共通の組成でもよい。ただし、CとDが共通の組成の場合、AとBとは互いに異なる組成である。)、
|E(X)−E(Y)|≦E・PV・・・(1)、
(式(1)中、E(X)及びE(Y)はそれぞれ、上記一般式(a)で表される強誘電性酸化物の結晶構造X及びYの時のエネルギー、Pは電場をかける前の自発分極密度ベクトル、Eは駆動電場ベクトル、Vは基本格子の体積である。E・PはEとPの内積である。)、
|Px/Py|>1.1 ・・・(2)、
|Py/Px|>1.1 ・・・(3)、
(式(2)及び(3)中、Px及びPyは、上記一般式(a)で表される強誘電性酸化物の結晶構造X及び結晶構造Yの時の自発分極密度。)、
c/a≧1.008 ・・・(4)
(式(4)中、cは正方晶である結晶構造X又は結晶構造Yにおけるc軸長、aは正方晶である結晶構造X又は結晶構造Yにおけるa軸長。)
以下に具体的な手法について、Aサイト元素をAとし、Bサイト元素を異ならせた場合(A(C,D)O3)を例に説明する。
以上のようにして本発明の強誘電性酸化物の組成を決定することができる。
|Px/Py|>1.1 ・・・(2)、
|Py/Px|>1.1 ・・・(3)
また、相転移後の結晶系が正方晶である場合は下記式(4)を充足する場合にも、圧電定数d33を200pm/V以上とすることができる。この理由は、d33= 200pm/Vを電場200kV/cmで菱面体から正方晶の電界誘起相転移を利用して得るためには、ほぼ菱面体が立方晶で近似できると考えると、c軸方向への歪みηが約0.008であればよく、これはa軸方向の格子定数長が転移によって殆ど変化がないとすると、c/a≧1.008であればよいからである。
c/a≧1.008 ・・・(4)
(式(4)中、cは正方晶である結晶構造X又は結晶構造Yにおけるc軸長、aは正方晶である結晶構造X又は結晶構造Yにおけるa軸長。)
Emin<E1<Emax・・・(5)、
Emin<E1≦E2<Emax・・・(6)
本発明は特に、本発明者が特開2007−116091号にて提案している電界誘起相転移の系において好適な材料設計思想を提供するものである。本発明によれば、相転移が起こりやすく、比較的低い電界強度においても大きな歪変位量が得られるドメイン構造の強誘電性酸化物を提供することができる。
また、上記式(2)又は(3)を充足する強誘電性酸化物においては、相転移の前後での自発分極密度の差が大きいため、より大きな歪み変位量を得ることができる。
本発明の強誘電体組成物は、上記の本発明の材料設計により設計された本発明の強誘電性酸化物を含むことを特徴とするものである。
本発明の強誘電体組成物は、上記の本発明の強誘電性酸化物以外の強誘電性酸化物、他の添加元素、焼結助剤など、上記の本発明の強誘電性酸化物以外の任意成分を含むことができる。
本発明の圧電素子(強誘電体素子)は、上記の本発明の材料設計に基づいて設計された本発明の強誘電性酸化物を含む圧電体と、該圧電体に対して電界を印加する電極とを備えたことを特徴とするものである。
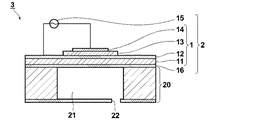
本発明の圧電素子は、本発明の強誘電性酸化物を用いたものであるので、高い圧電性能を示すものとなる。以下、図5に基づいて、この圧電素子の一実施形態、及びこれを備えたインクジェット式記録ヘッド(液体吐出装置)の構造について説明する。
インクジェット式記録ヘッド3では、圧電素子1に印加する電界強度を増減させて圧電素子1を伸縮させ、これによってインク室21からのインクの吐出や吐出量の制御が行われる。
上記実施形態では、本発明の強誘電性酸化物を含む強誘電体素子として、圧電素子を例に説明したが、本発明の強誘電性酸化物は、圧電素子以外の強誘電体素子にも適用可能である。圧電素子以外の強誘電体素子としては、強誘電体メモリ等が挙げられる。
Aサイト元素がBiである強誘電性酸化物について、MPB組成あるいはその近傍の組成を有する組成設計を、密度汎関数法による第1原理計算により実施した。計算には、LDA法に基づいた密度汎関数法において平面波展開を使用する方法を用いた。格子定数及び原子座標の最適化には、PAW法(Projector Augmented-Wave法)及びウルトラソフト擬ポテンシャルを使用した。電子波動関数の平面波展開のカットオフエネルギーは60.0Ryとし、ブリルアンゾーンの6×6×6Monkhorst−Packグリッドで自動的に生成された各k点において波動関数を計算した。格子定数及び原子座標の最適化は、原子間力が0.1mRy/Bohr以下になるまで行った。ここでエネルギー単位Ry(リュードベリ)は、バンド計算において主に使用されるエネルギー単位であり、1Ry=13.6eVに換算される。
表1において、エネルギーの単位はeVであり、結晶構造のエネルギーは最安定となった結晶構造のエネルギーを基準値とした時の相対値で示してある。表1に示されるように、BiGaO3は正方晶(P4mm)、BiAlO3は菱面体晶(R3c)が最安定な結晶構造である。従って、最安定な結晶構造が互いに異なる対称性及び分極方向を有するBiZO3(BiCO3とBiDO3)として、BiGaO3とBiAlO3を選択することができることが確認された。
Bサイト元素としてFe及びCoを選定して、Aサイト元素がBiである強誘電性酸化物について、MPB組成あるいはその近傍の組成を有する組成設計を実施した。ここで、BiCoO3及びBiFeO3は、強誘電体であると同時に、反強磁性体であることから、反強磁性のスピン方向の違い(G型、C型等)で更にエネルギーが異なる結果となる。従って、実施例2では、結晶構造とそれぞれの反強磁性のスピン方向の型の両方を考慮し、その他は実施例1と同様にして、密度汎関数法による第1原理計算により計算を実施した。計算により得られたエネルギーを表6、格子定数を表7、自発分極密度を表8に示す。
本発明の強誘電性酸化物の製造方法における組成決定方法の有効性を確認するために、MPB組成が既知の値であるPZTについて、MPB組成のPZTが、式(1)を満足しているかどうかを確認した。
実施例1及び実施例2では、MPBを形成する酸化物は全く異なるが、図6及び図7では、いずれも線形性のよい検量線が得られている。このことから、本発明の強誘電性酸化物の製造方法における組成決定方法は、材料の種類に限らず適用可能なものであると考えられる。
12、14 電極
13 圧電体(圧電体膜、強誘電体膜)
Claims (16)
- 下記一般式(a)で表される組成を有する強誘電性酸化物の製造方法において、ACO3で表される強誘電性酸化物の最も安定な結晶構造Xと、BDO3で表される強誘電性酸化物の最も安定な結晶構造Yとが互いに異なる対称性及び分極方向を有し、下記式(1)を充足するように前記強誘電性酸化物の組成を決定し、
該組成の強誘電性酸化物を製造することを特徴とする強誘電性酸化物の製造方法。
(Ax,B1-x)(Cy,D1-y)O3・・・(a)
(式(a)中、0≦x≦1、0≦y≦1。
A,B:Aサイト元素、C,D:Bサイト元素、O:酸素原子、A〜Dは各々1種又は複数種の金属元素。
A,Bは互いに異なる組成でもよいし、共通の組成でもよい。ただし、AとBが共通の組成の場合、CとDとは互いに異なる組成である。
C,Dは互いに異なる組成でもよいし、共通の組成でもよい。ただし、CとDが共通の組成の場合、AとBとは互いに異なる組成である。)、
|E(X)−E(Y)|≦E・PV・・・(1)
(式(1)中、E(X)及びE(Y)はそれぞれ、上記一般式(a)で表される強誘電性酸化物の結晶構造X及びYの時のエネルギー、Pは電場をかける前の自発分極密度ベクトル、Eは駆動電場ベクトル、Vは基本格子の体積である。E・PはEとPの内積である。) - 更に、下記式(2)又は(3)を充足するように組成を決定することを特徴とする請求項1に記載の強誘電性酸化物の製造方法。
|Px/Py|>1.1 ・・・(2)、
|Py/Px|>1.1 ・・・(3)
(式(2)及び(3)中、Px及びPyは、前記一般式(a)で表される強誘電性酸化物の結晶構造X及び結晶構造Yの時の自発分極密度。) - 更に、下記式(4)を充足するように組成を決定することを特徴とする請求項1に記載の強誘電性酸化物の製造方法。
c/a≧1.008 ・・・(4)
(式(4)中、cは正方晶である結晶構造X又は結晶構造Yにおけるc軸長、aは正方晶である結晶構造X又は結晶構造Yにおけるa軸長。) - 前記式(1)において、10<E(kV/cm)<500であることを特徴とする請求項1〜3のいずれかに記載の強誘電性酸化物の製造方法。
- 前記一般式(a)において、Aサイト及びBサイトのいずれかのサイトが複数種の金属元素からなる強誘電性酸化物であり、該複数種の金属元素からなるAサイト又はBサイトの組成に対して、該組成を有する前記式(a)で表される強誘電性酸化物の結晶構造Xの時のエネルギーと結晶構造Yの時のエネルギーとの差であるE(X)−E(Y)をプロットして前記組成と前記差との関係を示す検量線を作成し、該検量線を用いて前記組成を前記式(1)を充足するように決定することを特徴とする請求項1〜4のいずれかに記載の強誘電性酸化物の製造方法。
- 下記一般式(a)で表される組成を有し、ACO3で表される強誘電性酸化物の最も安定な結晶構造Xと、BDO3で表される強誘電性酸化物の最も安定な結晶構造Yとが互いに異なる対称性及び分極方向を有し、且つ下記式(1)を充足することを特徴とする強誘電性酸化物(但し、Pb(Zr,Ti)O3を除く)。
(Ax,B1-x)(Cy,D1-y)O3・・・(a)
(式(a)中、0≦x≦1、0≦y≦1。
A,B:Aサイト元素、C,D:Bサイト元素、O:酸素原子、A〜Dは各々1種又は複数種の金属元素。
A,Bは互いに異なる組成でもよいし、共通の組成でもよい。ただし、AとBが共通の組成の場合、CとDとは互いに異なる組成である。
C,Dは互いに異なる組成でもよいし、共通の組成でもよい。ただし、CとDが共通の組成の場合、AとBとは互いに異なる組成である。)、
|E(X)−E(Y)|≦E・PV・・・(1)
(式(1)中、E(X)及びE(Y)はそれぞれ、上記一般式(a)で表される強誘電性酸化物の結晶構造X及びYの時のエネルギー、Pは電場をかける前の自発分極密度ベクトル、Eは駆動電場ベクトル、Vは基本格子の体積である。E・PはEとPの内積である。) - Aサイト元素の平均原子量MAとBサイト元素の平均原子量MBとの差|MA−MB|が110以上であることを特徴とする請求項6に記載の強誘電性酸化物。
- 更に、下記式(2)又は下記式(3)を充足することを特徴とする請求項6又は7に記載の強誘電性酸化物。
|Px/Py|>1.1 ・・・(2)、
|Py/Px|>1.1 ・・・(3)
(式(2)及び(3)中、Px及びPyは、前記一般式(a)で表される酸化物の結晶構造X及び結晶構造Yの時の自発分極密度。) - 更に、下記式(4)を充足することを特徴とする請求項6又は7に記載の強誘電性酸化物。
c/a≧1.008 ・・・(4)
(式(4)中、cは正方晶である結晶構造X又は結晶構造Yにおけるc軸長、aは正方晶である結晶構造X又は結晶構造Yにおけるa軸長。) - Aサイト元素にBiを含むことを特徴とする請求項6〜9のいずれかに記載の強誘電性酸化物。
- 前記式(1)において、10<E(kV/cm)<500であることを特徴とする請求項6〜10のいずれかに記載の強誘電性酸化物。
- 請求項6〜11のいずれかに記載の強誘電性酸化物を含むことを特徴とする強誘電体組成物。
- 請求項12の強誘電体組成物を含むことを特徴とする強誘電体膜。
- 請求項6〜11のいずれかに記載の強誘電性酸化物を含むことを特徴とする圧電体。
- 圧電体膜であることを特徴とする請求項14に記載の圧電体。
- 請求項14又は15に記載の圧電体と、該圧電体に対して電界を印加する電極とを備えたことを特徴とする圧電素子。
Priority Applications (1)
| Application Number | Priority Date | Filing Date | Title |
|---|---|---|---|
| JP2008267049A JP5426861B2 (ja) | 2007-10-24 | 2008-10-16 | 強誘電性酸化物とその製造方法、圧電体、圧電素子 |
Applications Claiming Priority (5)
| Application Number | Priority Date | Filing Date | Title |
|---|---|---|---|
| JP2007276480 | 2007-10-24 | ||
| JP2007276480 | 2007-10-24 | ||
| JP2008134664 | 2008-05-22 | ||
| JP2008134664 | 2008-05-22 | ||
| JP2008267049A JP5426861B2 (ja) | 2007-10-24 | 2008-10-16 | 強誘電性酸化物とその製造方法、圧電体、圧電素子 |
Publications (2)
| Publication Number | Publication Date |
|---|---|
| JP2010004007A true JP2010004007A (ja) | 2010-01-07 |
| JP5426861B2 JP5426861B2 (ja) | 2014-02-26 |
Family
ID=40581936
Family Applications (1)
| Application Number | Title | Priority Date | Filing Date |
|---|---|---|---|
| JP2008267049A Active JP5426861B2 (ja) | 2007-10-24 | 2008-10-16 | 強誘電性酸化物とその製造方法、圧電体、圧電素子 |
Country Status (2)
| Country | Link |
|---|---|
| US (1) | US20090108706A1 (ja) |
| JP (1) | JP5426861B2 (ja) |
Cited By (3)
| Publication number | Priority date | Publication date | Assignee | Title |
|---|---|---|---|---|
| JP2012121319A (ja) * | 2010-11-16 | 2012-06-28 | Seiko Epson Corp | 液体噴射ヘッド、液体噴射装置及び圧電素子並びに圧電材料 |
| JP2014038894A (ja) * | 2012-08-11 | 2014-02-27 | Tohoku Univ | マルチフェロイック薄膜及びそれを用いたデバイス |
| JP2016219825A (ja) * | 2016-07-26 | 2016-12-22 | セイコーエプソン株式会社 | 圧電素子、液体噴射ヘッド、液体噴射装置、超音波デバイス及びセンサー |
Families Citing this family (5)
| Publication number | Priority date | Publication date | Assignee | Title |
|---|---|---|---|---|
| US8400047B2 (en) * | 2009-03-12 | 2013-03-19 | Canon Kabushiki Kaisha | Piezoelectric material, piezoelectric device, and method of producing the piezoelectric device |
| JP5599203B2 (ja) | 2010-03-02 | 2014-10-01 | キヤノン株式会社 | 圧電薄膜、圧電素子、圧電素子の製造方法、液体吐出ヘッドおよび超音波モータ |
| US20120177902A1 (en) * | 2011-01-06 | 2012-07-12 | Driscoll Judith L | Multiferroics that are both ferroelectric and ferromagnetic at room temperature |
| DE102012102326B4 (de) * | 2012-03-20 | 2024-10-10 | Helmholtz-Zentrum Dresden - Rossendorf E. V. | Verfahren zur Herstellung eines integrierten nichtflüchtigen Analogspeichers |
| US9520445B2 (en) | 2011-07-12 | 2016-12-13 | Helmholtz-Zentrum Dresden-Rossendorf E. V. | Integrated non-volatile memory elements, design and use |
Citations (7)
| Publication number | Priority date | Publication date | Assignee | Title |
|---|---|---|---|---|
| JP2001335365A (ja) * | 2000-05-22 | 2001-12-04 | Tdk Corp | 誘電体組成物及び誘電体組成物の設計方法 |
| JP2002353421A (ja) * | 2001-03-21 | 2002-12-06 | Seiko Epson Corp | 強誘電体メモリ素子及びそれを備えた電子機器 |
| JP2003023187A (ja) * | 2001-07-10 | 2003-01-24 | Murata Mfg Co Ltd | 高耐熱圧電素子およびそれを用いた圧電装置 |
| JP2005228865A (ja) * | 2004-02-12 | 2005-08-25 | Toyota Central Res & Dev Lab Inc | 圧電セラミックスの製造方法 |
| JP2007031219A (ja) * | 2005-07-28 | 2007-02-08 | Toyota Motor Corp | チタン酸ビスマスナトリウム−ジルコニウムチタン酸バリウム系無鉛圧電セラミック及びその製造方法 |
| JP2007088447A (ja) * | 2005-08-23 | 2007-04-05 | Canon Inc | 圧電体、圧電素子、圧電素子を用いた液体吐出ヘッド、液体吐出装置及び圧電素子の製造方法 |
| JP2007116091A (ja) * | 2005-09-26 | 2007-05-10 | Fujifilm Corp | 圧電素子及びその駆動方法、圧電装置、液体吐出装置 |
Family Cites Families (3)
| Publication number | Priority date | Publication date | Assignee | Title |
|---|---|---|---|---|
| US7918542B2 (en) * | 2006-09-15 | 2011-04-05 | Fujifilm Corporation | Perovskite oxide, process for producing the perovskite oxide, piezoelectric body, piezoelectric device, and liquid discharge device |
| JP5546105B2 (ja) * | 2007-01-19 | 2014-07-09 | 富士フイルム株式会社 | ペロブスカイト型酸化物とその製造方法、圧電体膜、圧電素子、液体吐出装置 |
| CN101050120A (zh) * | 2007-05-11 | 2007-10-10 | 清华大学 | 铁酸铋基多功能氧化物陶瓷材料的制备方法 |
-
2008
- 2008-10-16 JP JP2008267049A patent/JP5426861B2/ja active Active
- 2008-10-23 US US12/256,900 patent/US20090108706A1/en not_active Abandoned
Patent Citations (7)
| Publication number | Priority date | Publication date | Assignee | Title |
|---|---|---|---|---|
| JP2001335365A (ja) * | 2000-05-22 | 2001-12-04 | Tdk Corp | 誘電体組成物及び誘電体組成物の設計方法 |
| JP2002353421A (ja) * | 2001-03-21 | 2002-12-06 | Seiko Epson Corp | 強誘電体メモリ素子及びそれを備えた電子機器 |
| JP2003023187A (ja) * | 2001-07-10 | 2003-01-24 | Murata Mfg Co Ltd | 高耐熱圧電素子およびそれを用いた圧電装置 |
| JP2005228865A (ja) * | 2004-02-12 | 2005-08-25 | Toyota Central Res & Dev Lab Inc | 圧電セラミックスの製造方法 |
| JP2007031219A (ja) * | 2005-07-28 | 2007-02-08 | Toyota Motor Corp | チタン酸ビスマスナトリウム−ジルコニウムチタン酸バリウム系無鉛圧電セラミック及びその製造方法 |
| JP2007088447A (ja) * | 2005-08-23 | 2007-04-05 | Canon Inc | 圧電体、圧電素子、圧電素子を用いた液体吐出ヘッド、液体吐出装置及び圧電素子の製造方法 |
| JP2007116091A (ja) * | 2005-09-26 | 2007-05-10 | Fujifilm Corp | 圧電素子及びその駆動方法、圧電装置、液体吐出装置 |
Non-Patent Citations (5)
| Title |
|---|
| JPN6008009059; Alexei A. Belik: 'High-Pressure Synthesis,Crystal Structures,and Properties of Perovskite-like BiAlO3 and Pyroxene-lik' CHEMISTRY OF MATERIALS,18(2006) , 2006, p133-p139, Amerian Chemical Society * |
| JPN6013028608; Shintaro YASUI(他5名): 'Crystal Structure Analysis of Epitaxial BiFeO3-BiCoO3 Solid Solution Films Grown by Metalorganic Che' Japanese Journal of Applied Physics Vol.46 No.10B, 20071022, pp.6948-6951, 公益社団法人 応用物理学会 * |
| JPN6013042279; Asaki Iwata(他2名): 'Ferroelectric Properties of Chemically Synthesized Perovskite BiFeO3-PbTiO3 Thin Films' Applications of Ferroelectrics, 2007. ISAF 2007. Sixteenth IEEE International Symposium on , 200705, 424-425, The Institute of Electrical and Electronics Enginÿ * |
| JPN6013042281; Pio Baettig(他4名): 'Theoretical Prediction of New High-Performance Lead-Free Piezoelectrics' CHEMISTRY OF MATERIALS Vol.17, No.6, 2005, p.1376-1380, Amerian Chemical Society * |
| JPN7013002191; 細野靖晴(他1名): '高効率圧電単結晶材料' 東芝レビュー Vol.59 No.10, 2004, p.41, 株式会社東芝 * |
Cited By (3)
| Publication number | Priority date | Publication date | Assignee | Title |
|---|---|---|---|---|
| JP2012121319A (ja) * | 2010-11-16 | 2012-06-28 | Seiko Epson Corp | 液体噴射ヘッド、液体噴射装置及び圧電素子並びに圧電材料 |
| JP2014038894A (ja) * | 2012-08-11 | 2014-02-27 | Tohoku Univ | マルチフェロイック薄膜及びそれを用いたデバイス |
| JP2016219825A (ja) * | 2016-07-26 | 2016-12-22 | セイコーエプソン株式会社 | 圧電素子、液体噴射ヘッド、液体噴射装置、超音波デバイス及びセンサー |
Also Published As
| Publication number | Publication date |
|---|---|
| JP5426861B2 (ja) | 2014-02-26 |
| US20090108706A1 (en) | 2009-04-30 |
Similar Documents
| Publication | Publication Date | Title |
|---|---|---|
| JP5426861B2 (ja) | 強誘電性酸化物とその製造方法、圧電体、圧電素子 | |
| US9543501B2 (en) | Metal oxide | |
| US7323806B2 (en) | Piezoelectric thin film element | |
| JP5599203B2 (ja) | 圧電薄膜、圧電素子、圧電素子の製造方法、液体吐出ヘッドおよび超音波モータ | |
| EP2537195B1 (en) | Piezoelectric material and devices using the same | |
| KR101272370B1 (ko) | 압전 재료 | |
| JP6176942B2 (ja) | 圧電素子、液体吐出ヘッドおよび液体吐出装置 | |
| JP5616126B2 (ja) | ペロブスカイト型酸化物、酸化物組成物、酸化物体、圧電素子、及び液体吐出装置 | |
| JP2010043353A (ja) | ペロブスカイト型酸化物、酸化物組成物、酸化物体、圧電素子、及び液体吐出装置 | |
| WO2007029850A1 (ja) | エピタキシャル酸化物膜、圧電膜、圧電膜素子、圧電膜素子を用いた液体吐出ヘッド及び液体吐出装置 | |
| JP4452752B2 (ja) | 鉛含有圧電膜およびその作製方法、鉛含有圧電膜を用いる圧電素子、ならびにこれを用いる液体吐出装置 | |
| Uchino | Manufacturing methods for piezoelectric ceramic materials | |
| US9537083B2 (en) | Piezoelectric composition and piezoelectric device | |
| Ishihama et al. | Achieving high piezoelectric performance across a wide composition range in tetragonal (Bi, Na) TiO3–BaTiO3 films for micro-electromechanical systems | |
| JP2001144341A (ja) | 圧電体膜及び圧電アクチュエータ | |
| JP2007112069A (ja) | 液体吐出ヘッド | |
| JP2007294593A (ja) | 圧電薄膜を用いた素子 | |
| JP4977640B2 (ja) | 機能性酸化物構造体、及び機能性酸化物構造体の製造方法 | |
| JP2010024060A (ja) | 強誘電性酸化物とその製造方法、圧電体、圧電素子 | |
| Thakre et al. | Enhanced Mechanical Quality Factor of 32 Mode Mn Doped 71Pb (Mg |
Legal Events
| Date | Code | Title | Description |
|---|---|---|---|
| A621 | Written request for application examination |
Free format text: JAPANESE INTERMEDIATE CODE: A621 Effective date: 20110706 |
|
| A977 | Report on retrieval |
Free format text: JAPANESE INTERMEDIATE CODE: A971007 Effective date: 20130522 |
|
| A131 | Notification of reasons for refusal |
Free format text: JAPANESE INTERMEDIATE CODE: A131 Effective date: 20130611 |
|
| A521 | Request for written amendment filed |
Free format text: JAPANESE INTERMEDIATE CODE: A523 Effective date: 20130802 |
|
| A131 | Notification of reasons for refusal |
Free format text: JAPANESE INTERMEDIATE CODE: A131 Effective date: 20130827 |
|
| A521 | Request for written amendment filed |
Free format text: JAPANESE INTERMEDIATE CODE: A523 Effective date: 20131028 |
|
| TRDD | Decision of grant or rejection written | ||
| A01 | Written decision to grant a patent or to grant a registration (utility model) |
Free format text: JAPANESE INTERMEDIATE CODE: A01 Effective date: 20131126 |
|
| A61 | First payment of annual fees (during grant procedure) |
Free format text: JAPANESE INTERMEDIATE CODE: A61 Effective date: 20131129 |
|
| R150 | Certificate of patent or registration of utility model |
Free format text: JAPANESE INTERMEDIATE CODE: R150 Ref document number: 5426861 Country of ref document: JP Free format text: JAPANESE INTERMEDIATE CODE: R150 |
|
| R250 | Receipt of annual fees |
Free format text: JAPANESE INTERMEDIATE CODE: R250 |
|
| R250 | Receipt of annual fees |
Free format text: JAPANESE INTERMEDIATE CODE: R250 |
|
| R250 | Receipt of annual fees |
Free format text: JAPANESE INTERMEDIATE CODE: R250 |
|
| R250 | Receipt of annual fees |
Free format text: JAPANESE INTERMEDIATE CODE: R250 |
|
| R250 | Receipt of annual fees |
Free format text: JAPANESE INTERMEDIATE CODE: R250 |
|
| R250 | Receipt of annual fees |
Free format text: JAPANESE INTERMEDIATE CODE: R250 |
|
| R250 | Receipt of annual fees |
Free format text: JAPANESE INTERMEDIATE CODE: R250 |
|
| R250 | Receipt of annual fees |
Free format text: JAPANESE INTERMEDIATE CODE: R250 |
|
| R250 | Receipt of annual fees |
Free format text: JAPANESE INTERMEDIATE CODE: R250 |
