JP2010003838A - リアクトル装置 - Google Patents

リアクトル装置 Download PDF

Info

Publication number
JP2010003838A
JP2010003838A JP2008160921A JP2008160921A JP2010003838A JP 2010003838 A JP2010003838 A JP 2010003838A JP 2008160921 A JP2008160921 A JP 2008160921A JP 2008160921 A JP2008160921 A JP 2008160921A JP 2010003838 A JP2010003838 A JP 2010003838A
Authority
JP
Japan
Prior art keywords
reactor
case
resin
coil
protrusion
Prior art date
Legal status (The legal status is an assumption and is not a legal conclusion. Google has not performed a legal analysis and makes no representation as to the accuracy of the status listed.)
Granted
Application number
JP2008160921A
Other languages
English (en)
Other versions
JP4968193B2 (ja
Inventor
Kentaro Mitai
賢太郎 三田井
Current Assignee (The listed assignees may be inaccurate. Google has not performed a legal analysis and makes no representation or warranty as to the accuracy of the list.)
Denso Corp
Original Assignee
Denso Corp
Priority date (The priority date is an assumption and is not a legal conclusion. Google has not performed a legal analysis and makes no representation as to the accuracy of the date listed.)
Filing date
Publication date
Application filed by Denso Corp filed Critical Denso Corp
Priority to JP2008160921A priority Critical patent/JP4968193B2/ja
Publication of JP2010003838A publication Critical patent/JP2010003838A/ja
Application granted granted Critical
Publication of JP4968193B2 publication Critical patent/JP4968193B2/ja
Expired - Fee Related legal-status Critical Current
Anticipated expiration legal-status Critical

Links

Images

Landscapes

  • Transformer Cooling (AREA)
  • Insulating Of Coils (AREA)

Abstract

【課題】従来のリアクトル装置は、金型からリアクトルを取り出す工程、樹脂をリアクトルケースに充填する工程、樹脂を硬化させる工程といった工程が原因で、製造工数が増え、コストが高くなるといった問題があった。
【解決手段】通電により磁束を発生させるコイル12と、コイル12が発生した磁束の磁路となるコア13と、コイル12を固定する樹脂14とを、備えるリアクトル装置1は、コイル12とコア13と樹脂14とを内部に収容する成形ケース11が、リアクトルケース30の内側に収容される。成形ケース11は、外表面16に突起19を有しており、その突起19は、リアクトルケース30の内面と接触することを特徴とする。
【選択図】図3

Description

本発明は、容器内にコイルを固定する樹脂を注入してなるリアクトル装置に関するものである。
ハイブリッド自動車に用いられるバッテリの昇圧を行うDC−DCコンバータにおいて、リアクトルが用いられる。リアクトルはコイルとコアとを備えるものであり、絶縁性や耐熱性の観点から、コイルを磁性鉄粉混入樹脂で封止するコイル封止型リアクトルが知られている(例えば、特許文献1参照)。リアクトルは、作動時に発熱するため、ヒートシンクなどの放熱部材を密着させて、熱を外部に逃がすことが望ましい。そして、リアクトルを密着させる放熱部材の形状を上面が開口した筐体にすると、底面だけでなく側面からも放熱でき、効率的にリアクトルを放熱することができる。
特開2007−27185号公報
リアクトルの側面と放熱部材との間には、隙間を埋めるために樹脂を充填することが行われるが、樹脂の熱伝導率は高くはない。更には、樹脂が硬化するまでに時間がかかり、コスト高になるという問題もある。
本発明の目的は上記課題に鑑みたものであり、放熱性に優れ、かつ、簡易にリアクトルの組付けができるリアクトル装置を提供することにある。
請求項1に係る発明では、通電により磁束を発生させるコイルと、コイルが発生した磁束の磁路となるコアと、コイルを固定する樹脂とを、備えるリアクトル装置において、コイルとコアと樹脂とを内部に収容する成形ケースと、成形ケースを内側に収容するリアクトルケースとを備え、成形ケースは、外表面にリアクトルケースの内面と接触する突起を有することを特徴とする。
本発明によれば、成形ケースの突起がリアクトルケースの内面と接触しているため、突起を介して放熱を行うことができる。
成形ケースをリアクトルケースに収容する際に突起を潰すことにより突起が放熱材の役割を果たすため、放熱材として一般に用いられる樹脂をリアクトルとリアクトルケースとの間に充填するよりも簡易にリアクトルの製造を行うことができる。具体的には、樹脂を充填する工程や樹脂を硬化させる工程が不要となる。
また、放熱性を高めたいところに重点的に突起させることによって、充填時に流動する樹脂を用いた場合より正確な放熱設計を図ることができる。
成形ケース内において、樹脂でコイルを封止しているため、絶縁性や防水性が向上し、樹脂を介して成形ケースの広域に熱を拡散することができる。
請求項2に係る発明では、成形ケースは、外表面の底面部に突起を有することを特徴とする。
本発明によれば、外表面の底面部は成形ケース収容時の圧力が大きいため、容易に突起を潰すことができ、組付け性能が向上する。
請求項3に係る発明では、突起は、コイルに近づくにつれて突起の単位面積あたりの数が多くなることを特徴とする。
本発明によれば、発熱源であるコイルに近づくにつれて突起を多く設けるため、発熱箇所からの放熱性向上を図ることができる。
請求項4に係る発明では、突起は、コイルに近づくにつれて突起の形状が大きくなることを特徴とする。
本発明によれば、発熱減であるコイルに近づくにつれて突起の形状を大きくするため、発熱箇所からの放熱性向上を図ることができる。
請求項5に係る発明では、成形ケースは、成形ケースに充填された樹脂の上面よりも下方において、外表面の側面部に突起を有することを特徴とする。
本発明によれば、熱伝達媒体となっている樹脂の上面より下方に突起を設けているため、発熱箇所からの放熱性向上を図ることができる。
請求項6に係る発明では、側面部に設けた突起は、樹脂の上面に向かうにつれて、突起の単位面積あたりの数が多くなることを特徴とする。
本発明によれば、熱が伝わりやすい樹脂の上面に向かうにつれて、突起を多く設けるため、放熱性向上を図ることができる。
請求項7に係る発明では、側面部に設けた突起は、樹脂の上面に向かうにつれて、突起の形状の大きくなることを特徴とする。
本発明によれば、熱が伝わりやすい樹脂の上面に向かうにつれて、突起の形状を大きくするため、放熱性向上を図ることができる。
請求項8に係る発明では、成形ケースは、内周面に樹脂と係合する凹部を有することを特徴とする。
本発明によれば、成形ケースの内周面に樹脂と係合する凹部を設けるため、リアクトルの成形ケースからの離脱を防ぐことができる。
請求項9に係る発明では、成形ケースはコイルの中心部分にねじ穴を有し、リアクトルケースは、底面部にねじ穴と対向する締結穴を有し、締結穴を貫通してねじ穴に締結するボルトを有することを特徴とする。
本発明によれば、成形ケースがコイルの中心軸にねじ穴を形成するため、ねじ穴形成によるコイルの磁束形成の阻害を軽減しつつも、成形ケースがリアクトルケースから離脱する事態を防ぐことができる。
請求項10に係る発明では、コアは磁性鉄粉からなり、コアと樹脂とが、磁性鉄粉と樹脂とを混入した磁性鉄粉混入樹脂を形成することを特徴とする。
磁性鉄粉混入樹脂を用いることで、磁束が外部に漏洩することを防ぐことができる。
請求項11に係る発明では、リアクトルケース、突起および成形ケースは、アルミニウムからなることを特徴とする。
本発明によれば、展性、延性が富むアルミニウムを突起に用いるため、成形ケースからをリアクトルケースに収容した際に突起が容易に変形し容易にリアクトルの組付けを行うことができる。
また、突起、リアクトルケース、成形ケースともにアルミニウムを採用することで、放熱性も向上できる。
(実施例1)
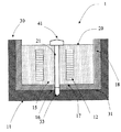
図1に本発明の実施例1に係る成形ケースおよびリアクトルケースの縦断面図、図2に本発明の実施例1に係るリアクトル装置の縦断面図を示す。
リアクトル装置1は、通電により磁束を発生させるコイル12と、コイル12が発生した磁束の磁路となるコア13と、コイル12を成形ケース11に封止して固定する樹脂14とを備え、リアクトルケース30の内側にコイル12とコア13と樹脂14とを内部に収容する成形ケース11を収容することで形成される。
実施例1においては、コア13は磁性鉄粉からなり、コア13と樹脂14とが、コア13と樹脂14とを混入したダストコア15(磁性鉄粉混合樹脂)を形成する。ダストコア15はコイル12の内外に充填される。ダストコア15に用いられる磁性鉄粉としては、軟磁性を示すソフトフェライト粉末、樹脂14としては、耐熱性や絶縁性、接着性に優れるエボキシ樹脂14の他、ポリフェニレンサルファイド(PPS)、ポリブチレンテレフタレート(PBT)などが用いられる。
また、図3に示すように、積層鋼板をコア13とし、積層鋼板とコイル12の周囲に樹脂14を充填してもよい。
成形ケース11は、コイル12とコア13と樹脂14を内部に収容するものであり、成形ケース11は、外表面16の底面部17や側面部18に突起19を有する。突起19は底面部17と側面部18のいずれか一方にのみ形成されていてもよい。成形ケース11に設けられた突起19は、成形ケース11をリアクトルケース30に圧入して収容すると、リアクトルケース側からの圧力により変形する。この結果、突起19が成形ケース11とリアクトルケース30との隙間に入り込む。成形ケース11の外表面16に突起19を設けることによって、通常の平らな面からなる成形ケース11を採用した場合と比べて、確実に狙った分だけリアクトルケース30と成形ケース11との放熱経路を形成することができる。また、従来では、成形ケース11とリアクトルケース30との間に樹脂を用いていたが、樹脂は流動するため、樹脂が厚く滞留した箇所には放熱性が低下する問題があった。本発明では、突起19によって、ケース間の放熱経路を確保するので、発熱量が多い箇所を狙って放熱経路を確保できる。さらには、樹脂の充填工程や樹脂硬化工程が不要になるため、リアクトルケースへの組付けが簡単になる。
成形ケース11、突起19及びリアクトルケース30は、耐熱性や放熱性の優れたアルミニウム等の金属からなることが望ましい。特に、リアクトルケース30は、ヒートシンク等の放熱部材からなることが望ましい。
リアクトル装置1は、リアクトルケース30内に成形ケース11を圧入して収容することで形成される。リアクトルケース30に成形ケース11を収容するで、成形ケース11の突起19は、リアクトルケース30からの圧力により変形し、成形ケース11とリアクトルケース30との隙間に突起19が入り込むこととなる。この結果、成形ケース11の突起19はリアクトルケース30と成形ケース11との間に放熱経路が形成される。
変形した突起19は、リアクトルケース30の内面31の全面と接触するわけではないが、成形ケース11や突起19にアルミニウムなどの熱伝導率が高い部材を採用することで、コイル12からの熱を十分に放熱させることができる。熱伝導率の高い金属の例として、銅やアルミニウムがあり、それぞれの常温での熱伝導率は銅390W/(m・K)、アルミニウム236W/(m・K)である。一方、放熱材として一般に用いられるエポキシ樹脂14の熱伝導率は、0.21W/(m・K)である。したがって、リアクトルとリアクトルケース30との間の熱を伝導させる媒体として、金属を採用し、かつ、突起19をその接触面積を確保できる構造にすることで放熱性の向上が期待できる。
(変形例1)
図4に本発明の変形例1に係る成形ケースの縦断面図を示す。
成形ケース11は、外表面16の底面部17において突起19を有している。突起19はコイル12に近づくにつれて単位面積あたりの数が多くなり、加えて、コイル12に近づくにつれて突起19の形状が大きくなる。発熱源であるコイル12に近い部分の放熱経路を確実に確保することができるからである。また、発熱源から遠くなるにつれて、突起19の数を減らしたり、形状を小さくしてもよい。この結果、リアクトルケース30に成形ケース11を収容した際の発熱源近くに設けられた突起19への加圧が増し、確実に放熱経路を形成することができる。
また、成形ケース11は、充填された樹脂14の上面よりも下方において、外表面16の側面部18に突起19を有してもよい。この場合、樹脂14の上面に向かうにつれて、側面部18の突起19の単位面積あたりの数が多くなる。加えて、樹脂14の上面に向かうにつれて、側面部18の突起19の形状が大きくなる。この構成により、熱が伝達しやすい樹脂14上面付近の熱を効率的に放熱することができる。
成形ケース11は、図5に示す成形ケース11の内周部における拡大図(図4の点線部分に相当)に示すように、内周面に樹脂14と係合する凹部32を有してもよい。凹部32を設けることによって、樹脂14が凹部32内に入り込み、樹脂で封止されたコイル12が成形ケース11から離脱することを低減することができる。
(変形例2)
図6に本発明の変形例に係るリアクトル装置1を示す。図5では、簡単のため突起部は省略する。成形ケース11はコイル12の中心部分にねじ穴を有し、リアクトルケース30は、底面部17にねじ穴21と対向する締結穴33を有し、締結穴を貫通してねじ穴に締結するボルト41を有する。この結果、成形ケース11とリアクトルケース30との締結力を向上させることができる。
本発明の実施例1に係る成形ケース及びリアクトルケースの縦断面図である。 本発明の実施例1に係るリアクトルケースの縦断面図である。 本発明の実施例1の変形例に係る成形ケースの縦断面図である。 本発明の変形例1に係るリアクトル装置の内周部の拡大図である。 本発明の変形例1に係るリアクトル装置の変形例である。 本発明の変形例2に係るリアクトル装置の縦断面図である。
符号の説明
1 リアクトル装置
11 成形ケース
12 コイル
13 コア
14 樹脂
15 ダストコア(磁性鉄粉混合樹脂)
16 外表面
17 底面部
18 側面部
19 突起
20 樹脂の上面
21 ねじ穴
30 リアクトルケース
31 内面
32 凹部
33 締結穴
41 ボルト

Claims (11)

  1. 通電により磁束を発生させるコイルと、コイルが発生した磁束の磁路となるコアと、前記コイルを固定する樹脂とを、備えるリアクトル装置において、
    前記コイルと前記コアと前記樹脂とを内部に収容する成形ケースと、前記成形ケースを内側に収容するリアクトルケースとを備え、前記成形ケースは、外表面に前記リアクトルケースの内面と接触する突起を有することを特徴とするリアクトル装置。
  2. 前記成形ケースは、前記外表面の底面部に前記突起を有することを特徴とする請求項1に記載のリアクトル装置。
  3. 前記突起は、前記コイルに近づくにつれて前記突起の単位面積あたりの数が多くなることを特徴とする請求項1又は請求項2に記載のリアクトル装置。
  4. 前記突起は、前記コイルに近づくにつれて前記突起の形状が大きくなることを特徴とする請求項1ないし請求項3のいずれか一項に記載のリアクトル装置。
  5. 前記成形ケースは、前記成形ケースに充填された前記樹脂の上面よりも下方において、前記外表面の側面部に突起を有することを特徴とする請求項1ないし4のいずれか一項に記載のリアクトル装置。
  6. 前記側面部に設けた前記突起は、前記樹脂の上面に向かうにつれて、
    前記突起の単位面積あたりの数が多くなることを特徴とする請求項5に記載のリアクトル装置。
  7. 前記側面部に設けた前記突起は、前記樹脂の上面に向かうにつれて、
    前記突起の形状の大きくなることを特徴とする請求項5又は請求項6に記載のリアクトル装置。
  8. 前記成形ケースは、内周面に樹脂と係合する凹部を有することを特徴とする請求項1ないし6のいずれか一項に記載のリアクトル装置。
  9. 前記成形ケースは前記コイルの中心部分にねじ穴を有し、前記リアクトルケースは、前記底面部に前記ねじ穴と対向する締結穴を有し、前記締結穴を貫通して前記ねじ穴に締結するボルトを有することを特徴とする請求項1ないし8のいずれか一項に記載のリアクトル装置。
  10. 前記コアは磁性鉄粉からなり、前記コアと前記樹脂とが、前記磁性鉄粉と前記樹脂とを混入した磁性鉄粉混入樹脂を形成することを特徴とする請求項1ないし請求項9記載のいずれか一項に記載のリアクトル装置。
  11. 前記リアクトルケース、前記突起および前記成形ケースは、アルミニウムからなることを特徴とする請求項1ないし請求項10のいずれか一項に記載のリアクトル装置。
JP2008160921A 2008-06-19 2008-06-19 リアクトル装置 Expired - Fee Related JP4968193B2 (ja)

Priority Applications (1)

Application Number Priority Date Filing Date Title
JP2008160921A JP4968193B2 (ja) 2008-06-19 2008-06-19 リアクトル装置

Applications Claiming Priority (1)

Application Number Priority Date Filing Date Title
JP2008160921A JP4968193B2 (ja) 2008-06-19 2008-06-19 リアクトル装置

Publications (2)

Publication Number Publication Date
JP2010003838A true JP2010003838A (ja) 2010-01-07
JP4968193B2 JP4968193B2 (ja) 2012-07-04

Family

ID=41585321

Family Applications (1)

Application Number Title Priority Date Filing Date
JP2008160921A Expired - Fee Related JP4968193B2 (ja) 2008-06-19 2008-06-19 リアクトル装置

Country Status (1)

Country Link
JP (1) JP4968193B2 (ja)

Cited By (9)

* Cited by examiner, † Cited by third party
Publication number Priority date Publication date Assignee Title
WO2011104975A1 (ja) * 2010-02-25 2011-09-01 住友電気工業株式会社 リアクトルおよびリアクトルの製造方法
JP2011210791A (ja) * 2010-03-29 2011-10-20 Denso Corp リアクトル及びその製造方法
CN103430249A (zh) * 2011-03-24 2013-12-04 住友电气工业株式会社 复合材料、电抗器用磁芯、电抗器、转换器和功率转换器装置
JP2015518271A (ja) * 2012-03-20 2015-06-25 クアルコム,インコーポレイテッド ワイヤレス電力伝達デバイスおよび製造方法
JP2015228412A (ja) * 2014-05-30 2015-12-17 Tdk株式会社 インダクタ素子
US9349511B2 (en) 2011-03-24 2016-05-24 Sumitomo Electric Industries, Ltd. Composite material, reactor-use core, reactor, converter, and power converter apparatus
US9653206B2 (en) 2012-03-20 2017-05-16 Qualcomm Incorporated Wireless power charging pad and method of construction
US9972434B2 (en) 2012-03-20 2018-05-15 Qualcomm Incorporated Magnetically permeable structures
WO2020066122A1 (ja) * 2018-09-28 2020-04-02 株式会社明電舎 リアクトル

Citations (8)

* Cited by examiner, † Cited by third party
Publication number Priority date Publication date Assignee Title
JPS5710728U (ja) * 1980-06-23 1982-01-20
JPS61195025U (ja) * 1985-05-27 1986-12-04
JPH0224079U (ja) * 1988-08-03 1990-02-16
JP2007019402A (ja) * 2005-07-11 2007-01-25 Denso Corp コイル封止型樹脂成形リアクトル及びその製造方法
JP2007129817A (ja) * 2005-11-02 2007-05-24 Toyota Motor Corp 車両の駆動装置
JP2007180145A (ja) * 2005-12-27 2007-07-12 Denso Corp 磁気部品
JP2008042094A (ja) * 2006-08-09 2008-02-21 Denso Corp リアクトル
JP2008112856A (ja) * 2006-10-30 2008-05-15 Sumitomo Electric Ind Ltd リアクトル装置

Patent Citations (8)

* Cited by examiner, † Cited by third party
Publication number Priority date Publication date Assignee Title
JPS5710728U (ja) * 1980-06-23 1982-01-20
JPS61195025U (ja) * 1985-05-27 1986-12-04
JPH0224079U (ja) * 1988-08-03 1990-02-16
JP2007019402A (ja) * 2005-07-11 2007-01-25 Denso Corp コイル封止型樹脂成形リアクトル及びその製造方法
JP2007129817A (ja) * 2005-11-02 2007-05-24 Toyota Motor Corp 車両の駆動装置
JP2007180145A (ja) * 2005-12-27 2007-07-12 Denso Corp 磁気部品
JP2008042094A (ja) * 2006-08-09 2008-02-21 Denso Corp リアクトル
JP2008112856A (ja) * 2006-10-30 2008-05-15 Sumitomo Electric Ind Ltd リアクトル装置

Cited By (19)

* Cited by examiner, † Cited by third party
Publication number Priority date Publication date Assignee Title
WO2011104975A1 (ja) * 2010-02-25 2011-09-01 住友電気工業株式会社 リアクトルおよびリアクトルの製造方法
JP2011199257A (ja) * 2010-02-25 2011-10-06 Sumitomo Electric Ind Ltd リアクトルの製造方法
CN102782783A (zh) * 2010-02-25 2012-11-14 住友电气工业株式会社 电抗器和制造电抗器的方法
EP2541563A4 (en) * 2010-02-25 2017-07-05 Sumitomo Electric Industries, Ltd. Reactor and method for manufacturing reactor
US8830022B2 (en) 2010-02-25 2014-09-09 Sumitomo Electric Industries, Ltd. Reactor and method for manufacturing reactor
JP2011210791A (ja) * 2010-03-29 2011-10-20 Denso Corp リアクトル及びその製造方法
US9349511B2 (en) 2011-03-24 2016-05-24 Sumitomo Electric Industries, Ltd. Composite material, reactor-use core, reactor, converter, and power converter apparatus
CN103430249A (zh) * 2011-03-24 2013-12-04 住友电气工业株式会社 复合材料、电抗器用磁芯、电抗器、转换器和功率转换器装置
US9847156B2 (en) 2011-03-24 2017-12-19 Sumitomo Electric Industries, Ltd. Composite material, reactor-use core, reactor, converter, and power converter apparatus
CN103430249B (zh) * 2011-03-24 2018-05-01 住友电气工业株式会社 复合材料、电抗器用磁芯、电抗器、转换器和功率转换器装置
JP2015518271A (ja) * 2012-03-20 2015-06-25 クアルコム,インコーポレイテッド ワイヤレス電力伝達デバイスおよび製造方法
US9653206B2 (en) 2012-03-20 2017-05-16 Qualcomm Incorporated Wireless power charging pad and method of construction
US9972434B2 (en) 2012-03-20 2018-05-15 Qualcomm Incorporated Magnetically permeable structures
JP2018088547A (ja) * 2012-03-20 2018-06-07 クアルコム,インコーポレイテッド ワイヤレス電力伝達デバイスおよび製造方法
JP2015228412A (ja) * 2014-05-30 2015-12-17 Tdk株式会社 インダクタ素子
WO2020066122A1 (ja) * 2018-09-28 2020-04-02 株式会社明電舎 リアクトル
JP2020057766A (ja) * 2018-09-28 2020-04-09 株式会社明電舎 リアクトル
CN112689880A (zh) * 2018-09-28 2021-04-20 株式会社明电舍 电抗器
US11195650B2 (en) 2018-09-28 2021-12-07 Meidensha Corporation Reactor

Also Published As

Publication number Publication date
JP4968193B2 (ja) 2012-07-04

Similar Documents

Publication Publication Date Title
JP4968193B2 (ja) リアクトル装置
US10283255B2 (en) Reactor
JP5465151B2 (ja) リアクトル
JP5343387B2 (ja) リアクトル、及びコンバータ
JP5693419B2 (ja) 電気機器の筐体
JP2013201377A (ja) リアクトル装置
US12021459B2 (en) Power conversion device
JP2018207051A (ja) リアクトル
WO2011101976A1 (ja) 電磁機器及びその製造方法
JP6593780B2 (ja) リアクトル
JP2010118465A (ja) インダクタ
JP2010165884A (ja) リアクトル
JP2013125857A (ja) リアクトル及び電力変換装置
US12062477B2 (en) Reactor
JP2018014459A (ja) リアクトル、およびリアクトルの製造方法
JP2016096271A (ja) リアクトル
CN110199365B (zh) 电抗器
JP7405569B2 (ja) リアクトル
WO2015178208A1 (ja) リアクトル
WO2018221127A1 (ja) リアクトル
JP2016018797A (ja) 誘導装置および誘導装置の製造方法
JP6619195B2 (ja) リアクトル
JP2016184603A (ja) 端子ユニット及びリアクトル
JP5344334B2 (ja) リアクトル
JP6719327B2 (ja) リアクトル

Legal Events

Date Code Title Description
A621 Written request for application examination

Free format text: JAPANESE INTERMEDIATE CODE: A621

Effective date: 20101018

A977 Report on retrieval

Free format text: JAPANESE INTERMEDIATE CODE: A971007

Effective date: 20111209

A131 Notification of reasons for refusal

Free format text: JAPANESE INTERMEDIATE CODE: A131

Effective date: 20111220

A521 Written amendment

Free format text: JAPANESE INTERMEDIATE CODE: A523

Effective date: 20120215

TRDD Decision of grant or rejection written
A01 Written decision to grant a patent or to grant a registration (utility model)

Free format text: JAPANESE INTERMEDIATE CODE: A01

Effective date: 20120306

A01 Written decision to grant a patent or to grant a registration (utility model)

Free format text: JAPANESE INTERMEDIATE CODE: A01

A61 First payment of annual fees (during grant procedure)

Free format text: JAPANESE INTERMEDIATE CODE: A61

Effective date: 20120319

FPAY Renewal fee payment (prs date is renewal date of database)

Free format text: PAYMENT UNTIL: 20150413

Year of fee payment: 3

FPAY Renewal fee payment (prs date is renewal date of database)

Free format text: PAYMENT UNTIL: 20150413

Year of fee payment: 3

LAPS Cancellation because of no payment of annual fees