JP2010003196A - ヴォラティリティの推定装置、及びそのコンピュータプログラム、並びにヴォラティリティ推定方法 - Google Patents
ヴォラティリティの推定装置、及びそのコンピュータプログラム、並びにヴォラティリティ推定方法 Download PDFInfo
- Publication number
- JP2010003196A JP2010003196A JP2008162810A JP2008162810A JP2010003196A JP 2010003196 A JP2010003196 A JP 2010003196A JP 2008162810 A JP2008162810 A JP 2008162810A JP 2008162810 A JP2008162810 A JP 2008162810A JP 2010003196 A JP2010003196 A JP 2010003196A
- Authority
- JP
- Japan
- Prior art keywords
- observation
- volatility
- observation point
- data
- point
- Prior art date
- Legal status (The legal status is an assumption and is not a legal conclusion. Google has not performed a legal analysis and makes no representation as to the accuracy of the status listed.)
- Granted
Links
- 238000000034 method Methods 0.000 title claims abstract description 51
- 238000004590 computer program Methods 0.000 title claims description 6
- 230000008569 process Effects 0.000 claims abstract description 42
- 238000009499 grossing Methods 0.000 claims description 68
- 238000004364 calculation method Methods 0.000 claims description 36
- 238000013500 data storage Methods 0.000 claims description 9
- 239000000872 buffer Substances 0.000 description 20
- 238000010586 diagram Methods 0.000 description 5
- 238000007796 conventional method Methods 0.000 description 3
- 238000011156 evaluation Methods 0.000 description 3
- 238000010276 construction Methods 0.000 description 2
- 230000014509 gene expression Effects 0.000 description 2
- 230000001771 impaired effect Effects 0.000 description 2
- 238000005457 optimization Methods 0.000 description 2
- 238000005309 stochastic process Methods 0.000 description 2
- 230000005653 Brownian motion process Effects 0.000 description 1
- 238000000342 Monte Carlo simulation Methods 0.000 description 1
- 238000005537 brownian motion Methods 0.000 description 1
- 230000008859 change Effects 0.000 description 1
- 230000004069 differentiation Effects 0.000 description 1
- 230000001788 irregular Effects 0.000 description 1
- 238000004088 simulation Methods 0.000 description 1
- 230000009466 transformation Effects 0.000 description 1
Images
Landscapes
- Financial Or Insurance-Related Operations Such As Payment And Settlement (AREA)
Abstract
【課題】実際の株価プロセスのように、高周波雑音が存在するような状況においても、高周波雑音を除去してヴォラティリティ推定を行えるようにする。
【解決手段】ランダムプロセスにおける離散的な観測点tkでの観測データX(tk)に基づいて、前記観測点tkにおけるヴォラティリティを推定する装置であって、各観測点間の時間間隔Δよりも微細な時間間隔の補助観測点ti kで観測された補助観測データX(ti k)によって前記観測点tkにおける観測データX(tk)を平滑化することができる。本装置は、平滑化された観測データを用いて、前記観測点tkにおけるヴォラティリティを推定することができる。
【選択図】図5
【解決手段】ランダムプロセスにおける離散的な観測点tkでの観測データX(tk)に基づいて、前記観測点tkにおけるヴォラティリティを推定する装置であって、各観測点間の時間間隔Δよりも微細な時間間隔の補助観測点ti kで観測された補助観測データX(ti k)によって前記観測点tkにおける観測データX(tk)を平滑化することができる。本装置は、平滑化された観測データを用いて、前記観測点tkにおけるヴォラティリティを推定することができる。
【選択図】図5
Description
本発明は、ヴォラティリティの推定装置、及びそのコンピュータプログラム、並びにヴォラティリティ推定方法に関するものである。
ヴォラティリティ(volatility)は、株価のような確率過程(ランダムプロセス)の変動状況を示す指標であり、各種オプションのような金融派生商品の適切な価格付けや、ポートフォリオの評価の作業、さらにはポートフォリオの最適化構築作業に必須のパラメータである。
上記式において、ヴォラティリティσは、理論上は、定数として与えられる。しかし、実際には、ヴォラティリティは定数ではなく、時間の関数である。したがって、観測データであるp(t)から、ヴォラティリティσを推定することが重要な問題となる。
従来のヴォラティリティの推定手法としては、ヴォラティリティの積分形(Integrated Volatility)を求めるものが一般的である。ヴォラティリティの積分形を求めれば、その積分形を微分することによって、スポット・ヴォラティリティ(spot volatility)を求めることができる。しかし、この方法で、スポット・ヴォラティリティを求めると、数値微分の演算が必要となるため、推定精度が低くなる。
一方、スポット・ヴォラティリティを直接推定する方法も数学的には提案されているが、従来の手法では、コンピュータで演算した場合に、処理時間が非常に長くなり実際に用いることができなかった。
また、従来の手法では、観測データが一周期(例えば、オプションの満期までの期間)分得られた後でなければ、ヴォラティリティを推定することができず、リアルタイム性に欠けていた。
また、従来の手法では、観測データが一周期(例えば、オプションの満期までの期間)分得られた後でなければ、ヴォラティリティを推定することができず、リアルタイム性に欠けていた。
これに対し、本発明者他は、非特許文献1において、ヴォラティリティ(スポット・ヴォラティリティ)の推定を各時点においてほぼリアルタイムで行うことができるスキームを提案している。提案するスキームでは、演算量が少ないためリアルタイム性に優れ、しかも、比較的高精度で推定を行うことができる。
ここで、スポット・ヴォラティリティを推定する問題は、図7に示すように、1周期の観測区間[0,T]内の複数の観測点tk(0≦k≦N)における観測データX(tk)が与えられたときに、各観測点tkにおけるヴォラティリティを求めるものである。
上記式によれば、図8に示すように、ある観測点tkにおけるΔkX/Δtを、tk-M〜tk+Mの範囲のΔk+λX/Δt(−M≦λ≦M)で平滑化することにより、ヴォラティリティの推定誤差を最小化することができる。なお、非特許文献1では、Mの値(平滑化のウィンドウサイズ)を大きくすることによって、推定誤差を小さくできることをシミュレーションによって確認した結果も示している。
S.Ogawa and K.Wakayama "On a real-time scheme for the estimation of volatility", Monte Carlo Methods and Appl., Vol.13, No.2(2007),pp.99-116
S.Ogawa and K.Wakayama "On a real-time scheme for the estimation of volatility", Monte Carlo Methods and Appl., Vol.13, No.2(2007),pp.99-116
非特許文献1のヴォラティリティ推定スキームは、数学的(理論的)には成立しているが、このスキームを、実際の観測データに適用するには、更なる考慮が必要であることに、本発明者は思い至った。
すなわち、従来の推定スキームにおいては、観測データX(tk)は、伊藤過程によって示される確率過程p(t)そのものであると仮定している。
一方、実際の株価価格プロセスのような観測データX(tk)は、下記式のように高周波雑音(微細構造雑音;microstructure noise)Z(tk)によって乱されている。
一方、実際の株価価格プロセスのような観測データX(tk)は、下記式のように高周波雑音(微細構造雑音;microstructure noise)Z(tk)によって乱されている。
上記式のように、株価価格プロセスp(tk)等の観測データX(tk)は、常に、ノイズZ(tk)とともに観測される。
このノイズZ(tk)は、非常に高い周波数のランダムプロセスである。つまり、任意のkについて、Z(tk)は、独立(互いに無関係)である。
このノイズZ(tk)は、非常に高い周波数のランダムプロセスである。つまり、任意のkについて、Z(tk)は、独立(互いに無関係)である。
このようなノイズZ(tk)を含む観測データX(tk)を、従来の推定スキームに適用すると、平滑化に用いる観測点数が増加すると、その分、ノイズZ(tk)が加算され、従来の推定スキームによって求められるヴォラティリティ推定値の誤差が増大することになる。
このため、従来の推定スキームを実際の観測データに適用することは困難である。
このため、従来の推定スキームを実際の観測データに適用することは困難である。
そこで、本発明は、実際の株価プロセスのように、高周波雑音が存在するような状況においても、高周波雑音を除去してヴォラティリティ推定を行えるようにすることを目的とする。
本発明は、ランダムプロセスにおける離散的な観測点(tk)での観測データ(X(tk))に基づいて、前記観測点(tk)におけるヴォラティリティを推定する装置であって、各観測点間の時間間隔(Δ)よりも微細な時間間隔の補助観測点(ti k)で観測された補助観測データ(X(ti k))を取得して記憶する補助観測データ記憶手段(31a)と、前記補助観測データ記憶手段(31a)から前記観測点(tk)近傍の補助観測データ(X(ti k))を取得し、取得した補助観測データ(X(ti k))によって前記観測点(tk)における観測データ(X(tk))を平滑化した平滑化観測データを算出する第1の演算手段(31c)と、第1の演算手段(31c)によって得られた各観測点(tk)の平滑化観測データを記憶する平滑化データ記憶手段(32a)と、前記平滑化データ記憶手段(32a)に記憶されている平滑化観測データを用いて、前記観測点(tk)におけるヴォラティリティを推定するための演算を行う第2の演算手段(32b,32c,32d)と、を備えていることを特徴とするヴォラティリティ推定装置である。
上記本発明によれば、観測点間の時間間隔よりも微細な時間間隔の補助観測点で観測された補助観測データがあるため、観測点近傍の補助観測データを用いて、当該観測点の観測データを平滑化することが可能である。したがって、観測データに高周波雑音が含まれていても、高周波雑音を低減することができる。
前記第2の演算手段(32b,32c,32d)は、ヴォラティリティを推定しようとする対象観測点(tk)の次の観測点(tk+1)における平滑化観測データと、前記対象観測点(tk)における平滑化観測データと、の差分を、各観測点間の前記時間間隔(Δ)で除した演算値を、前記対象観測点(tk)近傍の他の観測点について求めた前記演算値によって平滑化することで、ヴォラティリティの推定値を算出するものであるのが好ましい。
前記第1の演算手段(31c)は、前記観測点(tk)よりも過去の補助観測データ(X(ti k))だけを用いて平滑化するものであるのが好ましい。この場合、ヴォラティリティ推定を、よりリアルタイムに行うことができる。
前記第2の演算手段(32b,32c,32d)は、前記対象観測点(tk)よりも過去の観測点について求めた前記演算値だけを用いて平滑化をするものであるのが好ましい。この場合、ヴォラティリティ推定を、よりリアルタイムに行うことができる。
前記第1の演算手段による平滑化は、前記観測点(tk)における観測データ(X(tk))と前記観測点(tk)近傍の補助観測データ(X(ti k))との総和を求め、当該総和を、前記観測点(tk)及び前記観測点(tk)近傍の補助観測点(ti k)の総数(2M+1)で除する演算を含むものであるのが好ましい。この場合、ヴォラティリティ推定精度をより高めることができる。
前記第2の演算手段による平滑化は、前記観測点(tk)について求めた前記演算値と前記観測点(tk)近傍の観測点(tk+l-L)について求めた前記演算値との総和を求め、当該総和を、前記観測点(tk)及び前記観測点(tk)近傍の観測点(tk+l-L)の総数(2L+1)で除する演算を含むものであるのが好ましい。この場合、ヴォラティリティ推定精度をより高めることができる。
他の観点からみた本発明は、コンピュータを、前記ヴォラティリティ推定装置として機能させるためのコンピュータプログラムである。
さらに他の観点からみた本発明は、ランダムプロセスにおける離散的な観測点(tk)での観測データ(X(tk))に基づいて、前記観測点(tk)におけるヴォラティリティを推定する演算を、コンピュータが実行する方法であって、各観測点間の時間間隔(Δ)よりも微細な時間間隔の補助観測点(ti k)で観測された補助観測データ(X(ti k))を記憶するステップと、前記観測点(tk)近傍の補助観測データ(X(ti k))によって前記観測点(tk)における観測データ(X(tk))を平滑化した平滑化観測データを算出して記憶するステップと、前記平滑化データ記憶手段(32a)に記憶されている平滑化観測データを用いて、前記観測点(tk)におけるヴォラティリティを推定する演算を行って、その推定値を出力するステップと、を含むことを特徴とするヴォラティリティ推定方法である。
本発明によれば、観測データに高周波雑音が含まれていても、高周波雑音を低減することができる。
以下、本発明の実施形態を図面に基づいて説明する。
以下では、非特許文献1の推定スキームを、ノイズZ(t)が含まれる実際の観測データX(t)に適用できるようにするため、観測データX(t)に含まれるノイズZ(t)の影響を抑えつつ、観測データX(t)からヴォラティリティ推定値を求めるための新たな推定スキーム(推定式)について説明する。
ここで提案する新たな推定スキームは、多段階平滑化処理によってヴォラティリティ推定値を求める。この多段階平滑化処理は、第1段目の平滑化処理と第2段目の平滑化処理とを含む。以下では、観測データに含まれるノイズについて説明した後、第1段目平滑化処理及び第2段目平滑化処理について数学的に説明する。さらに、その後、実施形態に係るヴォラティリティ推定装置について説明する。
以下では、非特許文献1の推定スキームを、ノイズZ(t)が含まれる実際の観測データX(t)に適用できるようにするため、観測データX(t)に含まれるノイズZ(t)の影響を抑えつつ、観測データX(t)からヴォラティリティ推定値を求めるための新たな推定スキーム(推定式)について説明する。
ここで提案する新たな推定スキームは、多段階平滑化処理によってヴォラティリティ推定値を求める。この多段階平滑化処理は、第1段目の平滑化処理と第2段目の平滑化処理とを含む。以下では、観測データに含まれるノイズについて説明した後、第1段目平滑化処理及び第2段目平滑化処理について数学的に説明する。さらに、その後、実施形態に係るヴォラティリティ推定装置について説明する。
[1.本発明の数学的な説明]
[1.1 微細構造雑音(Micorstructure Noise)]
ここでは、株価の変動プロセスなどの価格プロセス(確率過程)p(t)の観測データX(t)に含まれるノイズ(微細構造雑音)Zを、次の通り仮定する。
[1.1 微細構造雑音(Micorstructure Noise)]
ここでは、株価の変動プロセスなどの価格プロセス(確率過程)p(t)の観測データX(t)に含まれるノイズ(微細構造雑音)Zを、次の通り仮定する。
なお、ヴォラティリティ推定に関する多くの文献において、ノイズZ(t)は、価格プロセスp(t)と独立であると仮定している。しかし、本発明においては、そのような仮定は必要なく、Z(t)とp(t)とは独立であってもよいし、独立でなくてもよい。
[1.2 第1段目の平滑化]
ここで、観測データX(t)におけるノイズの影響を抑えるため、ヴォラティリティを推定するための本来の観測点{tk}の時間間隔Δよりも、微細な時間間隔の補助観測点として、{ti k,0≦k≦N,0≦i≦2M}を導入する(図1参照)。
第1段目の平滑化では、本来の観測点{tk}近傍の補助観測点{ti k}における2M個(複数の)補助観測データ{X(ti k)}を用いて、本来の観測点{tk}における観測データX(tk)の平滑化を行い、ノイズの影響を抑えた観測データを得る。
ここで、観測データX(t)におけるノイズの影響を抑えるため、ヴォラティリティを推定するための本来の観測点{tk}の時間間隔Δよりも、微細な時間間隔の補助観測点として、{ti k,0≦k≦N,0≦i≦2M}を導入する(図1参照)。
第1段目の平滑化では、本来の観測点{tk}近傍の補助観測点{ti k}における2M個(複数の)補助観測データ{X(ti k)}を用いて、本来の観測点{tk}における観測データX(tk)の平滑化を行い、ノイズの影響を抑えた観測データを得る。
時間間隔Δよりも微細時間間隔の補助観測点{ti k}は、下記式によって表される。なお、なお、ここでの微細時間間隔は、Δ/2Mである。また、下記式において、補助観測点{ti k}は、本来の観測点{tk}を含むものとなっているが、本来の観測点{tk}を含まなくても良い。
なお、第1段目の平滑化の上記式では、補助観測点{ti k}は、本来の観測点tkについて、対称的となっているが、本来の観測点tkのマイナス側(過去側)や、プラス側(将来側)だけにあってもよい。
将来側の補助観測データによる平滑化と、過去側の補助観測データによる平滑化は、下記のように表される。
以下では、補助観測点{ti k}が、本来の観測点tkについて、対称的となっている場合の平滑化について説明するが、これは、表記上の便宜によるものであり、本発明を限定するものではない。
将来側の補助観測データによる平滑化と、過去側の補助観測データによる平滑化は、下記のように表される。
また、第1段目の平滑化の本質は、ある観測点tk近傍の補助観測データX(ti k)で、当該観測点tkの観測データX(tk)を平滑化することであり、上記[数10]や[数12]の演算式に限定されるものではない。
例えば、図1では、観測点tkの観測データX(tk)を平滑化するための補助観測データX(ti k)として、観測点tk-1と観測点tk+1との間にある補助観測データを用いたが、一つ前の観測点tk-1よりもマイナス側(過去側)の補助観測データや、次の観測点tk+1よりもプラス側(将来側)の補助観測データを用いても良い。
例えば、図1では、観測点tkの観測データX(tk)を平滑化するための補助観測データX(ti k)として、観測点tk-1と観測点tk+1との間にある補助観測データを用いたが、一つ前の観測点tk-1よりもマイナス側(過去側)の補助観測データや、次の観測点tk+1よりもプラス側(将来側)の補助観測データを用いても良い。
さて、上記式におけるエラーeの強度の評価のため、係数a(・),b(・)の正則(regularity)について、下記の仮定をおく。
(仮定) 係数b(・)は、L2(Ω)−senseにおいてオーダα∈[0,1]のヘルダー連続であり、E|b(t)−b(s)|2 ≦ L2 B|t−s|2αとなる定数LBが存在する。
(仮定) 係数b(・)は、L2(Ω)−senseにおいてオーダα∈[0,1]のヘルダー連続であり、E|b(t)−b(s)|2 ≦ L2 B|t−s|2αとなる定数LBが存在する。
上記のように、[数10]ないし[数12]の式で第1段目の平滑化を行うと、誤差(エラー)を小さくすることができる。
[1.3 第2段目の平滑化]
第2段目の平滑化処理では、第1段目の平滑化処理で得られた
を、非特許文献1記載の推定スキームに適用して、ヴォラティリティ推定値を求める。
第1段目の平滑化処理によって、観測データX(t)から高周波雑音Z(t)の影響が除去されているため、観測データX(t)に高周波雑音Z(t)が含まれていても非特許文献1記載の推定スキーム(本実施形態における第2段目の平滑化)が適用可能となっている。
第2段目の平滑化処理では、第1段目の平滑化処理で得られた
第1段目の平滑化処理によって、観測データX(t)から高周波雑音Z(t)の影響が除去されているため、観測データX(t)に高周波雑音Z(t)が含まれていても非特許文献1記載の推定スキーム(本実施形態における第2段目の平滑化)が適用可能となっている。
第2段目の平滑化処理の本質は、ある観測点tkにおけるヴォラティリティを推定するために、当該観測点tkにおける
を、当該観測点tk近傍の複数(2L個)の観測点tk+l-L(tk-L〜tk+L)おける
によって、平滑化することである(図2参照)。
上記式では、将来分のL個の平滑化観測データが必要となるため、ある程度のリアルタイム性を有しているものの、完全なリアルタイム性には欠ける。第2段目の平滑化処理の演算を完全にリアルタイムで行うには、過去の2L個(複数個)の平滑化観測データを用いて行えばよく、その演算式は、下記の通りである。
[2. ヴォラティリティ推定装置]
図3〜図6は、実施形態に係るヴォラティリティ推定装置1及びその処理手順を示している。このヴォラティリティ推定装置1は、時系列の株価データなどの価格プロセスにおける各観測点tkの観測データX(tk)から、各観測点tkにおけるヴォラティリティb2(tk)の推定値を求めるものである。この推定は、先の数外的説明に従って実行される。
図3〜図6は、実施形態に係るヴォラティリティ推定装置1及びその処理手順を示している。このヴォラティリティ推定装置1は、時系列の株価データなどの価格プロセスにおける各観測点tkの観測データX(tk)から、各観測点tkにおけるヴォラティリティb2(tk)の推定値を求めるものである。この推定は、先の数外的説明に従って実行される。
本装置1では、ヴォラティリティを推定すべき本来の観測点{tk}での観測データ{X(tk)}の他、観測点{tk}の時間間隔Δよりも微細な時間間隔で観測した補助観測データ{X(ti k)}を、観測データとして取り扱う。
本実施形態においては、補助観測データ{X(ti k)}は、各観測点tkについて2M個必要とされるため、観測区間[0,T](例えば、オプション満期までの区間)における観測点tkの数をNとした場合、補助観測データ{X(ti k)}の総数は、2M×N個となる。ただし、各観測点{tk}について使用する補助観測データ{X(ti k)}を観測点{tk}間で共通化した場合、補助観測データ{X(ti k)}の総数は、2M×N個よりも少なくても良い。
[2.1 装置構成]
図3に示すように、本装置は、ヴォラティリティ推定の処理を行うコンピュータプログラム1を、ハードディスクなどの記憶装置に記憶したコンピュータ2によって構成されている。
コンピュータ2は、CPU21、RAM・ROMなどの内部記憶装置22、ハードディスクなどの外部記憶装置23、外部からデータの入力を受け付ける入力装置24、外部へデータを出力するための出力装置25などを有している。
図3に示すように、本装置は、ヴォラティリティ推定の処理を行うコンピュータプログラム1を、ハードディスクなどの記憶装置に記憶したコンピュータ2によって構成されている。
コンピュータ2は、CPU21、RAM・ROMなどの内部記憶装置22、ハードディスクなどの外部記憶装置23、外部からデータの入力を受け付ける入力装置24、外部へデータを出力するための出力装置25などを有している。
[2.2コンピュータプログラムの機能]
図4は、本装置の機能を示すブロック図である。これらの機能は、前記プログラム1がコンピュータ2において実行されることにより発揮される。
図4は、本装置の機能を示すブロック図である。これらの機能は、前記プログラム1がコンピュータ2において実行されることにより発揮される。
[2.2.1 観測データの平滑化処理部(第1段目の平滑化処理)]
図4に示すように、本装置は、時系列の株価データなどの観測データX(tk)と補助観測データX(ti k)とを受け取って観測データX(tk)の平滑化処理を行う平滑化処理部31を備えている。
平滑化処理部31は、前述の第1段目の平滑化処理を行うためのものであり、当該平滑化処理によって、観測データ(tk)に含まれている高周波雑音Z(tk)を除去することができる。
図4に示すように、本装置は、時系列の株価データなどの観測データX(tk)と補助観測データX(ti k)とを受け取って観測データX(tk)の平滑化処理を行う平滑化処理部31を備えている。
平滑化処理部31は、前述の第1段目の平滑化処理を行うためのものであり、当該平滑化処理によって、観測データ(tk)に含まれている高周波雑音Z(tk)を除去することができる。
ここで、観測データX(tk)は、離散的な観測点tkにおいて観測されたデータ(株価)である。各観測点tkにおける観測データX(tk)は、値の切り捨て、切り上げ、又は丸めによって、真値p(t)とのずれを含んでいる。このような、切り捨て、切り上げ、又は丸めは、各観測点tkにおいて相互に無関係に独立して発生する。これが、高周波雑音Z(tk)となる。
平滑化処理部31は、ヴォラティリティ推定のために、ある観測点tkにおける観測データX(tk)が与えられた場合、その観測点tk近傍の補助観測データX(ti k)を用いて、その観測データX(tk)の平滑化を行う。
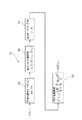
図5に示すように、平滑化処理部31は、時間間隔Δで逐次発生する観測データX(tk)を取得して蓄積するための観測データX(tk)用のバッファ(記憶部)31aと、観測データX(tk)よりも微細時間間隔で逐次発生する補助観測データX(ti k)を取得して蓄積するための補助観測データX(ti k)用バッファ(記憶部)31bと、を備えている。
また、平滑化処理部31は、バッファ31a,31bに蓄積されたデータを用いて、観測点tkにおける観測データX(tk)を平滑化する演算を行う演算部31cを備えている。この演算部31cは、[数10]又は[数12]の演算式に従って、演算を行う。
また、平滑化処理部31は、バッファ31a,31bに蓄積されたデータを用いて、観測点tkにおける観測データX(tk)を平滑化する演算を行う演算部31cを備えている。この演算部31cは、[数10]又は[数12]の演算式に従って、演算を行う。
具体的には、図1に示すように、演算部31cは、ある観測点tkにおける観測データX(tk)が、バッファ31aから与えられた場合、バッファ31bから、観測点tk近傍の2M個の補助観測データX(ti k)を取得して演算を行う。
ここで、Mは、観測区間[0,T](例えば、オプション満期までの区間)における観測点tkの数Nよりも、(十分に)多いのが好ましい。このようにすることで、ヴォラティリティ推定値の推定誤差を小さくすることができる。
ここで、Mは、観測区間[0,T](例えば、オプション満期までの区間)における観測点tkの数Nよりも、(十分に)多いのが好ましい。このようにすることで、ヴォラティリティ推定値の推定誤差を小さくすることができる。
より完全なリアルタイム性を重視する場合、観測点tkよりも過去の補助観測データX(ti k)だけをバッファ31bから取得する。
リアルタイム性が多少損なわれてもよい場合、過去の補助観測データX(ti k)だけでなく、将来の補助観測データX(ti k)を用いて平滑化してもよい。この場合、演算部31cは、観測点tkよりも将来において発生する補助観測データX(ti k)がバッファ31bに蓄積されるまで待機し、必要な補助観測データX(ti k)が蓄積されたら、それをバッファ31bから取得し、平滑化を行う。
[2.2.2 平滑化観測データに基づくヴォラティリティ推定(第2段目の平滑化処理)]
図4に示すように、本装置は、平滑化された観測データに基づいて、ヴォラティリティ推定(第2段目の平滑化処理)を行うヴォラティリティ推定部32を備えている。
図4に示すように、本装置は、平滑化された観測データに基づいて、ヴォラティリティ推定(第2段目の平滑化処理)を行うヴォラティリティ推定部32を備えている。
ヴォラティリティ推定部32は、平滑化処理部31から出力された平滑化観測データを蓄積する平滑化観測データ用バッファ(記憶部)32aを備えている。このバッファ32aは、過去の各観測点tkにおける平滑化観測データが蓄積される。
また、ヴォラティリティ推定部32は、ヴォラティリティを推定すべき観測点tkにおける平滑化観測データと、その次の観測点tk+1における平滑化観測データと、の差分を求める差分演算部32bを備えている。
差分演算部32によって算出された差分値は、差分用バッファ(記憶部)32cに蓄積される。このバッファ32cには、各観測点について算出された差分値が蓄積される。
さらに、ヴォラティリティ推定部32は、前記差分値を用いて、[数24]又は[数25]の演算式に従って、ヴォラティリティ推定値を算出する推定値演算部32dを備えている。
具体的には、推定値演算部32dは、ヴォラティリティを推定しようとする観測点tkの差分値の他、その近傍の2L個(複数個)の観測点における差分値をバッファ32cから取得し、取得した差分値を用いて、[数24]又は[数25]の演算式に従った演算を行い、ヴォラティリティ推定値を出力する。
ここで、Lは、観測区間[0,T]における観測点tkの数Nよりも、(十分に)少ないのが好ましい。このようにすることで、ヴォラティリティ推定値の推定誤差を小さくすることができる。
具体的には、推定値演算部32dは、ヴォラティリティを推定しようとする観測点tkの差分値の他、その近傍の2L個(複数個)の観測点における差分値をバッファ32cから取得し、取得した差分値を用いて、[数24]又は[数25]の演算式に従った演算を行い、ヴォラティリティ推定値を出力する。
ここで、Lは、観測区間[0,T]における観測点tkの数Nよりも、(十分に)少ないのが好ましい。このようにすることで、ヴォラティリティ推定値の推定誤差を小さくすることができる。
より完全なリアルタイム性を求める場合、推定値演算部32dは、[数25]の演算式に従い、観測点tkよりも過去側(マイナス側)の観測点における差分値をバッファ32cから取得して、演算を行えばよい。
一方、リアルタイム性が多少損なわれてもよい場合、過去の観測点における差分値だけでなく、将来の観測点における差分値を用いて平滑化してもよい。この場合、推定値演算部32dは、観測点tkよりも将来の観測点における差分値がバッファ32cに蓄積されるまで待機し、必要な差分値が蓄積されたら、それをバッファ32cから取得し、ヴォラティリティの推定を行う。
一方、リアルタイム性が多少損なわれてもよい場合、過去の観測点における差分値だけでなく、将来の観測点における差分値を用いて平滑化してもよい。この場合、推定値演算部32dは、観測点tkよりも将来の観測点における差分値がバッファ32cに蓄積されるまで待機し、必要な差分値が蓄積されたら、それをバッファ32cから取得し、ヴォラティリティの推定を行う。
推定値演算部32dは、ヴォラティリティの推定値を演算するとそれを出力する。出力されたヴォラティリティ推定値は、精度が高く、各種オプションのような金融派生商品の適切な価格付けや、ポートフォリオの評価の作業、さらにはポートフォリオの最適化構築作業を適切に行うことができる。
なお、本発明は、上記実施形態に限定されるものではなく、様々な変形が可能である。
例えば、上記実施形態において、本来の観測点の時間間隔や補助観測点の時間間隔は、表記の都合上、等間隔としたが、等間隔である必要はなく、不規則な間隔であってもよい。
例えば、上記実施形態において、本来の観測点の時間間隔や補助観測点の時間間隔は、表記の都合上、等間隔としたが、等間隔である必要はなく、不規則な間隔であってもよい。
また、上記実施形態では、第1段目の平滑化のための演算において、2M+1個のX(ti k)の総和(2M個の補助観測点及び1個の本来の観測点の総和)を、その総数(2M+1)で除することによって、2M+1個のX(ti k)の単純平均を求めているが、平滑化はこれに限られるものではなく、例えば、重み付き平均を求めることによる平滑化であってもよい。さらに、第2段目の平滑化においても、単純平均ではなく、重み付き平均を求めて、平滑化を行っても良い。
さらに、上記実施形態では、一つのランダムプロセス(一銘柄の株価の時系列データ)に関するヴォラティリティを求めているが、本発明は、複数(n個)のランダムプロセスからなるn次元のプロセスに適用することも可能である。
31 平滑化処理部
31a 観測データ用バッファ
31b 補助観測データ用バッファ
31c 演算部
32 ヴォラティリティ推定部
32a 平滑化観測データ用バッファ
32b 差分演算部
32c 差分用バッファ
33d 推定値演算部
tk 本来の観測点
ti k 補助観測点
X(tk) 本来の観測データ
X(ti k) 補助観測データ
Δ 本来の観測点間の時間間隔
31a 観測データ用バッファ
31b 補助観測データ用バッファ
31c 演算部
32 ヴォラティリティ推定部
32a 平滑化観測データ用バッファ
32b 差分演算部
32c 差分用バッファ
33d 推定値演算部
tk 本来の観測点
ti k 補助観測点
X(tk) 本来の観測データ
X(ti k) 補助観測データ
Δ 本来の観測点間の時間間隔
Claims (8)
- ランダムプロセスにおける離散的な観測点(tk)での観測データ(X(tk))に基づいて、前記観測点(tk)におけるヴォラティリティを推定する装置であって、
各観測点間の時間間隔(Δ)よりも微細な時間間隔の補助観測点(ti k)で観測された補助観測データ(X(ti k))を取得して記憶する補助観測データ記憶手段(31a)と、
前記補助観測データ記憶手段(31a)から前記観測点(tk)近傍の補助観測データ(X(ti k))を取得し、取得した補助観測データ(X(ti k))によって前記観測点(tk)における観測データ(X(tk))を平滑化した平滑化観測データを算出する第1の演算手段(31c)と、
第1の演算手段(31c)によって得られた各観測点(tk)の平滑化観測データを記憶する平滑化データ記憶手段(32a)と、
前記平滑化データ記憶手段(32a)に記憶されている平滑化観測データを用いて、前記観測点(tk)におけるヴォラティリティを推定するための演算を行う第2の演算手段(32b,32c,32d)と、
を備えていることを特徴とするヴォラティリティ推定装置。 - 前記第2の演算手段(32b,32c,32d)は、
ヴォラティリティを推定しようとする対象観測点(tk)の次の観測点(tk+1)における平滑化観測データと、前記対象観測点(tk)における平滑化観測データと、の差分を、各観測点間の前記時間間隔(Δ)で除した演算値を、前記対象観測点(tk)近傍の他の観測点について求めた前記演算値によって平滑化することで、ヴォラティリティの推定値を算出するものである
請求項1記載のヴォラティリティ推定装置。 - 前記第1の演算手段(31c)は、前記観測点(tk)よりも過去の補助観測データ(X(ti k))だけを用いて平滑化するものである請求項1又は2記載のヴォラティリティ推定装置。
- 前記第2の演算手段(32b,32c,32d)は、前記対象観測点(tk)よりも過去の観測点について求めた前記演算値だけを用いて平滑化をするものである請求項2記載のヴォラティリティ推定装置。
- 前記第1の演算手段による平滑化は、前記観測点(tk)における観測データ(X(tk))と前記観測点(tk)近傍の補助観測データ(X(ti k))との総和を求め、当該総和を、前記観測点(tk)及び前記観測点(tk)近傍の補助観測点(ti k)の総数(2M+1)で除する演算を含むものである請求項1〜4のいずれか1項に記載のヴォラティリティ推定装置。
- 前記第2の演算手段による平滑化は、前記観測点(tk)について求めた前記演算値と前記観測点(tk)近傍の観測点(tk+l-L)について求めた前記演算値との総和を求め、当該総和を、前記観測点(tk)及び前記観測点(tk)近傍の観測点(tk+l-L)の総数(2L+1)で除する演算を含むものである請求項2又は4記載のヴォラティリティ推定装置。
- コンピュータを、請求項1〜6のいずれかに記載のヴォラティリティ推定装置として機能させるためのコンピュータプログラム。
- ランダムプロセスにおける離散的な観測点(tk)での観測データ(X(tk))に基づいて、前記観測点(tk)におけるヴォラティリティを推定する演算を、コンピュータが実行する方法であって、
各観測点間の時間間隔(Δ)よりも微細な時間間隔の補助観測点(ti k)で観測された補助観測データ(X(ti k))を記憶するステップと、
前記観測点(tk)近傍の補助観測データ(X(ti k))によって前記観測点(tk)における観測データ(X(tk))を平滑化した平滑化観測データを算出して記憶するステップと、
前記平滑化データ記憶手段(32a)に記憶されている平滑化観測データを用いて、前記観測点(tk)におけるヴォラティリティを推定する演算を行って、その推定値を出力するステップと、
を含むことを特徴とするヴォラティリティ推定方法。
Priority Applications (1)
| Application Number | Priority Date | Filing Date | Title |
|---|---|---|---|
| JP2008162810A JP5263736B2 (ja) | 2008-06-23 | 2008-06-23 | ヴォラティリティの推定装置、及びそのコンピュータプログラム、並びにヴォラティリティ推定方法 |
Applications Claiming Priority (1)
| Application Number | Priority Date | Filing Date | Title |
|---|---|---|---|
| JP2008162810A JP5263736B2 (ja) | 2008-06-23 | 2008-06-23 | ヴォラティリティの推定装置、及びそのコンピュータプログラム、並びにヴォラティリティ推定方法 |
Publications (2)
| Publication Number | Publication Date |
|---|---|
| JP2010003196A true JP2010003196A (ja) | 2010-01-07 |
| JP5263736B2 JP5263736B2 (ja) | 2013-08-14 |
Family
ID=41584845
Family Applications (1)
| Application Number | Title | Priority Date | Filing Date |
|---|---|---|---|
| JP2008162810A Expired - Fee Related JP5263736B2 (ja) | 2008-06-23 | 2008-06-23 | ヴォラティリティの推定装置、及びそのコンピュータプログラム、並びにヴォラティリティ推定方法 |
Country Status (1)
| Country | Link |
|---|---|
| JP (1) | JP5263736B2 (ja) |
Citations (4)
| Publication number | Priority date | Publication date | Assignee | Title |
|---|---|---|---|---|
| JP2004519753A (ja) * | 2000-08-18 | 2004-07-02 | アテナ キャピタル アドバイザーズ インコーポレーテッド | 資産の予想される将来の価格に関する情報の生成および提供ならびに資産情報の視覚化 |
| WO2006035507A1 (ja) * | 2004-09-29 | 2006-04-06 | National Institute Of Information And Communications Technology | 有価証券取引支援システム |
| JP2009528634A (ja) * | 2006-03-01 | 2009-08-06 | タウンセンド・アナリティクス・リミテッド | リスク管理のための方法およびシステム |
| JP2009535702A (ja) * | 2006-04-28 | 2009-10-01 | タウンセンド・アナリティクス・リミテッド | 電子証券取引のための注文管理システム及び方法 |
-
2008
- 2008-06-23 JP JP2008162810A patent/JP5263736B2/ja not_active Expired - Fee Related
Patent Citations (4)
| Publication number | Priority date | Publication date | Assignee | Title |
|---|---|---|---|---|
| JP2004519753A (ja) * | 2000-08-18 | 2004-07-02 | アテナ キャピタル アドバイザーズ インコーポレーテッド | 資産の予想される将来の価格に関する情報の生成および提供ならびに資産情報の視覚化 |
| WO2006035507A1 (ja) * | 2004-09-29 | 2006-04-06 | National Institute Of Information And Communications Technology | 有価証券取引支援システム |
| JP2009528634A (ja) * | 2006-03-01 | 2009-08-06 | タウンセンド・アナリティクス・リミテッド | リスク管理のための方法およびシステム |
| JP2009535702A (ja) * | 2006-04-28 | 2009-10-01 | タウンセンド・アナリティクス・リミテッド | 電子証券取引のための注文管理システム及び方法 |
Also Published As
| Publication number | Publication date |
|---|---|
| JP5263736B2 (ja) | 2013-08-14 |
Similar Documents
| Publication | Publication Date | Title |
|---|---|---|
| Gaivoronski et al. | Value-at-risk in portfolio optimization: properties and computational approach | |
| US8595155B2 (en) | Kernel regression system, method, and program | |
| JP2009116869A (ja) | エンティティ関係マイニング装置および方法 | |
| US20020184082A1 (en) | Customer satisfaction evaluation method and storage medium that stores evaluation program | |
| JP2010122825A (ja) | データ予測装置、データ予測方法、データ予測プログラム | |
| JP2008003920A (ja) | 時系列データの予測・診断装置およびそのプログラム | |
| Belomestny et al. | Regression methods for stochastic control problems and their convergence analysis | |
| JP6993909B2 (ja) | 連続最適化問題の大域的探索装置及びプログラム | |
| JP4981976B1 (ja) | 変動値予測システム、在庫管理システム、プログラム、記憶媒体 | |
| JP4937608B2 (ja) | 指標推計装置、指標推計方法、及び指標推計プログラム | |
| JP6065297B2 (ja) | 特許評価装置および発明者評価装置 | |
| Fioruci et al. | The optimised theta method | |
| JP5263736B2 (ja) | ヴォラティリティの推定装置、及びそのコンピュータプログラム、並びにヴォラティリティ推定方法 | |
| Gabaix et al. | HIE RR | |
| JPH10240715A (ja) | 予測・推定装置及び予測・推定方法 | |
| JP6729703B2 (ja) | 情報提示方法、装置、及びプログラム | |
| JP2018067227A (ja) | データ分析装置、データ分析方法、データ分析処理プログラム | |
| Yu et al. | Comment on article by Spokoiny, Wang and Härdle | |
| WO2015145555A1 (ja) | 確率推論システム | |
| JP5826893B1 (ja) | 変化点予測装置、変化点予測方法、及びコンピュータプログラム | |
| Chowdhury et al. | A new lifetime distribution with applications in inventory and insurance | |
| JPWO2016006372A1 (ja) | 集荷量調整支援装置、集荷量調整支援方法、及びプログラム | |
| JP6076272B2 (ja) | 標準作業時間推定装置及びプログラム | |
| JP4903628B2 (ja) | 鋼板トリム代設計支援システム、鋼板トリム代設計支援方法、コンピュータプログラム、及びコンピュータ読み取り可能な記録媒体 | |
| JP5816143B2 (ja) | 材質推定値評価システム、材質推定値評価方法、及びコンピュータプログラム |
Legal Events
| Date | Code | Title | Description |
|---|---|---|---|
| A621 | Written request for application examination |
Free format text: JAPANESE INTERMEDIATE CODE: A621 Effective date: 20110621 |
|
| A977 | Report on retrieval |
Free format text: JAPANESE INTERMEDIATE CODE: A971007 Effective date: 20130326 |
|
| TRDD | Decision of grant or rejection written | ||
| A01 | Written decision to grant a patent or to grant a registration (utility model) |
Free format text: JAPANESE INTERMEDIATE CODE: A01 Effective date: 20130409 |
|
| A61 | First payment of annual fees (during grant procedure) |
Free format text: JAPANESE INTERMEDIATE CODE: A61 Effective date: 20130422 |
|
| R150 | Certificate of patent or registration of utility model |
Free format text: JAPANESE INTERMEDIATE CODE: R150 |
|
| LAPS | Cancellation because of no payment of annual fees |
