JP2010002768A - 画像形成装置 - Google Patents

画像形成装置 Download PDF

Info

Publication number
JP2010002768A
JP2010002768A JP2008162449A JP2008162449A JP2010002768A JP 2010002768 A JP2010002768 A JP 2010002768A JP 2008162449 A JP2008162449 A JP 2008162449A JP 2008162449 A JP2008162449 A JP 2008162449A JP 2010002768 A JP2010002768 A JP 2010002768A
Authority
JP
Japan
Prior art keywords
tray
developing device
drum cartridge
image forming
amount
Prior art date
Legal status (The legal status is an assumption and is not a legal conclusion. Google has not performed a legal analysis and makes no representation as to the accuracy of the status listed.)
Granted
Application number
JP2008162449A
Other languages
English (en)
Other versions
JP5088573B2 (ja
Inventor
Hideto Sakurai
英人 櫻井
Current Assignee (The listed assignees may be inaccurate. Google has not performed a legal analysis and makes no representation or warranty as to the accuracy of the list.)
Konica Minolta Business Technologies Inc
Original Assignee
Konica Minolta Business Technologies Inc
Priority date (The priority date is an assumption and is not a legal conclusion. Google has not performed a legal analysis and makes no representation as to the accuracy of the date listed.)
Filing date
Publication date
Application filed by Konica Minolta Business Technologies Inc filed Critical Konica Minolta Business Technologies Inc
Priority to JP2008162449A priority Critical patent/JP5088573B2/ja
Publication of JP2010002768A publication Critical patent/JP2010002768A/ja
Application granted granted Critical
Publication of JP5088573B2 publication Critical patent/JP5088573B2/ja
Expired - Fee Related legal-status Critical Current
Anticipated expiration legal-status Critical

Links

Images

Landscapes

  • Electrophotography Configuration And Component (AREA)

Abstract

【課題】 トレイ34に取り付けられた現像装置30とドラムカートリッジ21を簡単な操作により個別に交換できる画像形成装置を提供する。
【解決手段】 ドラムカートリッジ21および現像装置30の一方30のトレイ34に対する取り外し阻止状態が解除されるトレイ34の第1の引き出し量と、他方21の取り外し阻止状態が解除されるトレイ34の第2の引き出し量とを異なるように設定する。これにより、トレイ34に取り付けられたドラムカートリッジ21および現像装置30が同時に取り外される事態を回避することができる。
【選択図】図4

Description

この発明は、複写機、FAX、プリンタ等の電子写真方式を適用した記録機器、表示装置等に適用される画像形成装置に関する。
電子写真方式の画像形成装置では、プロセス実行のために、感光体ドラム等の像担持体と、像担持体を一様に帯電するための帯電装置と、表面の電荷を静電潜像化するための露光装置と、静電潜像を現像剤(以下、トナーという。)によって可視像にするための現像装置と、像担持体上の可視像を記録材等の媒体に電気的・機械的に転移させるための転写装置と、像担持体上に転写装置による転移動作において残留したトナーを除去するための清掃装置と、記録材上の可視化されたトナーを熱や圧力によって永久的に定着させる定着装置とを備えている。
このうち、像現担持体、帯電装置、露光装置、現像装置、転写装置、清掃装置を含む構成は、「プロセスユニット」と称されているが、それら各プロセスの各装置が全てに一体である必要はなく、像担持体、帯電装置、清掃装置、現像装置を一体化したプロセスユニットを用いた画像形成装置が一般的である。
各プロセスの各装置は、とくにフルカラー出力の増加に伴い、装置の小形化および高速化が推進されており、さらに、長寿命化、高信頼性化、高画質化および低価格化が求められている。
現像装置については、一般的には、トナーとキャリアを混合したものを用いる、いわゆる二成分現像方式が主流であり、トナーを補給し続けることにより、長時間画像を出力することが可能である。
しかしながら、そのような二成分現像方式においては、キャリアが時間経過の伴って劣化していくという問題があった。
そこで、近年、主に長寿命化や高信頼性化の観点から、トナー以外にもキャリア材を適時補給して、余剰なキャリア材を排出することにより、時間経過に伴って劣化していったキャリア材をある確率で入れ換えて劣化を抑制できる「トリクル方式」の現像装置を搭載した画像形成装置が増えつつある。
このように、二成分現像方式は、「トリクル方式」を採用することにより長寿命と高信頼性が得られるが、像担持体の磨耗、帯電装置の汚れ、清掃装置のクリーニングブレードの磨耗については、現在のところ技術的な対応策があまり進まず、このため、像担持体、帯電装置および清掃装置については、あまり高寿命化が期待できない。
従って、これら像担持体、帯電装置および清掃装置をドラムカートリッジとして一体化したもので前記トリクル方式を採用する場合は、ドラムカートリッジと現像装置とを一体化することにより交換の手間は軽減されるが、ドラムカートリッジと現像装置の寿命が異なることから、両者を一緒に交換するのは資源の無駄であり、このため、ドラムカートリッジと現像装置を別体構成にする必要がある。すなわち、ドラムカートリッジと現像装置を別体に構成した場合には、ドラムカートリッジと現像装置の双方を簡単に交換できる構成が望ましい。
このために、従来、例えば寿命の短いプロセスユニットを優先して交換できる位置に配置するようにした技術が提案されている(例えば、特許文献1参照)。
また、ドラムカートリッジと現像装置が一体となった状態で機外へ取り出し、機外では容易に分離できるようにした技術が提案されている(例えば、特許文献2参照)
特開平5−289428号公報 特開2003−114601号公報
しかしながら、前記特許文献1の技術においては、寿命の長いプロセスユニットについては容易に交換できないことになる。
また、前記特許文献2の技術においては、ドラムカートリッジと現像装置とを取り出して分離する際、そのための作業スペースを確保しておかなければならず、さらに、機外に限って両者の分離が簡易に行える構成になっていると、機外での交換作業中にドラムカートリッジと現像装置とが分離して落下させて破損させる等のおそれがある。
この発明は、上記実情に鑑みてなされたものであり、トレイを介して取り付けられた現像装置とドラムカートリッジを簡単な操作により個別に交換できる画像形成装置を提供することを課題としている。
上記課題は、以下の手段によって解決される。
[1]ドラムカートリッジと、
現像装置と、
装置本体に対して引き出し可能に配備されたトレイと、
前記ドラムカートリッジおよび現像装置の一方を、前記トレイから取り外すことが阻止された取り外し阻止状態となるように前記トレイに取り付けるとともに、前記トレイが第1の引き出し量だけ引き出された位置においてのみ前記一方の取り外し阻止状態を解除する第1取付手段と、
前記ドラムカートリッジおよび現像装置の他方を、前記トレイから取り外すことが阻止された取り外し阻止状態となるように前記トレイに取り付けるとともに、前記トレイが前記第1の引き出し量とは異なる第2の引き出し量だけ引き出された位置においてのみ前記他方の取り外し阻止状態を解除する第2取付手段と、
を備えていることを特徴とする画像形成装置。
[2]前記第1取付手段は、前記他方がトレイから取り外されていなければ、前記一方の取り外し阻止状態を解除しないように構成されている前項[1]に記載の画像形成装置。
[3]前記第1の引き出し量は、前記第2の引き出し量よりも小さく設定されている前項[2]に記載の画像形成装置。
[4]前記第2取付手段は、前記他方を前記一方に取り付けることにより、前記一方を介して前記トレイに取り付けられるように構成されている前項[2]または[3]に記載の画像形成装置。
前項[1]に記載の発明によれば、ドラムカートリッジおよび現像装置の一方のトレイに対する取り外し阻止状態が解除されるトレイの第1の引き出し量と、他方の取り外し阻止状態が解除されるトレイの第2の引き出し量とが異なるため、トレイに取り付けられたドラムカートリッジおよび現像装置が同時に取り外される事態を回避することができる。すなわちトレイに取り付けられたドラムカートリッジおよび現像装置のいずれかを先に取り外すため、トレイを第1の引き出し量または第2の引き出し量とした際、後に取り外す方の取り外し阻止状態が解除されない。このため、後に残す方をトレイに確実に留めながら、片方のみをトレイから取り外すことができる。
前項[2]に記載の発明によれば、ドラムカートリッジおよび現像器の他方がトレイから取り外されていなければ、一方の取り外し阻止状態が解除されないため、他方の後に一方を取り外すという予め設定された順番に反して、これらが取り外される事態を回避することができる。
前記[3]に記載の発明によれば、第1の引き出し量が第2の引き出し量よりも小さく設定されているため、先に他方を取り外すべくトレイを第2の引き出し量まで引き出した後、トレイを第1の引き出し量にまで戻す操作を行わなければ
一方が外れることがないので先に他方を取り外した後、一方が意図せず外れてしまう事態を軽減することができる。
前記[4]に記載の発明によれば、他方は一方を介してトレイに取り付けられるため、ドラムカートリッジと現像装置とが直接に結合され、両者の位置関係を適正に保つことができ、安定した画像形成に寄与することができる。
以下、この発明の一実施形態を図面に基づいて説明する。
図1は、フルカラー電子写真方式の画像形成装置を示す概略断面図であり、また、図2は、同じく画像形成装置に用いられるプロセスユニットを示す概略断面図である。
図1および図2において、この画像形成装置20は、感光体ドラム等の像担持体1と、像担持体1の表面を一様に帯電し電位を形成するための帯電装置2と、帯電装置2によって所望の電位まで帯電された像担持体1の表面に、所定の静電潜像を形成するために光を照射する像露光装置3と、静電潜像が形成された領域にトナーを電界等によって付着させて鏡像化するための現像器4とがそれぞれ複数配設され、各鏡像化された像担持体1上の粉体を順次、中間転写体といわれる、いわゆる転写ベルト5上へ電界・圧力によって移動させるための1次転写装置6と、転写ベルト5上の粉体を電界・圧力によって記録紙等の記録媒体11上に移動させるための2次転写装置7と、記録媒体11上に移動した粉体を熱や圧力によって永久的に固定するための定着装置8とから構成されている。
一方、1次転写装置6において、転写ベルト5上に完全に粉体が移動しきれず、像担持体1上に僅かながら残ってしまう場合がある。この時、像担持体1上に残留した残留粉体を清掃装置9により該像担持体1上から電気的・機械的に除去し、この後、徐電装置12により像担持体1に対して再び帯電工程を行う。
また、転写ベルト5上に形成された鏡像画像について、2次転写装置7において完全に粉体が記録媒体上に移動しきれないことから、転写ベルト5上に僅かながら残留粉体として残ってしまう場合があり、これは転写ベルト清掃装置10によって電気的・機械的に除去される。
カラー画像を形成するために、例えばイエロー(Y)、マゼンタ(M)、シアン(C)、ブラック(K)のような各色の画像形成ユニットを図1に示すように、複数個用いて配列する場合もあれば、モノクロ画像のみを形成するために一つの画像形成装置ユニットを単独で配設する場合もある。
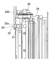
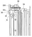
図3は、ドラムカートリッジ21と現像装置30とを備えたプロセスユニット部を示す外観斜視図である。
図3において、このプロセスユニット部は、トレイ34と、トレイ34を介して収容される像担持体1を含むドラムカートリッジ21と、現像器4を含む現像装置30と、これらドラムカートリッジ21および現像器4が取り付けられるトレイ34とを備えている。
なお、この実施形態では、ドラムカートリッジ21は、像担持体1や帯電装置(図1,図2)等を備えたユニットとして構成されているが、本発明におけるドラムカートリッジ21の概念は、少なくとも像担持体1を備えていればよい。
また、この実施形態では、現像装置30は、前記現像ローラ31を有する現像器4やトナー供給部(図示せず)等を備えているが、本発明における現像装置の概念は、少なくとも現像ローラ31を備えていればよい。

画像形成装置20における装置本体20Aの側壁内面には、装置本体20Aに対して前後方向へ変移可能な可動部材200が保持されている。この可動部材200の内面には、その長手方向(前後方向)へ沿ってトレイ摺動用レールが固定されている。
前記トレイ34の側壁外面には、前記トレイ摺動用レールに嵌合するスライダレール341が固定されており、トレイ34は、このスライダレール341を介してレールに沿って前後方向へ変移可能に設定されている。これにより、前記トレイ34は、装置本体20Aに対して引き出し可能となっている。
またこの画像形成装置20は、前記ドラムカートリッジ21および現像装置30のうち一方である現像装置30をトレイ34に取り付ける第1取付手段と、他方であるドラムカートリッジ21をトレイ34に取り付ける第2取付手段とを備えている。
前記第1取付手段は、現像装置30をトレイ34から取り外すことが阻止された取り外し阻止状態となるようにトレイ34に取り付ける。そして、この第1取付手段は、トレイ34が後述する所定の第1の引き出し量だけ引き出された位置においては、現像装置30の取り外し阻止状態を解除して、トレイ34から取り外すことを可能とするように構成されている。
この第1取付手段は、この実施形態では、現像装置30を上方に持ち上げることを規制することでトレイ34から取り外すことが阻止されるように構成されており、現像装置30の片側、画像形成装置20正面に向かって左側において、現像装置30をトレイ34の上方に持ち上げることを規制する第1の持ち上げ規制部50と、現像装置30の反対側、この実施形態では右側において、現像装置30をトレイ34から持ち上げることを規制する第2の持ち上げ規制部40と、を備えている。
前記第1の持ち上げ規制部50は、現像装置30の左側を上方へ持ち上げることを規制するものであり、例えば装置本体20A側(具体的には、前記可動部材200)に固定された逆L字形固定部材32と、現像装置30の下面側に設けられた突起部材33とを有している。
前記逆L字形固定部材32は、その先端部32aが図3および図5に示すように、現像装置30の左側端部上面に対向するように右向きに突出しており、現像装置30の上面と干渉することで現像装置30の上方への持ち上げを規制している。
前記突起部材33は、現像装置30が図3に示すように、トレイ34に取り付けられた状態において、トレイ34のスライダレール341の下側に入り込み、このスライダレール341に下側から干渉することで、現像装置30の上方への持ち上げを規制している。
前記第2の持ち上げ規制部40は、現像装置30の右側を上方へ持ち上げることを規制するものであり、図4および図9に示すように、前記トレイ34の前部に位置して底壁内面に立設された係合片402を備えている。
前記係合片402は、前記現像装置30がトレイ34上の所定位置にセットされた際に、図9に示すように、現像装置30の前部側壁に突設されている上下のリブ301,302間に入り込んで現像装置30が持ち上げられることを規制している。
これら第1取付手段を構成する要素の内、この突起部材33とスライダレース341の干渉と、係合片402とリブ301,302との係合は、トレイ34に対して現像装置30を前方に僅かに引き出し操作することによって解除される。
これに対し、前記逆L字形固定部材32と現像装置30の上面とは、現像装置30がセットされたトレイ34を所定の第1の引き出し量だけ引き出した位置(図6の状態)においてのみ干渉状態が解消され、現像装置30を持ち上げることができるようになっている。
具体的には、現像装置30の上面奥部に側壁面を若干抉るように溝部51が設けられており、現像装置30がセットされたトレイ34を、装置本体側20Aの逆L字形固定部材32の先端部32aと、現像装置30側の溝部51とが一致する第1の引き出し量となる引き出し位置(図6の状態)まで引き出すことで、現像装置30の取り外し阻止状態を解除できるようになっている。
逆に、この逆L字形固定部材32を含む第1取付手段は、この第1の引き出し量となる引き出し位置以外では、現像装置30の取り外し阻止状態を維持するようになっている。
さらにこの第1取付手段は、トレイ34にドラムカートリッジ21が取り付けられている状態では、ドラムカートリッジ21は現像装置30の上側に位置するようになっていることで、ドラムカートリッジ21が装置本体20Aと干渉することにより、現像装置30をトレイ34から取り外せないように、すなわち現像装置30の取り外し阻止状態が解除されないようになっている。
前記第2取付手段は、ドラムカートリッジ21をトレイ34から取り外すことが阻止された取り外し阻止状態となるようにトレイ34に取り付ける。そして、この第1取付手段は、トレイ34が後述する所定の第2の引き出し量だけ引き出された位置においては、ドラムカートリッジ21の取り外し阻止状態を解除して、トレイ34から取り外すことを可能とするように構成されている。
この第2取付手段は、ドラムカートリッジ21をトレイ34に取り付けるものであるが、この実施形態では、ドラムカートリッジ21を先にトレイ34に取り付けられた現像装置30に取り付けるようになっており、ドラムカートリッジ21を現像装置30に接合させる接合部60を有している。すなわちこの実施形態では、ドラムカートリッジ21は現像装置30を介してトレイ34に取り付けるようになっている。
前記接合部60は、この実施形態では、ドラムカートリッジ21の長手方向(前後方向)両端部に配置された前後一対のレバー部材62,62を有している。
このレバー部材62,62は、図3に示すように、ドラムカートリッジ21に設けられた枢軸61を介して左右方向へ揺動可能に枢支されており、その下端側には、現像装置30の現像ローラ軸(図示せず)の下側に入り込んで抱き持ち状態に係合するかぎ形係合部62a,62aが形成されている。
これら一対のレバー部材62,62には、ばね(図示せず)によって前記現像ローラ軸に係合する方向へのばね力が付勢されている。
これら一対のレバー部材62,62の各上端部22は、ばね力に抗しての押し込み操作によって前記係止部62a,62aの係止状態を解除する解除操作部として構成されており、係止部62a,62aの係止状態の解除によって、現像装置30に対してドラムカートリッジ21の接合状態が解除されるようになっている。
また第2取付手段は、所定の第2の引き出し量の引出位置にない限りドラムカートリッジ21の取り外し阻止状態を解除しない取り外し阻止部80を有している。
この取り出し阻止部80は、図8に示すように、例えば装置本体20Aの外装部から構成されており、ドラムカートリッジ21の上面側と干渉することにより、ドラムカートリッジ21の取り外しを阻止するようになっている。
この取り外し阻止部80による取り外し阻止状態は、ドラムカートリッジのセットされたトレイ34を最外部まで引き出した位置において、取り外し阻止部80とドラムカートリッジ21との干渉が解消されて、解除されるようになっている。
すなわち、この実施形態では、第2の引き出し量の引出位置は、トレイを最外部まで引き出した位置となっており、ここから少しだけトレイを引き戻した位置である上述した第1の引き出し量の引出位置とは異なるようになっている。
このためトレイ34の第1の引き出し量の位置(図5)では、接合部60によるドラムカートリッジ21と現像装置30との接合が解除できれも、ドラムカートリッジ21は取り出すことができない。
つぎに、前記ドラムカートリッジ21および現像装置30を装脱着する手順について説明する。
ドラムカートリッジ21や現像装置30をトレイ34に取り付ける場合、まず、トレイ34を装置本体20A側から引き出す。
前記現像装置30を後方へ移動させて前記突起部材33をレール341の下側に入り込ませるとともに、装置本体20A側の逆L字形固定部材32の先端部32aの下側に現像装置30が位置するように、前記先端部32aを現像装置30の溝部51で回避させるようにトレイ34の引出位置を第1の引き出し量に対応する位置まで後方へ変移させれば、現像装置30がトレイ34上の所定位置にセットされる。
このセット状態では、前記逆L字形固定部材32の先端部32aが現像装置30の左側端部上面に対向した状態になり、さらに、前記突起部材33をレール341の下側に入り込んでおり、また、前記トレイ34上の係合片402が現像装置30の上下一対のリブ301,302間に入り込む。これにより、現像装置30はトレイ上34にセットされる。
トレイ34の引出位置を第1の引き出し量に対応する位置から動かせば、現像装置30は取り外し阻止状態となる。
現像装置30のトレイ34上へセットした状態で、トレイ34を図5に示す全引き出し量の位置(第2の引き出し量の位置)まで引き出してから、前記ドラムカートリッジ21を図3の姿勢から現像装置30上に設置すれば、前記接合部60における前後一対のレバー部材62,62の各鉤形係止片62aが現像ローラ軸の下側に入り込んで係合するから、ドラムカートリッジ21が現像装置30に接合される。そして、トレイ34を装置本体20A側に押し込んで収容すれば、使用可能となる。
前記ドラムカートリッジ21や現像装置30を交換する際には、装置本体20側に格納されているトレイ34を手前に引き出す。
トレイ34を図5に示す全引き出し量の位置まで引き出してから、前記接合部60における一対のレバー部材62,62の各上端部22を押し込み操作すれば、これらレバー部材62,62の各下端部のかぎ形係止片62aが現像ローラ軸から離脱するから、ドラムカートリッジ21と現像装置30との接合状態が解除される。
またこのとき、図8に示すように、ドラムカートリッジ21はその全体が装置本体20Aの外側に出ているので、取り外し阻止部80と干渉することがなく、取り外し阻止状態が解除されている。
このため、まず、ドラムカートリッジ21を上方へ引き上げてトレイ34から取り外して交換することができる。
このトレイ34の全引き出し量の位置では、ドラムカートリッジ21の取り出しは可能であるが、現像装置30に対しては、図5に示すように、前記逆L字形固定部材32の先端部32aが現像装置30の左側端部上面に対向した状態になっており、さらに、現像装置30の突起部材33がレール341の下側に入り込み、前記トレイ34の係合片402が現像装置30の前部のリブ301,302に係合されているから、ドラムカートリッジ21との接合が解除されても、現像装置30を取り外すことができない。
そこで、前記トレイ34を全引き出し量(第2の引き出し量)の位置から少し押し戻し、図6に示す第1の引き出し量の位置に設定すれば、前記逆L字形固定部材32の先端部32aに対して、現像装置30の溝部51が図6に示すように、同じ位置で対向した状態となる。つまり、現像装置30を前記逆L字形固定部材32の先端部32aから回避できる状態となり、その取り出し阻止状態が解除されることになる。
これにより、トレイ34の第1の引き出し量の位置で、図7に示すように前記現像装置30の後部側を少し持ち上げながら、前記固体部材32の先端部32aを溝部51を通して回避させ、その状態から現像装置30をトレイ34に対して手前(前方側)に移動操作すれば、前記突起部材33がレール341の下側から脱出する一方、前記係合片402が現像装置30のリブ301、302から脱出した状態となる。
従って、トレイ34の全引き出し量の位置でドラムカートリッジ21が先に取り外されていれば、トレイ34の第1の引き出し量の位置では、現像装置30をトレイ34から簡単に取り出して交換することができる。
前記取り出し阻止部50について、この例では、前記逆L字形固定部材32、突起部材33、および係合片402を介してトレイ34に取り外し阻止状態となるように保持させた例で説明したが、これらの部材を採用する構成に限定されるものではない。
また、取り出し阻止解除部として機能する溝部51についても、この例では、現像装置30に設けた縦の溝部で構成したが、他の構成を採ることも可能である。
なお、トレイ34の全引き出し量の位置では、ドラムカートリッジ21が取り出されても現像装置30を取り外せないが、ユーザがこの全引き出し量の位置で誤って現像装置30の後部側を持ち上げて取り外そうとすると、該現像装置30の後部上面が逆L字形固定部材32の先端部32aに当たり、その部位が損傷するおそれがある。このため、図10に示すように、前記現像装置30の後部測端の部位30bを側面から微少量(t)だけ突出させて強度を確保しておくのが好ましい。
一方、ドラムカートリッジ21が現像装置30に接合された状態で前記トレイ34を第1の引き出し量の位置まで押し戻した場合、ドラムカートリッジ21に対して第2の取り出し阻止部である装置本体20Aにおける外装部80がドラムカートリッジ21の上方に相対的に張り出した状態となるから、現像装置30との接合を解除してもドラムカートリッジ21を取り出すことができない。
勿論、第2の取り出し阻止部80は、装置本体20Aの張り出し状の外装部を利用した構成のものに限定されるものではない。
以上のように上記実施形態によれば、現像装置30のトレイ34に対する取り外し阻止状態が解除されるトレイ34の第1の引き出し量と、ドラムかーっとリッジ21の取り外し阻止状態が解除されるトレイ34の第2の引き出し量とが異なるため、トレイ34に取り付けられたドラムカートリッジ21および現像装置30が同時に取り外される事態を回避することができる。すなわちトレイ34に取り付けられたドラムカートリッジ21を取り外すため、トレイ34を第2の引き出し量の位置まで引き出した際、第1の引き出し量の位置ではないから現像装置30の取り外し阻止状態が解除されない。このため、現像装置30をトレイ34に確実に留めながら、ドラムカートリッジ21のみをトレイ34から取り外すことができる。
また、ドラムカートリッジ21がトレイ34から取り外されていなければ、現像器34の取り外し阻止状態が解除されないため、ドラムカートリッジ21の後に現像装置30を取り外すという予め設定された順番に反して、これらが取り外される事態を回避することができる。
また、第1の引き出し量が第2の引き出し量よりも小さく設定されているため、ドラムカートリッジ21を取り外すべくトレイ34を第2の引き出し量まで引き出した後、トレイ34を第1の引き出し量にまで戻す操作を行わなければ現像装置30が外れることがないので、先にドラムカートリッジ21を取り外した後、現像装置30が意図せず外れてしまう事態を軽減することができる。
また、ドラムカートリッジ21は現像装置30を介してトレイ34に取り付けられるため、ドラムカートリッジ21と現像装置30とが直接に結合され、両者の位置関係を適正に保つことができ、安定した画像形成に寄与することができる。
なお、この実施形態では、トレイ34の第2の引き出し量の位置を、トレイ34の全引き出し量の位置とし、トレイ34の第1の引き出し量の位置を、トレイ34の全引き出し量の位置から少し押し戻した位置として説明したが、これら第1および第2の引き出し量の位置は、この例の構成のものに限定されるものではない。
また、上記実施形態では、トレイ34に対して先に現像装置30を取り付けて、その後にドラムカートリッジ21を取り付けるようにした構成について説明したが、本発明は、トレイ34への現像装置30およびドラムカートリッジ21の取付順序は逆であっても良い。すなわち第1取付手段によってドラムカートリッジ21が取り付けられ、第2取付手段によって現像装置30が取り付けられるようにしても良い。
さらに、第2取付手段は、現像装置30に対してドラムカートリッジ21を取り付けることにより、ドラムカートリッジ21を現像装置30を介してトレイ34上に取り付けるように構成したが、ドラムカートリッジ(両者の他方)21もトレイ34に直接取り付けられるようにしても良い。
また第2取付手段の具体的構成についても、係合片62aをもった一対のレバー部材62,62を使用した接合部60によって実現する例で説明したが、これに限らず、例えばねじ止め手段等で接合することも可能である。
この発明の実施形態に係るフルカラー電子写真方式の画像形成装置を示す概略断面図である。 同じく画像形成装置におけるプロセスユニットを示す概略断面図である。 同じく画像形成装置におけるドラムカートリッジと現像装置とを備えたプロセスユニット部を示す外観斜視図である。 同じく現像装置を右上方からみた斜視図である。 同じくドラムカートリッジと現像装置とをトレイの第2の引き出し量の位置で示す平面図である。 同じくドラムカートリッジと現像装置とをトレイの第1の引き出し量の位置で示す平面図である。 現像装置の取り外し操作状態を示す斜視図である。 第1の引き出し量の位置でドラムカートリッジを取り出し阻止状態で示す平面図である。 現像装置を規制片で抜け止めした状態を示す概略正面図である。 現像装置の補強部位の説明図である。
符号の説明
20・・・画像形成装置
20A・・・装置本体
21・・・ドラムカートリッジ(他方)
30・・・現像装置(一方)
34・・・トレイ
40・・・第2の持ち上げ阻止部(第1取付手段)
50・・・第1の持ち上げ阻止部(第1取付手段)
60・・・接合部(第2取付手段)
80・・・取り外し阻止部(第2取付手段)

Claims (4)

  1. ドラムカートリッジと、
    現像装置と、
    装置本体に対して引き出し可能に配備されたトレイと、
    前記ドラムカートリッジおよび現像装置の一方を、前記トレイから取り外すことが阻止された取り外し阻止状態となるように前記トレイに取り付けるとともに、前記トレイが第1の引き出し量だけ引き出された位置においてのみ前記一方の取り外し阻止状態を解除する第1取付手段と、
    前記ドラムカートリッジおよび現像装置の他方を、前記トレイから取り外すことが阻止された取り外し阻止状態となるように前記トレイに取り付けるとともに、前記トレイが前記第1の引き出し量とは異なる第2の引き出し量だけ引き出された位置においてのみ前記他方の取り外し阻止状態を解除する第2取付手段と、
    を備えていることを特徴とする画像形成装置。
  2. 前記第1取付手段は、前記他方がトレイから取り外されていなければ、前記一方の取り外し阻止状態を解除しないように構成されている請求項1に記載の画像形成装置。
  3. 前記第1の引き出し量は、前記第2の引き出し量よりも小さく設定されている請求項2に記載の画像形成装置。
  4. 前記第2取付手段は、前記他方を前記一方に取り付けることにより、前記一方を介して前記トレイに取り付けられるように構成されている請求項2または3に記載の画像形成装置。
JP2008162449A 2008-06-20 2008-06-20 画像形成装置 Expired - Fee Related JP5088573B2 (ja)

Priority Applications (1)

Application Number Priority Date Filing Date Title
JP2008162449A JP5088573B2 (ja) 2008-06-20 2008-06-20 画像形成装置

Applications Claiming Priority (1)

Application Number Priority Date Filing Date Title
JP2008162449A JP5088573B2 (ja) 2008-06-20 2008-06-20 画像形成装置

Publications (2)

Publication Number Publication Date
JP2010002768A true JP2010002768A (ja) 2010-01-07
JP5088573B2 JP5088573B2 (ja) 2012-12-05

Family

ID=41584538

Family Applications (1)

Application Number Title Priority Date Filing Date
JP2008162449A Expired - Fee Related JP5088573B2 (ja) 2008-06-20 2008-06-20 画像形成装置

Country Status (1)

Country Link
JP (1) JP5088573B2 (ja)

Cited By (1)

* Cited by examiner, † Cited by third party
Publication number Priority date Publication date Assignee Title
JP2016133762A (ja) * 2015-01-22 2016-07-25 キヤノン株式会社 画像形成装置

Citations (4)

* Cited by examiner, † Cited by third party
Publication number Priority date Publication date Assignee Title
JPH08137157A (ja) * 1994-11-09 1996-05-31 Canon Inc ロック装置及び画像形成装置
JP2004118051A (ja) * 2002-09-27 2004-04-15 Sharp Corp 画像形成装置
JP2005091584A (ja) * 2003-09-16 2005-04-07 Fuji Xerox Co Ltd 画像形成装置
JP2007271763A (ja) * 2006-03-30 2007-10-18 Brother Ind Ltd 画像形成装置

Patent Citations (4)

* Cited by examiner, † Cited by third party
Publication number Priority date Publication date Assignee Title
JPH08137157A (ja) * 1994-11-09 1996-05-31 Canon Inc ロック装置及び画像形成装置
JP2004118051A (ja) * 2002-09-27 2004-04-15 Sharp Corp 画像形成装置
JP2005091584A (ja) * 2003-09-16 2005-04-07 Fuji Xerox Co Ltd 画像形成装置
JP2007271763A (ja) * 2006-03-30 2007-10-18 Brother Ind Ltd 画像形成装置

Cited By (2)

* Cited by examiner, † Cited by third party
Publication number Priority date Publication date Assignee Title
JP2016133762A (ja) * 2015-01-22 2016-07-25 キヤノン株式会社 画像形成装置
CN105824222A (zh) * 2015-01-22 2016-08-03 佳能株式会社 成像装置

Also Published As

Publication number Publication date
JP5088573B2 (ja) 2012-12-05

Similar Documents

Publication Publication Date Title
KR100890222B1 (ko) 전자 사진 화상 형성 장치
JP5836639B2 (ja) 画像形成装置
JP4883818B2 (ja) 画像形成装置
US9122237B2 (en) Process cartridge and electrophotographic image forming apparatus
US8837982B2 (en) Electrophotographic image forming apparatus
CN102681415B (zh) 成像设备
US9459584B2 (en) Image forming apparatus
JP5062277B2 (ja) 画像形成装置
KR20130048156A (ko) 화상 형성 장치 및 카트리지
JP6311518B2 (ja) 画像形成装置
US7865113B2 (en) Image forming apparatus with a removable transferring unit
JP2011048342A (ja) カラー電子写真画像形成装置、及び感光体カートリッジ
JP5062276B2 (ja) 画像形成装置
JP4591254B2 (ja) 画像形成装置
JP4432813B2 (ja) 画像形成装置
JP5088573B2 (ja) 画像形成装置
JP2004280070A (ja) プロセスカートリッジおよび画像形成装置
JP5610740B2 (ja) 現像カートリッジ
JP5181864B2 (ja) 画像形成装置
JP2015210476A (ja) プロセスユニット、画像形成装置
JP2012203208A (ja) 画像形成装置
JP2015106121A (ja) 画像形成装置
US20200264556A1 (en) Process cartridge and image forming apparatus
JP6429552B2 (ja) 画像形成装置
JP2016138900A (ja) 案内装置及び画像形成装置

Legal Events

Date Code Title Description
A621 Written request for application examination

Free format text: JAPANESE INTERMEDIATE CODE: A621

Effective date: 20110215

TRDD Decision of grant or rejection written
A977 Report on retrieval

Free format text: JAPANESE INTERMEDIATE CODE: A971007

Effective date: 20120815

A01 Written decision to grant a patent or to grant a registration (utility model)

Free format text: JAPANESE INTERMEDIATE CODE: A01

Effective date: 20120816

A01 Written decision to grant a patent or to grant a registration (utility model)

Free format text: JAPANESE INTERMEDIATE CODE: A01

A61 First payment of annual fees (during grant procedure)

Free format text: JAPANESE INTERMEDIATE CODE: A61

Effective date: 20120829

FPAY Renewal fee payment (event date is renewal date of database)

Free format text: PAYMENT UNTIL: 20150921

Year of fee payment: 3

R150 Certificate of patent or registration of utility model

Ref document number: 5088573

Country of ref document: JP

Free format text: JAPANESE INTERMEDIATE CODE: R150

Free format text: JAPANESE INTERMEDIATE CODE: R150

S111 Request for change of ownership or part of ownership

Free format text: JAPANESE INTERMEDIATE CODE: R313111

R350 Written notification of registration of transfer

Free format text: JAPANESE INTERMEDIATE CODE: R350

LAPS Cancellation because of no payment of annual fees