JP2010002767A - 画像形成装置 - Google Patents

画像形成装置 Download PDF

Info

Publication number
JP2010002767A
JP2010002767A JP2008162443A JP2008162443A JP2010002767A JP 2010002767 A JP2010002767 A JP 2010002767A JP 2008162443 A JP2008162443 A JP 2008162443A JP 2008162443 A JP2008162443 A JP 2008162443A JP 2010002767 A JP2010002767 A JP 2010002767A
Authority
JP
Japan
Prior art keywords
tray
developing device
drum cartridge
image forming
attached
Prior art date
Legal status (The legal status is an assumption and is not a legal conclusion. Google has not performed a legal analysis and makes no representation as to the accuracy of the status listed.)
Granted
Application number
JP2008162443A
Other languages
English (en)
Other versions
JP5181864B2 (ja
Inventor
Hideto Sakurai
英人 櫻井
Current Assignee (The listed assignees may be inaccurate. Google has not performed a legal analysis and makes no representation or warranty as to the accuracy of the list.)
Konica Minolta Business Technologies Inc
Original Assignee
Konica Minolta Business Technologies Inc
Priority date (The priority date is an assumption and is not a legal conclusion. Google has not performed a legal analysis and makes no representation as to the accuracy of the date listed.)
Filing date
Publication date
Application filed by Konica Minolta Business Technologies Inc filed Critical Konica Minolta Business Technologies Inc
Priority to JP2008162443A priority Critical patent/JP5181864B2/ja
Publication of JP2010002767A publication Critical patent/JP2010002767A/ja
Application granted granted Critical
Publication of JP5181864B2 publication Critical patent/JP5181864B2/ja
Expired - Fee Related legal-status Critical Current
Anticipated expiration legal-status Critical

Links

Images

Landscapes

  • Electrophotography Configuration And Component (AREA)

Abstract

【課題】 トレイ34に取り付けられた現像装置30とドラムカートリッジ21を簡単な操作により個別に交換できる画像形成装置を提供する。
【解決手段】 引き出し可能に配備されたトレイ34に対し、ドラムカートリッジ21および現像装置30の一方30を取り付ける第1取付手段40,50と、他方21を取り付ける第2取付手段と、を備え、第1取付手段40,50は、前記他方21がトレイ34に取り付けられている状態では、前記一方30をトレイ34から取り外すことを阻止するロック状態となるように構成されている。
【選択図】図4

Description

この発明は、複写機、FAX、プリンタ等の電子写真方式を適用した記録機器、表示装置等に適用される画像形成装置に関する。
電子写真方式の画像形成装置では、プロセス実行のために、感光体ドラム等の像担持体と、像担持体を一様に帯電するための帯電装置と、表面の電荷を静電潜像化するための露光装置と、静電潜像を現像剤(以下、トナーという。)によって可視像にするための現像装置と、像担持体上の可視像を記録材等の媒体に電気的・機械的に転移させるための転写装置と、像担持体上に転写装置による転移動作において残留したトナーを除去するための清掃装置と、記録材上の可視化されたトナーを熱や圧力によって永久的に定着させる定着装置とを備えている。
このうち、像現担持体、帯電装置、露光装置、現像装置、転写装置、清掃装置を含む構成は、「プロセスユニット」と称されているが、それら各プロセスの各装置が全てに一体である必要はなく、像担持体、帯電装置、清掃装置、現像装置を一体化したプロセスユニットを用いた画像形成装置が一般的である。
各プロセスの各装置は、とくにフルカラー出力の増加に伴い、装置の小形化および高速化が推進されており、さらに、長寿命化、高信頼性化、高画質化および低価格化が求められている。
現像装置については、一般的には、トナーとキャリアを混合したものを用いる、いわゆる二成分現像方式が主流であり、トナーを補給し続けることにより、長時間画像を出力することが可能である。
しかしながら、そのような二成分現像方式においては、キャリアが時間経過の伴って劣化していくという問題があった。
そこで、近年、主に長寿命化や高信頼性化の観点から、トナー以外にもキャリア材を適時補給して、余剰なキャリア材を排出することにより、時間経過に伴って劣化していったキャリア材をある確率で入れ換えて劣化を抑制できる「トリクル方式」の現像装置を搭載した画像形成装置が増えつつある。
このように、二成分現像方式は、「トリクル方式」を採用することにより長寿命と高信頼性が得られるが、像担持体の磨耗、帯電装置の汚れ、清掃装置のクリーニングブレードの磨耗については、現在のところ技術的な対応策があまり進まず、このため、像担持体、帯電装置および清掃装置については、あまり高寿命化が期待できない。
従って、これら像担持体、帯電装置および清掃装置をドラムカートリッジとして一体化したもので前記トリクル方式を採用する場合は、ドラムカートリッジと現像装置とを一体化することにより交換の手間は軽減されるが、ドラムカートリッジと現像装置の寿命が異なることから、両者を一緒に交換するのは資源の無駄であり、このため、ドラムカートリッジと現像装置を別体構成にする必要がある。すなわち、ドラムカートリッジと現像装置を別体に構成した場合には、ドラムカートリッジと現像装置の双方を簡単に交換できる構成が望ましい。
このために、従来、例えば寿命の短いプロセスユニットを優先して交換できる位置に配置するようにした技術が提案されている(例えば、特許文献1参照)。
また、ドラムカートリッジと現像装置が一体となった状態で機外へ取り出し、機外では容易に分離できるようにした技術が提案されている(例えば、特許文献2参照)
特開平5−289428号公報 特開2003−114601号公報
しかしながら、前記特許文献1の技術においては、寿命の長いプロセスユニットについては容易に交換できないことになる。
また、前記特許文献2の技術においては、ドラムカートリッジと現像装置とを取り出して分離する際、そのための作業スペースを確保しておかなければならず、さらに、機外に限って両者の分離が簡易に行える構成になっていると、機外での交換作業中にドラムカートリッジと現像装置とが分離して落下させて破損させる等のおそれがある。
この発明は、上記実情に鑑みてなされたものであり、トレイを介して取り付けられた現像装置とドラムカートリッジを簡単な操作により個別に交換できる画像形成装置を提供することを課題としている。
上記課題は、以下の手段によって解決される。
[1]ドラムカートリッジと、
現像装置と、
装置本体に対して引き出し可能に配備されたトレイと、
前記ドラムカートリッジおよび現像装置の一方を前記トレイに取り付ける第1取付手段と、
前記ドラムカートリッジおよび現像装置の他方を前記トレイに取り付ける第2取付手段と、を備え、
前記第1取付手段は、前記他方がトレイに取り付けられている状態では、前記一方がトレイから取り外されることを阻止するロック状態となるように構成されていることを特徴とする画像形成装置。
[2]前記第1取付手段は、前記他方がトレイから取り外されることにより、前記ロック状態を自動的に解除するように構成されている前項[1]に記載の画像形成装置。
[3]前記第1取付手段は、前記他方がトレイに取り付けられることにより、自動的に前記ロック状態となるように構成されている前項[1]または[2]に記載の画像形成装置。
[4]前記第2取付手段は、前記他方を前記一方に取り付けることにより、前記一方を介して前記トレイに取り付けられるように構成されている請求項[1]〜[3]のいずれかに記載の画像形成装置。
前項[1]に記載の発明によれば、ドラムカートリッジと現像装置の一方をトレイに取り付ける第1取付手段により、他方がトレイに取り付けられている状態では、一方をトレイから取り外すことを阻止するロック状態とされるため、一方をトレイに確実に留めながら、他方のみをトレイから取り外すことができる。
前項[2]に記載の発明によれば、他方がトレイから取り外されることにより、一方のロック状態が自動的に解除されるため、他方をトレイから取り外した後、特別なロック解除操作を要することなく、速やかに一方をトレイから取り外すことができる。
前記[3]に記載の発明によれば、他方がトレイに取り付けられることにより一方は自動的にロック状態となるため、先にトレイに取り付けた一方をロック状態とするために特別なロック操作を要することなく、一方がトレイから不用意に外されてしまう事態を容易かつ確実に防止することができる。
前記[4]に記載の発明によれば、他方は一方を介してトレイに取り付けられるため、ドラムカートリッジと現像装置とが直接に結合され、両者の位置関係を適正に保つことができ、安定した画像形成に寄与することができる。
以下、この発明の一実施形態を図面に基づいて説明する。
図1は、フルカラー電子写真方式の画像形成装置を示す概略断面図であり、また、図2は、同じく画像形成装置に用いられるプロセスユニットを示す概略断面図である。
図1および図2において、この画像形成装置20は、感光体ドラム等の像担持体1と、像担持体1の表面を一様に帯電し電位を形成するための帯電装置2と、帯電装置2によって所望の電位まで帯電された像担持体1の表面に、所定の静電潜像を形成するために光を照射する像露光装置3と、静電潜像が形成された領域にトナーを電界等によって付着させて鏡像化するための現像器4とがそれぞれ複数配設され、各鏡像化された像担持体1上の粉体を順次、中間転写体といわれる、いわゆる転写ベルト5上へ電界・圧力によって移動させるための1次転写装置6と、転写ベルト5上の粉体を電界・圧力によって記録紙等の記録媒体11上に移動させるための2次転写装置7と、記録媒体11上に移動した粉体を熱や圧力によって永久的に固定するための定着装置8とから構成されている。
一方、1次転写装置6において、転写ベルト5上に完全に粉体が移動しきれず、像担持体1上に僅かながら残ってしまう場合がある。この時、像担持体1上に残留した残留粉体を清掃装置9により該像担持体1上から電気的・機械的に除去し、この後、徐電装置12により像担持体1に対して再び帯電工程を行う。
また、転写ベルト5上に形成された鏡像画像について、2次転写装置7において完全に粉体が記録媒体上に移動しきれないことから、転写ベルト5上に僅かながら残留粉体として残ってしまう場合があり、これは転写ベルト清掃装置10によって電気的・機械的に除去される。
カラー画像を形成するために、例えばイエロー(Y)、マゼンタ(M)、シアン(C)、ブラック(K)のような各色の画像形成ユニットを図1に示すように、複数個用いて配列する場合もあれば、モノクロ画像のみを形成するために一つの画像形成装置ユニットを単独で配設する場合もある。
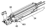
図3は、ドラムカートリッジ21と現像装置30とを備えたプロセスユニット部を示す外観斜視図、図4は、同じくプロセスユニット部を示す横断面図である。
図3および図4において、このプロセスユニット部は、トレイ34と、トレイ34を介して収容される像担持体1を含むドラムカートリッジ21と、現像器4を含む現像装置30と、これらドラムカートリッジ21および現像器40が取り付けられるトレイ34とを備えている。
なお、この実施形態では、ドラムカートリッジ21は、像担持体1や帯電装置(図1,図2)等を備えたユニットとして構成されているが、本発明におけるドラムカートリッジ21の概念は、少なくとも像担持体1を備えていればよい。
また、この実施形態では、現像装置30は、前記現像ローラ31を有する現像器4やトナー供給部(図示せず)等を備えているが、本発明における現像装置の概念は、少なくとも現像ローラ31を備えていればよい。
画像形成装置20における装置本体20Aの側壁内面には、装置本体20Aに対して前後方向(矢印a方向)へ変移可能な可動部材200が保持されている。この可動部材200の内面には、図4に示すように、その長手方向(前後方向)へ沿って横断面形状が略コ字形のトレイ摺動用レール201が固定されている。
前記トレイ34の側壁外面には、前記レール201に嵌合するスライダレール341が固定されており、トレイ34は、このスライダレール341を介してレール201に沿って前後方向へ変移可能に設定されている。これにより、前記トレイ34は、装置本体20Aに対して引き出し可能となっている。
またこの画像形成装置20は、前記ドラムカートリッジ21および現像装置30のうち一方である現像装置30をトレイ34に取り付ける第1取付手段と、他方であるドラムカートリッジ21をトレイ34に取り付ける第2取付手段とを備えている。
前記第1取付手段は、この実施形態では、現像装置30の片側、この実施形態では画像形成装置20正面に向かって左側において、現像装置30をトレイ34の上方に持ち上げることを規制する上方持ち上げ規制部50と、現像装置30の反対側、この実施形態では右側において、現像装置30をトレイ34から持ち上げることを規制するとともに、その状態を解除可能な取り外し阻止ロック部40と、を備えている。
前記上方持ち上げ規制部50は、現像装置30の左側を上方へ持ち上げることを規制するものであり、例えば装置本体20A側(具体的には、前記可動部材200)に固定された逆L字形固定部材32と、現像装置30の下面側に設けられた突起部材33とを有している。
前記逆L字形固定部材32は、その先端部32aが図4および図5に示すように、現像装置30の左側端部上面に対向するように右向きに突出しており、現像装置30の上面と干渉することで現像装置30の上方への持ち上げを規制している。
前記突起部材33は、現像装置30が図3に示すように、トレイ34に取り付けられた状態において、トレイ34のスライダレール341の下側に入り込み、このスライダレール341に下側から干渉することで、現像装置の上方への持ち上げを規制している。
前記取り外し阻止ロック部40は、この実施形態では、現像装置30の右側を上方へ持ち上げることを規制するものであり、現像装置30に対して係合状態と被係合状態とを切り替え可能な係合片401を有している。
この係合片401は、トレイ34の底壁内面側に配備され、図4、図5に示すように、現像装置30の右側側壁に形成された凹部300に対して係合する伏臥姿勢(図4)と、係合を解いた起立姿勢(図5)との間で変移可能に構成されている。
この係合片401は、現像装置30との係合を解いた前記起立姿勢(図5)となるように図示しないばね等により付勢されている。
そして、現像装置30がトレイ34上にセットされた状態でドラムカートリッジ21がセットされている場合に限り、この係合片401はドラムカートリッジ21に押されて伏臥姿勢に変移し、現像装置30の前記凹部300に係合して、現像装置30の右側の持ち上げを規制するようになっている。
第2取付手段は、ドラムカートリッジ21をトレイ34に取り付けるものであるが、この実施形態では、ドラムカートリッジ21を先にトレイ34に取り付けられた現像装置30に取り付ける接合部60として構成されており、現像装置30を介してドラムカートリッジ21をトレイ34に取り付けるようになっている。
前記接合部60は、この実施形態では、ドラムカートリッジ21の長手方向(前後方向)両端部に配置された前後一対のレバー部材62,62を有している。
このレバー部材62,62は、図3に示すように、ドラムカートリッジ21に設けられた枢軸61を介して左右方向へ揺動可能に枢支されており、その下端側には、現像装置30の現像ローラ軸301の下側に入り込んで抱き持ち状態に係合するかぎ形係合部62a,62aが形成されている。
これら一対のレバー部材62,62には、ばね(図示せず)によって前記現像ローラ軸30に係合する方向へのばね力が付勢されている。
これら一対のレバー部材62,62の各上端部22は、ばね力に抗して図4の右方向への押し込み操作によって前記係止部62a,62aの係止状態を解除する解除操作部して構成されており、係止部62a,62aの係止状態の解除によって、現像装置30に対してドラムカートリッジ21の接合状態が解除されるようになっている。
つぎに、前記ドラムカートリッジ21および現像装置30を装脱着する手順について説明する。
ドラムカートリッジ21や現像装置30をトレイ34に取り付ける場合、まず、トレイ34を装置本体20A側から引き出す。
そして、図6に示すように、現像装置30を左下がりの姿勢にして、現像装置30をその左側からトレイ34の所定位置に向かって挿入操作する。これにより、現像装置30の突起部材33がスライダレール341の下側に進入し、また現像装置30の左側上面が装置本体20A側の逆L字形固定部材32の下側に収まり、前記上方持ち上げ規制部50、によって現像装置30の左側を上方へ持ち上げることが規制された状態となる。
なおこのとき、前記取り外し阻止ロック部40の係合片401は、図5に示すような起立姿勢にあり、現像装置の右側は上方への持ち上げが規制されていない。このため、この状態においては、特別なロック解除操作等を行うことなく、現像装置30をトレイ34から容易に取り外すことができる。
現像装置30がトレイ34にセットされた状態で、その上に前記ドラムカートリッジ21を取り付けると、前記接合部60における前後一対のレバー部材62,62の各かぎ形係止片62aが図4に示すように、現像ローラ軸301の下側に入り込んで係合することにより、ドラムカートリッジ21が現像装置30に接合される。これによりドラムカートリッジ21は現像装置30を介してトレイ34に取り付けられた状態となる。
こうしてドラムカートリッジ21を現像装置30に対して装着すると、ドラムカートリッジ21の下面に押されることによって、前記取り外し阻止ロック部40における係合片401が図5の起立姿勢から図4の伏臥姿勢に変移し、現像装置30の凹部300に入り込む。これにより、現像装置30はトレイ34から取り外すことを阻止するロック状態に保持される。
一方、ドラムカートリッジ21や現像装置30を交換する際には、装置本体20側に格納されているトレイ34を手前に引き出す。
そして、前記接合部60における一対のレバー部材62,62の各上端部22を押し込み操作すれば、これらレバー部材62,62の各下端部の鉤形係止片62aが現像ローラ軸301から離脱するから、ドラムカートリッジ21と現像装置30との接合状態が解除される。
これにより、まず、ドラムカートリッジ2を上方へ引き上げてトレイ3から取り外すことができる。
こうしてドラムカートリッジ2をトレイ34から取り外すと、前記係合片401が図4の伏臥状態から自動的に図5に示す起立状態に変移する。このため、この現像装置30は、係合片401との係合が解かれた右側を持ち上げて図6に示すような取り出し可能な姿勢に変移でき、その姿勢で現像装置30を前記逆L字形固定部材32の先端部32aを避けるように回転変移させながら右方向へ移動操作すれば、突起部材33がスライダレール341の下側から脱出し、トレイ34から簡単に取り外すことができる。
このように、この実施形態によれば、現像装置30をトレイ34にセットし、つづいてドラムカートリッジ21を現像装置30上にセットすれば、現像装置30とドラムカートリッジ21とが接合され、トレイ34を装置本体20A内にセットすることで画像形成を行うことができる。
特に現像装置30をトレイ34に取り付ける第1取付手段40,50により、ドラムカートリッジ21がトレイ34に取り付けられている状態では、現像装置34をトレイ34から取り外すことを阻止するロック状態とされるため、現像装置30をトレイ34に確実に留めながら、ドラムカートリッジ21のみをトレイ34から取り外すことができる。
またドラムカートリッジ21がトレイ34から取り外されることにより、現像装置30のトレイ34に対するロック状態が自動的に解除されるため、ドラムカートリッジ21をトレイ34から取り外した後、特別なロック解除操作を要することなく、速やかに現像装置30をトレイ34から取り外すことができる。
また、ドラムカートリッジ21がトレイ34に取り付けられることにより現像装置30は自動的にトレイ34に対してロック状態となるため、先にトレイ34に取り付けた現像装置30をロック状態とするために特別なロック操作を要することなく、現像装置30がトレイ34から不用意に外されてしまう事態を容易かつ確実に防止することができる。
また、ドラムカートリッジ21は現像装置30は一方を介してトレイ34に取り付けられるため、ドラムカートリッジ21と現像装置30とが直接に結合され、両者21,30の位置関係を適正に保つことができ、安定した画像形成に寄与することができる。
なお、上記実施形態では、トレイ34に対して先に現像装置30を取り付けて、その後にドラムカートリッジ21を取り付けるようにした構成について説明したが、本発明は、トレイ34への現像装置30およびドラムカートリッジ21の取付順序は逆であっても良い。すなわち第1取付手段によってドラムカートリッジ21が取り付けられ、第2取付手段によって現像装置30が取り付けられるようにしても良い。
また、上記実施形態では、第1取付手段を、現像装置30の左側の持ち上げを阻止する上方持ち上げ規制部50と、右側の持ち上げを阻止する取り外し阻止ロック部40とで構成したが、第1取付手段は、ドラムカートリッジ21と現像装置30の他方(ドラムカートリッジ21)がトレイ34に取り付けられている状態では、一方(現像装置30)をトレイ34から取り外すことを阻止するロック状態となるように構成されているものであれば、上記構成に限るものではない。
ただし、その場合であっても第1取付手段は、他方(ドラムカートリッジ21)がトレイ34から取り外されることにより、一方(現像装置30)のトレイ34へのロック状態を自動的に解除するように構成されていることが望ましく、また、他方(ドラムカートリッジ21)がトレイ34に取り付けられることにより、自動的に一方(現像装置30)をトレイ34に対して前記ロック状態となるように構成されていることが望ましい。
また、取り出し阻止ロック部40および上方持ち上げ規制部50の具体的構成も上記実施形態の構成に限定されることなく、任意に変更可能である。
さらに、第2取付手段は、現像装置30に対してドラムカートリッジ21を取り付けることにより、ドラムカートリッジ21を現像装置30を介してトレイ34上に取り付けるように構成したが、ドラムカートリッジ(両者の他方)21もトレイ34に直接取り付けられるようにしても良い。
また第2取付手段の具体的構成についても、係合片62aをもった一対のレバー部材62,62を使用した接合部60によって実現する例で説明したが、これに限らず、例えばねじ止め手段等で接合することも可能である。
この発明の実施形態に係るフルカラー電子写真方式の画像形成装置を示す概略断面図である。 同画像形成装置におけるプロセスユニットを示す概略断面図である。 同画像形成装置におけるドラムカートリッジと現像装置とを備えたプロセスユニット部を示す外観斜視図である。 現像装置にドラムカートリッジを接合した状態を示す横断面図である。 現像装置からドラムカートリッジを取り外した状態を示す横断面図である。 現像装置をトレイから取り外すために姿勢変換した状態を示す斜視図である。
符号の説明
20・・・画像形成装置
20A・・・装置本体
21・・・ドラムカートリッジ(他方)
30・・・現像装置(一方)
34・・・トレイ
40・・・取り外し阻止ロック部(第1取付手段)
50・・・上方持ち上げ規制部(第1取付手段)
60・・・接合手段(第2取付手段)

Claims (4)

  1. ドラムカートリッジと、
    現像装置と、
    装置本体に対して引き出し可能に配備されたトレイと、
    前記ドラムカートリッジおよび現像装置の一方を前記トレイに取り付ける第1取付手段と、
    前記ドラムカートリッジおよび現像装置の他方を前記トレイに取り付ける第2取付手段と、を備え、
    前記第1取付手段は、前記他方がトレイに取り付けられている状態では、前記一方がトレイから取り外されることを阻止するロック状態となるように構成されていることを特徴とする画像形成装置。
  2. 前記第1取付手段は、前記他方がトレイから取り外されることにより、前記ロック状態を自動的に解除するように構成されている請求項1に記載の画像形成装置。
  3. 前記第1取付手段は、前記他方がトレイに取り付けられることにより、自動的に前記ロック状態となるように構成されている請求項1または2に記載の画像形成装置。
  4. 前記第2取付手段は、前記他方を前記一方に取り付けることにより、前記一方を介して前記トレイに取り付けられるように構成されている請求項1〜3のいずれかに記載の画像形成装置。
JP2008162443A 2008-06-20 2008-06-20 画像形成装置 Expired - Fee Related JP5181864B2 (ja)

Priority Applications (1)

Application Number Priority Date Filing Date Title
JP2008162443A JP5181864B2 (ja) 2008-06-20 2008-06-20 画像形成装置

Applications Claiming Priority (1)

Application Number Priority Date Filing Date Title
JP2008162443A JP5181864B2 (ja) 2008-06-20 2008-06-20 画像形成装置

Publications (2)

Publication Number Publication Date
JP2010002767A true JP2010002767A (ja) 2010-01-07
JP5181864B2 JP5181864B2 (ja) 2013-04-10

Family

ID=41584537

Family Applications (1)

Application Number Title Priority Date Filing Date
JP2008162443A Expired - Fee Related JP5181864B2 (ja) 2008-06-20 2008-06-20 画像形成装置

Country Status (1)

Country Link
JP (1) JP5181864B2 (ja)

Citations (5)

* Cited by examiner, † Cited by third party
Publication number Priority date Publication date Assignee Title
JPH08171324A (ja) * 1994-12-20 1996-07-02 Fujitsu Ltd 電子写真装置
JP2002099193A (ja) * 2000-09-26 2002-04-05 Ricoh Co Ltd 画像形成装置
JP2004118051A (ja) * 2002-09-27 2004-04-15 Sharp Corp 画像形成装置
JP2004252254A (ja) * 2003-02-21 2004-09-09 Kyocera Mita Corp 画像形成装置
JP2005091584A (ja) * 2003-09-16 2005-04-07 Fuji Xerox Co Ltd 画像形成装置

Patent Citations (5)

* Cited by examiner, † Cited by third party
Publication number Priority date Publication date Assignee Title
JPH08171324A (ja) * 1994-12-20 1996-07-02 Fujitsu Ltd 電子写真装置
JP2002099193A (ja) * 2000-09-26 2002-04-05 Ricoh Co Ltd 画像形成装置
JP2004118051A (ja) * 2002-09-27 2004-04-15 Sharp Corp 画像形成装置
JP2004252254A (ja) * 2003-02-21 2004-09-09 Kyocera Mita Corp 画像形成装置
JP2005091584A (ja) * 2003-09-16 2005-04-07 Fuji Xerox Co Ltd 画像形成装置

Also Published As

Publication number Publication date
JP5181864B2 (ja) 2013-04-10

Similar Documents

Publication Publication Date Title
JP5004870B2 (ja) プロセスカートリッジ、及び電子写真画像形成装置
JP5889359B2 (ja) 画像形成装置
US20140348540A1 (en) Electrophotographic image forming apparatus
JP5072938B2 (ja) カバー部材及びカートリッジ
US9459584B2 (en) Image forming apparatus
JP2007322554A (ja) 感光体ユニットおよび画像形成装置
JP4591254B2 (ja) 画像形成装置
JP5067913B2 (ja) プロセスカートリッジ、及び電子写真画像形成装置
JP2009122391A (ja) 画像形成装置
JP5585067B2 (ja) 着脱ユニットおよび画像形成装置
JP4882516B2 (ja) プロセスユニットおよび現像カートリッジ
JP2011123449A (ja) 現像装置および画像形成装置
JP5350194B2 (ja) 電子写真画像形成装置
JP5181864B2 (ja) 画像形成装置
JP2004280070A (ja) プロセスカートリッジおよび画像形成装置
JP5088573B2 (ja) 画像形成装置
JP5610740B2 (ja) 現像カートリッジ
JP5408924B2 (ja) 画像形成装置
JP7596758B2 (ja) 画像形成装置
JPH10115961A (ja) 画像形成装置
JP2011123447A (ja) 画像形成装置
JP2016138900A (ja) 案内装置及び画像形成装置
JP2015106121A (ja) 画像形成装置
CN111596535A (zh) 程序盒及图像形成装置
KR102022327B1 (ko) 전자사진방식 화상형성장치 및 현상 카트리지

Legal Events

Date Code Title Description
A621 Written request for application examination

Free format text: JAPANESE INTERMEDIATE CODE: A621

Effective date: 20110215

A977 Report on retrieval

Free format text: JAPANESE INTERMEDIATE CODE: A971007

Effective date: 20120815

A131 Notification of reasons for refusal

Free format text: JAPANESE INTERMEDIATE CODE: A131

Effective date: 20120816

A521 Request for written amendment filed

Free format text: JAPANESE INTERMEDIATE CODE: A523

Effective date: 20121011

A131 Notification of reasons for refusal

Free format text: JAPANESE INTERMEDIATE CODE: A131

Effective date: 20121030

A521 Request for written amendment filed

Free format text: JAPANESE INTERMEDIATE CODE: A523

Effective date: 20121129

TRDD Decision of grant or rejection written
A01 Written decision to grant a patent or to grant a registration (utility model)

Free format text: JAPANESE INTERMEDIATE CODE: A01

Effective date: 20121218

A61 First payment of annual fees (during grant procedure)

Free format text: JAPANESE INTERMEDIATE CODE: A61

Effective date: 20121231

R150 Certificate of patent or registration of utility model

Ref document number: 5181864

Country of ref document: JP

Free format text: JAPANESE INTERMEDIATE CODE: R150

Free format text: JAPANESE INTERMEDIATE CODE: R150

FPAY Renewal fee payment (event date is renewal date of database)

Free format text: PAYMENT UNTIL: 20160125

Year of fee payment: 3

S111 Request for change of ownership or part of ownership

Free format text: JAPANESE INTERMEDIATE CODE: R313111

R350 Written notification of registration of transfer

Free format text: JAPANESE INTERMEDIATE CODE: R350

LAPS Cancellation because of no payment of annual fees