JP2010002722A - カメラモジュールおよびその製造方法 - Google Patents

カメラモジュールおよびその製造方法 Download PDF

Info

Publication number
JP2010002722A
JP2010002722A JP2008161864A JP2008161864A JP2010002722A JP 2010002722 A JP2010002722 A JP 2010002722A JP 2008161864 A JP2008161864 A JP 2008161864A JP 2008161864 A JP2008161864 A JP 2008161864A JP 2010002722 A JP2010002722 A JP 2010002722A
Authority
JP
Japan
Prior art keywords
lens barrel
spring
optical system
barrel
camera module
Prior art date
Legal status (The legal status is an assumption and is not a legal conclusion. Google has not performed a legal analysis and makes no representation as to the accuracy of the status listed.)
Granted
Application number
JP2008161864A
Other languages
English (en)
Other versions
JP2010002722A5 (ja
JP5125799B2 (ja
Inventor
Kazuhiko Takatsuka
和彦 高塚
Hiroaki Tojo
宏昭 東條
Masashi Nishimoto
雅志 西本
Satoshi Imai
聡 今井
Current Assignee (The listed assignees may be inaccurate. Google has not performed a legal analysis and makes no representation or warranty as to the accuracy of the list.)
Sony Corp
Original Assignee
Sony Corp
Priority date (The priority date is an assumption and is not a legal conclusion. Google has not performed a legal analysis and makes no representation as to the accuracy of the date listed.)
Filing date
Publication date
Application filed by Sony Corp filed Critical Sony Corp
Priority to JP2008161864A priority Critical patent/JP5125799B2/ja
Publication of JP2010002722A publication Critical patent/JP2010002722A/ja
Publication of JP2010002722A5 publication Critical patent/JP2010002722A5/ja
Application granted granted Critical
Publication of JP5125799B2 publication Critical patent/JP5125799B2/ja
Expired - Fee Related legal-status Critical Current
Anticipated expiration legal-status Critical

Links

Images

Landscapes

  • Lens Barrels (AREA)
  • Studio Devices (AREA)

Abstract

【課題】小型化を図る上で有利なカメラモジュールおよびその製造方法を提供する。
【解決手段】後スプリング34の延在方向の端部を挟持する後鏡筒24の部分と前鏡筒22の部分の外面は、それら挟持する部分の周囲の箇所の外面25よりも窪んで凹部82を形成している。後スプリング34の延在方向の端部は、周囲の箇所の外面25の仮想延長面よりも内側に偏位した箇所に位置している。後鏡筒24は、前鏡筒22と反対に位置する後端面2402を有し、凹部82は、後端面2402に開放状に設けられている。後鏡筒24で構成される凹部82の底面8202は、後端面2402に向かうにつれて凹部82の深さを次第に大きくする傾斜面で形成されている。
【選択図】図40

Description

本発明は例えば携帯用の電子機器などに組み込まれるカメラモジュールおよびその製造方法に関する。
近年、カメラモジュールが組み込まれた携帯電話機、あるいはPDA(Personal Digital Assistants)などの電子機器が提供されている。
このようなカメラモジュールとして、後鏡筒と、前鏡筒と、撮像光学系を保持するレンズ保持部材と、撮像光学系によって導かれた被写体像を撮像する撮像素子と、レンズ保持部を撮像光学系の光軸に沿って移動可能に支持する案内機構と、レンズ保持部を前記撮像光学系の光軸に沿って移動させる駆動部とを備えるものが提供されている(特許文献1参照)。
このカメラモジュールでは、前記案内機構は、レンズ保持部を撮像素子側から撮影光学系側に付勢する後スプリングと、レンズ保持部を撮影光学系側から撮像素子側に付勢する前スプリングとを有している。
そして、後スプリングの延在方向の端部は、前鏡筒と後鏡筒とで挟持されて配設されている。
後スプリングの組み付けは次のようになされる。
すなわち、後スプリングと、この後スプリングの外周に枠状に延在する枠部と、枠部と後スプリングとを接続する接続部とを含むスプリング部材をプレス加工により形成しておく。
次いで、スプリング部材を前鏡筒と後鏡筒とで挟持し、前鏡筒と後鏡筒の外方に位置する接続部の部分をレーザー光線によって切断し、スプリング部材から後スプリングを切り離す。
特開2006−227100
しかしながら、上記従来のカメラモジュールでは、レーザー光線による接続部の切断に際して、レーザー光線による前鏡筒と後鏡筒への加熱によるダメージを防止するために、接続部の切断箇所と、前鏡筒および後鏡筒との間隔を確保する必要がある。
そのため、接続部の切断箇所が前鏡筒および後鏡筒の輪郭から突出するため、カメラモジュールの小型化を図り難い不利がある。
本発明はこのような事情に鑑みなされたものであり、本発明の目的は、小型化を図る上で有利なカメラモジュールおよびその製造方法を提供することにある。
上述の目的を達成するため、本発明のカメラモジュールは、後鏡筒と、前記後鏡筒に組みつけられ前記後鏡筒と共に収容空間を形成する前鏡筒と、撮像光学系を保持し前記収容空間に収容されたレンズ保持部と、前記後鏡筒に支持され前記撮影光学系で導かれた被写体像を撮像する撮像素子と、前記レンズ保持部を前記撮像光学系の光軸に沿って移動可能に支持する案内機構と、前記レンズ保持部を前記撮像光学系の光軸に沿って移動させる駆動部とを備え、前記案内機構は、前記レンズ保持部を前記撮像素子側から前記撮影光学系側に付勢する後スプリングと、前記レンズ保持部を前記撮影光学系側から前記撮像素子側に付勢する前スプリングとを有し、前記後スプリングと前記前スプリングは、ばね板が帯状に延在して構成され、前記後スプリングと前記前スプリングの少なくとも一方のスプリングの延在方向の端部は、前記前鏡筒と前記後鏡筒とで挟持されて配設され、前記スプリングの延在方向の端部を挟持する前記後鏡筒の部分と前記前鏡筒の部分の外面は、それら挟持する部分の周囲の箇所の外面よりも窪んで凹部を形成しており、前記スプリングの延在方向の端部は、前記凹部内に位置し、かつ、前記周囲の箇所の外面の仮想延長面よりも内側に偏位した箇所に位置している。
また本発明のカメラモジュールの製造方法は、後鏡筒と、前記後鏡筒に組み付けられ前記後鏡筒と共に収容空間を形成する前鏡筒と、撮像光学系を保持し前記収容空間に収容されたレンズ保持部と、前記レンズ保持部を前記撮像光学系の光軸に沿って移動可能に支持する案内機構とを備え、前記案内機構は、前記レンズ保持部を前記撮像素子側から前記撮影光学系側に付勢する後スプリングと、前記レンズ保持部を前記撮影光学系側から前記撮像素子側に付勢する前スプリングとを有し、前記後鏡筒は、前記前鏡筒と反対に位置する後端面を有し、前記前鏡筒は、前記後鏡筒と反対に位置する前端面を有するカメラモジュールの製造方法であって、前記後スプリングと前記前スプリングのうちの一方のスプリングを、ばね板製の板材をプレス加工することで矩形枠と一体にこの矩形枠の内側に帯状に延在して形成し、前記矩形枠寄りに位置する前記スプリングの延在方向の端部を、前記前鏡筒と前記後鏡筒とで挟持し、前記挟持する前記後鏡筒の部分と前記前鏡筒の部分の外面を、それら挟持する部分の周囲の箇所の外面よりも窪んだ凹部に形成しておき、レーザーを前記凹部内に照射して前記スプリングと前記矩形枠とを切り離すようにした。
本発明によれば、スプリングの延在方向の端部を挟持する後鏡筒の部分と前鏡筒の部分の外面は、それら挟持する部分の周囲の箇所の外面よりも窪んで凹部を形成している。また、スプリングの延在方向の端部は、凹部内に位置し、かつ、周囲の箇所の外面の仮想延長面よりも内側に偏位した箇所に位置している。
そのため、スプリングの延在方向の端部が凹部内に位置して前鏡筒および後鏡筒の輪郭の内側に留まっている。
したがって、カメラモジュールの外形寸法の小型化を図る上で有利となる。
次に本発明の実施の形態について図面を参照して説明する。
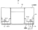
図1(A)、(B)は本実施の形態に係るカメラモジュール20が組み込まれた電子機器の一例を示す外観図である。
図1に示すように電子機器10は携帯電話機であり、ヒンジ部12によって揺動可能に連結された第1、第2の筐体14、16を有している。
第1の筐体14の内面には液晶表示パネル1402が設けられ、第2の筐体16の内面にはテンキーや機能キーなどの操作スイッチ1602が設けられている。
第1の筐体14にカメラモジュール20が設けられ、カメラモジュール20で撮像した画像は液晶表示パネル1402に表示される。
カメラモジュール20は被写体像を捉える撮像光学系28を有し、撮像光学系28は、第1の筐体14に設けられた開口1410に臨んでいる。
次に、本発明に係るカメラモジュール20の構成について詳細に説明する。
図2はカメラモジュール20の組み立て説明図、図3はカメラモジュール20の分解図、図4は図3のAA線断面図である。
また、本実施の形態では、被写体側を前方、その反対側を後方として説明する。
カメラモジュール20は、図2に示すように、上記の撮像光学系28に加えて、前鏡筒22と、後鏡筒24と、カバー26と、レンズ保持部材30と、前スプリング32と、後スプリング34と、撮像素子36と、駆動部38などを含んで構成されている。
図5はカメラモジュール20を前方から見た斜視図、図6はカメラモジュール20を後方から見た斜視図、図7は図5のA矢視図、図8は図5のB矢視図、図9は図5のC矢視図、図10は図5のD矢視図、図11は図5のEE線断面図である。
なお、図5乃至図11は、カメラモジュール20から撮像素子36を除いた状態を示す。
図12は図5からカバー26を取り外した状態を前方から見た示す斜視図、図13は図12を後方から見た斜視図、図14は図12のA矢視図、図15は図12のB矢視図、図16は図12のC矢視図、図17は図12のD矢視図である。
図18は図12から前鏡筒22を取り外した状態を前方から見た示す斜視図、図19は図18を後方から見た斜視図、図20は図18のA矢視図、図21は図18のC矢視図、図22は図18のD矢視図である。
図23は図18からマグネット50を取り外した状態を前方から見た示す斜視図、図24は図23を後方から見た斜視図、図25は図23のA矢視図、図26は図23のC矢視図、図27は図23のD矢視図である。
図28はカバー26を前方から見た斜視図、図29はカバー26を後方から見た斜視図、図30は図28のA矢視図である。
(前鏡筒22)
前鏡筒22は、図11に示すように、後鏡筒24に組みつけられ後鏡筒24と共に収容空間Sを形成するものである。
前鏡筒22は合成樹脂材料を金型で成形することで形成されている。
図31はマグネット50が前鏡筒22の内側に挿入された状態を示す斜視図、図32は図31のA矢視図である。
図12、図31に示すように、前鏡筒22は、前枠40と、第1、第2、第3、第4側壁42A乃至42Dとを含んで構成されている。
前枠40は、平面視矩形枠状を呈し、互いに対向する2組の辺を有している。
第1、第2側壁42A、42Bは、前枠40の互いに対向する1組の辺から後方に突設され、第3、第4側壁42C、42Dは、前枠40の互いに対向する残りの1組の辺から後方に突設されている。
第1、第2、第3、第4側壁42A乃至42Dに、後方に開放状の矩形状の欠部43がそれぞれ形成されている。
図31に示すように、前枠40が4つの欠部43に臨む箇所には、撮像光学系28の光軸と直交する同一平面上を延在するマグネット当て付け用の当接面4002がそれぞれ形成されている。
第1、第2側壁42A、42Bの内面の両側には、図32に示すように、平面からなるマグネット位置決め面4202がそれぞれ形成され、合計4つのマグネット位置決め面4202が形成されている。
図12、図31に示すように、第1、第2、第3、第4側壁42A乃至42Dが後方に臨む後端面は、後鏡筒24への合わせ面4210として形成されている。
本実施の形態では、各側壁42A乃至42Dが欠部43で切り離されていることから、合わせ面4210は前枠40の4つの角部に対応した4箇所に形成されている。
4つの合わせ面4210には、図31に示すように、それぞれ後述する後鏡筒24のピン48(図18)の径と長さよりも大きな形状を有しピン48を収容する逃げ孔4212が後方に開放状に形成されている。
また、図31、図32に示すように、第1、第2側壁42A、42Bの両側箇所に、前後に延在する溝で形成された第1位置決め部4220がそれぞれ前後に開放状に形成されている。
また、欠部43に臨む第3、第4側壁42C、42Dの後部寄りの箇所に、互いに対向して前後に延在する平行な平面で形成された第2位置決め部4230がそれぞれ形成されている。
(後鏡筒24)
後鏡筒24は、図2、図11、図13、図15に示すように、底壁44と、開口46とを有している。
底壁44は、収容空間Sの前記光軸方向の後端を閉塞する矩形板状に形成され、したがって、底壁44の前面は図11に示すように収容空間Sに臨んでいる。
底壁44は、図18、図20に示すように、互いに対向する2組の辺4402、4404を有している。
底壁44の前面で、前鏡筒22の合わせ面4210に対応した箇所は、合わせ面4410として形成され、図12に示すように、前鏡筒22の合わせ面4010と、後鏡筒24の合わせ面4210はそれぞれ重ね合わされる。
図18、図20に示すように、底壁44の前面の2組の辺のうち一方の組の辺4402には、前鏡筒22の第1位置決め部4220に係合する凸部で形成された第3位置決め部4420がそれぞれ設けられている。
底壁44の前面の2組の辺のうち他方の組の辺4404には、前鏡筒22の第2位置部4230に係合する面で形成された第4位置決め部4430がそれぞれ設けられている。
さらに、図18に示すように、底壁44の前面の各辺4402、4404の中間部には、マグネット50の後端面5010(図11)が載置される載置面4440が撮像光学系28の光軸と直交する方向に延在する同一平面上に延在するようにそれぞれ形成されている。
底壁44の前面の2組の辺のうち他方の組の辺4404には、後スプリング34を取り付けるための2つのピン48がそれぞれ突設されている。
開口46は、図11、図15に示すように、底壁44の中央に形成され、矩形状を呈している。
本実施の形態では、開口46は、撮像光学系28を介して撮像素子36に導かれる光線を制限する固定絞りとして機能している。
また、図18、図20に示すように、底壁44の2組の辺のうちの他方の組の辺の中央に、カバー26を取り付けるための係合突起60がそれぞれ突設されている。
なお、図11において符号4450は、後鏡筒24の底壁44の前面から前方に向かって膨出形成された隔壁を示し、本実施の形態では、隔壁4450は、開口46の周囲の全周にわたって環状に延在している。
この隔壁4450は、カメラモジュール20を撮像光学系28の光軸方向から見た状態で、後述する後スプリング34の接続片部7002(図33)とコイル52の巻線の両端5202とが半田付けされる半田付け箇所と、撮像光学系28のうち、最も後方に位置するレンズのレンズ面2802との間を仕切るように設けられている。
隔壁4450は、前記半田付け箇所から脱落したフラックスなどの塵埃がレンズ面2802に移動することを阻止するため、前記塵埃のレンズ面2802への付着が効果的に防止され、撮像素子36によって撮像される画像の品質の確保が図られている。
また、隔壁4450の外側で前記半田付け箇所に臨む底壁44の前面の箇所には、後方に窪む凹部4452がそれぞれ形成されている。
凹部4452は、前記半田付け箇所から脱落したフラックスなどの塵埃を収容するため、前記塵埃のレンズ面2802への付着がより効果的に防止され、撮像素子36によって撮像される画像の品質の確保がより一層図られている。
(マグネット50)
駆動部38は、図11に示すように、マグネット50とコイル52を含んで構成されている。
マグネット50は、撮像光学系28の光軸を中心とする円周上に延在して設けられており、本実施の形態では、マグネット50は、図31、図32に示すように、同一形状の4つのマグネット分割体5002が円周方向に並べられることで構成されている。
マグネット50は、図11に示すように、コイル52の外周に臨んでおり、言い換えると、マグネット50はコイル52に対向して配置されている。
本実施の形態では、図11、図31、図32に示すように、各マグネット分割体5002は、それらマグネット分割体5002の磁束を効率よくコイル52に導くためのヨーク54に取着され、このヨーク54を介して前鏡筒24に取着されている。
したがって、マグネット50はヨーク54を含んで構成されている。
詳細には、ヨーク54は、図11に示すように、前方に位置する環板状の前壁部5402と、前面部5402の外周から後方に延在する円筒壁状の周壁部5404とを備えている。
各マグネット分割体5002は、周壁部5404の内周面に周方向に並べられて取着されている。
したがって、ヨーク54の前壁部5402によって、マグネット50の前端面5010が形成され、ヨーク54の周壁部5404の外周面によって、マグネット50の外周面5011が形成され、各マグネット分割体5002の後端面によってマグネット50の後端面5012が形成されている。
前端面5010および後端面5012は、撮像光学系28の光軸と直交する同一平面上を延在するように構成されている。
(コイル52)
コイル52は、図18、図20に示すように、巻線が撮像光学系28の光軸を中心とする円周上に巻回されて形成され、その外径は、マグネット50の内径よりも小さい寸法で形成されている。
コイル52の後端面には、図2、図23に示すように、平面視した場合、コイル52と略同じ輪郭を有し、かつ、光軸方向の寸法がコイル52よりも小さい寸法で形成された環状のコイルホルダ56が取着されている。
コイルホルダ56は、図23、図25に示すように、180度位相を異ならせた対向する2箇所に軸部5602が半径方向外方に突設され、各軸部5602にコイル52の巻線の両端5202がそれぞれ巻回されている。
図33は、レンズ保持部材30、後スプリング34、コイル52、コイルホルダ56を示す斜視図である。
図33に示すように、コイルホルダ56の内周でコイルホルダ56の周方向に間隔をおいた複数箇所に取り付け部5610が突設されている。
また、コイルホルダ56の後面には、コイルホルダ56の周方向に間隔をおいた複数箇所にストッパ5620が突設されている。
各ストッパ5620は、図11に示すように、後鏡筒24の底壁44の前面の箇所に当接することで、レンズ保持部材30(撮像光学系28)の光軸方向の後方限界位置(無限遠方位置)を決定するものである。
(撮像素子36)
撮像素子36は、図4に示すように、パッケージ3602と、撮像素子チップ3604と、カバーガラス3604などを含んで構成されている。
パッケージ3602は、矩形板状を呈し、その前面に断面矩形状の収容空間が開放状に形成されている。
撮像素子チップ3604は、撮像光学系28によって導かれる被写体像を撮像するものであり、撮像面を前方に臨ませて前記収容空間の底壁に取着されている。
カバーガラス3604は、パッケージ3602の前面に取着され前記収容空間を封止するものである。
撮像素子36は、図3、図4に示すように、パッケージ3602の後面が矩形板状の基板58の前面に取着されている。
後鏡筒24の開口46内に撮像素子チップ3604の撮像面を臨ませた状態で、パッケージ3602の前面が後鏡筒24の底壁44の後面に取着され、したがって、撮像素子36は後鏡筒24に設けられている。
(カバー26)
カバー26は板金製であり、図28、図29、図30に示すように、前面部2602と、側面部2604とを備えている。
前面部2602は矩形板状を呈し、前鏡筒22の前面を覆うものである。
前面部2602が撮像光学系28に臨む箇所に開口2606が形成されている。
側面部2604は前面部2602の4辺からそれぞれ屈曲形成され、前鏡筒22および後鏡筒24の4つの側部を覆うものである。
4つの側面部2604のうち対向する1組の側面部2604には、図5に示す後鏡筒24の各係合突起60に係合する係合溝2608が設けられている。
カバー26の各係合溝2608が各係合突起60に係合することで、図11に示すように、カバー26の前面部2602と後鏡筒24の底壁44との間に前鏡筒22が挟持され、これにより前鏡筒22と後鏡筒24とが結合されている。
また、前面部2602が前方に臨む前面と、この前面から各側面部2604が外方に臨む外面のうち前面部2602寄りの部分は、光の反射を防止する反射防止部2610が形成されている。
反射防止部2610は、例えば、光の反射を防止する塗料が塗装されることで構成され、前記塗料は例えば黒色の塗料など光の反射を防止できるものであればよい。
(レンズ保持部材30)
レンズ保持部材30は、図11に示すように、撮像光学系28を保持して収容空間Sに収容されている。
レンズ保持部材30は、図23、図25に示すように、筒部3002と、筒部3002の前部を接続する環状の前部3004とを有し、前部3004の中央には開口3006が設けられている。
撮像光学系28は複数のレンズ群などを含んで構成され、筒部3002の内部に収容され、開口3006から前方を臨んでいる。
前部3004には、筒部3002の外径よりも小さい外径の膨出壁部3008が形成され、この膨出壁部3008の周面は撮像光学系28の光軸を中心とする円周上を延在する円筒面3010を形成している。
円筒面3010の外周に、周方向に等間隔をおいた4箇所に膨出壁部3008よりも後方に位置するように4つの前側スプリング当接面3012が形成されており、これら前側スプリング当接面3012は前記光軸と直交する平面上を延在している。
図33に示すように、筒部3002の後端面3020は、コイルホルダ56の各取り付け部5610に当接可能に設けられている。
(前スプリング32)
前スプリング32、後スプリング34は、図11に示すように、収容空間Sに配設されレンズ保持部材30を撮像光学系28の前記光軸に沿って移動可能に支持する案内機構を構成している。
前スプリング32は前鏡筒22とレンズ保持部材30の間に配設され、後スプリング34は後鏡筒24とレンズ保持部材30の間に配設されるものである。
後スプリング34と前スプリング32は、導電性を有し厚さが薄く小さい幅のばね板が帯状に延在して形成されている。
図14に示すように、前スプリング32は、中央に撮像光学系28の光路用の開口62が確保されるように形成されている。
より詳細に説明すると、前スプリング32は、内側に開口62が形成された環板部64と、環板部64の外周に接続された4つの支持片66とを有し、前記光軸方向に弾性変形可能に形成されている。
前スプリング32は、各支持片66の延在方向の端部が前鏡筒22の各周壁42の前部に取着され、開口62に、レンズ保持部材30の筒部3002の膨出壁部3008の円筒面3010が挿通され、環板部64がレンズ保持部材30の4つの前側スプリング当接面3012に当接されて前鏡筒22とレンズ保持部材30の間に配設されている。
本実施の形態では、4つの支持片66の延在方向の端部は前鏡筒22の成形時に埋め込まれるインサート成形によって各周壁42の前部に取着されている。
(後スプリング34)
図33に示すように、後スプリング34は、中央に撮像光学系28の光路用の開口68が確保されるように環状に形成されている。
後スプリング34は、互いに分離された同一形状の2つのスプリング分割体34Aで構成されている。
各スプリング分割体34Aは半円上を延在する円弧部70を有している。
各スプリング分割体34Aの円弧部70は、コイルホルダ56の後面5620に接着される。これにより2つの円弧部70の内側に開口68が形成されることになる。
円弧部3404の外周には2つの支持片72、74が接続されており、支持片72、74の延在方向の端部寄りの箇所にはそれぞれ孔76が形成されている。
したがって、図18に示すように、各スプリング分割体34Aの4つの孔76が後鏡筒24のピン48に挿通され、支持片72、74の孔76の周囲の部分が、図10に示すように、前鏡筒22の合わせ面4210と後鏡筒24の合わせ面4410との間で挟持され、これにより、後スプリング34は、その延在方向の端部が前鏡筒22と後鏡筒24とで挟持されて配設されている。
さらに、図33に示すように、スプリング分割体34Aの円弧部70の中間部には、接続片部7002がそれぞれ形成され、各接続片部7002には、コイルホルダ56の2つの軸部5602に巻回されたコイル52の巻線の両端5202が半田付けされる。
また、各スプリング分割体34Aの2つの支持片72、74のうち一方の支持片72の先部はコイル52の外方に延出された外部接続端子78となっている。
したがって、コイル52は各スプリング分割体34Aを介して外部接続端子78に電気的に接続されている。
各外部接続端子78は、図3に示すように、前鏡筒22の合わせ面4210と、後鏡筒24の合わせ面4410との間にそれぞれ挟持された状態で、後方に屈曲され、基板58に半田付けされるようになっている。
したがって、図11に示すように、コイル52の巻線に、後スプリング34の2つの外部接続端子78を介して駆動信号が供給されると、コイル52から磁界が発生する。
そして、コイル52によって発生する磁界と、マグネット50の磁極から発生する磁界との相互作用によってコイル52に前記光軸方向への力(推力)が発生し、これにより、前スプリング32、後スプリング34によって保持されたレンズ保持部材30および撮像光学系28が前記光軸方向に移動し、撮像光学系28によって撮像素子36(撮像素子チップ3604)の撮像面に結像される被写体像の合焦動作がなされる。
したがって、マグネット50とコイル52によりレンズ保持部材30を撮像光学系28の光軸に沿って移動させる駆動部38が構成されることになる。
(スプリング部材80)
本実施の形態では、図2に示すように、後スプリング34は、薄いばね板製の板材をプレス加工することにより矩形枠8002と一体にこの矩形枠8002の内側に帯状に延在して形成されている。
詳細に説明すると、プレス加工により矩形枠8002と後スプリング34とが一体となったスプリング部材80が設けられる。
このスプリング部材80は、後スプリング34の延在方向の端部に接続され矩形枠状に延在する矩形枠8002と、矩形枠8002の内周縁と外部接続端子78とを接続する第1接続部8004と、矩形枠8002の内周縁と支持片74とを接続する第2接続部8006とを含んで構成されている。
本実施の形態では、後スプリング34を含むスプリング部材80を形成し、スプリング部材80を用いてカメラモジュール20の組み立てを行い、組み立ての過程において、スプリング部材80から後スプリング34を切り離すことによって、組み立て時に後スプリング34に過大な力が作用することを防止している。
(凹部82)
図6、図8、図38に示すように、後スプリング34の延在方向の端部を挟持する後鏡筒24の部分と前鏡筒22の部分の外面は、それら挟持する部分の周囲の箇所の外面25よりも窪んで凹部82を形成している。
図8、図39、図40に示すように、後スプリング34の延在方向の端部は、周囲の箇所の外面25の仮想延長面よりも内側に偏位した箇所に位置している。
後鏡筒24は、前鏡筒22と反対に位置する後端面2402(本実施の形態では底壁44の後面)を有し、凹部82は、後端面2402に開放状に設けられている。
後鏡筒24で構成される凹部82の底面8202は、後端面2402に向かうにつれて凹部82の深さを次第に大きくする傾斜面で形成されている。
(組み立て)
次に、図2を参照してカメラモジュール20の組み立て方法について説明する。
まず、レンズ保持部30に、コイルホルダ56が取着されたコイル52を組み付ける。
すなわち、レンズ保持部材30の筒部3002の後端をコイル52の前端からコイル52の内周に挿入し、図33に示すように、筒部3002の後端面3020にコイルホルダ56の各取り付け部5610を当て付けることで、レンズ保持部材30の筒部3002にコイル52を装着する。
筒部3002にコイル52を装着したならば、調整治具を用いて、レンズ保持部材30とコイル52とを、撮像光学系28の光軸方向において、また、光軸と直交する面内において位置決めを行う。
次いで、筒部3002とコイル52との間に接着剤を充填することによりレンズ保持部材30とコイル52とを接着する。
接着剤が硬化されることにより、コイル52のレンズ保持部材30への取り付けが完了する。
次いで、スプリング部材80のうちの後スプリング24をレンズ保持部材30に取着し、これにより、レンズ保持部材30、スプリング部材80、コイル52、コイルホルダ56が組み付けられた中間組み立て体U(図2)が構成される。
後鏡筒24に中間組み立て体Uを組み付ける。
すなわち、後スプリング34の各孔76に後鏡筒24の各ピン48を挿通して中間組み立て体Uを後鏡筒24の上部に載置する。
これにより、後鏡筒24に対する中間組み立て体Uの撮像光学系28の光軸と直交する方向の位置決めがなされる。
図34は前鏡筒22を後方から見たマグネット50とマグネット位置決め面4202との位置関係を示す後面図、図35はマグネット50とマグネット位置決め面4202との位置関係を示す斜視図、図36は前鏡筒22とマグネット50と後鏡筒24との組み立て状態を前鏡筒22の一部を破断して示す斜視図、図37は図36のA矢視図である。
次に、図11に示すように、中間組み立て体Uのコイル52の外周に、ヨーク54に取着されたマグネット50を被せ、図36、図37に示すように、マグネット50の後端面5012を後鏡筒24の当接面4440上に載置する。
次に、図11、図34乃至図37に示すように、マグネット50の外周面5011に前鏡筒22を被せて前鏡筒22の当接面4002をマグネット50の前端面5010に当て付ける。
これにより、マグネット50の外周面5011が前鏡筒22のマグネット位置決め面4202に当て付けられる。
さらに、図18、図31に示すように、前鏡筒22の第1位置決め部4220を後鏡筒24の第3位置決め部4420に係合させると共に、前鏡筒22の第2位置部4230を後鏡筒24の第4位置決め部4430に係合させる。
これにより、マグネット50の撮像光学系28の光軸方向および光軸方向と直交する方向の双方の位置決めがなされる。
この際、後スプリング34の支持片72、74の孔76の周囲の部分が、前鏡筒22の合わせ面4210と後鏡筒24の合わせ面4410との間で挟持される。
したがって、スプリング部材80の矩形枠8002と、第1接続部8004と、外部接続端子78と、第2接続部8006とが前鏡筒22および後鏡筒24の輪郭の外側に露出した状態となる。
次に、図5に示すように、カバー26を前鏡筒22の上に被せて、その係合溝2608を後鏡筒24の係合突起60に係合させる。詳細には、カバー26を前鏡筒22の上に被せて、カバー26の上面部2602と後鏡筒24の底壁44との間に前鏡筒22を挟持させる。
これにより前鏡筒22と、中間組み立て体Uと、マグネット50が組み込まれたヨーク54と、後鏡筒24とが結合される。
次に、後スプリング34から矩形枠8002を切り離す。
図38、図39、図40、図41はスプリング部材80の第2接続部8006のレーザー光線Lによる切断動作の説明図である。
第1の接続部8004の切断から説明する。
レーザー光源2からのレーザー光線Lを、前鏡筒22および後鏡筒24の外面25から突出する第1接続部8004の部分に向けて照射する。
これにより、第1接続部8004の部分がレーザー光線Lにより溶断され、矩形枠8002と支持片72とが切断される。
第2接続部8006の切断は次のように行う。
図38、図39、図40に示すように、前鏡筒22および後鏡筒24の外面25の斜め前方にレーザー光源2を位置させ、このレーザー光源2から凹部82に位置する第2接続部8006に向けて斜めにレーザー光線Lを照射する。
より詳細には、レーザー光線Lを凹部82内で凹部82が開放された後鏡筒24の後端面2402側に向けて照射する。
これにより、レーザー光線Lは、その一部が凹部82の内側に位置した状態で凹部82に位置する第2接続部8006に照射される。
その結果、図40、図41に示すように、凹部82に位置する第2接続部8006の部分がレーザー光線Lにより溶断され、矩形枠8002と支持片74とが切断される。
このようにして第2接続部8006が切断されることにより、図8に示すように、後スプリング34の延在方向の端部、すなわち、支持片74の端部は、凹部82内に位置して前鏡筒22および後鏡筒24の外面25の仮想延長面よりも内側に偏位した箇所に位置している。
以上のようにしてスプリング部材80から後スプリング34が切り離される。
スプリング部材80から後スプリング34が切り離されたならば、前鏡筒22の合わせ面4210と後鏡筒24の合わせ面4410との間で挟持され前鏡筒22および後鏡筒24の外方に突出した外部接続端子78を、図3に示すように後方に屈曲させる。
次いで、撮像素子36を後鏡筒44の底壁44に取着し、各外部接続端子78を基板58に半田付けすることによって、カメラモジュール20が完成する。
(効果)
以上説明したように、本実施の形態によれば、後スプリング34の延在方向の端部を挟持する後鏡筒24の部分と前鏡筒22の部分の外面25は、それら挟持する部分の周囲の箇所の外面25よりも窪んで凹部82を形成し、後スプリング34の延在方向の端部は、周囲の箇所の外面25の仮想延長面よりも内側に偏位した箇所に位置している。
したがって、後スプリング34の延在方向の端部が前鏡筒22および後鏡筒24の輪郭の内側に留まっているため、カメラモジュール20の外形寸法の小型化を図る上で有利となり、ひいては、カメラモジュール20を備える電子機器の小型化を図る上で有利となる。
また、本実施の形態では、凹部82が後鏡筒24の後端面2402に開放状に設けられているため、レーザー光線Lを、後鏡筒24の側面に対して斜め方向から照射でき、したがって、後鏡筒24と前鏡筒22とで挟持された後スプリング34の延在方向の端部を凹部82内の底面寄りの箇所に位置させることが可能となる。
特に本実施の形態では、凹部82の底面を、凹部82が開放される側に向かうにつれて凹部82の深さを次第に大きくする傾斜面8202で形成したので、レーザー光線Lをより斜め方向から照射でき、後鏡筒24と前鏡筒22とで挟持された後スプリング34の延在方向の端部を凹部82内の底面寄りの箇所により近づけて位置させることが可能となる。
また、後鏡筒24に形成する凹部82は、上述のようにレーザー光線Lを斜め方向から照射できる程度の大きさで足りるため、凹部82の大きさを必要最低限の寸法で形成でき、小型化を図りつつ、カメラモジュール20の部品や部材の収容スペースを確保する上で有利となる。
また、本実施の形態では、後スプリング34にレーザー光線Lを照射した場合について説明したが、本発明は、前スプリング32にレーザー光線Lを照射する場合にも無論適用可能である。
また、本実施の形態では、カメラモジュール20が組み込まれる電子機器10が携帯電話機である場合について説明したが、本発明の撮像装置は、例えば、PDA、ノート型パーソナルコンピュータなどの携帯情報端末、あるいは、デジタルスチルカメラ、ビデオカメラなどの種々の電子機器に広く適用可能である。
また、本実施の形態では、駆動部が、レンズ保持部に取着されたコイルと、鏡筒(前鏡筒あるいは後鏡筒)に取着されたマグネットとで構成されたいわゆるムービングコイル方式である。
そのため、後スプリング34は、互いに分離され前記コイルの両端にそれぞれ電気的に接続された2つのスプリング分割体で構成されている。
したがって、本実施の形態によれば、スプリング部材80により2つのスプリング分割体34が一体的に保持されているため、組み立て時において、支持片72、74の孔76に後鏡筒24のピン48を挿通するといった極めて簡単な作業により、各スプリング分割体34Aを後鏡筒24に対して精度良く位置決めすることができる。
なお、本発明は、駆動部が、レンズ保持部に取着されたマグネットと、鏡筒(前鏡筒あるいは後鏡筒)に取着されたコイルとで構成されているいわゆるムービングマグネット方式である場合にも無論適用可能である。
また、本発明は、カメラモジュール以外の種々の電子デバイス、電気部品においてスプリングを切断する場合に広く適用可能であることは無論である。
次に、後スプリング34について説明する。
図42は後スプリング34の平面図、図43は後スプリング34の要部拡大図、図44は図25のEE線断面図である。なお、説明の便宜上、図44において撮像光学系28、レンズ保持部材30の図示は省略している。
次に、後スプリング34の構成について詳細に説明する。
後スプリング34は、レンズ保持部30を撮像光学系28の光軸に沿って移動可能に支持しており、レンズ保持部30の周方向に間隔をおいて4つ設けられている。
各後スプリング34は、図42、図43に示すように、撮像光学系28の光軸と直交する面内において互いに直交する方向にそれぞれ延在する第1アーム部84と第2アーム部86とを含んで構成されている。
第1、第2アーム部84、86は、厚さが薄く幅が小さい2つのばね板が、それらの厚さ方向を光軸と平行する方向に向けて互いに平行に帯状に延在することで構成されている。
第1、第2アーム部84、86が直交する箇所から離れた第1、第2アーム部84、86の延在方向の端部は、2つのばね板が、2つのばね板間の間隔Wよりも大きな寸法の直径Dからなる円弧部88で接続されている。
第1、第2アーム部84、86が直交する箇所において第1、第2アーム部84、86の各2つのばね板のうちの一方のばね板は互いに接続されている。
第1、第2アーム部84、86が直交する箇所において第1アーム部84の2つのばね板のうちの他方のばね板の延在方向の他方の端部は、レンズ保持部30の外周に沿って円弧状に延在する被保持片90として形成され、この被保持片90はレンズ保持部30に取着される。この被保持片90は上述の円弧部70を構成している。
図42に示すように、第1、第2アーム部84、86が直交する箇所において第2アーム部86の2つのばね板のうちの他方のばね板の延在方向の他方の端部91は、鏡筒92に取着される。本実施の形態では、この他方の端部91は孔76が設けられた環状の支持片72、74として形成され、鏡筒92は、図2に示すように、光軸方向に分割可能な前鏡筒22と後鏡筒24とで構成されている。
そして、互いに隣接する2つの後スプリング34の被保持片90の延在方向の端部は接続されている。このように被保持片90が接続されることでスプリング分割体34Aが構成されている。
各後スプリング34の第1アーム部84は、撮像光学系28の光軸と直交する面内において互いに直交するX軸方向とY軸方向のうちX軸方向に平行して設けられ、各後スプリング34の第2アーム部86は、Y軸方向に平行して設けられている。
図42に示すように、鏡筒92は直方体状を呈し、レンズ保持部30は円筒状を呈し、レンズ保持部30の外周面と鏡筒92の角部との間に、前後に延在する三角柱状の空間Stが4つ設けられている。
4つの後スプリング34はそれぞれ空間Stに配設されている。
各後スプリング34はそれらの第1、第2アーム部84、86を鏡筒92の角部の壁部に平行させてそれぞれ配設されている。
次に後スプリング34の鏡筒90への組み付けについて説明する。
レンズ保持部30に取着されたコイルホルダ56の後面5620(図33)に各後スプリング34の被保持片90(円弧部70)が接着剤により接着され、したがって、各後スプリング34の被保持片90は、コイルホルダ56を介してレンズ保持部30に取着される。
各後スプリング34の端部91(支持片72、74)の孔76が後鏡筒24のピン48にそれぞれ挿入され、端部91が、図10に示すように、前鏡筒22の合わせ面4210と後鏡筒24の合わせ面4410との間で挟持され、これにより、各後スプリング34の他方の端部91が鏡筒92に取着される。
(レンズ保持部材30のストッパ構造)
次に、図25、図44を参照してレンズ保持部材30のストッパ構造について説明する。
本実施の形態では、図25に示すように、前記X軸は後鏡筒24の対向する2組の辺のうち一方の組の辺4402と平行する方向に延在し、前記Y軸は後鏡筒24の対向する2組の辺のうち他方の組の辺4404と平行する方向に延在している。
図25、図44に示すように、コイルホルダ56の外周部で、2つの軸部5602とそれぞれ90度位相を異ならせた2箇所に、ストッパ凸部5630がコイルホルダ56の半径方向外方にそれぞれ突設されている。したがって、2つのストッパ凸部5630は、コイルホルダ56の外周部に180度位相を異ならせた箇所に位置している。
本実施の形態では、2つのストッパ凸部5630は、コイルホルダ56のY軸方向の両側に位置している。
各ストッパ凸部5630は、撮像光学28の光軸およびY軸を含む平面と平行しかつX軸方向において対向する2つの第1当接面5630Aと、撮像光学系28の光軸およびX軸を含む平面と平行する1つの第2当接面5630Aとを有している。
一方、各ストッパ凸部5630に臨む後鏡筒24の箇所には、ストッパ凸部5630に対応するストッパ凹部2410がそれぞれ形成されている。
ストッパ凹部2410は、各第1当接面5630AとX軸方向に間隔をおいて対向する2つの第3当接面2410Aと、第2当接面5630BとY軸方向に間隔をおいて対向する第4当接面2410Bとを有している。
したがって、ストッパ凸部5630の第1当接面5630Aがストッパ凹部2410の第3当接面2410Aに当接することで、コイルホルダ56(レンズ保持部30)のX軸方向における移動限界位置が決定され、ストッパ凸部5630の第2当接面5630Bがストッパ凹部2410の第4当接面2410Bに当接することで、コイルホルダ56(レンズ保持部30)のY軸方向における移動限界位置が決定される。
これらレンズ保持部30のX軸方向およびY軸方向の移動限界位置は、レンズ保持部30がそれら移動限界位置まで移動した場合に、後スプリング34が永久変形を生じない範囲に設定されている。
上述の構成によれば、カメラモジュール20が組み込まれた電子機器10が床の上に落下するなどして、カメラモジュール20に撮像光学系28の光軸と直交する方向の衝撃が加わった場合、レンズ保持部30は前記衝撃が加わった方向と反対方向に移動しようとする。
この際、後スプリング34の第1、第2アーム部84、86がレンズ保持部30の移動に伴い弾性変形することで、レンズ保持部30に加わる力を吸収、緩和する。
言い換えると、本発明のカメラモジュールは、収容空間を形成する鏡筒と、撮像光学系を保持し前記収容空間に収容されたレンズ保持部と、前記鏡筒に支持され前記撮影光学系で導かれた被写体像を撮像する撮像素子と、前記レンズ保持部を前記撮像光学系の光軸に沿って移動可能に支持する複数のスプリングとを有し、前記各スプリングは、前記撮像光学系の光軸と直交する面内において互いに直交する方向にそれぞれ延在する第1アーム部と第2アーム部とを含んで構成され、前記第1、第2アーム部は、2つのばね板が、それらの厚さ方向を前記光軸と平行する方向に向けて互いに平行に帯状に延在することで構成され、前記第1、第2アーム部が直交する箇所から離れた前記第1、第2アーム部の延在方向の端部は、前記2つのばね板が、前記2つのばね板間の間隔よりも大きな寸法の直径からなる円弧部で接続され、前記第1、第2アーム部が直交する箇所において前記第1、第2アーム部の各2つのばね板のうちの一方のばね板は互いに接続され、前記第1、第2アーム部が直交する箇所において前記第1アーム部の2つのばね板のうちの他方のばね板の延在方向の他方の端部は、前記レンズ保持部に取着され、前記第1、第2アーム部が直交する箇所において前記第2アーム部の2つのばね板のうちの他方のばね板の延在方向の他方の端部は、前記鏡筒に取着されている。
ここで、第1アーム部84はX軸方向に平行して設けられ、第2アーム部86はY軸方向に平行して設けられているため、言い換えると、第1、第2アーム部84、86の延在方向が互いに直交しているため、レンズ保持部30に対して光軸と直交する面内に沿って作用する力であれば、第1、第2アーム部84、86の双方が同時に弾性変形することで力を吸収、緩和する。
したがって、第1、第2アーム部84、86の何れか一方に力が集中することがないため、後スプリング34の耐久性の向上を図りつつ、後スプリング34の小型化を図れ、ひいては、カメラモジュール20の小型化を図る上で有利となる。
なお、第1、第2アーム部84、86の延在方向が互いに直交していない場合は、光軸と直交する方向の衝撃が加わった場合に、第1、第2アーム部84、86の何れか一方に力が集中するおそれがあり、後スプリング34の耐久性の向上を図る上で不利がある。
また、レンズ保持部30の外周面と鏡筒92の角部との間に前後に延在する三角柱状の4つの空間Stに後スプリング34をそれぞれ配設したので、デッドスペースである各空間Stを有効に利用でき、カメラモジュール20の小型化を図る上でより一層有利となる。
次に、後スプリング34の他の例について説明する。
図45は後スプリング34が後鏡筒24に組み付けられた斜視図、図46は図45のA矢視図、図47は後スプリング34がレンズ保持部30に取着された斜視図、図48は後スプリング34の平面図、図49は後スプリング34の支持片の拡大平面図である。
本例は、図45乃至図48に示すように、後スプリング34の支持片72、74に孔76と同軸上で円弧状に延在する溝94を孔76の周方向に間隔をおいて複数設けたものである。
この場合、支持片72、74の部分のうち溝94を除いた孔76の外周に延在する環状の部分を前鏡筒22の合わせ面4210と後鏡筒24の合わせ面4410との間で挟持することで、各後スプリング34が鏡筒92に取着される。
また、溝94は、図48に示すように、単一の円周に沿って形成してもよいし、あるいは、図49に示すように、半径が異なる2つ以上の円周に沿って形成してもよい。
支持片72、74に溝94を形成することにより、図48、図49に示すように、支持片72、74に、撮像光学系28の光軸と直交する方向に沿って弾性変形可能なばね部96が構成される。
したがって、このような構成によれば、ばね部96によっても撮像光学系28の光軸と直交する方向における力を吸収、緩和することができるため、後スプリング34の耐久性の向上を図りつつ、後スプリング34の小型化を図る上でより一層有利となる。
(カバー26の取り付け構造)
次にカバー26の取り付け構造について説明する。
図50はカバー26の鏡筒92への取り付け動作を説明する斜視図、図51は図50のAA線断面図、図52はカバー26の鏡筒92への取り付け動作を説明する斜視図、図53は図52のAA線断面図、図54はカバー26の鏡筒92への取り付け動作を説明する斜視図、図55は図54のAA線断面図、図56はカバー26の鏡筒92への取り付け動作を説明する斜視図、図57は図56のAA線断面図、図58はカバー26の鏡筒92への取り付け動作を説明する斜視図、図59は図58のAA線断面図、図60(A)は実施の形態におけるカバー26の断面図、(B)は比較例におけるカバー26の断面図である。
上述のように、鏡筒92には、撮像光学系28を収容する収容空間S(図11)が前後に延在形成され、鏡筒92は、図12、図50、図51に示すように、矩形状の前面9202と、前面9202の4辺から後方に延在する4つの側面9204を備えている。ここで後方とは撮像素子36側であり、前方とは撮像素子36から離れる被写体側である。
鏡筒92は、上述のように前鏡筒22と、前鏡筒22の後側に配置される後鏡筒24とで構成され、前面9202は前鏡筒22に設けられ、各側面9204は前鏡筒22と後鏡筒24にわたって設けられている。
各側面9204には、前後に延在する凹部9210が設けられている。
側面9204および凹部9210の底面9212が前面9202に交わる箇所に、前面9202に近づくにつれて鏡筒92の内側に変位する傾斜面9214が設けられている。
そして、前鏡筒22と後鏡筒24とを組み付ける金属板または弾性を有する金属板からなるカバー26が設けられている。
図28乃至図30、図50、図51に示すように、カバー26は前面9202に当接する矩形状の前面部2602と、前面部2602の4辺から後方に延在し凹部9210に収容されて凹部9210の底面9212に当接する弾性変形可能な脚片2604と、少なくとも対向する1組の脚片2604に設けられた係合孔2608とを有している。
本実施の形態では、脚片2604が上述した側面部2604を構成し、係合孔2608が上述した係合溝2608を構成している。
前面部2602には、上述した開口2606が形成され、開口2606により撮像光学系28(図11)の光路が確保されている。
図29、図50に示すように、係合孔2608が形成された脚片2604は、前面部2602側に位置する前部2640と、後鏡筒24の後端側に位置する後部2642とを有している。
係合孔2608は後部2642に設けられ、後部2642の幅は、前部2640の幅よりも大きな寸法で形成されている。
なお、この係合孔2608が形成された脚片2604の形状に対応して、係合孔2608が形成された脚片2604が収容される凹部9210は、図12、図50に示すように、脚片2604の前部2640が収容される幅の前部9240と、この前部9240の幅よりも大きく脚片2604の後部2642が収容される幅の後部9242とで形成されている。
図50、図51に示すように、後鏡筒24に位置する凹部9210の底面9212に、側面9204の高さ以下の高さを有し係合孔2608に係合可能な係合凸部60が設けられている。本実施の形態では、係合凸部60により上述した係合突起60が構成されている。
係合凸部60よりも後鏡筒24の後端寄りの底面9212箇所は、底面9212よりも窪んだ収容凹部9250として形成されている。
そして、係合孔2608よりも先端に位置する脚片2604の先端の箇所は、収容凹部9250に収容されるように他の脚片2604箇所に対して窪んだ窪み片2604Aとして形成されている。
さらに、窪み片2604Aの先端は他の脚片2604箇所と同じ高さまで屈曲され起立された起立片2604Bとして形成されている。
図58、図59に示すように、カバー26の前面部2602が鏡筒92の前面9202に当接し、各脚片2604が凹部9210の底面9212に当接し、各係合孔2608に係合凸部60が係合した状態で前鏡筒22と後鏡筒24とは組み付けられた状態に保持される。
この保持された状態で、図7、図8に示すように、カバー26の各脚片2604は、側面9204と同じ高さかあるいは側面9204よりも底面9212寄りに位置している。
次にカバー26の鏡筒92への組み付けについて説明する。
まず、図50、図51に示すように、カバー26の各脚片2604を、鏡筒92の前方から各側面9204の凹部9210に挿入する。
この際、係合孔2608が設けられた脚片2604の後部2642の後端、および、係合孔2608が設けられていない脚片2604の後端は、それぞれ傾斜面9214に案内されることにより鏡筒92の外方に向かって変位する。
したがって、係合孔2608が設けられた脚片2604の後部2642は、側面9204に向けて円滑に案内され、係合孔2608が設けられていない脚片2604の後端は、凹部9210の底面9212に向けて円滑に案内される。
カバー26の前面部260を鏡筒92に向けて移動させると、図52乃至図55に示すように、係合孔2608が設けられた脚片2604の後部2642の両側は、凹部9210の両側の側面9204に沿って凹部9210の後部9242に近接する方向に案内され、係合孔2608が設けられていない脚片2604の後端は、凹部9210の底面9212に沿って後方に案内される。
カバー26の移動により、図56、図57に示すように、係合孔2608が設けられた脚片2604の後部2642の両側が凹部9210の両側の側面9204に沿って案内されることで、係合孔2608が設けられた脚片2604の窪み片2604Aは、係合凸部60の外側に変位しつつ後方に移動する。
さらなるカバー26の移動により、やがて、図58、図59に示すように、カバー26の前面部2602が鏡筒92の前面9202に当接する。
すると、係合孔2608が設けられた脚片2604の後部2642が凹部9210の後部9242に収容され、窪み片2604Aは収容凹部9250に収容され、係合孔2608が係合部60に係合し、脚片2604の前部2640が凹部9210の前部9240に収容され、したがって、係合孔2608が設けられた脚片2604は、凹部9210の底面9212に当接した状態となる。
また、係合孔2608が設けられていない脚片2604は、凹部9210の底面9212に当接し、かつ、脚片2604の後端が鏡筒92の後端近傍箇所に位置した状態となる。
このようにしてカバー26の各係合孔2608に鏡筒92の係合凸部60が係合することにより、前鏡筒22と後鏡筒24とが組み付けられた状態に保持される。
以上の構成によれば、鏡筒92の凹部9210の底面9212に側面9204の高さ以下の高さを有しカバー26の係合孔2608に係合可能な係合凸部60が設けられ、各係合孔2608に係合凸部60が係合した状態で前鏡筒22と後鏡筒24とは組み付けられた状態に保持され、この保持された状態で、各脚片2604は、側面9204と同じ高さかあるいは側面9204よりも底面9210寄りに位置している。
言い換えると、本発明のカメラモジュールは、撮影光学系を収容する収容空間が前後に延在形成された鏡筒を備え、前記鏡筒は、矩形状の前面と、前記前面の4辺から後方に延在する4つの側面を備え、前記鏡筒は、前記前面を有する前鏡筒と、前記前鏡筒の後側に配置される後鏡筒とで構成され、前記各側面には、前後に延在する凹部が設けられ、金属板からなるカバーが設けられ、前記カバーは前記前面に当接する矩形状の前面部と、前記前面部の4辺から後方に延在し前記凹部に収容されて凹部の底面に当接する弾性変形可能な脚片と、少なくとも対向する1組の脚片に設けられた係合孔とを有し、前記凹部の底面に前記側面の高さ以下の高さを有し前記係合孔に係合可能な係合凸部が設けられ、前記カバーの前記前面部が前記鏡筒の前面に当接し、各脚片が前記凹部に収容されて凹部の底面に当接し、各係合孔に前記係合凸部が係合した状態で前記前鏡筒と前記後鏡筒とは組み付けられた状態に保持され、この保持された状態で、前記カバーの各脚片は、前記側面と同じ高さかあるいは前記側面よりも前記底面寄りに位置している。
したがって、図7、図8に示すように、鏡筒92の側面9204の輪郭の外側に突出する部分が無いため、すなわち、矩形の輪郭の外側に突出する箇所がないため、カメラモジュール20の占有スペースを縮小しつつ外形寸法の小型化を図る上で有利となり、ひいては、電子機器10の小型化を図る上で有利となる。
また、カバー26の係合孔2608が形成された脚片2604の後部2642の幅が前部2640の幅よりも大きな寸法で形成され、係合孔2608が形成された脚片2604が収容される凹部9210は、脚片2604の前部2640が収容される幅の前部9240と、この前部9240の幅よりも大きく脚片2604の後部2642が収容される幅の後部9242とを有している。
したがって、カバー26を鏡筒92に取着する際に、係合孔2608が形成された脚片2604の後部2642を鏡筒92の側面9204によって案内することで、すなわち、後部2642の両側を凹部9210の前部9240の両側の側面9204で持ち上げつつ後方に案内するので、円滑に脚片2604を凹部9410に収容させることができ、組み立て性の向上を図る上で有利となることは無論のこと、組み立て時にカバー26と鏡筒92との間で生じる摩擦を減らすことができ、したがって、摩擦によって鏡筒92が削れて生じた塵埃が撮像光学系28や撮像素子36に付着するなどして画質に影響を及ぼすことを防止する上でも有利となる。
また、側面9204および凹部9210の底面9212が前面9204に交わる箇所に、前面9204に近づくにつれて鏡筒92の内側に変位する傾斜面9214が設けられているため、カバー26の組み付け時に、脚片2604の後端が傾斜面9214により円滑に案内されるため、組み立て性の向上を図る上でより有利となることは無論のこと、上記と同様に組み立て時にカバー26と鏡筒92との間で生じる摩擦を減らすことで画質の劣化を防止する上でもより有利となる。
また、図11、図28乃至図30、図50、図51、図60(A)に示すように、後鏡筒24と前鏡筒24とがカバー26により組みつけられた状態で、前面部2602が前面9202に当接する面と反対の面の全域から、脚片2604が底面2612に当接する面と反対の面で前面部2602寄りの箇所にわたり、光の反射を防止する塗装2612が施されている。
すなわち、塗装2612によって光の反射を防止する反射防止部2610が形成されている。
仮に、このような塗装2612が施されていないと、図1に示すように、カメラモジュール20が電子機器10の第1の鏡筒14に組み込まれている場合、カバー26の前面部2602が、第1の筐体14の開口1410を介して視認された際の美観性が確保できない。
また、開口1410から進入した外光が、前面部2602と筐体の内面との間で(あるいは前面部2602と開口1410に設けられた透明板との間で)反射して撮像光学系28に入り、撮像素子36で撮像される画像の品質に悪影響を及ぼす不都合がある。
そこで、カバー26に塗装2612を施して反射防止部2610を形成することにより、美観性を確保し、また、画像品質の向上が図られている。
このような美観性および画質の確保を図る上では、図60(B)に示すように、前面部2602の前面にのみ塗装2612を施して反射防止部2610を形成し、脚片2604には反射防止部2610を形成しないことも考えられる。
しかしながら、多くの場合、カメラモジュール20を取り扱う際に、カバー26の前面部2602の全体を覆うように弱い粘着力を有する保護シートを貼り付ける。
塗装2612のうち、前面部2602と脚片2604との境目の部分に(前面部2602と脚片2604とを接続する屈曲部分に)位置する縁部2614は、他の部分に比較して剥がれやすいため、保護シートを剥がす際に、縁部2614から塗装2612が部分的に剥がれるおそれがある。
そこで、本実施の形態では、図60(A)に示すように、前面部2602が前面9202に当接する面と反対の面の全域から、脚片2604が底面2612に当接する面と反対の面で前面部2602寄りの箇所にわたり塗装2612を施したので、前面部2602から保護シートを剥がす際に塗装2612が剥がれることを防止する上で有利となる。
なお、図3、図4に示すように、係合孔2608が設けられていない脚片2604を、後鏡筒24の後端からさらに後方に延在して基板58に半田付けするようにしてもよい。この基板58は、上述したように後鏡筒26の後端に配置され、撮像光学系28により導かれる被写体像を撮像する撮像素子36が搭載された基板58である。
また、図4に示すように、係合孔2608が設けられていない脚片2604を、マグネット50に接触させて配置してもよい。このマグネット50は、上述したようにレンズ保持部30を移動させる駆動部を構成するマグネット50である。
このように構成すると、基板58および撮像素子36で発生した熱は、脚片2604からカバー26に伝導され、また、コイル30からマグネット50に伝導された熱は、脚片2604からカバー26に伝導され、したがって、カバー26を介して放熱がなされる。
したがって、カバー26により撮像素子36、基板58、マグネット50、コイル52が効率的に冷却され、撮像素子36、基板58、駆動部38の動作の安定化を図る上で有利となる。
なお、駆動部が、レンズ保持部に取着されたコイルと、鏡筒に取着されたマグネットとで構成されたいわゆるムービングコイル方式である場合について説明した。
しかしながら、駆動部が、レンズ保持部に取着されたマグネットと、鏡筒に取着されたコイルとで構成されているいわゆるムービングマグネット方式である場合にも無論適用可能である。
(A)、(B)は本実施の形態に係るカメラモジュール20が組み込まれた電子機器の一例を示す外観図である。 カメラモジュール20の組み立て説明図である。 カメラモジュール20の分解図である。 図3のAA線断面図である。 カメラモジュール20を前方から見た斜視図である。 カメラモジュール20を後方から見た斜視図である。 図5のA矢視図である。 図5のB矢視図である。 図5のC矢視図である。 図5のD矢視図である。 図5のEE線断面図である。 図5からカバー26を取り外した状態を前方から見た示す斜視図である。 図12を後方から見た斜視図である。 図12のA矢視図である。 図12のB矢視図である。 図12のC矢視図である。 図12のD矢視図である。 図12から前鏡筒22を取り外した状態を前方から見た示す斜視図である。 図18を後方から見た斜視図である。 図18のA矢視図である。 図18のC矢視図である。 図18のD矢視図である。 図18からマグネット50を取り外した状態を前方から見た示す斜視図である。 図23を後方から見た斜視図である。 図23のA矢視図である。 図23のC矢視図である。 図23のD矢視図である。 カバー26を前方から見た斜視図である。 カバー26を後方から見た斜視図である。 図28のA矢視図である。 マグネット50が前鏡筒22の内側に挿入された状態を示す斜視図である。 図31のA矢視図である。 レンズ保持部材30、後スプリング34、コイル52、コイルホルダ56を示す斜視図である。 前鏡筒22を後方から見たマグネット50とマグネット位置決め面4202との位置関係を示す後面図である。 マグネット50とマグネット位置決め面4202との位置関係を示す斜視図である。 前鏡筒22とマグネット50と後鏡筒24との組み立て状態を前鏡筒22の一部を破断して示す斜視図である。 図36のA矢視図である。 スプリング部材80の第2接続部8006のレーザー光線Lによる切断動作の説明図である。 スプリング部材80の第2接続部8006のレーザー光線Lによる切断動作の説明図である。 スプリング部材80の第2接続部8006のレーザー光線Lによる切断動作の説明図である。 スプリング部材80の第2接続部8006のレーザー光線Lによる切断動作の説明図である。 後スプリング34の平面図である。 後スプリング34の要部拡大図である。 図25のEE線断面図である。 第後スプリング34が後鏡筒24に組み付けられた斜視図である。 図45のA矢視図である。 後スプリング34がレンズ保持部30に取着された斜視図である。 後スプリング34の平面図である。 後スプリング34の支持片の拡大平面図である。 カバー26の鏡筒92への取り付け動作を説明する斜視図である。 図50のAA線断面図である。 カバー26の鏡筒92への取り付け動作を説明する斜視図である。 図52のAA線断面図である。 カバー26の鏡筒92への取り付け動作を説明する斜視図である。 図54のAA線断面図である。 カバー26の鏡筒92への取り付け動作を説明する斜視図である。 図56のAA線断面図である。 カバー26の鏡筒92への取り付け動作を説明する斜視図である。 図58のAA線断面図である。 (A)は実施の形態におけるカバー26の断面図、(B)は比較例におけるカバー26の断面図である。
符号の説明
20……カメラモジュール、22……前鏡筒、24……後鏡筒、25……外面、28……撮像光学系、30……レンズ保持部材、32……前スプリング、34……後スプリング、36……撮像素子、38……駆動部、82……凹部。

Claims (7)

  1. 後鏡筒と、
    前記後鏡筒に組みつけられ前記後鏡筒と共に収容空間を形成する前鏡筒と、
    撮像光学系を保持し前記収容空間に収容されたレンズ保持部と、
    前記後鏡筒に支持され前記撮影光学系で導かれた被写体像を撮像する撮像素子と、
    前記レンズ保持部を前記撮像光学系の光軸に沿って移動可能に支持する案内機構と、
    前記レンズ保持部を前記撮像光学系の光軸に沿って移動させる駆動部とを備え、
    前記案内機構は、前記レンズ保持部を前記撮像素子側から前記撮影光学系側に付勢する後スプリングと、前記レンズ保持部を前記撮影光学系側から前記撮像素子側に付勢する前スプリングとを有し、
    前記後スプリングと前記前スプリングは、ばね板が帯状に延在して構成され、
    前記後スプリングと前記前スプリングの少なくとも一方のスプリングの延在方向の端部は、前記前鏡筒と前記後鏡筒とで挟持されて配設され、
    前記スプリングの延在方向の端部を挟持する前記後鏡筒の部分と前記前鏡筒の部分の外面は、それら挟持する部分の周囲の箇所の外面よりも窪んで凹部を形成しており、
    前記スプリングの延在方向の端部は、前記凹部内に位置し、かつ、前記周囲の箇所の外面の仮想延長面よりも内側に偏位した箇所に位置している、
    カメラモジュール。
  2. 前記前鏡筒と前記後鏡筒とで挟持されて配設されるスプリングは後スプリングであり、
    前記後鏡筒は、前記前鏡筒と反対に位置する後端面を有し、
    前記凹部は、前記後端面に開放状に設けられている、
    請求項1記載のカメラモジュール。
  3. 前記後鏡筒で構成される前記凹部の底面は、前記後端面に向かうにつれて前記凹部の深さを次第に大きくする傾斜面で形成されている、
    請求項2記載のカメラモジュール。
  4. 前記駆動部は、前記レンズ保持部に取着されたコイルと、前記撮像光学系の光軸に沿った推力を前記コイルに発生させるマグネットとを含んで構成され、
    前記前鏡筒と前記後鏡筒とで挟持されて配設されるスプリングは、互いに分離され前記コイルの両端にそれぞれ電気的に接続された2つのスプリング分割体で構成され、
    前記コイルに対する駆動電流の供給は前記2つのスプリング分割体を介してなされる、
    請求項1、2または3記載のカメラモジュール。
  5. 後鏡筒と、
    前記後鏡筒に組み付けられ前記後鏡筒と共に収容空間を形成する前鏡筒と、
    撮像光学系を保持し前記収容空間に収容されたレンズ保持部と、
    前記レンズ保持部を前記撮像光学系の光軸に沿って移動可能に支持する案内機構とを備え、
    前記案内機構は、前記レンズ保持部を前記撮像素子側から前記撮影光学系側に付勢する後スプリングと、前記レンズ保持部を前記撮影光学系側から前記撮像素子側に付勢する前スプリングとを有し、
    前記後鏡筒は、前記前鏡筒と反対に位置する後端面を有し、
    前記前鏡筒は、前記後鏡筒と反対に位置する前端面を有するカメラモジュールの製造方法であって、
    前記後スプリングと前記前スプリングのうちの一方のスプリングを、ばね板製の板材をプレス加工することで矩形枠と一体にこの矩形枠の内側に帯状に延在して形成し、
    前記矩形枠寄りに位置する前記スプリングの延在方向の端部を、前記前鏡筒と前記後鏡筒とで挟持し、
    前記挟持する前記後鏡筒の部分と前記前鏡筒の部分の外面を、それら挟持する部分の周囲の箇所の外面よりも窪んだ凹部に形成しておき、
    レーザーを前記凹部内に照射して前記スプリングと前記矩形枠とを切り離すようにした、
    カメラモジュールの製造方法。
  6. 前記凹部を前記後端面側あるいは前記前端面側に開放状に形成しておき、
    レーザーを前記凹部内で前記開放された側に向けて照射する、
    請求項5記載のカメラモジュールの製造方法。
  7. 前記凹部の底面を、前記凹部が開放される側に向かうにつれて前記凹部の深さを次第に大きくする傾斜面で形成しておく、
    請求項6記載のカメラモジュールの製造方法。
JP2008161864A 2008-06-20 2008-06-20 レンズ鏡筒およびその製造方法 Expired - Fee Related JP5125799B2 (ja)

Priority Applications (1)

Application Number Priority Date Filing Date Title
JP2008161864A JP5125799B2 (ja) 2008-06-20 2008-06-20 レンズ鏡筒およびその製造方法

Applications Claiming Priority (1)

Application Number Priority Date Filing Date Title
JP2008161864A JP5125799B2 (ja) 2008-06-20 2008-06-20 レンズ鏡筒およびその製造方法

Publications (3)

Publication Number Publication Date
JP2010002722A true JP2010002722A (ja) 2010-01-07
JP2010002722A5 JP2010002722A5 (ja) 2011-07-21
JP5125799B2 JP5125799B2 (ja) 2013-01-23

Family

ID=41584495

Family Applications (1)

Application Number Title Priority Date Filing Date
JP2008161864A Expired - Fee Related JP5125799B2 (ja) 2008-06-20 2008-06-20 レンズ鏡筒およびその製造方法

Country Status (1)

Country Link
JP (1) JP5125799B2 (ja)

Cited By (1)

* Cited by examiner, † Cited by third party
Publication number Priority date Publication date Assignee Title
WO2014054347A1 (ja) * 2012-10-05 2014-04-10 日本電産サンキョー株式会社 光学ユニットおよび光学ユニットの製造方法

Citations (7)

* Cited by examiner, † Cited by third party
Publication number Priority date Publication date Assignee Title
JPH1145453A (ja) * 1997-07-25 1999-02-16 Sony Corp 光ピックアップ
JP2005260771A (ja) * 2004-03-15 2005-09-22 Pioneer Electronic Corp スピーカ装置
JP2005293678A (ja) * 2004-03-31 2005-10-20 Pioneer Electronic Corp ホルダサスペンション、ホルダサスペンションの製造方法、レンズ駆動装置および光ピックアップ装置
JP2008033252A (ja) * 2006-06-30 2008-02-14 Shicoh Eng Co Ltd レンズ駆動装置、カメラ及びカメラ付き携帯電話
JP2008058946A (ja) * 2007-06-13 2008-03-13 Tricore Corp ボイスコイルモータ式mpフォーカシングアクチュエータ
JP2008112200A (ja) * 2006-10-04 2008-05-15 Nidec Sankyo Corp レンズ駆動装置
JP2008122470A (ja) * 2006-11-08 2008-05-29 Nidec Sankyo Corp レンズ駆動装置、およびその製造方法

Patent Citations (7)

* Cited by examiner, † Cited by third party
Publication number Priority date Publication date Assignee Title
JPH1145453A (ja) * 1997-07-25 1999-02-16 Sony Corp 光ピックアップ
JP2005260771A (ja) * 2004-03-15 2005-09-22 Pioneer Electronic Corp スピーカ装置
JP2005293678A (ja) * 2004-03-31 2005-10-20 Pioneer Electronic Corp ホルダサスペンション、ホルダサスペンションの製造方法、レンズ駆動装置および光ピックアップ装置
JP2008033252A (ja) * 2006-06-30 2008-02-14 Shicoh Eng Co Ltd レンズ駆動装置、カメラ及びカメラ付き携帯電話
JP2008112200A (ja) * 2006-10-04 2008-05-15 Nidec Sankyo Corp レンズ駆動装置
JP2008122470A (ja) * 2006-11-08 2008-05-29 Nidec Sankyo Corp レンズ駆動装置、およびその製造方法
JP2008058946A (ja) * 2007-06-13 2008-03-13 Tricore Corp ボイスコイルモータ式mpフォーカシングアクチュエータ

Cited By (3)

* Cited by examiner, † Cited by third party
Publication number Priority date Publication date Assignee Title
WO2014054347A1 (ja) * 2012-10-05 2014-04-10 日本電産サンキョー株式会社 光学ユニットおよび光学ユニットの製造方法
JP2014074860A (ja) * 2012-10-05 2014-04-24 Nidec Sankyo Corp 光学ユニットおよび光学ユニットの製造方法
US9535259B2 (en) 2012-10-05 2017-01-03 Nidec Sankyo Corporation Optical unit and method for producing same

Also Published As

Publication number Publication date
JP5125799B2 (ja) 2013-01-23

Similar Documents

Publication Publication Date Title
JP4706935B2 (ja) カメラモジュール
EP2124431B1 (en) Camera module comprising three members
JP4433303B2 (ja) レンズユニット及び撮像装置
JP5169361B2 (ja) カメラモジュール
US8107176B2 (en) Lens drive device
JP4415268B2 (ja) レンズユニット及び撮像装置
CN102819087B (zh) 透镜驱动装置、自动对焦照相机及附带照相机的移动终端
KR20100120619A (ko) 카메라 모듈
WO2008050805A1 (en) Camera module
JP6476981B2 (ja) レンズ駆動装置、カメラモジュール、及びカメラ搭載装置
JP6730646B2 (ja) レンズ駆動装置、カメラモジュール、及びカメラ搭載装置
KR101246178B1 (ko) 카메라 렌즈 어셈블리
JP2008111876A (ja) カメラモジュール
US20120174574A1 (en) Drive module and electronic apparatus
KR20060092067A (ko) 렌즈유닛 및 촬상장치
WO2008053710A1 (en) Camera module
JP2010004349A (ja) カメラモジュール
JP5125799B2 (ja) レンズ鏡筒およびその製造方法
JP4596249B2 (ja) レンズユニット及び撮像装置
JP2008111868A (ja) カメラモジュールおよび固体撮像装置

Legal Events

Date Code Title Description
RD04 Notification of resignation of power of attorney

Free format text: JAPANESE INTERMEDIATE CODE: A7424

Effective date: 20091015

A521 Request for written amendment filed

Free format text: JAPANESE INTERMEDIATE CODE: A523

Effective date: 20110607

A621 Written request for application examination

Free format text: JAPANESE INTERMEDIATE CODE: A621

Effective date: 20110607

A977 Report on retrieval

Free format text: JAPANESE INTERMEDIATE CODE: A971007

Effective date: 20120316

TRDD Decision of grant or rejection written
A01 Written decision to grant a patent or to grant a registration (utility model)

Free format text: JAPANESE INTERMEDIATE CODE: A01

Effective date: 20121002

A01 Written decision to grant a patent or to grant a registration (utility model)

Free format text: JAPANESE INTERMEDIATE CODE: A01

A61 First payment of annual fees (during grant procedure)

Free format text: JAPANESE INTERMEDIATE CODE: A61

Effective date: 20121015

FPAY Renewal fee payment (event date is renewal date of database)

Free format text: PAYMENT UNTIL: 20151109

Year of fee payment: 3

LAPS Cancellation because of no payment of annual fees